Главная // Актуальные документы // ГОСТ (Государственный стандарт)СПРАВКА
Источник публикации
М.: Стандартинформ, 2014
Примечание к документу
Документ
введен в действие с 1 июля 2014 года.
Название документа
"ГОСТ EN 13897-2012. Межгосударственный стандарт. Материалы кровельные и гидроизоляционные гибкие битумосодержащие и полимерные (термопластичные или эластомерные). Метод определения водонепроницаемости после растяжения при пониженной температуре"
(введен в действие Приказом Росстандарта от 17.12.2013 N 2299-ст)
"ГОСТ EN 13897-2012. Межгосударственный стандарт. Материалы кровельные и гидроизоляционные гибкие битумосодержащие и полимерные (термопластичные или эластомерные). Метод определения водонепроницаемости после растяжения при пониженной температуре"
(введен в действие Приказом Росстандарта от 17.12.2013 N 2299-ст)
агентства по техническому
регулированию и метрологии
от 17 декабря 2013 г. N 2299-ст
МЕЖГОСУДАРСТВЕННЫЙ СТАНДАРТ
МАТЕРИАЛЫ КРОВЕЛЬНЫЕ И ГИДРОИЗОЛЯЦИОННЫЕ ГИБКИЕ
БИТУМОСОДЕРЖАЩИЕ И ПОЛИМЕРНЫЕ
(ТЕРМОПЛАСТИЧНЫЕ ИЛИ ЭЛАСТОМЕРНЫЕ)
МЕТОД ОПРЕДЕЛЕНИЯ ВОДОНЕПРОНИЦАЕМОСТИ ПОСЛЕ РАСТЯЖЕНИЯ
ПРИ ПОНИЖЕННОЙ ТЕМПЕРАТУРЕ
Roofing and hydraulic-insulating flexible bitumen-based
and polymeric (thermoplastic or elastomer) materials.
Method for determination of watertightness after stretching
at low temperature
(EN 13897-2004, IDT)
ГОСТ EN 13897-2012
Дата введения
1 июля 2014 года
Цели, основные принципы и основной порядок проведения работ по межгосударственной стандартизации установлены
ГОСТ 1.0-92 "Межгосударственная система стандартизации. Основные положения" и
ГОСТ 1.2-2009 "Межгосударственная система стандартизации. Стандарты межгосударственные, правила и рекомендации по межгосударственной стандартизации. Правила разработки, принятия, применения, обновления и отмены".
1. Подготовлен федеральным государственным бюджетным учреждением "Научно-исследовательский институт строительной физики Российской академии архитектуры и строительных наук" (НИИСФ РААСН) на основе аутентичного перевода на русский язык европейского регионального стандарта, указанного в
пункте 4.
2. Внесен Техническим комитетом по стандартизации ТК 465 "Строительство".
3. Принят Межгосударственной научно-технической комиссией по стандартизации, техническому нормированию и оценке соответствия в строительстве (МНТКС) (протокол от 18 декабря 2012 г. N 41).
За принятие стандарта проголосовали:
Краткое наименование страны по МК (ИСО 3166) 004-97 | Код страны по МК (ИСО 3166) 004-97 | Сокращенное наименование национального органа государственного управления строительством |
Азербайджан | AZ | Государственный комитет градостроительства и архитектуры |
Армения | AM | Министерство градостроительства |
Киргизия | KG | Госстрой |
Молдова | MD | Министерство строительства и регионального развития |
Россия | RU | Министерство регионального развития |
Узбекистан | UZ | Госархитектстрой |
4. Настоящий стандарт идентичен европейскому региональному стандарту EN 13897:2004 Flexible sheets for waterproofing - Bitumen, plastic and rubber sheets for roof waterproofing - Determination of watertightness after stretching at low temperature [Материалы гибкие гидроизоляционные. Материалы кровельные и гидроизоляционные битумосодержащие и полимерные (термопластичные или эластомерные). Определение водонепроницаемости после растяжения при пониженной температуре].
Наименование настоящего стандарта изменено по отношению к наименованию европейского регионального стандарта для приведения в соответствие с ГОСТ 1.5-2001
(подраздел 3.6).
При применении настоящего стандарта рекомендуется вместо ссылочного европейского регионального стандарта использовать соответствующий ему межгосударственный стандарт, сведения о котором приведены в дополнительном
Приложении Д.А.
Перевод с английского языка (en).
Степень соответствия - идентичная (IDT).
5.
Приказом Федерального агентства по техническому регулированию и метрологии от 17 декабря 2013 г. N 2299-ст межгосударственный стандарт ГОСТ EN 13897-2012 введен в действие в качестве национального стандарта Российской Федерации с 1 июля 2014 г.
6. Введен впервые.
Информация об изменениях к настоящему стандарту публикуется в ежегодно издаваемом информационном указателе "Национальные стандарты", а текст изменений и поправок - в ежемесячно издаваемом информационном указателе "Национальные стандарты". В случае пересмотра (замены) или отмены настоящего стандарта соответствующее уведомление будет опубликовано в ежемесячно издаваемом информационном указателе "Национальные стандарты". Соответствующая информация, уведомление и тексты размещаются также в информационной системе общего пользования - на официальном сайте Федерального агентства по техническому регулированию и метрологии в сети Интернет.
Применение настоящего стандарта, устанавливающего метод определения водонепроницаемости гибких кровельных и гидроизоляционных битумосодержащих и полимерных (термопластичных или эластомерных) материалов после растяжения при пониженной температуре, позволяет получить адекватную оценку качества материалов, производимых в государствах Евразийского экономического сообщества и странах ЕС, а также обеспечить конкурентоспособность продукции на международном рынке.
Настоящий стандарт применяют, если заключенные контракты или другие согласованные условия предусматривают применение материалов с характеристиками, гармонизированными с требованиями европейских региональных стандартов, а также в случаях, когда это технически и экономически целесообразно.
Настоящий стандарт распространяется на кровельные и гидроизоляционные гибкие битумосодержащие и полимерные (термопластичные или эластомерные) материалы (далее - материалы), предназначенные для устройства однослойной гидроизоляции с механическим креплением, и устанавливает метод определения их водонепроницаемости после растяжения при пониженной температуре.
Настоящий стандарт может применяться при испытании материалов другого назначения.
В настоящем стандарте использована ссылка на следующий европейский региональный стандарт:
EN 13416:2001 Flexible sheets for waterproofing - Bitumen, plastic and rubber sheets for roof waterproofing - Rules for sampling (Материалы гибкие гидроизоляционные - Материалы кровельные и гидроизоляционные битумосодержащие и полимерные (термопластичные или эластомерные) - Правила отбора образцов).
В настоящем стандарте использованы термины и определения, применяемые в стандартах на материалы конкретных видов.
Образец растягивают при пониженной температуре до заданного относительного удлинения (в процентах). Затем образец в растянутом состоянии подвергают испытанию на водонепроницаемость при комнатной температуре с использованием вакуумной насадки и мыльного раствора.
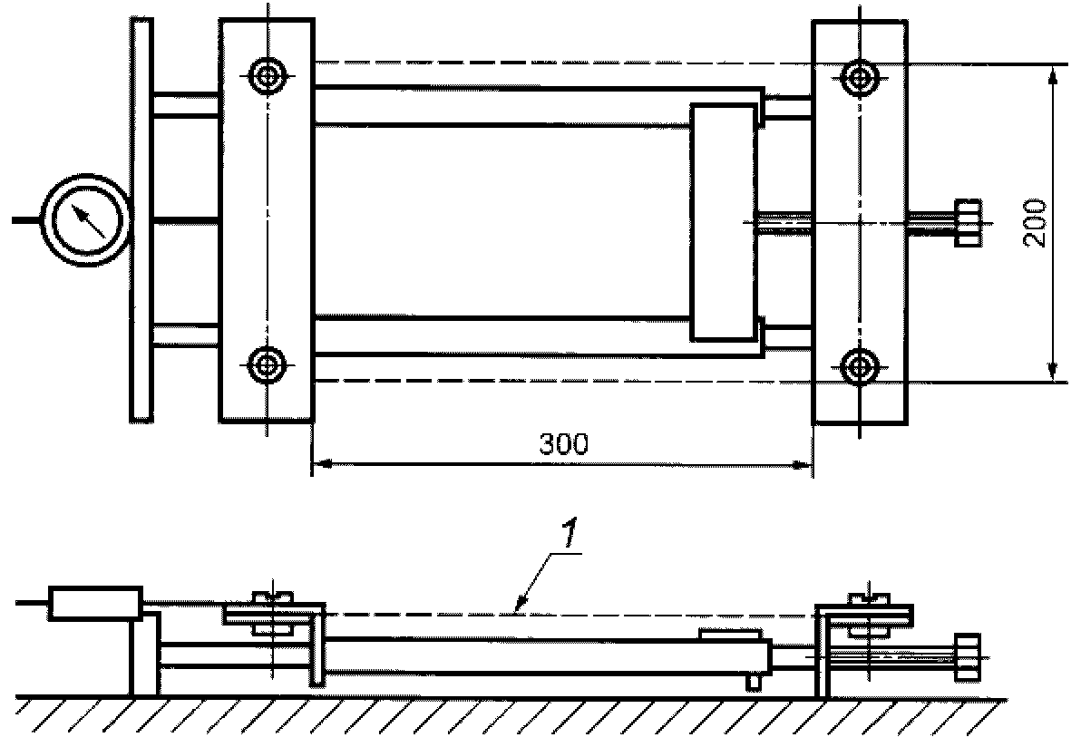
5.1. Устройство для растяжения образца
Схема устройства для растяжения образца, снабженного двумя зажимами для закрепления образца, приведена на рисунке 1. Один из зажимов может перемещаться в плоскости образца для его растяжения до заданного относительного удлинения и фиксирования образца в растянутом состоянии. Способ крепления образца в зажимах должен обеспечивать равномерное распределение силы растяжения по всей ширине образца, а также исключать его выскальзывание из зажимов при проведении испытания.
1 - образец
Рисунок 1. Устройство для растяжения образца
5.2. Индикатор растяжения с круговой шкалой
Индикатор растяжения с круговой шкалой для регистрации значения растяжения ценой деления не более 0,1 мм.
5.3. Камера для кондиционирования
Камера с температурой минус (10 +/- 2) °C для кондиционирования устройства с растянутым образцом.
5.4. Вакуумная насадка
Вакуумная насадка для испытания на водонепроницаемость образца после его растяжения, схема которой приведена на рисунке 2, может быть изготовлена из органического стекла толщиной

.
1 - манометр; 2 - опора высотой 2 - 3 мм;
3 - резиновая прокладка высотой 5 мм
Рисунок 2. Вакуумная насадка для определения
водонепроницаемости после растяжения
5.5. Вакуумный насос
Вакуумный насос, обеспечивающий создание отрицательного давления (15 +/- 3) кПа.
5.6. Манометр
Манометр, установленный на вакуумной насадке, ценой деления не более 0,2 кПа.
Отбор образцов проводят в соответствии с требованиями EN 13416.
Из полосы материала, отобранной для испытаний, вырубают два образца в продольном направлении и два образца в поперечном направлении; размер образцов

.
Образцы вырубают равномерно по ширине или длине полотна материала на расстоянии не менее 100 мм от края полотна.
Перед проведением испытаний образцы выдерживают не менее 24 ч при температуре (23 +/- 2) °C и относительной влажности (50 +/- 20)%.
8. Методика проведения испытаний
Испытуемый образец в ненапряженном состоянии устанавливают в устройство для растяжения так, чтобы расстояние между зажимами по показанию индикатора было (300 +/- 2) мм.
Для облегчения закрепления образец во время установки поддерживают снизу по всей его длине с помощью металлической пластины.
Температура устройства и образца при его установке должна быть (23 +/- 2) °C.
Затем устройство для растяжения с установленным образцом помещают в камеру для кондиционирования с температурой минус (10 +/- 2) °C и выдерживают при этой температуре в течение 2 ч +/- 10 мин.
Не вынимая устройства из камеры для кондиционирования, приводят в действие подвижный зажим со скоростью перемещения (15 +/- 3) мм/мин и растягивают образец до заданного значения относительного удлинения (соотношение значений относительного удлинения и соответствующих показаний индикатора растяжения приведено в таблице 1), после чего устройство с образцом переносят в помещение с температурой воздуха (23 +/- 2) °C.
Таблица 1
Исходное расстояние между зажимами, мм | Относительное удлинение, % | Показания индикатора растяжения, мм |
300 | 1 | 3 |
300 | 5 | 15 |
300 | 10 | 30 |
Через 5 - 10 мин образец подвергают испытанию на водонепроницаемость; для этого на верхнюю поверхность образца наносят мыльный раствор, прикладывают к ней вакуумную насадку и создают разность давлений на поверхностях образца (15 +/- 3) кПа. Если в течение 60 с на верхней поверхности образца не появятся мыльные пузыри, образец считают выдержавшим испытание на водонепроницаемость.
В случае разрыва образца вблизи зажимов растягивающего устройства результаты испытаний не учитывают и проводят повторные испытания.
9. Обработка результатов испытаний
За величину водонепроницаемости после растяжения при пониженной температуре принимают значение относительного удлинения, в процентах, при котором четыре из четырех испытанных образцов остаются водонепроницаемыми.
Отчет об испытаниях должен содержать:
a) данные, необходимые для идентификации испытуемого материала;
b) ссылку на настоящий стандарт и отклонения от его требований;
c) информацию об отборе образцов в соответствии с
разделом 6;
d) информацию о подготовке образцов в соответствии с
разделом 7;
e) информацию о методике проведения испытаний в соответствии с
разделом 8;
f) результаты испытаний;
g) дату проведения испытаний.
(справочное)
СВЕДЕНИЯ О СООТВЕТСТВИИ МЕЖГОСУДАРСТВЕННОГО СТАНДАРТА
ССЫЛОЧНОМУ ЕВРОПЕЙСКОМУ РЕГИОНАЛЬНОМУ СТАНДАРТУ
Таблица Д.А.1
Обозначение и наименование ссылочного европейского регионального стандарта | Степень соответствия | Обозначение и наименование межгосударственного стандарта |
EN 13416:2001 Материалы гибкие гидроизоляционные. Материалы кровельные и гидроизоляционные битумосодержащие и полимерные (термопластичные или эластомерные) - Правила отбора образцов | IDT | ГОСТ EN 13416-2011 Материалы кровельные и гидроизоляционные гибкие битумосодержащие и полимерные (термопластичные или эластомерные). Правила отбора образцов |
Примечание. В настоящей таблице использовано следующее условное обозначение степени соответствия стандартов: IDT - идентичные стандарты. |