Главная // Актуальные документы // ГОСТ Р (Государственный стандарт)СПРАВКА
Источник публикации
М.: Стандартинформ, 2017
Примечание к документу
Документ утратил силу с 01.01.2022 в связи с изданием
Приказа Росстандарта от 12.11.2020 N 1064-ст. Взамен введен в действие
ГОСТ Р 57418-2020.
Документ
введен в действие с 1 июля 2017 года.
Название документа
"ГОСТ Р 57418-2017. Национальный стандарт Российской Федерации. Материалы и изделия минераловатные теплоизоляционные. Метод определения срока эффективной эксплуатации"
(утв. и введен в действие Приказом Росстандарта от 13.03.2017 N 117-ст)
"ГОСТ Р 57418-2017. Национальный стандарт Российской Федерации. Материалы и изделия минераловатные теплоизоляционные. Метод определения срока эффективной эксплуатации"
(утв. и введен в действие Приказом Росстандарта от 13.03.2017 N 117-ст)
Утвержден и введен в действие
агентства по техническому
регулированию и метрологии
от 13 марта 2017 г. N 117-ст
НАЦИОНАЛЬНЫЙ СТАНДАРТ РОССИЙСКОЙ ФЕДЕРАЦИИ
МАТЕРИАЛЫ И ИЗДЕЛИЯ МИНЕРАЛОВАТНЫЕ ТЕПЛОИЗОЛЯЦИОННЫЕ
МЕТОД ОПРЕДЕЛЕНИЯ СРОКА ЭФФЕКТИВНОЙ ЭКСПЛУАТАЦИИ
Mineral wool heat-insulating materials and products.
Method of determining the effective operation period
ГОСТ Р 57418-2017
Дата введения
1 июля 2017 года
1 РАЗРАБОТАН Некоммерческим партнерством "Производители современной минеральной изоляции "Росизол"
2 ВНЕСЕН Техническим комитетом по стандартизации ТК 465 "Строительство"
3 УТВЕРЖДЕН И ВВЕДЕН В ДЕЙСТВИЕ
Приказом Федерального агентства по техническому регулированию и метрологии от 13 марта 2017 г. N 117-ст
4 ВВЕДЕН ВПЕРВЫЕ
Правила применения настоящего стандарта установлены в
статье 26 Федерального закона от 29 июня 2015 г. N 162-ФЗ "О стандартизации в Российской Федерации". Информация об изменениях к настоящему стандарту публикуется в ежегодном (по состоянию на 1 января текущего года) информационном указателе "Национальные стандарты", а официальный текст изменений и поправок - в ежемесячном информационном указателе "Национальные стандарты". В случае пересмотра (замены) или отмены настоящего стандарта соответствующее уведомление будет опубликовано в ежемесячном информационном указателе "Национальные стандарты". Соответствующая информация, уведомление и тексты размещаются также в информационной системе общего пользования - на официальном сайте Федерального агентства по техническому регулированию и метрологии в сети Интернет (www.gost.ru)
Настоящий стандарт устанавливает метод экспериментального определения теплофизических характеристик минераловатных изоляционных материалов и изделий в условиях моделирования их эксплуатации в ограждающих конструкциях.
Метод, установленный в настоящем стандарте, позволяет прогнозировать изменение теплофизических характеристик в процессе их эксплуатации и экспериментально определять срок эффективной эксплуатации минераловатных изоляционных материалов.
Настоящий стандарт устанавливает метод экспериментального определения срока эффективной эксплуатации минераловатных изоляционных материалов и изделий, применяемых при устройстве ограждающих конструкций зданий и сооружений во всех климатических зонах Российской Федерации, до 50 лет включительно.
Метод, установленный в настоящем стандарте, распространяется на все минераловатные материалы и изделия заводского изготовления, которые применяются в качестве тепловой изоляции ограждающих конструкций от температурных воздействий внешней среды.
В настоящем стандарте использованы ссылки на следующие нормативные документы:
ГОСТ 112 Термометры метеорологические стеклянные. Технические условия
ГОСТ 166 (ИСО 3599-76) Штангенциркули. Технические условия
ГОСТ 427 Линейки измерительные металлические. Технические условия
ГОСТ 7076 Строительные материалы. Материалы и изделия строительные. Метод определения теплопроводности и термического сопротивления при стационарном тепловом режиме
ГОСТ 10354 Пленка полиэтиленовая. Технические условия
ГОСТ 17177 Материалы и изделия строительные теплоизоляционные. Методы испытаний
ГОСТ 18321 Статистический контроль качества. Методы случайного отбора выборок штучной продукции
ГОСТ 31925 (EN 12667:2001) Материалы и изделия строительные с высоким и средним термическим сопротивлением. Методы определения термического сопротивления на приборах с горячей охранной зоной и оснащенных тепломером
ГОСТ EN 12085 Изделия теплоизоляционные, применяемые в строительстве. Методы определения линейных размеров образцов, предназначенных для испытаний
ГОСТ Р 53228 Весы неавтоматического действия. Часть 1. Метрологические и технические требования. Испытания
Примечание - При пользовании настоящим стандартом целесообразно проверить действие ссылочных документов в информационной сети общего пользования - на официальном сайте Федерального агентства по техническому регулированию и метрологии в сети Интернет или по ежегодному информационному указателю "Национальные стандарты", который опубликован по состоянию на 1 января текущего года, и по выпускам ежемесячного информационного указателя "Национальные стандарты" за текущий год. Если заменен ссылочный документ, на который дана недатированная ссылка, то рекомендуется использовать действующую версию этого документа с учетом всех внесенных в данную версию изменений. Если заменен ссылочный документ, на который дана датированная ссылка, то рекомендуется использовать версию этого документа с указанным выше годом утверждения (принятия). Если после утверждения настоящего стандарта в ссылочный документ, на который дана датированная ссылка, внесено изменение, затрагивающее положение, на которое дана ссылка, то это положение рекомендуется применять без учета данного изменения. Если ссылочный документ отменен без замены, то положение, в котором дана ссылка на него, рекомендуется применять в части, не затрагивающей эту ссылку. Сведения о действии свода правил целесообразно проверить в Федеральном информационном фонде стандартов.
В настоящем стандарте применены следующие термины с соответствующими определениями:
3.1 минеральная вата (минераловатный изоляционный материал): Теплоизоляционный материал, имеющий структуру ваты и изготовленный из расплава горной породы, шлака или стекла.
3.2 влажность материала по массе: Отношение массы влаги в килограммах, содержащейся в парообразной, жидкой и твердой фазах в порах материала, к массе сухого материала, выраженное в процентах.
3.3 замораживание: Процесс термического воздействия низких температур, который состоит в охлаждении образца испытуемого материала и его выдержке при заданной отрицательной температуре до полного завершения фазового перехода воды от жидкого состояния к твердому.
3.4 оттаивание: Процесс термического воздействия температур, который заключается в выдержке после замораживания образца испытуемого материала при положительной температуре до полного завершения фазового перехода воды от твердого состояния к жидкому.
3.5 срок эффективной эксплуатации: Условный эксплуатационный период, в течение которого изделие сохраняет свои теплоизоляционные свойства на уровне проектных показателей. Устанавливают в условных годах эксплуатации (сроке службы).
В настоящем стандарте применены следующие обозначения:
m0 - масса в сухом состоянии, кг;
mэ - экспериментальная масса, кг;
N - число условных годовых циклов, г;
Nр - расчетный срок эксплуатации, г;
Nэ - срок эффективной эксплуатации, г;
R - термическое сопротивление, Вт/(м2·°C);
wр - расчетная влажность, %;
wэ - экспериментальная влажность, %;

- допустимое приращение влажности, %;

- теплопроводность, Вт/(м·°C).
5.1 Сущность метода заключается в том, что образец испытуемого материала подвергают циклическим климатическим воздействиям, имитирующим условия эксплуатации материала или изделия в ограждающих конструкциях, и определяют изменения теплофизических характеристик материала (теплопроводности в сухом состоянии и термического сопротивления). По результатам измерений теплофизических характеристик оценивают срок эффективной эксплуатации материала до 50 лет включительно.
5.2 Циклические климатические воздействия на испытуемые образцы заключаются в увлажнении образцов до предельно допустимого значения влажности минераловатного изделия в строительной конструкции и в последующем периодическом замораживании и оттаивании образцов.
Два цикла замораживания и оттаивания приравнивают к одному условному году эффективной эксплуатации материала.
Образцы материалов испытывают через 30, 60, 100 циклов замораживания и оттаивания, что соответствует 15, 30, 50 условным годам эффективной эксплуатации.
6. Порядок отбора образцов для испытаний
6.1 Испытания проводят на образцах материалов или изделий, изготовленных в соответствии с требованиями стандартов или технических условий на эти материалы и изделия.
Примечание - Допускается проведение испытаний новых материалов на стадии их разработки при отсутствии нормативных документов на их изготовление.
6.2 Отбор образцов проводят методом случайной выборки по
ГОСТ 18321. Для определения срока эффективной эксплуатации материала отбирают три образца для определения исходных характеристик - теплопроводности и термического сопротивления материала (контрольные образцы) и по три образца для определения характеристик материала после климатических воздействий (опытные образцы), эквивалентных 15, 30 и 50 условным годам эффективной эксплуатации материала.
6.3 Отбор образцов для испытаний оформляют актом отбора, в котором приводят:
- дату отбора образцов;
- данные предприятия - изготовителя материала (изделия);
- наименование, вид и марку материала (изделия);
- стандарт или технические условия, по которым изготовлены материал или изделие;
- место отбора образцов;
- условия хранения образцов.
7. Испытательное оборудование и средства контроля
7.1 Для проведения испытаний применяют следующие оборудование и средства измерений:
- климатические камеры, которые позволяют задавать и поддерживать температуру воздуха от минус 20 °C до плюс 20 °C с точностью +/- 2 °C;
- лабораторный сушильный электрошкаф;
- измерительные металлические линейки по
ГОСТ 427;
- установка для принудительного увлажнения материалов.
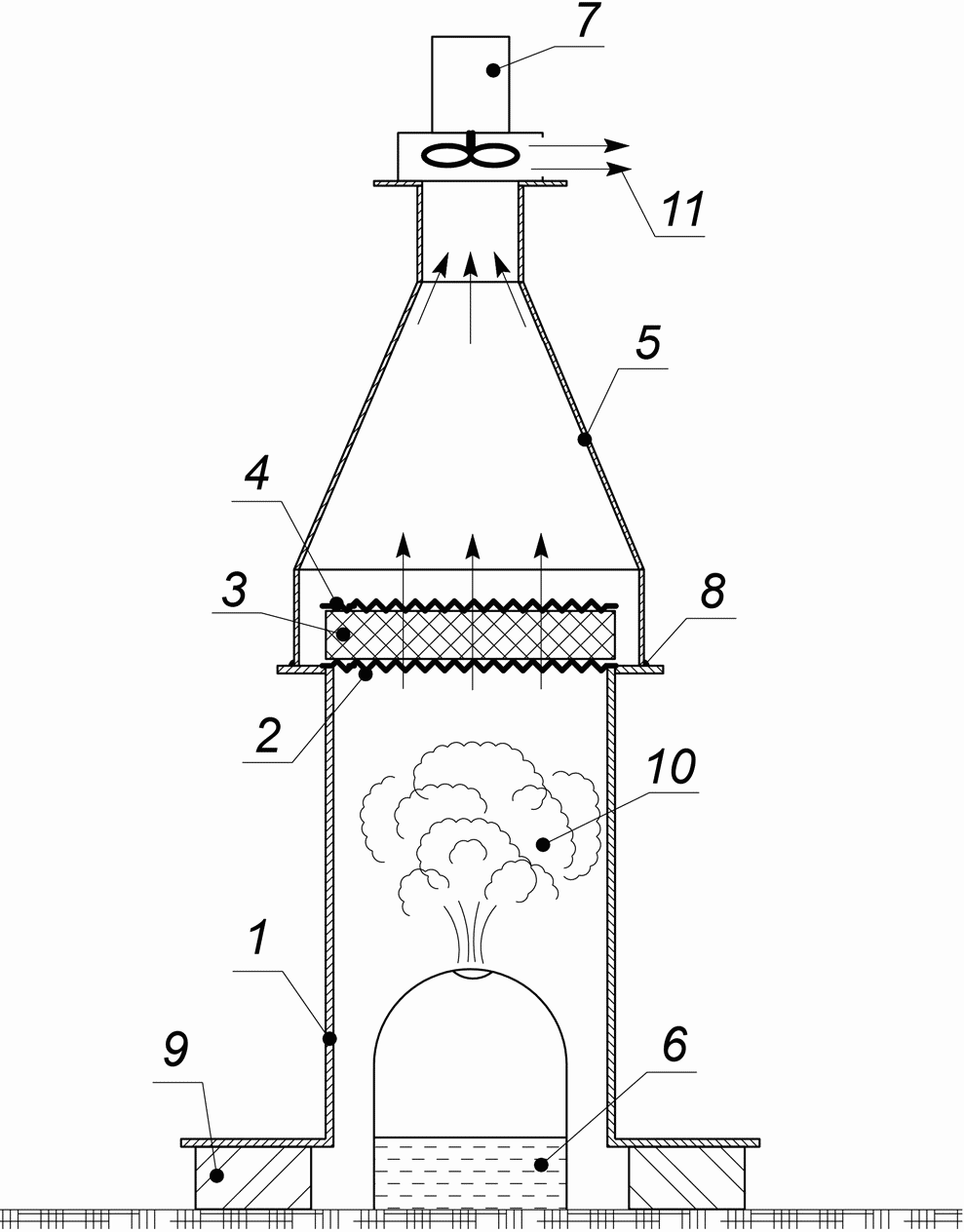
Принципиальная схема установки для принудительного увлажнения образцов водяным паром приведена в
приложении А. Допускается применение других, отличных по конструкции от описанной в
приложении А, установок и методов для принудительного увлажнения образцов.
7.2 Все средства измерений и испытательное оборудование должны иметь удостоверение государственной метрологической поверки в установленном порядке.
8. Подготовка к испытаниям
8.1 Срок эффективной эксплуатации определяют на образцах в виде прямоугольного параллелепипеда, лицевые грани которого имеют форму квадрата длиной стороны не менее 250 мм. Толщина образца может составлять от 20 до 50 мм. Разность между максимальной и минимальной значениями толщины не должна превышать 5 мм. Лицевые грани образца должны быть плоскими. Линейные размеры образцов измеряют по
ГОСТ EN 12085 или
ГОСТ 17177. Отклонения по ширине и длине образца не должны превышать +/- 3,0 мм.
8.2 Контрольные и опытные образцы высушивают в лабораторном сушильном шкафу до постоянной массы при температуре (105 +/- 5) °C, если в нормативном документе или технических условиях на продукцию конкретного вида не указана другая температура, исключающая возможность деструкции материала. Образец считают высушенным до постоянной массы, если разность между результатами двух последовательных измерений массы после очередного взвешивания не превышает 0,1% за период не менее 0,5 ч.
8.3 Определяют массу каждого образца в сухом состоянии m0 в килограммах.
8.4 Опытные образцы материалов или изделий увлажняют. Увлажнение опытных образцов проводят на установке, принципиальная схема которой показана на
рисунке А.1 приложения А, или на отличной от описанной конструкции установке. Образец для испытания 3 располагают в горизонтальном положении на воздухонепроницаемой основе 1 между нижней опорной сеткой 2 и верхней прижимной сеткой 4. Устраивают воздухонепроницаемый короб 5, на который устанавливают воздушный насос 7. В нижней части воздухонепроницаемой основы 1 устанавливают электропароувлажнитель 6, который включают после включения воздушного насоса 7.
Продолжительность процедуры увлажнения - от 5 до 15 мин. Процедуру увлажнения повторяют, переворачивая образец.
Примечание - Альтернативным способом увлажнения является введение воды в образец материала с помощью шприца. Рассчитывают необходимый для введения объем воды для достижения массы образца, близкой к требуемой (экспериментальной). Данный объем вводят в образец по 0,1 - 0,25 см3 в различные точки образца по всем граням с различной глубиной проникновения иглы шприца.
8.5 Увлажнение продолжают до достижения массы образца не менее требуемой (экспериментальной)
mэ = (1 + 0,01wэ)m0, (1)
где
wэ - экспериментальная влажность образца, определяемая по
8.8;
m0 - масса сухого образца, кг.
8.6 После достижения требуемого (экспериментального) значения влажности (требуемой массы) образец заворачивают в полиэтиленовую водонепроницаемую пленку толщиной не менее 0,02 мм по
ГОСТ 10354, запаивают по всем граням и помещают в сушильный электрошкаф на 24 ч для равномерного распределения влаги внутри образца. В сушильном электрошкафу поддерживают температуру 65 °C. Во время выдержки в сушильном шкафу образец необходимо переворачивать каждые 4 ч с грани на грань (лицевую либо торцевую). Затем образец выдерживают 24 ч при комнатной температуре: 12 ч на одной лицевой грани, 12 ч - на другой.
8.7 После выдерживания опытных образцов в сушильном электрошкафу по
8.6 проводят контрольное взвешивание с учетом массы полиэтиленовой пленки.
8.8 Требуемую экспериментальную влажность образца
wэ, %, вычисляют по формуле

(2)
где
wБ - максимальная расчетная влажность, соответствующая условиям эксплуатации Б согласно
приложению Т СП 50.13330.2012 [для всех типов минераловатных изоляционных материалов (из каменного и стеклянного волокна)
wБ = 5% по массе];

- предельно допустимое значение влажности в материале.
Для проведения испытаний по определению срока эффективной эксплуатации минераловатных изоляционных материалов указанное значение экспериментальной влажности следует увеличить на значение предельно допустимого приращения влажности в материале

(согласно
таблице 10 СП 50.13330.2012). Опытные образцы материалов до проведения циклов замораживания и оттаивания должны быть увлажнены до значения экспериментальной влажности с точностью +/- 2%. Следовательно, экспериментальная влажность по массе испытуемых образцов должна быть равна

(3)
9.1 Для всех образцов (контрольных и опытных) определяют теплопроводность в сухом состоянии и термическое сопротивление по
ГОСТ 7076 или
ГОСТ 31925. Полученные значения являются контрольными результатами.
9.2 После увлажнения в соответствии с
8.4 -
8.6 опытные образцы размещают равномерно по всему рабочему объему климатической камеры с промежутками между ними таким образом, чтобы обеспечить движение воздушных потоков и исключить образование застойных зон.
9.3 Температуру замораживания образцов устанавливают минус (20 +/- 2) °C. Продолжительность замораживания образцов составляет не менее 6 ч.
Примечание - Указанная температура замораживания обоснована экспериментальным фактом фазового перехода воды от жидкого состояния к твердому в порах всех типов строительных материалов при температуре ниже минус 15 °C.
9.4 Оттаивание образцов осуществляют при температуре воздуха плюс (20 +/- 2) °C. Продолжительность оттаивания составляет не менее 6 ч.
9.5 Через 30, 60, 100 циклов замораживания и оттаивания (15, 30 и 50 условных годовых циклов) опытные образцы высушивают в соответствии с
8.2 и определяют теплопроводность и термическое сопротивление в соответствии с
9.1.
9.6 Результаты испытаний фиксируют в протоколе (см.
приложение Б).
10. Обработка результатов испытаний
10.1 За результат каждого испытания (контрольного, после 15, 30 и 50 условных годовых циклов) по определению теплопроводности и термического сопротивления принимают среднеарифметическое значение результатов каждого испытания (контрольного, после 15, 30 и 50 условных годовых циклов) трех образцов.
10.2 Средние значения теплопроводности в сухом состоянии (см.
таблицу Б.1 приложения Б) после контрольного испытания, после 15, 30 и 50 условных годовых циклов наносят на график зависимости теплопроводности

, Вт/(м·°C), от числа условных годовых циклов
N, лет. Средние значения термического сопротивления (см.
таблицу Б.1 приложения Б) после контрольного испытания, после 15, 30 и 50 условных годовых циклов наносят на график зависимости термического сопротивления
R, Вт/(м
2·°C), от числа условных годовых циклов
N, лет.
10.3 Построенные графики аппроксимируют линейной функцией:

(4)
R(N) = R0 + k2N, (5)
где

- теплопроводность материала в сухом состоянии после контрольных испытаний (до проведения циклов замораживания и оттаивания), Вт/(м·°C);
k1 и k2 - угловые коэффициенты аппроксимирующих прямых;
R0 - термическое сопротивление образца после контрольных испытаний (до проведения циклов замораживания и оттаивания), Вт/(м2·°C).
10.4 Угловые коэффициенты аппроксимирующих прямых k1 и k2 определяют методами регрессионного анализа.
Примечание - Угловые коэффициенты k1 и/или k2 могут быть равны нулю в случае, если в ходе испытаний теплопроводность (термическое сопротивление) материала (образца) не менялась после проведения циклов замораживания и оттаивания.
11. Оценка результатов испытаний
11.1 Определяют расчетный срок эксплуатации Nр, лет, при котором теплопроводность увеличивается не более чем на 5% относительно результатов контрольных испытаний, а термическое сопротивление не более чем на 10% по формулам:

(6)

(7)
Nр = min(Nр1, Nр2). (8)
Значение расчетного срока эксплуатации Nр округляют до целого числа.
Расчетный срок эксплуатации Nр1 или Nр2 не определяют, если k1 = 0 или k2 = 0.
11.2 Срок эффективной эксплуатации Nэ, лет, минераловатного изоляционного материала или изделия приравнивают к числу проведенных условных годовых циклов испытаний N, лет, если в процессе испытаний теплопроводность материала увеличилась не более чем на 5% относительно результатов контрольных испытаний или не изменилась, т.е. если N <= Nр1 или k2 = 0 и термическое сопротивление увеличилось не более чем на 10% относительно результатов контрольных испытаний, или не изменилась, т.е. если N <= Nр2 или k2 = 0.
Срок эффективной эксплуатации Nэ, лет, минераловатного изоляционного материала или изделия принимают равным расчетному сроку эксплуатации Nр, лет, если в процессе испытаний теплопроводность материала увеличилась более чем на 5% или термическое сопротивление увеличилось более чем на 10% относительно результатов контрольных испытаний, т.е. если N > Nр.

(9)
(рекомендуемое)
ЭКСПЕРИМЕНТАЛЬНОЙ УСТАНОВКИ ДЛЯ ПРИНУДИТЕЛЬНОГО
УВЛАЖНЕНИЯ ОБРАЗЦОВ ВОДЯНЫМ ПАРОМ
Принципиальная схема установки для принудительного увлажнения водяным паром образцов приведена на
рисунке А.1.
Установка включает в себя:
- воздухонепроницаемую основу 1 квадратного сечения, полую внутри, с опорными полками в верхней части;
- опорную нижнюю металлическую сетку 2 из проволоки диаметром 1 мм с ячейкой размерами 20 x 20 мм, которая устанавливается на опорных полках основы и на которой располагается образец для испытания 3;
- прижимную верхнюю металлическую сетку 4 из проволоки диаметром 1 мм с ячейкой размерами 20 x 20 мм, которую помещают на образец для испытаний 3 в целях его удержания на поверхности основы и предотвращения образования больших щелей между образцом 3 и основой 1;
- воздухонепроницаемый колпак 5 в виде параллелепипеда, переходящего в цилиндр, который устанавливается на опорных полках основы 1;
- электропароувлажнитель 6 для образования пароводяной смеси без изменения температуры испаряющейся воды, который располагается внутри основы 1;
- воздушный насос 7, который устанавливают в верхней части колпака 5 и создает разрежение над увлажняемым образцом для испытаний 3, осуществляя удаление отработанной паровоздушной смеси из установки;
- резиновые уплотнители 8, устанавливаемые по периметру прижима колпака 5 к основе 1;
- расставленные по периметру подставки 9 под основу 1 для образования воздушных щелей (зазоров), через которые осуществляется подсос воздуха при работе установки.
1 - воздухонепроницаемая основа; 2 - нижняя опорная сетка;
3 - образец для испытаний; 4 - верхняя прижимная сетка;
5 - воздухонепроницаемый колпак; 6 - электропароувлажнитель;
7 - воздушный насос; 8 - резиновые уплотнители;
9 - подставки под основание; 10 - паровоздушная смесь;
11 - отработанная паровоздушная смесь
Рисунок А.1 - Схема экспериментальной установки
для принудительного увлажнения образцов водяным паром
(рекомендуемое)
ФОРМА ПРОТОКОЛА ИЗМЕРЕНИЙ ТЕПЛОФИЗИЧЕСКИХ ХАРАКТЕРИСТИК
МАТЕРИАЛОВ ПРИ ОЦЕНКЕ СРОКА ЭФФЕКТИВНОЙ ЭКСПЛУАТАЦИИ