Главная // Актуальные документы // ГОСТ Р (Государственный стандарт)
СПРАВКА
Источник публикации
М.: Стандартинформ, 2014
Примечание к документу
Документ утратил силу с 01.12.2020 в связи с изданием Приказа Росстандарта от 26.11.2020 N 1180-ст. Взамен введен в действие ГОСТ Р 58952.6-2020.

Документ введен в действие с 1 сентября 2013 года.
Название документа
"ГОСТ Р 55421-2013. Национальный стандарт Российской Федерации. Дороги автомобильные общего пользования. Эмульсии битумные дорожные катионные. Метод определения условной вязкости"
(утв. и введен в действие Приказом Росстандарта от 08.05.2013 N 93-ст)

"ГОСТ Р 55421-2013. Национальный стандарт Российской Федерации. Дороги автомобильные общего пользования. Эмульсии битумные дорожные катионные. Метод определения условной вязкости"
(утв. и введен в действие Приказом Росстандарта от 08.05.2013 N 93-ст)


Содержание


Утвержден и введен в действие
Приказом Федерального
агентства по техническому
регулированию и метрологии
от 8 мая 2013 г. N 93-ст
НАЦИОНАЛЬНЫЙ СТАНДАРТ РОССИЙСКОЙ ФЕДЕРАЦИИ
ДОРОГИ АВТОМОБИЛЬНЫЕ ОБЩЕГО ПОЛЬЗОВАНИЯ
ЭМУЛЬСИИ БИТУМНЫЕ ДОРОЖНЫЕ КАТИОННЫЕ
МЕТОД ОПРЕДЕЛЕНИЯ УСЛОВНОЙ ВЯЗКОСТИ
General use highways. Cationic road bituminous emulsions.
Method for determination of apparent viscosity
EN 12846-1:2002
(NEQ)
ГОСТ Р 55421-2013
ОКС 93.080.20
ОКП 57 7515
Дата введения
1 сентября 2013 года
Предисловие
1. Разработан Обществом с ограниченной ответственностью "Инновационный технический центр".
2. Внесен Техническим комитетом по стандартизации ТК 418 "Дорожное хозяйство".
3. Утвержден и введен в действие Приказом Федерального агентства по техническому регулированию и метрологии от 8 мая 2013 г. N 93-ст.
4. Настоящий стандарт разработан с учетом основных нормативных положений европейского регионального стандарта EN 12846-1:2002 "Битум и битумосодержащие связующие. Определение времени истечения с помощью вискозиметра истечения. Часть 1. Битумные эмульсии" (EN 12846-1:2002 "Bitumen and bituminous binders - Determination of efflux time by the efflux viscometer - Part 1: Bituminous emulsions", NEQ).
5. Введен впервые.
Правила применения настоящего стандарта установлены в ГОСТ Р 1.0-2012 (раздел 8). Информация об изменениях к настоящему стандарту публикуется в ежегодном (по состоянию на 1 января текущего года) информационном указателе "Национальные стандарты", а официальный текст изменений и поправок - в ежемесячном информационном указателе "Национальные стандарты". В случае пересмотра (замены) или отмены настоящего стандарта соответствующее уведомление будет опубликовано в ближайшем выпуске ежемесячного информационного указателя "Национальные стандарты". Соответствующая информация, уведомление и тексты размещаются также в информационной системе общего пользования - на официальном сайте Федерального агентства по техническому регулированию и метрологии в сети Интернет (gost.ru).
1. Область применения
Настоящий стандарт распространяется на эмульсии битумные дорожные катионные (далее - эмульсии), применяемые для дорожного строительства.
Настоящий стандарт устанавливает метод определения условной вязкости битумной эмульсии.
2. Нормативные ссылки
В настоящем стандарте использованы нормативные ссылки на следующие стандарты:
ГОСТ Р 12.1.019-2009 Система стандартов безопасности труда. Электробезопасность. Общие требования и номенклатура видов защиты
ГОСТ Р 12.4.246-2008 Система стандартов безопасности труда. Средства индивидуальной защиты рук. Перчатки. Общие технические требования. Методы испытаний
ГОСТ Р 55420-2013 Дороги автомобильные общего пользования. Эмульсии битумные дорожные катионные. Технические условия
ГОСТ 12.1.004-91 Система стандартов безопасности труда. Пожарная безопасность. Общие требования
ГОСТ 12.1.007-76 Система стандартов безопасности труда. Вредные вещества. Классификация и общие требования безопасности
ГОСТ 12.1.044-89 (ИСО 4589-84) Система стандартов безопасности труда. Пожаровзрывоопасность веществ и материалов. Номенклатура показателей и методы их определения
ГОСТ 12.4.011-89 Система стандартов безопасности труда. Средства защиты работающих. Общие требования и классификация
ГОСТ 12.4.103-83 Система стандартов безопасности труда. Одежда специальная защитная, средства индивидуальной защиты ног и рук. Классификация
ГОСТ 12.4.131-83 Халаты женские. Технические условия
ГОСТ 12.4.132-83 Халаты мужские. Технические условия
ГОСТ 1770-74 (ИСО 1042-83, ИСО 4788-80) Посуда мерная лабораторная стеклянная. Цилиндры, мензурки, колбы, пробирки. Общие технические условия
ГОСТ 6613-86 Сетки проволочные тканые с квадратными ячейками. Технические условия
Примечание. При пользовании настоящим стандартом целесообразно проверить действие ссылочных стандартов в информационной системе общего пользования - на официальном сайте Федерального агентства по техническому регулированию и метрологии в сети Интернет или по ежегодному информационному указателю "Национальные стандарты", который опубликован по состоянию на 1 января текущего года, и по выпускам ежемесячного информационного указателя "Национальные стандарты" за текущий год. Если заменен ссылочный стандарт, на который дана недатированная ссылка, то рекомендуется использовать действующую версию этого стандарта с учетом всех внесенных в данную версию изменений. Если заменен ссылочный стандарт, на который дана датированная ссылка, то рекомендуется использовать версию этого стандарта с указанным выше годом утверждения (принятия). Если после утверждения настоящего стандарта в ссылочный стандарт, на который дана датированная ссылка, внесено изменение, затрагивающее положение, на которое дана ссылка, то это положение рекомендуется применять без учета данного изменения. Если ссылочный стандарт отменен без замены, то положение, в котором дана ссылка на него, рекомендуется применять в части, не затрагивающей эту ссылку.
3. Термины и определения
В настоящем стандарте применены следующие термины с соответствующими определениями.
3.1. Условная вязкость: время истечения определенного количества жидкости, характеризует внутреннее сопротивление потоку.
3.2. Время истечения: время, необходимое для истечения указанного объема материала, проходящего через отверстие определенного диаметра, при заданной температуре.
4. Требования к средствам измерений, вспомогательным
устройствам, материалам, реактивам
При выполнении измерений применяют следующие средства измерений, вспомогательные устройства и реактивы:
- вискозиметр с диаметром отверстия истечения 4 мм (в соответствии с Приложением А, рисунок А.1) или аналогичный прибор, позволяющий производить измерения описанным в данной методике способом;
- секундомер с ценой деления 0,2 с;
- термометр ртутный с ценой деления 0,5 °C и диапазоном измеряемых температур от 0 °C до 50 °C или аналогичный прибор, позволяющий производить измерения в указанном диапазоне температур, с требуемой точностью;
- термостат или сушильный шкаф, позволяющие поддерживать температуру (40 +/- 1) °C;
- сито с сеткой N 063 - по ГОСТ 6613;
- цилиндр стеклянный вместимостью 100 мл с ценой деления 1 мл - по ГОСТ 1770.
5. Метод измерений
Условная вязкость битумной эмульсии характеризуется временем истечения 50 мл эмульсии из вискозиметра, схема которого приведена в Приложении А, через отверстие диаметром 4 мм при температуре (40 +/- 1) °C.
6. Требования безопасности, охраны окружающей среды
Битумные эмульсии согласно ГОСТ 12.1.007 относятся к 4-му классу опасности, являются малоопасными веществами по степени воздействия на организм человека.
При работе с эмульсиями используют индивидуальные средства защиты согласно ГОСТ 12.4.011, ГОСТ 12.4.103, ГОСТ 12.4.131, ГОСТ 12.4.132. Для защиты рук используют перчатки по ГОСТ Р 12.4.246.
Попавший на кожу раствор эмульгатора (водная фаза) следует смыть под сильной струей воды с нейтральным мылом. При попадании эмульсии на лицо или руки следует быстро смыть ее холодной водой, остатки битума снять керосином или дизельным топливом, затем эти места промыть теплой водой с мылом.
При попадании компонентов и эмульсии в глаза необходимо немедленно и обильно промыть их водой, закапать противовоспалительное средство и обратиться к врачу.
При выполнении измерений соблюдают правила по электробезопасности по ГОСТ Р 12.1.019 и инструкции по эксплуатации оборудования.
Эмульсии согласно ГОСТ 12.1.044 относятся к трудногорючим жидкостям. Работы с применением битумных эмульсий должны производиться с соблюдением требований пожарной безопасности по ГОСТ 12.1.004.
Испытанный материал утилизируют в установленном порядке в соответствии с требованиями предприятия-изготовителя.
7. Требования к условиям измерений
При выполнении измерений соблюдают следующие условия для помещений, в которых испытываются образцы:
- температура (23 +/- 3) °C;
- относительная влажность (55 +/- 10)%.
8. Порядок подготовки к выполнению измерений
При подготовке к выполнению измерений проводят следующие работы:
- отбор проб;
- подготовка образцов;
- подготовка и настройка оборудования к измерениям.
8.1. Отбор проб
Отбор проб производят в соответствии с ГОСТ Р 55420 (пункт 7.5).
8.2. Подготовка образцов
Перед началом испытаний пробу эмульсии объемом 500 мл процеживают через сито N 063 для получения однородной массы. После чего пробу в закрытом сосуде помещают в термостат или сушильный шкаф на (60 +/- 10) мин при температуре (40 +/- 1) °C.
8.3. Подготовка и настройка оборудования к измерениям
В водяной бане вискозиметра поддерживается температура (40 +/- 1) °C и контролируется термометром. Водяную баню закрывают крышкой с отверстием для термометра, для избегания испарения воды.
9. Порядок выполнения измерений
При выполнении измерения вязкости необходимо осуществить следующие операции:
- закрыть верхнюю часть отверстия цилиндра с помощью шарового клапана. Аккуратно заполнить цилиндр битумной эмульсией до отметки на шаровом клапане, когда тот находится в вертикальном положении;
- измерить термометром температуру битумной эмульсии в цилиндре;
- под сопло вискозиметра поставить стеклянный цилиндр. Поднять и зафиксировать клапан. Начать отсчет времени, когда жидкость в цилиндре достигнет 25 мл, и закончить, когда жидкость достигнет 75 мл. Полученное время истечения в секундах округляют до целого числа.
10. Обработка результатов измерений
За результат испытаний принимают среднее арифметическое результатов не менее трех измерений времени, полученных в соответствии с разделом 9, результат округляют до целого числа при условии, что отдельные результаты не отличаются более чем на 10% от среднего арифметического.
Если два результата отличаются от среднего арифметического более чем на 10%, необходимо повторить всю процедуру испытания.
Разница между двумя последовательными результатами испытаний, полученных с помощью одного и того же оборудования при точном соблюдении всех требований метода испытаний, превышает значения, приведенные в таблице 1, только в одном случае из двадцати.
Таблица 1
Условная вязкость, с
Сходимость
Воспроизводимость
Менее 20
1 с
2 с
От 20 до 40
2 с
10% от среднего
Более 40
5% от среднего
10% от среднего
Разница между двумя отдельными и независимыми результатами, полученными в разных лабораториях при испытании идентичных образцов материала, при точном соблюдении всех требований метода испытаний, превышают значения, приведенные в таблице 1, только в одном случае из двадцати.
11. Оформление результатов измерений
Результаты измерений оформляются в виде протокола, который должен содержать:
- полную идентификацию испытуемого образца (в том числе дату отбора проб и дату подготовки проб);
- ссылку на акт отбора проб;
- ссылку на настоящий стандарт и отклонения от его требований;
- название организации, проводившей испытания;
- дату проведения испытания;
- температуру при испытании;
- результаты испытаний (в секундах).
12. Контроль точности результатов измерений
Точность результатов измерений обеспечивается:
- соблюдением требований настоящего стандарта;
- проведением периодической оценки метрологических характеристик средств измерений;
- проведением периодической аттестации оборудования.
Лицо, проводящее измерения, должно быть ознакомлено с требованиями настоящего стандарта.
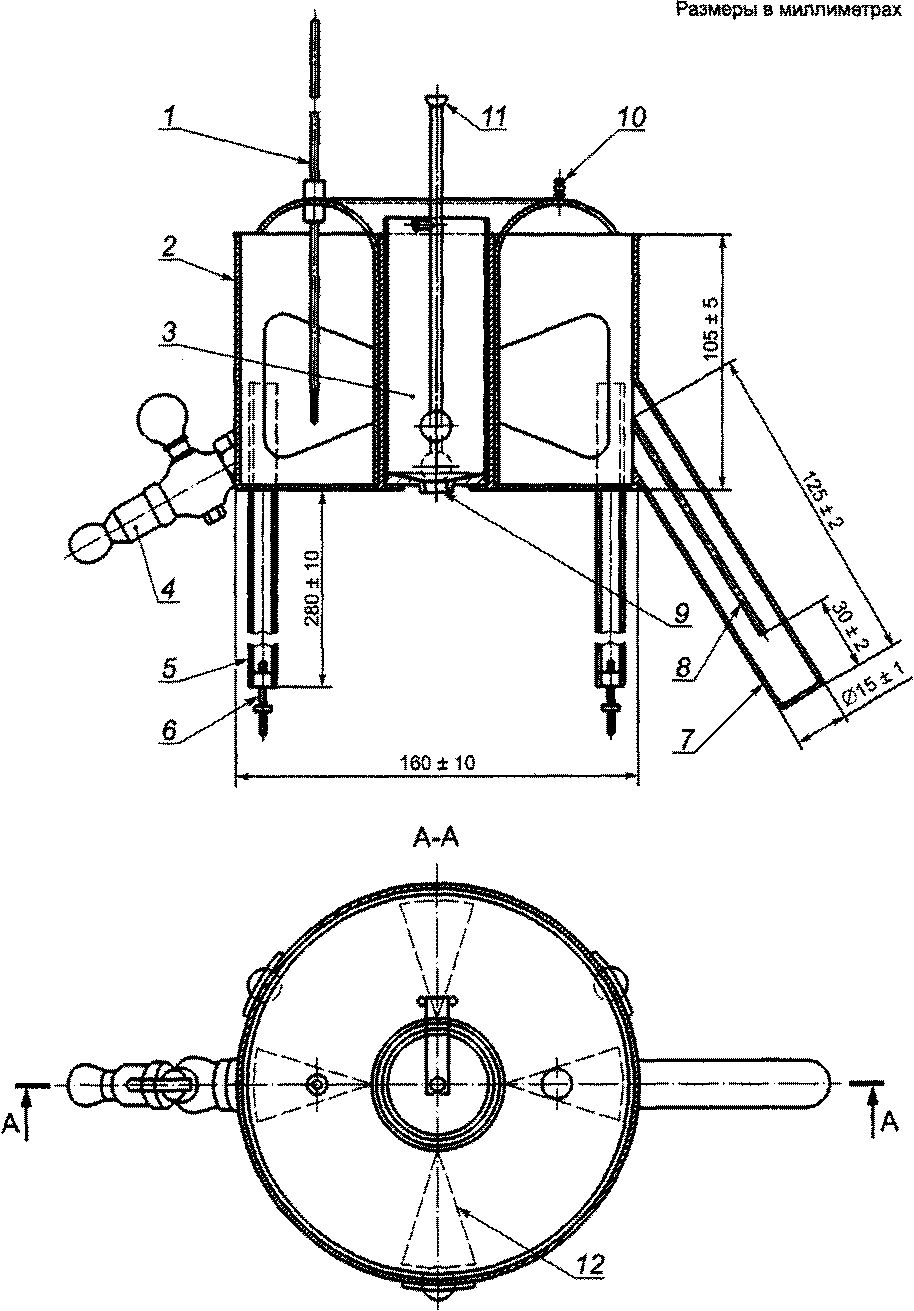
Приложение А
(обязательное)
СХЕМА ВИСКОЗИМЕТРА
1 - термометр; 2 - водяная баня; 3 - цилиндр; 4 - вентиль;
5 - ножки; 6 - выравниваемые ножки; 7 - нагревательная
трубка; 8 - пластина; 9 - отверстие истечения;
10 - вставляемая ручка; 11 - шаровой клапан,
поддерживаемый в положении "вверх"; 12 - лопасти
Рисунок А.1. Типичная высота и план собранного
вискозиметра (пример)
X - (4,00 +/- 0,05) мм; Y - (90,3 +/- 0,5) мм;
Z - (6,35 +/- 0,05) мм
Рисунок А.2. Цилиндр вискозиметра и шаровой клапан