Главная // Актуальные документы // ГОСТ Р (Государственный стандарт)СПРАВКА
Источник публикации
М.: Стандартинформ, 2013
Примечание к документу
Документ включен в
Перечень международных и региональных (межгосударственных) стандартов, а в случае их отсутствия - национальных (государственных) стандартов, в результате применения которых на добровольной основе обеспечивается соблюдение требований технического
регламента Таможенного союза "О безопасности низковольтного оборудования" (ТР ТС 004/2011) и в
Перечень международных и региональных (межгосударственных) стандартов, а в случае их отсутствия - национальных (государственных) стандартов, содержащих правила и методы исследований (испытаний) и измерений, в том числе правила отбора образцов, необходимые для применения и исполнения требований технического
регламента Таможенного союза "О безопасности низковольтного оборудования" (ТР ТС 004/2011) и осуществления оценки соответствия объектов технического регулирования (
Решение Коллегии Евразийской экономической комиссии от 11.05.2023 N 55).
Документ включен в
Перечень международных и региональных (межгосударственных) стандартов, а в случае их отсутствия - национальных (государственных) стандартов, в результате применения которых на добровольной основе обеспечивается соблюдение требований технического
регламента Таможенного союза "О безопасности машин и оборудования" (ТР ТС 010/2011) и отдельные положения данного документа включены в
Перечень международных и региональных (межгосударственных) стандартов, а в случае их отсутствия - национальных (государственных) стандартов, содержащих правила и методы исследований (испытаний) и измерений, в том числе правила отбора образцов, необходимые для применения и исполнения требований технического
регламента Таможенного союза "О безопасности машин и оборудования" (ТР ТС 010/2011) и осуществления оценки соответствия объектов технического регулирования (
Решение Коллегии Евразийской экономической комиссии от 09.03.2021 N 28).
Документ
введен в действие с 1 января 2013 года.
Название документа
"ГОСТ Р МЭК 60745-2-3-2011. Национальный стандарт Российской Федерации. Машины ручные электрические. Безопасность и методы испытаний. Часть 2-3. Частные требования к шлифовальным, дисковым шлифовальным и полировальным машинам с вращательным движением рабочего инструмента"
(утв. и введен в действие Приказом Росстандарта от 13.12.2011 N 1126-ст)
"ГОСТ Р МЭК 60745-2-3-2011. Национальный стандарт Российской Федерации. Машины ручные электрические. Безопасность и методы испытаний. Часть 2-3. Частные требования к шлифовальным, дисковым шлифовальным и полировальным машинам с вращательным движением рабочего инструмента"
(утв. и введен в действие Приказом Росстандарта от 13.12.2011 N 1126-ст)
Утвержден и введен в действие
агентства по техническому
регулированию и метрологии
от 13 декабря 2011 г. N 1126-ст
НАЦИОНАЛЬНЫЙ СТАНДАРТ РОССИЙСКОЙ ФЕДЕРАЦИИ
МАШИНЫ РУЧНЫЕ ЭЛЕКТРИЧЕСКИЕ.
БЕЗОПАСНОСТЬ И МЕТОДЫ ИСПЫТАНИЙ
ЧАСТЬ 2-3
ЧАСТНЫЕ ТРЕБОВАНИЯ К ШЛИФОВАЛЬНЫМ, ДИСКОВЫМ ШЛИФОВАЛЬНЫМ
И ПОЛИРОВАЛЬНЫМ МАШИНАМ С ВРАЩАТЕЛЬНЫМ ДВИЖЕНИЕМ
РАБОЧЕГО ИНСТРУМЕНТА
Hand-held motor-operated electric tools. Safety and test
methods. Part 2-3. Particular requirements for grinders,
polishers and disk-type sanders with rotational movement
of operating tools
IEC 60745-2-3:2011
Hand-held motor-operated electric
tools - Safety - Part 2-3: Particular requirements
for grinders, polishers and disk-type sanders
(IDT)
ГОСТ Р МЭК 60745-2-3-2011
Дата введения
1 января 2013 года
Цели и принципы стандартизации в Российской Федерации установлены Федеральным
законом от 27 декабря 2002 г. N 184-ФЗ "О техническом регулировании", а правила применения национальных стандартов Российской Федерации -
ГОСТ Р 1.0-2004 "Стандартизация в Российской Федерации. Основные положения".
1. Подготовлен Закрытым акционерным обществом "Интерскол" (ЗАО "Интерскол") на основе собственного аутентичного перевода на русский язык стандарта, указанного в пункте 4.
2. Внесен Техническим комитетом по стандартизации ТК 262 "Инструмент механизированный и ручной".
3. Утвержден и введен в действие
Приказом Федерального агентства по техническому регулированию и метрологии от 13 декабря 2011 г. N 1126-ст.
4. Настоящий стандарт идентичен международному стандарту МЭК 60745-2-3:2011 "Электроинструменты ручные с приводом от двигателя. Безопасность. Часть 2-3. Частные требования к точильным, полировальным станкам и шлифовальным станкам дискового типа" (IEC 60745-2-3:2011 "Hand-held motor-operated electric tools - Safety - Part 2-3: Particular requirements for grinders, polishers and disk-type sanders").
При применении настоящего стандарта рекомендуется использовать вместо ссылочных международных стандартов соответствующие им национальные стандарты Российской Федерации, сведения о которых приведены в дополнительном
Приложении ДА.
Наименование настоящего стандарта изменено относительно наименования указанного международного стандарта для приведения в соответствие с ГОСТ Р 1.5-2004
(пункт 3.5).
5. Введен впервые.
Информация об изменениях к настоящему стандарту публикуется в ежегодно издаваемом информационном указателе "Национальные стандарты", а текст изменений и поправок - в ежемесячно издаваемом информационном указателе "Национальные стандарты". В случае пересмотра (замены) или отмены настоящего стандарта соответствующее уведомление будет опубликовано в ежемесячно издаваемом информационном указателе "Национальные стандарты". Соответствующая информация, уведомление и тексты размещаются также в информационной системе общего пользования - на официальном сайте Федерального агентства по техническому регулированию и метрологии в сети Интернет.
Настоящий стандарт относится к комплексу стандартов, устанавливающих требования безопасности ручных электрических машин и методы их испытаний.
Настоящий стандарт применяют совместно с
ГОСТ Р МЭК 60745-1-2009 "Машины ручные электрические. Безопасность и методы испытаний. Часть 1. Общие требования", который идентичен международному стандарту МЭК 60745-1:2006 "Электроинструменты ручные с приводом от двигателя. Безопасность. Часть 1. Общие требования".
Настоящий стандарт устанавливает частные требования безопасности и методы испытаний шлифовальных, дисковых шлифовальных и полировальных машин с вращательным движением рабочего инструмента, которые дополняют, изменяют или заменяют соответствующие разделы, подразделы, пункты, таблицы и рисунки МЭК 60745-1:2006.
Номера разделов, пунктов, таблиц и рисунков соответствуют приведенным в МЭК 60745-2-3:2011. Пункты, дополняющие МЭК 60745-1:2006, имеют нумерацию, начиная со 101.
В настоящем стандарте требования к методам испытаний выделены курсивом.
По МЭК 60745-1 со следующим дополнением:
Дополнение:
Настоящий стандарт распространяется на шлифовальные, дисковые шлифовальные и полировальные машины (угловые, прямые и торцевые) с номинальным диаметром абразивного инструмента не более 230 мм. Номинальная частота вращения шлифовальных машин при номинальном диаметре шлифовального круга не должна превышать значения, соответствующего окружной скорости шлифовального круга, равной 80 м/с.
Настоящий стандарт не распространяется на специализированные отрезные машины по МЭК 60745-2-22.
Настоящий стандарт не распространяется на эксцентриковые полировальные и шлифовальные машины по МЭК 60745-2-4.
По МЭК 60745-1 со следующим дополнением:
ИСО 603-12:1999. Абразивы со связующим. Размеры. Часть 12. Шлифовальные круги для снятия заусенцев и зачистки на продольно-шлифовальном станке (ISO 603-12:1999, Bonded abrasive products - Dimensions - Part 12 - Grinding wheels for deburring and fettling on a straight grinder)
ИСО 603-14:1999. Абразивы со связующим. Размеры. Часть 14. Шлифовальные круги для снятия заусенцев и зачистки/обдирки на ручной машине для шлифования под углом (ISO 603-14:1999, Bonded abrasive products - Dimensions - Part 14: Grinding wheels for deburring and fettling/snagging on an angle grinder)
ИСО 603-16:1999. Абразивы со связующим. Размеры. Часть 16. Шлифовальные круги для отрезки ручным механизированным инструментом (ISO 603-16:1999, Bonded abrasive products - Dimensions - Part 16: Grinding wheels for cutting-off on hand held power tools)
ANSI B7.1:2000. Требования по безопасности применения, обслуживания и защиты абразивных кругов (ANSI B7.1, Safety requirements for the use, care and protection of abrasive wheels).
По МЭК 60745-1 со следующим дополнением:
3.101. Прокладка (blotter): деталь из тонкого легкосжимаемого материала между абразивным инструментом и фланцем.
3.102. Дисковая шлифовальная машина (disk-type sander): машина, подобная шлифовальной машине, предназначенная для шлифования шкуркой (шлифовальным диском).
3.102.1. Угловая дисковая шлифовальная машина (angle disk-type sander): машина с вращающимся шпинделем, расположенным под прямым углом относительно оси вала электродвигателя, предназначенная для шлифования торцевой поверхностью абразивного инструмента (торцевое шлифование).
3.102.2. Прямая дисковая шлифовальная машина (straight disk-type sander): машина с вращающимся шпинделем, соосным с валом электродвигателя, предназначенная для шлифования радиальной поверхностью абразивного инструмента (радиальное шлифование) или торцевого шлифования.
3.102.3. Торцевая дисковая шлифовальная машина (vertical disk-type sander): машина с вращающимся шпинделем, соосным с валом электродвигателя, предназначенная для торцевого шлифования.
3.103. Фланец (flange): кольцо, диск или планка, между которыми или на которых крепятся шлифовальные круги.
3.103.1. Фланец без кольцевой канавки (unrecessed flange): фланец, устанавливаемый на шпинделе машины, имеющий плоскую поверхность без кольцевой канавки, который закрепляет посредством резьбового соединения абразивный инструмент, например чашечный круг, конический круг или цилиндрический круг.
3.103.2. Фланец с кольцевой канавкой (recessed flange): фланец, устанавливаемый на шпинделе машины, имеющий плоскую поверхность с кольцевой канавкой.
3.103.3. Наружный диаметр фланца (flange outside diameter): наружный диаметр контактной поверхности фланца.
3.103.4. Опорный фланец (backing flange): фланец, прилегающий к тыльной стороне шлифовального круга, образуя его опору, и расположенный на шпинделе между кругом и машиной.
3.103.5. Зажимной фланец (locking flange): фланец, опирающийся на переднюю сторону шлифовального круга, зажимая и закрепляя его на шпинделе и опорном фланце.
3.104. Шлифовальная машина (grinder): машина с приводимым в действие вращающимся шпинделем, на котором установлен и закреплен абразивный инструмент.
3.104.1. Угловая шлифовальная машина (angle grinder): машина с вращающимся шпинделем, расположенным под прямым углом относительно оси вала электродвигателя, предназначенная для радиального и торцевого шлифования.
3.104.2. Прямая шлифовальная машина (straight grinder): машина с вращающимся шпинделем, соосным с валом электродвигателя, оборудованная либо шлифовальным кругом для радиального шлифования, либо цангой, либо патроном для применения со смонтированными шлифовальными кругами, шлифовальными головками или борфрезами.
3.104.3. Торцевая шлифовальная машина (vertical grinder): машина с вращающимся шпинделем, соосным с валом электродвигателя, предназначенная для торцевого шлифования.
3.105. Смонтированные шлифовальные круги (mounted wheels): круги различных форм и размеров, являющиеся абразивным инструментом на органической или неорганической связке, смонтированные на оправке или навинченные на оправку.
3.106. Полировальная машина (polisher): машина, снабженная вращающимся диском или кругом для полирования.
3.106.1. Угловая полировальная машина (angle polisher): машина с вращающимся шпинделем, расположенным под прямым углом относительно оси вала электродвигателя, предназначенная для радиального и торцевого полирования.
3.106.2. Прямая полировальная машина (straight polisher): машина с вращающимся шпинделем, соосным с валом электродвигателя, предназначенная для радиального полирования.
3.106.3. Торцевая полировальная машина (vertical polisher): машина с вращающимся шпинделем, соосным с валом электродвигателя, предназначенная для торцевого полирования.
3.107. Номинальный диаметр (rated capacity): максимальный диаметр вращающегося абразивного инструмента, который можно устанавливать на машину в соответствии с инструкцией изготовителя.
3.108. Номинальная частота вращения (rated speed): максимально достижимая частота вращения, указанная изготовителем, при установке любого рекомендованного абразивного инструмента при номинальном напряжении или при верхнем пределе диапазона номинального напряжения.
3.109. Защитный кожух (wheel guard): устройство, частично охватывающее шлифовальный круг и обеспечивающее защиту оператора.
3.110. Типы кругов (wheel types): круги для различных видов работ - по ИСО 603-12, ИСО 603-14, ИСО 603-16 или ANSI B7.1.
3.111. Мелкий фрагмент (minor fragment): частицы шлифовального круга, масса которых не более 1/16 массы круга.
По МЭК 60745-1.
5. Общие условия испытаний
По МЭК 60745-1.
По МЭК 60745-1.
8. Маркировка и инструкции
По МЭК 60745-1 со следующим дополнением:
8.1. Дополнение:
Машины должны иметь дополнительную маркировку:
- номинальную частоту вращения в оборотах в минуту;
- номинальный диаметр абразивного инструмента в миллиметрах;
- диаметр резьбы - для машин с резьбовым шпинделем;
- предупреждающие знак и надпись:"

ОСТОРОЖНО! Всегда носите средства защиты органов зрения" или знак М004 по ИСО 7010, или знак:
Знак защиты органов зрения можно видоизменять, добавляя графические обозначения других средств индивидуальной защиты, таких как средства защиты органов слуха, пылезащитных масок и т.п.
8.6. Дополнение:
n - номинальная частота вращения.
8.12.1. Дополнение:
В отношении следующих указаний по безопасности, приведенных в
8.12.1.101 -
8.12.1.107, термины, такие как шлифование - шлифовальная машина, шлифование шкуркой - дисковая шлифовальная машина, зачистка проволочной щеткой - зачистная машина, полирование - полировальная машина, резка - отрезная машина, следует выбирать в зависимости от назначения машины, установленного изготовителем. Эти термины в предупреждениях и заголовках необходимо соответственно использовать или удалять с учетом выбранных видов работ. Союзы "и", "или" используются соответствующим образом.
Если ручная машина рекомендована только для выполнения одной из перечисленных работ, заголовок этого раздела следует относить ко всем предупреждениям.
8.12.1.101. Указания мер безопасности для всех видов работ
Предупреждения по безопасности, общие для шлифования, шлифования шкуркой, зачистки, полирования и абразивной резки:
Примечание. В приведенном выше заголовке опускаются работы, которые не применяют.
a) данная ручная машина предназначена для применения в качестве шлифовальной, дисковой шлифовальной, зачистной, полировальной и отрезной машины. Ознакомьтесь со всеми предупреждениями по безопасности, инструкциями, иллюстрациями и техническими характеристиками, предоставленными с данной ручной машиной. Невыполнение всех приведенных ниже указаний может привести к поражению электрическим током, пожару и (или) к тяжелому телесному повреждению;
b) не производите данной ручной машиной такие работы, как шлифование, шлифование шкуркой, зачистку, полирование или резку. Производство работ, для которых ручная машина не предназначена, может создавать опасность и вызывать телесные повреждения;
Примечание. Перечисляются только те работы, которые не вошли в первое предупреждение. Если рекомендуется производить все перечисленные работы, это предупреждение можно опустить, однако необходимо привести все без исключения последующие.
c) не пользуйтесь рабочим инструментом и другими вспомогательными устройствами, которые не предназначены специально для этой машины и не рекомендованы изготовителем машины. Одна только возможность их крепления к данной ручной машине не обеспечивает ее безопасную работу;
d) номинальная частота рабочего инструмента, указанная на нем, должна быть не меньше максимальной частоты вращения, указанной на машине. При работе рабочим инструментом, вращающимся со скоростью большей, чем его номинальная частота вращения, может произойти его разрыв и разлет обломков;
e) наружный диаметр и толщина рабочего инструмента должны соответствовать функциональным возможностям машины. Несоразмерные рабочие инструменты не могут быть в достаточной мере ограждены и при работе могут приводить к потере управления машиной;
f) размер посадочного отверстия оправок шлифовальных кругов, фланцев, тарельчатых шлифовальных дисков и иных вспомогательных устройств должен обеспечивать плотную, без зазоров, посадку на шпинделе ручной машины. Рабочий инструмент и устройства с посадочными отверстиями, установленные на шпинделе машины с зазором, будут несбалансированными, вызывать повышенную вибрацию и приводить к потере управления машиной при работе;
g) не применяйте поврежденный рабочий инструмент. Перед каждым использованием осматривайте рабочий инструмент, например шлифовальные круги, на предмет наличия сколов и трещин; тарельчатые шлифовальные диски - на наличие трещин, разрывов или чрезмерного износа; проволочную щетку - на предмет незакрепленных или надломанных проволок. После падения ручной машины или рабочего инструмента проведите осмотр на наличие повреждений или установите новый рабочий инструмент. После осмотра и монтажа рабочего инструмента оператор и все находящиеся вблизи лица должны занять положение за пределами плоскости вращения рабочего инструмента, после чего включите ручную машину для работы на максимальной частоте вращения на холостом ходу в течение 1 мин. В большинстве случаев за время контроля происходит разрыв поврежденного рабочего инструмента;
h) применяйте средства индивидуальной защиты. В зависимости от выполняемой работы пользуйтесь защитным лицевым щитком, закрытыми или открытыми защитными очками. По мере необходимости пользуйтесь пылезащитной маской, средствами защиты органов слуха, перчатками и защитным фартуком, способным задерживать мелкие абразивные частицы и частицы обрабатываемого материала. Средства защиты органов зрения должны быть способны задерживать разлетающиеся частицы, образующиеся при производстве различных работ. Пылезащитная маска или респиратор должны отфильтровывать частицы, образующиеся при производстве работ. Длительное воздействие шума высокого уровня может вызвать потерю слуха;
i) не допускайте посторонних непосредственно близко к рабочей зоне. Любые лица, входящие в рабочую зону, должны носить средства индивидуальной защиты. Фрагменты объекта обработки или поломанного рабочего инструмента могут разлетаться и вызывать телесные повреждения в непосредственной близости от места производства работы;
j) держите ручную машину только за изолированные поверхности рукояток при производстве работ, при которых рабочий инструмент может прикоснуться к скрытой проводке или к собственному кабелю машины. При прикосновении рабочего инструмента к находящемуся под напряжением проводу открытые металлические части ручной машины могут попасть под напряжение и вызвать поражение оператора электрическим током;
Примечание. Приведенное выше предупреждение можно опустить, если рекомендуемыми видами работ являются только полирование или шлифование шкуркой.
k) располагайте кабель на расстоянии от вращающегося рабочего инструмента. При потере контроля над машиной кабель может быть разрезан или захвачен вращающимися частями, при этом кисти рук могут быть притянуты в зону вращающегося инструмента;
l) никогда не кладите ручную машину до полной остановки рабочего инструмента. Вращающийся рабочий инструмент может зацепиться за поверхность, и можно не удержать машину в руках;
m) не включайте ручную машину во время ее переноски. При случайном прикосновении к вращающемуся рабочему инструменту можно захватить одежду и нанести травму;
n) регулярно проводите очистку вентиляционных отверстий ручной машины. Вентилятор электродвигателя затягивает пыль внутрь корпуса, чрезмерное скопление металлизированной пыли может привести к опасности поражения электрическим током;
o) не работайте ручной машиной рядом с воспламеняемыми материалами. Эти материалы могут воспламениться от искр, возникающих при работе абразивного инструмента;
p) не пользуйтесь рабочими инструментами, требующими применения охлаждающих жидкостей. Применение воды или иных охлаждающих жидкостей может привести к поражению электрическим током.
Примечание. Приведенное выше предупреждение не относится к ручным машинам, конструкция которых обеспечивает подачу охлаждающих жидкостей на рабочий инструмент.
8.12.1.102. Дополнительные указания мер безопасности для всех видов работ
Отскок и соответствующие предупреждения
Отскок - это реакция машины на внезапное заедание или заклинивание вращающегося шлифовального круга, шлифовального тарельчатого диска, щетки или иного рабочего инструмента. Заклинивание вызывает резкое торможение вращающегося рабочего инструмента, что приводит к возникновению силы отдачи, воздействующей на ручную машину, направленной противоположно направлению вращения рабочего инструмента и приложенной в точке заклинивания.
Если, например, шлифовальный круг заклинен в объекте обработки, а кромка круга заглублена в поверхность материала, круг будет выжиматься из материала или отбрасываться. Круг может отскочить в сторону оператора или от него в зависимости от направления движения круга в месте заклинивания. При этом может происходить разрыв шлифовальных кругов.
Отскок является результатом неправильного обращения с ручной машиной и/или неправильного порядка или условий работы; отскока можно избежать, принимая приведенные ниже меры предосторожности:
a) надежно удерживайте ручную машину, тело и руки должны находиться в состоянии готовности в любой момент погасить силу отдачи, возникающую при отскоке. Обязательно пользуйтесь дополнительной рукояткой, если она предусмотрена, это обеспечит готовность быстро скомпенсировать силу отдачи или реактивного момента при пуске. При соблюдении мер предосторожности оператор может контролировать реактивный момент или силу отдачи при отскоке;
b) никогда не приближайте руку к вращающемуся рабочему инструменту. При отскоке рабочего инструмента можно повредить руку;
c) не располагайтесь в зоне предполагаемого движения рабочего инструмента в случае отскока. При отскоке рабочий инструмент отбрасывается в направлении, противоположном направлению вращения круга в месте заклинивания;
d) будьте особо осторожны при работе в углах, на острых кромках и т.п. Избегайте вибрации и заедания рабочего инструмента. Углы, острые кромки и вибрация рабочего инструмента могут приводить к заклиниванию, вызывать потерю управления или отскок;
e) не прикрепляйте пильные цепи для резки древесины или пильные диски. Такой инструмент способен вызывать частые отскоки и потерю управления машиной.
8.12.1.103. Дополнительные указания мер безопасности для шлифовальных и отрезных работ
Примечание. Если шлифовальные и отрезные работы не рекомендованы изготовителем, требования данного пункта можно не применять.
Особые предупреждения по безопасности для шлифовальных и отрезных работ с использованием абразивного инструмента:
a) пользуйтесь только теми типами кругов, которые рекомендованы для данной ручной машины, и специальным защитным кожухом, предназначенным для выбранного типа круга. Круги, для которых ручная машина не предназначена, не могут в достаточной степени ограждаться и являются небезопасными;
b) защитный кожух должен быть надежно закреплен к ручной машине, обеспечивать максимальную безопасность таким образом, чтобы со стороны оператора была открыта как можно меньшая часть круга. Защитный кожух обеспечивает защиту оператора от фрагментов круга при его разрыве, случайного прикосновения к кругу и искр, от которых может загореться одежда;
Примечание. Данное требование не относится к шлифовальным и отрезным шлифовальным машинам с номинальным диаметром шлифовального круга менее 55 мм.
c) шлифовальные и отрезные круги следует применять только для рекомендуемых работ. Например, не производите шлифование боковой стороной отрезного круга. Отрезные круги не предназначены для шлифования, прикладываемые к этим кругам поперечные силы могут разрушить круг;
d) всегда пользуйтесь неповрежденными, имеющими соответствующий размер и форму для выбранного круга фланцами. Фланцы, соответствующие шлифовальному или отрезному кругу, служат надежной опорой для него, снижая вероятность разрушения круга. Фланцы для отрезных кругов могут отличаться от фланцев для шлифовальных кругов;
e) не пользуйтесь изношенными кругами от ручных машин, рассчитанных на больший диаметр круга. Круг, предназначенный для ручной машины с диаметром рабочего инструмента большего размера, не годится для ручной машины, рассчитанной на более высокие частоты вращения и меньшие диаметры кругов, вследствие чего может произойти его разрушение.
8.12.1.104. Дополнительные указания мер безопасности для отрезных работ
Примечание. Если отрезные работы не рекомендованы изготовителем, требования данного пункта можно не применять.
Дополнительные предупреждения по безопасности для отрезных работ:
a) не "задавливайте" отрезной круг и не прикладывайте чрезмерное усилие подачи. Не делайте недопустимо глубокие резы. При прикладывании чрезмерного усилия подачи возрастает нагрузка и вероятность скручивания или заклинивания круга в прорези, а также увеличивается возможность отскока или разрыва круга;
b) не стойте непосредственно перед или за вращающимся кругом. Когда круг во время работы вращается от Вас, возможный отскок может отбросить на Вас ручную машину вместе с вращающимся кругом;
c) когда круг заклинивает или работа прекращается по любой другой причине, выключайте ручную машину и удерживайте ее неподвижно до тех пор, пока рабочий инструмент полностью не остановится. Во избежание возможного отскока не пытайтесь извлекать круг из разреза в обрабатываемом материале, пока он вращается. Установите причину заклинивания круга и примите меры по ее устранению;
d) не возобновляйте работу, пока отрезной круг находится в объекте обработки. Дождитесь набора кругом полной частоты вращения, а затем осторожно введите его в полученный ранее разрез. При повторном пуске ручной машины с кругом, находящимся в разрезе, возможны заклинивание и выход круга из зоны реза или отскок;
e) обеспечьте для плит или любых длинномерных объектов обработки надежную опору для сведения к минимуму опасности заклинивания круга и отскока машины. Длинномерные объекты обработки могут прогибаться под действием собственной массы. Необходимо устанавливать опоры под заготовку рядом с линией реза с обеих сторон круга и по краям объекта обработки;
f) будьте особо осторожны при работе в нишах, имеющихся в стенах и других затененных зонах. Выступающий вперед круг может перерезать газовые или водопроводные трубы, электропроводку или иные предметы, что может привести к отскоку машины.
8.12.1.105. Дополнительные указания мер безопасности для работ со шлифовальной шкуркой
Примечание. Если работа со шлифовальной шкуркой не рекомендована изготовителем, требования данного пункта можно не применять.
Особые предупреждения по безопасности для работ со шлифовальной шкуркой:
a) не применяйте шлифовальную шкурку размером больше шлифовального тарельчатого диска. При выборе шлифовальной шкурки следуйте рекомендациям изготовителя. Шлифовальная шкурка, выступающая за тарельчатый диск, может стать причиной травмы, привести к заклиниванию, разрыву шкурки и отскоку машины.
8.12.1.106. Дополнительные указания мер безопасности для полировальных работ
Примечание. Если полировальные работы не рекомендованы изготовителем, требования данного пункта можно не применять.
Особые предупреждения по безопасности для полировальных работ:
a) не допускайте свободного вращения любой незакрепленной части полировального круга или шнура его крепления. Заправляйте или подрезайте любые незакрепленные шнуры крепления. Незакрепленные вращающиеся шнуры крепления могут захватить пальцы или застрять в объекте обработки.
8.12.1.107. Дополнительные указания мер безопасности для зачистных работ
Примечание. Если зачистные работы не рекомендованы изготовителем, требования данного пункта можно не применять.
Особые предупреждения по безопасности для зачистных работ:
a) учитывайте, что проволоки щетки выпадают из нее даже при нормальной эксплуатации. Не пережимайте проволоки приложением чрезмерной нагрузки к щетке. Отлетающие куски проволоки легко проникают через легкую одежду и/или кожу;
b) если для зачистных работ рекомендуется применение защитного кожуха, не допускайте задевания защитного кожуха дисковой или чашечной щеткой. Дисковая или чашечная щетка может увеличиваться в диаметре под действием усилия прижатия ее к обрабатываемой поверхности и центробежных сил.
8.12.2. Дополнение перечисления a):
102) толщина и диаметр шлифовальных кругов.
8.12.2. Дополнение перечисления b):
101) указание о применении прокладок, если они предусмотрены для работы с абразивным инструментом;
102) указание о креплении абразивных инструментов и применении подходящих фланцев, информацию по эксплуатации и обслуживанию абразивного инструмента. Указание о способе установки двусторонних фланцев;
103) указания оператору по применению всех различных типов кругов, оговоренных в инструкции, в соответствии с
перечислением a), 101), 8.12.2, например для торцевого шлифования, радиального шлифования;
104) указание по соответствующему типу защитного кожуха для применяемого типа круга;
105) указание по установке и креплению защитного кожуха с указанием допустимой регулировки с целью обеспечения максимальной степени защиты оператора;
106) указание о надлежащем закреплении объекта обработки;
107) при применении чашечных кругов, конических или цилиндрических шлифовальных головок с глухим резьбовым отверстием для крепления на шпинделе машины необходимо предоставлять привязочные размеры и другие данные для предотвращения касания дна абразивного инструмента торцом шпинделя;
108) для дисковых шлифовальных машин, предназначенных исключительно для шлифования деревянных полов, - инструкция с указанием по присоединению внешнего пылесборного оборудования, если оно предусмотрено.
8.12.2. Дополнение перечисления c):
101) хранение рекомендуемых рабочих инструментов и обращение с ними.
8.101. Машины также должны иметь маркировку, указывающую направление вращения шпинделя. Это направление указывается рельефной или утопленной стрелкой либо иными не менее различимыми и нестираемыми средствами.
9. Защита от контакта с токоведущими частями
По МЭК 60745-1.
По МЭК 60745-1.
11. Потребляемая мощность и ток
По МЭК 60745-1.
По МЭК 60745-1 со следующим изменением:
12.4. Замена:
Машина должна проработать 30 мин при номинальной потребляемой мощности или номинальном токе. Превышения температуры измеряют в конце 30 мин.
По МЭК 60745-1.
По МЭК 60745-1.
15. Электрическая прочность
По МЭК 60745-1.
16. Защита от перегрузки трансформаторов и соединенных
с ними цепей
По МЭК 60745-1.
По МЭК 60745-1.
18. Ненормальный режим работы
По МЭК 60745-1 со следующим дополнением:
18.10.104. Дополнение:
В ходе этих испытаний частота вращения шпинделя не должна превышать 120% номинальной частоты вращения. Должен быть установлен абразивный инструмент в соответствии с 8.12.2 a), 101), обеспечивающий максимальную частоту вращения шпинделя машины.
19. Механическая безопасность
По МЭК 60745-1 со следующими дополнениями:
19.1. Изменение:
Второе предложение второго абзаца не относится к защитным кожухам, рассматриваемым в
19.101.
19.4. Дополнение:
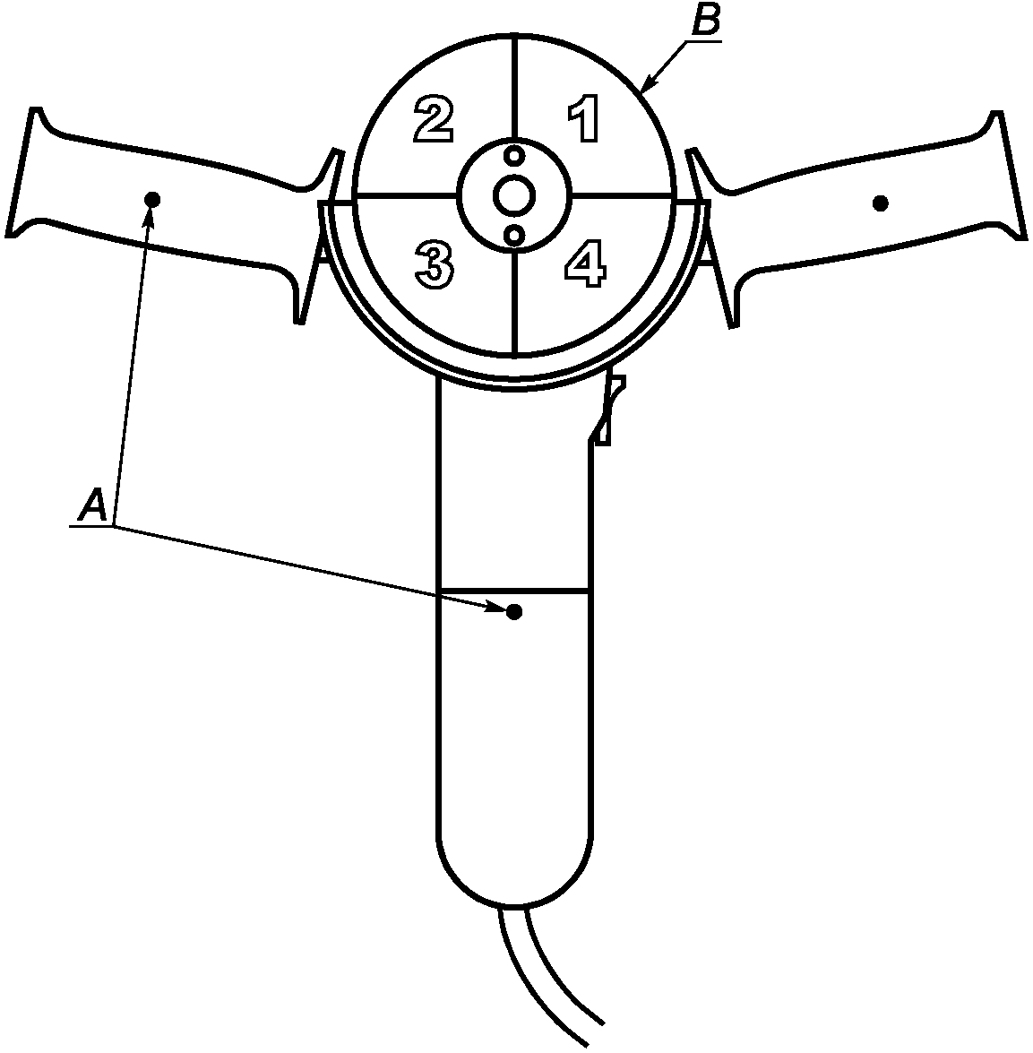
Машины с номинальным диаметром более 100 мм должны иметь не менее двух рукояток. Одной из рукояток может быть корпус ручной машины при условии придания ему соответствующей формы.
Соответствие требованию проверяют осмотром.
19.101. Шлифовальные машины с номинальным диаметром более 55 мм должны быть снабжены защитным кожухом для предохранения пользователя при нормальной эксплуатации:
- от случайного прикосновения к абразивному инструменту;
- от разлета фрагментов абразивного инструмента;
- от искр и отходов, образующихся при шлифовании.
Защитный кожух (далее - кожух) может быть съемным либо с помощью инструмента, либо при выполнении следующих требований:
- для снятия кожуха необходимо выполнение двух отдельных разнородных действий, например нажатие рычага и поворот кожуха;
- для снятия кожуха его необходимо повернуть в положение, в котором он не находится при нормальной эксплуатации (в нерабочее положение).
Кожух должен отвечать следующим требованиям:
- иметь такую конструкцию, при которой в случае разрыва круга снижается риск телесного повреждения оператора, при этом кожух остается закрепленным к шлифовальной машине эффективным и надежным образом и выдерживает испытание по
20.101;
- замена шлифовального круга не должна требовать снятия кожуха с машины;
- иметь такую конструкцию, при которой риск случайного прикосновения оператора к кругу при нормальной эксплуатации сведен к минимуму, например возможностью регулировки.
Для предотвращения монтажа круга, превышающего установленный диаметр, зазор между внутренней боковой поверхностью кожуха и краем нового (неизношенного) абразивного инструмента, соответствующего
8.12.2 a), 101), по крайней мере в одной точке дуги перекрытия кожуха и круга должен составлять не более 8 мм при номинальном диаметре машины не более 130 мм и не более 10 мм - при номинальном диаметре более 130 мм.
При применении круга типа 1 (шлифовальные круги) и круга типов 41 и 42 (отрезные круги) кожух должен закрывать периферию круга и обе его боковые стороны на дуге не менее 175°. Переднее ограждение кожуха должно иметь конструкцию, обеспечивающую легкую замену круга. Ограждение конца шпинделя, гайки и зажимного фланца не требуется (см.
рисунок 101).
При применении круга типов 27 - 29 кожух должен закрывать заднюю боковую сторону и периферию шлифовального круга на дуге не менее 175°; на передней кромке кожуха должен иметься выступ с уклоном в сторону круга, причем расстояние, измеренное в радиальном направлении от линии пересечения внешней боковой поверхности самого широкого из рекомендуемых кругов с внутренней поверхностью кожуха до края выступа, должно быть не менее 3 мм (см.
рисунок 102).
Для алмазных отрезных кругов допускается любой из указанных выше кожухов.
Расстояние, измеренное в осевом направлении от внешней боковой поверхности самого широкого из рекомендуемых кругов до поверхности, образованной внутренним краем выступа, должно быть не менее 2 мм. Концы выступа при установке самого широкого из рекомендованных кругов могут иметь фаски под углом не более 45° (см.
рисунок 102).
При применении круга типов 6 и 11 (цилиндрические и конические чашечные круги) кожух должен закрывать периферию и торцевую неработающую поверхность шлифовального круга на дуге не менее 240° (см.
рисунок 103). Кожух должен иметь продольную регулировку для компенсации износа круга максимально допустимого размера и для ограничения открытой зоны круга в осевом направлении расстоянием не более 3 мм.
Соответствие требованиям проверяют осмотром и измерением.
19.102. Конструкцией машины должно быть предусмотрено исключение ослабления крепления абразивного инструмента при нормальной эксплуатации.
Шлифовальные машины должны быть снабжены фланцами для крепления шлифовальных кругов на шпинделе. Фланцы должны отвечать требованиям
19.104 и
19.105.
Фланцы не требуются при следующих конструктивных исполнениях:
- при применении кругов на органической или неорганической связке, закрепленных на цилиндрической нерезьбовой или резьбовой оправке;
- при применении неразборной (с кругом) планшайбы или гайки (резьбовой втулки), прикрепленной к кругу изготовителем;
- при применении чашечных кругов с резьбовым отверстием или модифицированных чашечных кругов.
Соответствие требованиям проверяют осмотром.
19.103. Шпиндель должен иметь конструкцию, имеющую соответствующие средства, обеспечивающие крепление абразивного инструмента, предназначенного для данной машины, а также передачу крутящего момента инструменту.
Направление резьбы шпинделя или конструкция аналогичного средства крепления должны быть такими, чтобы любое зажимное устройство, цанга или круг с резьбовым отверстием самозатягивались во время работы.
Соответствие требованиям проверяют осмотром.
Для ограничения дисбаланса любой вращающейся части эксцентриситет шпинделя должен быть не более 0,1 мм.
В машинах, в которых инструмент крепят посредством фланца или подобного зажимного и центрирующего устройства, суммарный эксцентриситет шпинделя, отверстия фланца и посадочной шейки фланца, которая центрирует и служит опорной поверхностью для инструмента, должен быть, мм, не более:
- 0,30 - при номинальной частоте вращения не более 15000 об/мин;
- 0,15 - при номинальной частоте вращения не менее 15000 об/мин, но не более 25000 об/мин;
- 0,10 - при номинальной частоте вращения не менее 25000 об/мин.
Соответствие требованию проверяют измерением.
В ручных машинах с фланцами эксцентриситет фланца измеряют в положении, допустимым способом крепления, при котором эксцентриситет максимален.
В ручные машины с цангами или патронами устанавливают контрольную цилиндрическую оправку и измеряют эксцентриситет на расстоянии 10 и 20 мм от места крепления.
19.104. Конструкция фланцев по
19.102 должна обеспечивать крепление и центрирование абразивного инструмента на шпинделе шлифовальной машины. По меньшей мере один из фланцев должен быть установлен на шпонке, навинчен, запрессован или иным способом закреплен для предотвращения его вращения относительно шпинделя.
Фланцы должны быть плоскими и не должны иметь острых кромок.
D - наружный диаметр шлифовального круга (на рисунке шлифовальный круг не изображен);
G и W - размеры кольцевой канавки;

- наружный диаметр контактной поверхности фланца.
Фланцы для кругов диаметром менее 55 мм могут быть без кольцевой канавки.
При применении кругов с резьбовыми вставками или выступающими резьбовыми шпильками фланцы не должны иметь кольцевой канавки (G = 0).
Опорный и зажимной фланцы должны иметь одинаковый диаметр

или перекрытие поверхностей, контактирующих со шлифовальным кругом, опорного и зажимного фланцев должно быть не менее C.
Во избежание задевания зажимной фланец и/или гайка не должны выступать за образованную выступом кожуха плоскость при установке самого широкого из рекомендованных кругов типа 27, 28 или 29.
19.104.1. Диаметр

фланца для круга типа 1 должен быть не менее 0,33D.
Диаметр

фланца для круга типов 6, 11, 27 - 29, 41 и 42 должен быть:

- для 55 мм <= D < 80 мм;

- для 80 мм <= D < 105 мм для кругов с отверстием диаметром 10 мм (3/8");

- для 80 мм <= D < 105 мм для кругов с отверстием диаметром 16 мм (5/8");

- для 105 мм <= D <= 230 мм.
Для кругов типа 41 размер

может превышать указанные выше значения.
19.104.2. Размеры C, G и W (см.
рисунок 104) должны составлять:
C >= 3 мм;
W >= 1 мм, G >= 1 мм - для

;
W >= 1 мм, G >= 1,5 мм - для

.
19.105. Конструкцией фланцев по
19.102 должно быть предусмотрено обеспечение их достаточной прочности.
Соответствие требованию проверяют следующим испытанием.
На шлифовальную машину устанавливают стальной диск, толщина и форма которого соответствуют толщине и форме абразивного инструмента.
Зажимную гайку (зажимной фланец) необходимо затянуть первым испытательным моментом затяжки (см. таблицу 101). Для проверки наличия контакта между фланцами и диском по всей окружности необходимо пользоваться щупом толщиной 0,05 мм. Результат испытания считают положительным, если щуп невозможно протолкнуть под фланцами ни в одном месте.
Таблица 101
Моменты затяжки для испытания фланцев
┌─────────────────────────┬──────────────────────┬────────────────────────┐
│ Резьба │ Первый испытательный │ Второй испытательный │
├─────────────┬───────────┤момент затяжки, Н x м │ момент затяжки, Н x м │
│ метрическая │ дюймовая │ │ │
├─────────────┼───────────┼──────────────────────┼────────────────────────┤
│ 8 │ 2 │ 2 │ 8 │
├─────────────┼───────────┼──────────────────────┼────────────────────────┤
│ 10 │ 3/8 │ 4 │ 15 │
├─────────────┼───────────┼──────────────────────┼────────────────────────┤
│ 12 │ 1/2 │ 7,5 │ 30 │
├─────────────┼───────────┼──────────────────────┼────────────────────────┤
│ 14 │ - │ 11 │ 45 │
├─────────────┼───────────┼──────────────────────┼────────────────────────┤
│ 16 │ 5/8 │ 17,5 │ 70 │
├─────────────┼───────────┼──────────────────────┼────────────────────────┤
│ - │ 3/4 │ 35 │ 140 │
└─────────────┴───────────┴──────────────────────┴────────────────────────┘
Зажимную гайку необходимо дополнительно затянуть вторым испытательным моментом затяжки (см. таблицу 101). Для проверки прогиба фланцев необходимо пользоваться щупом толщиной 0,05 мм. Результат испытания считают положительным, если щуп невозможно протолкнуть под фланцами более чем на 1 мм.
19.6. Замена:
Конструкцией машины должна быть предусмотрена возможность предотвращения превышения частоты вращения при нормальной эксплуатации. Частота вращения машины не должна превышать номинальную частоту вращения при любых условиях эксплуатации.
Соответствие требованию проверяют осмотром и измерением частоты вращения после того, как машина отработает в течение 5 мин. Должен быть установлен рекомендованный абразивный инструмент, установка которого обеспечивает максимальную частоту вращения.
Если частота вращения машины изменяется в зависимости от нагрузки, то при контроле максимальной частоты вращения под нагрузкой абразивный инструмент не устанавливают.
20. Механическая прочность
По МЭК 60745-1 со следующим изменением и дополнениями:
20.5. Не применяется к полировальным и дисковым шлифовальным машинам при условии, что эти машины не предназначены для применения в качестве шлифовальных, как оговорено в инструкции в соответствии с
8.12.2.
20.101. Все рекомендуемые изготовителем защитные кожухи должны иметь достаточную механическую прочность для предотвращения попадания фрагментов круга на оператора в случае его разрыва.
Соответствие требованию проверяют проведением испытания трех образцов любого рекомендуемого кожуха, как указано в 20.101.1 - 20.101.4. По усмотрению изготовителя это испытание проводят на трех кожухах, на трех или меньшем числе шлифовальных машин. После проведения испытания машина должна отвечать требованиям приемки по 20.101.5.
20.101.1.
Кожух должен быть установлен и надежно закреплен на машине в соответствии с указаниями 8.12.2 b) 105). Если кожух регулируемый, его следует, насколько это возможно, или повернуть в направлении вращения круга под углом (30 +/- 10)° относительно линии нейтрального положения кожуха (линия нейтрального положения кожуха - прямая, перпендикулярная к продольной оси машины), или на максимальное значение регулирования, если предел регулирования менее 30° (см. рисунки 106a и 106b).
На шпиндель устанавливают шлифовальный круг номинального диаметра и максимальной ширины, рекомендуемой изготовителем.
Шлифовальная машина должна отработать при номинальном напряжении на холостом ходу в течение не менее 5 мин. Во время испытаний измеряют и регистрируют частоту вращения круга.
20.101.2.
В круге, оговоренном в 20.101.1, делают прорези, разделяя его на четыре равных сегмента (квадранта). В кругах типов 1, 27 - 29, 41 и 42 прорезь имеет направление от наружного края радиально к центру (см. рисунок 107). В кругах типов 6 и 11 прорезь начинается на рабочей (торцевой) поверхности круга и направлена в сторону места крепления на машине (см. рисунок 108).
Ширина каждой прорези не более 2,5 мм. Длина прорезей должна обеспечивать разрушение круга центробежными силами либо при максимальной частоте вращения, полученной при испытании по 20.101.1, либо при значении, равном 90% номинальной частоты вращения, в зависимости от того, какая из них больше. Шлифовальный круг с прорезями устанавливают на шпиндель в соответствии с инструкцией.
Примечание. В приведенной ниже таблице 102 даны типичные пределы длины прорезей для стандартных размеров кругов.
Таблица 102
Типичные пределы длины прорезей для стандартных
размеров кругов
┌─────────┬────────────────────┬────────────────────┬─────────────────────┐
│Тип круга│ Размер круга │ Средняя частота │ Максимальная длина │
│ │(диаметр x толщина x│ вращения при │ прорезей, мм │
│ │ диаметр отверстия),│ -1 │ │
│ │ мм │ разрушении, мин │ │
├─────────┼────────────────────┼────────────────────┼─────────────────────┤
│ Тип 27 │ 115 x 6 x 22,23 │ 10200 │ 37,6 - 39,6 │
│ ├────────────────────┼────────────────────┼─────────────────────┤
│ │ 125 x 6 x 22,23 │ 9800 │ 42,7 - 45,7 │
│ ├────────────────────┼────────────────────┼─────────────────────┤
│ │ 180 x 6 x 22,23 │ 5900 │ 67,3 - 72,1 │
│ ├────────────────────┼────────────────────┼─────────────────────┤
│ │ 230 x 6 x 22,23 │ 5700 │ 83,3 - 93,5 │
├─────────┼────────────────────┼────────────────────┼─────────────────────┤
│ Тип 11 │ 125 x 50 x 22,23 │ 6150 │ 28 │
│ ├────────────────────┼────────────────────┼─────────────────────┤
│ │ 150 x 50 x 22,23 │ 5400 │ 30 │
├─────────┼────────────────────┼────────────────────┼─────────────────────┤
│ Тип 1 │ 125 x 25 x 16 │ 6950 │ 46 │
│ ├────────────────────┼────────────────────┼─────────────────────┤
│ │ 155 x 25 x 16 │ 5800 │ 57 - 60 │
└─────────┴────────────────────┴────────────────────┴─────────────────────┘
20.101.3.
В шлифовальных машинах с боковыми рукоятками в середине каждой боковой рукоятки с обеих сторон машины закрепляют груз массой 0,5 кг, а в середине основной рукоятки, содержащей выключатель, закрепляют груз массой 1 кг (см. рисунок 107). Шлифовальную машину подвешивают на гибких плетеных капроновых шнурах, закрепленных в средней точке зоны захвата (рукой оператора) каждой боковой рукоятки и в середине основной рукоятки, имеющей выключатель.
Примечание 1. Для описанного выше испытания необходимо иметь вторую боковую рукоятку или переходник.
В шлифовальных машинах без боковых рукояток груз массой 1 кг закрепляют в средней части рукоятки, имеющей выключатель. Должен быть предусмотрен переходник со средствами для подвеса и крепления груза массой по 0,5 кг с каждой стороны. Переходник для имитации боковых рукояток должен иметь как можно меньшую массу и должен быть расположен посредине передней зоны захвата (рукой оператора) для прямых и торцевых шлифовальных машин (см. рисунок 109) и за шпинделем, на расстоянии, меньшем половины номинального диаметра, - для угловых шлифовальных машин. Точки подвеса и крепления груза должны быть расположены по обе стороны машины на расстоянии от центра шпинделя до каждой точки, равном номинальному диаметру, а прямая, проходящая через эти точки, должна быть перпендикулярна к продольной оси машины.
Три шнура подвески закрепляют в одной точке, затем машину помещают в испытательную камеру (см. рисунки 110a и 110b).
Испытательная камера предпочтительно шестигранной, восьмигранной или круглой формы с внутренним диаметром, приблизительно равным 1 м, и глубиной, приблизительно равной 1 м, имеет наружную стенку, способную удерживать сегменты разрушающегося круга, и внутренние слои: слой пластилина толщиной от 25 до 35 мм, нанесенный на слой из пробки толщиной от 25 до 35 мм (см. рисунки 110a и 110b). Назначение пластилина и пробки - поглощать удары и задерживать сегменты или сохранять отпечаток ударяющихся о них сегментов. Пластилин и пробку можно заменять другими материалами, выполняющими ту же функцию. Перед испытанием на находящемся на стенках пластилине не должно быть никаких отпечатков сегментов.
Угловую шлифовальную машину с установленным кожухом и надрезанным кругом, обращенным вниз и находящимся в горизонтальном положении, размещают так, чтобы круг был приблизительно в центре камеры и на расстоянии 300 мм от ее дна (см. рисунок 110a). Для выравнивания машины внутри камеры и во избежание ее закручивания во время разгона круга обе боковые рукоятки прикрепляют к камере с силой менее 5 Н.
Для прямых и торцевых шлифовальных машин испытательную камеру устанавливают так, чтобы ось камеры была горизонтальной. Шлифовальную машину располагают таким образом, чтобы круг был приблизительно в центре камеры, при этом плоскость круга должна быть перпендикулярна к покрытым пластилином стенкам камеры (см. рисунок 110b). Во избежание чрезмерного перемещения во время разгона круга рукоятку с выключателем прикрепляют к камере с силой менее 5 Н. После прикрепления поперечное перемещение середины рукоятки с выключателем не должно превышать 30 мм.
Примечание 2. Одним из возможных способов получения необходимой силы является применение постоянных магнитов.
Альтернативным методом является применение камеры высокоскоростной съемки, позволяющей зафиксировать положение машины непосредственно перед разрывом круга.
20.101.4.
Контролируя частоту вращения круга тахометром, плавно повышают напряжение питания машины, пока не будет получена частота вращения, указанная в 20.101.2. Если круг не разрушится, следует остановить машину, увеличить длину прорезей и повторять испытание до разрушения круга.
Пыль, мелкие фрагменты и сегменты, остающиеся в кожухе, во внимание не принимаются. Большая часть четырех основных сегментов будет уловлена покрытой пластилином стенкой. Если какой-либо из основных сегментов отскочит от стенки, можно будет найти отпечаток этого сегмента на стенке. После испытаний сегменты круга удаляют из пластилина.
Примечание. Обычно разрыв круга происходит в течение 5 мин.
20.101.5.
Кожух и крепежные детали или средства крепления кожуха должны остаться на месте. Допускаются деформация, волосяные трещины и углубления в кожухе и средствах его крепления.
Кожух не должен повернуться в направлении вращения круга более чем на 90° в результате разрушения круга (см. рисунки 106a и 106b). Если кожух охватывает периферию круга на дуге 360°, ограничение поворота кожуха углом 90° не применяется.
Отпечаток от удара основных сегментов в покрытой пластилином стенке должен быть в пределах зоны фрагментов. Зона фрагментов ограничена прямой, проведенной через средние точки двух боковых рукояток к покрытой пластилином стенке, и расположена напротив незакрытого сектора защитного кожуха круга в том положении, которое занимала машина непосредственно перед разрывом круга (см. рисунок 110a).
По МЭК 60745-1 со следующим изменением:
21.18.1. Замена:
Выключатель угловых шлифовальных машин с номинальным диаметром более 100 мм и прямых шлифовальных машин с номинальным диаметром более 55 мм должен быть выполнен как выключатель с самовозвратом. Фиксатор допускается, если для фиксации выключателя во включенном положении необходимо выполнение двух разнородных действий. При этом для автоматического возврата выключателя в выключенное положение должно требоваться только одно быстровыполнимое действие.
Соответствие требованию проверяют осмотром и ручным опробованием.
21.18.2. Замена:
Выключатели шлифовальных машин и дисковых шлифовальных машин с номинальным диаметром более 55 мм должны быть расположены или сконструированы таким образом, чтобы было маловероятным непреднамеренное включение при подъеме и переносе.
Не должно быть возможности пуска машины при приложении к выключателю шара диаметром (100 +/- 1) мм перпендикулярно к поверхности машины в месте расположения выключателя, при этом:
- длина поверхности захвата (рукой) непосредственно перед выключателем или за ним должна быть не менее 70 мм
- или выключатель должен требовать выполнения двух отдельных и разнородных действий, прежде чем будет включен электродвигатель (например, выключатель должен быть нажат, прежде чем его можно будет переместить в сторону для замыкания контактов с целью пуска электродвигателя).
Соответствие требованию проверяют осмотром и ручным опробованием.
21.32. Не применяется к полировальным машинам и дисковым шлифовальным машинам при условии, что эти ручные машины не предназначены для применения в качестве шлифовальной машины, как указано в инструкции в соответствии с
8.12.2.
По МЭК 60745-1.
23. Комплектующие изделия
По МЭК 60745-1.
24. Присоединение к источнику питания и внешние
гибкие шнуры
По МЭК 60745-1 со следующим изменением:
24.4. Замена первого абзаца:
Для угловых шлифовальных машин с номинальным диаметром более 155 мм и прямых шлифовальных машин с номинальным диаметром более 130 мм должен использоваться гибкий кабель (шнур) питания, предназначенный для тяжелых условий эксплуатации, - кабель в усиленной полихлоропреновой оболочке (кодовое обозначение 60245 IEC 66 по МЭК 60245-1) или быть аналогичным ему.
25. Зажимы для внешних проводов
По МЭК 60745-1.
По МЭК 60745-1.
По МЭК 60745-1.
воздушные зазоры и расстояния по изоляции
По МЭК 60745-1.
29. Теплостойкость, огнестойкость и стойкость
к образованию токоведущих мостиков
По МЭК 60745-1.
30. Коррозионная стойкость
По МЭК 60745-1.
31. Радиация, токсичность и подобные опасности
По МЭК 60745-1.
Тип A
Тип B
Рисунок 101. Типичные конструкции кожуха типов A и B
для кругов типов 1, 41 и 42
Рисунок 102. Типичные конструкции кожуха с выступом
на передней кромке для кругов типов 27 - 29
1 - кожух; 2 - боковой кожух; 3 - выступ (необязательный)
Рисунок 103. Регулируемый кожух для чашечного круга
типов 6 и 11
G и W - размеры кольцевой канавки;

- наружный диаметр
контактной поверхности фланца; C - поверхность перекрытия
опорного и зажимного фланцев
Рисунок 104. Основные размеры фланцев
A - нейтральное положение кожуха; B - исходное положение
кожуха (кожух повернут на 30° из нейтрального положения
против направления вращения круга); C - направление
вращения круга; D - максимально допустимое положение кожуха
после испытания (поворот на 90° относительно исходного
положения в направлении вращения круга)
Рисунок 106a. Испытание кожуха на прочность: положения
кожуха для круга типов 1, 27 - 29, 41 и 42
A - нейтральное положение кожуха; B - исходное положение
кожуха (кожух повернут на 30° из нейтрального положения
против направления вращения круга); C - направление
вращения круга; D - максимально допустимое положение кожуха
после испытания (поворот на 90° относительно исходного
положения в направлении вращения круга)
Рисунок 106b. Испытание кожуха на прочность: положения
кожуха для чашечного круга типов 6 и 11
Рисунок 106. Испытание кожуха на прочность:
варианты положения кожуха
A - средние точки зоны захвата; B - квадрант
шлифовального круга
Рисунок 107. Испытание кожуха на прочность:
подготовка шлифовальной машины
Рисунок 108. Испытание кожуха на прочность:
подготовка чашечного круга типов 6 и 11
Рисунок 109. Испытание кожуха на прочность: прямая
шлифовальная машина с дополнительными массами
A - наружная стенка; B - пробка; C - пластилин;
D - направление вращения круга; E - зона фрагментов,
образованная средними точками рукояток
Рисунок 110a. Испытание кожуха на прочность: испытательная
камера для угловых шлифовальных машин
Рисунок 110b. Испытание кожуха на прочность:
испытательная камера для прямых шлифовальных машин
Рисунок 110. Испытание кожуха на прочность:
испытательная камера
Приложения
По МЭК 60745-1 со следующими изменениями:
(обязательное)
АККУМУЛЯТОРНЫЕ МАШИНЫ И АККУМУЛЯТОРНЫЕ БАТАРЕИ
K.1.1. Дополнение:
Все пункты настоящего стандарта относятся к приложению, если нет других указаний.
K.8.12.1.101. Указания мер безопасности для всех видов работ
Замена:
j) При производстве работы, при которой абразивный инструмент может прикоснуться к скрытой проводке, удерживайте ручную машину только за изолированную поверхность захвата. При прикосновении к находящемуся под напряжением проводу открытые металлические части ручной машины могут попасть под напряжение и вызывать поражение оператора электрическим током.
Примечание. Приведенное выше предупреждение можно опустить, если рекомендуемыми видами работ являются только полирование или шлифование шкуркой.
k) Не применяется.
K.12.4. Не применяется.
K.24.4. Не применяется.
K.29.3. Не применяется.
(обязательное)
АККУМУЛЯТОРНЫЕ МАШИНЫ И АККУМУЛЯТОРНЫЕ БАТАРЕИ,
ПРЕДУСМАТРИВАЮЩИЕ СОЕДИНЕНИЕ С СЕТЬЮ ИЛИ НЕИЗОЛИРОВАННЫМИ
ИСТОЧНИКАМИ ПИТАНИЯ
L.1.1. Дополнение:
Все пункты настоящего стандарта относятся к Приложению, если нет других указаний.
(справочное)
МАТЕРИАЛ И ТОЛЩИНА КОЖУХА
Для руководства ниже приведена таблица с рекомендуемыми значениями толщины кожухов, если они изготовлены из стали с прочностью на растяжение (270 - 410) Н/мм2 с минимальным относительным удлинением 28% (длина концевой меры 50 мм) или из иного материала со сходными характеристиками.
┌─────────────────────────────────────────────────────────────┬───────────┐
│ Диаметр круга D │Минимальная│
│ │толщина, мм│
├─────────────────────────────────────────────────────────────┼───────────┤
│Для круга типов 1, 27 - 29, 41 и 42: │ │
│55 мм < D < 150 мм │ 1,5 │
│D > 150 мм │ 2,0 │
├─────────────────────────────────────────────────────────────┼───────────┤
│Для круга типов 6, 11: │ │
│55 мм < D < 150 мм │ 2,0 │
│D > 150 мм │ 2,5 │
└─────────────────────────────────────────────────────────────┴───────────┘
(справочное)
СВЕДЕНИЯ О СООТВЕТСТВИИ ССЫЛОЧНЫХ МЕЖДУНАРОДНЫХ СТАНДАРТОВ
ССЫЛОЧНЫМ НАЦИОНАЛЬНЫМ СТАНДАРТАМ РОССИЙСКОЙ ФЕДЕРАЦИИ
Таблица ДА.1
Обозначение ссылочного международного стандарта | Степень соответ- ствия | Обозначение и наименование соответствующего национального стандарта |
МЭК 60745-1:2006 | IDT | электрические. Безопасность и методы испытаний. Часть 1. Общие требования" |
МЭК 60245-1:2003 | IDT | изоляцией на номинальное напряжение до 450/750 В включительно. Общие требования" |
ИСО 603-12:1999 | MOD | шлифовальных машин. Технические условия" |
ИСО 603-14:1999 | MOD | шлифовальных машин. Технические условия" |
ИСО 603-16:1999 | MOD | условия" |
ANSI B7.1:2000 | - | <*> |
<*> Соответствующий национальный стандарт отсутствует. До его утверждения рекомендуется использовать перевод на русский язык данного международного стандарта. Перевод данного международного стандарта находится в Федеральном информационном фонде технических регламентов и стандартов. Примечание. В настоящей таблице использованы следующие условные обозначения степени соответствия стандартов: - IDT - идентичные стандарты; - MOD - модифицированные стандарты. |
По МЭК 60745-1.