Главная // Актуальные документы // ГОСТ Р (Государственный стандарт)СПРАВКА
Источник публикации
М.: Стандартинформ, 2012
Примечание к документу
Документ
введен в действие с 01.05.2012.
Название документа
"ГОСТ Р 54851-2011. Национальный стандарт Российской Федерации. Конструкции строительные ограждающие неоднородные. Расчет приведенного сопротивления теплопередаче"
(утв. и введен в действие Приказом Росстандарта от 15.12.2011 N 1556-ст)
"ГОСТ Р 54851-2011. Национальный стандарт Российской Федерации. Конструкции строительные ограждающие неоднородные. Расчет приведенного сопротивления теплопередаче"
(утв. и введен в действие Приказом Росстандарта от 15.12.2011 N 1556-ст)
Утвержден и введен в действие
агентства по техническому
регулированию и метрологии
от 15 декабря 2011 г. N 1556-ст
НАЦИОНАЛЬНЫЙ СТАНДАРТ РОССИЙСКОЙ ФЕДЕРАЦИИ
КОНСТРУКЦИИ СТРОИТЕЛЬНЫЕ ОГРАЖДАЮЩИЕ НЕОДНОРОДНЫЕ
РАСЧЕТ ПРИВЕДЕННОГО СОПРОТИВЛЕНИЯ ТЕПЛОПЕРЕДАЧЕ
Dissimilar building envelopes. Calculation of reduced
total thermal resistance
ISO 14683:2007
(NEQ)
ГОСТ Р 54851-2011
Дата введения
1 мая 2012 года
Цели и принципы стандартизации в Российской Федерации установлены Федеральным
законом от 27 декабря 2002 г. N 184-ФЗ "О техническом регулировании", а правила применения национальных стандартов Российской Федерации -
ГОСТ Р 1.0-2004 "Стандартизация в Российской Федерации. Основные положения".
1. Разработан Учреждением "Научно-исследовательский институт строительной физики Российской академии архитектуры и строительных наук".
2. Внесен Техническим комитетом по стандартизации ТК 465 "Строительство".
3. Утвержден и введен в действие
Приказом Федерального агентства по техническому регулированию и метрологии от 15 декабря 2011 г. N 1556-ст.
4. Настоящий стандарт разработан с учетом основных нормативных положений международного стандарта ИСО 14683:2007 "Тепловые мостики при строительстве зданий - Линейная теплопередача - Упрощенные методы и стандартные значения" (ISO 14683:2007 "Thermal bridges in building construction - Linear thermal transmittance - Simplified methods and default values, NEQ".
5. Введен впервые.
Информация об изменениях к настоящему стандарту публикуется в ежегодно издаваемом информационном указателе "Национальные стандарты", а текст изменений и поправок - в ежемесячно издаваемых информационных указателях "Национальные стандарты". В случае пересмотра (замены) или отмены настоящего стандарта соответствующее уведомление будет опубликовано в ежемесячно издаваемом информационном указателе "Национальные стандарты". Соответствующая информация, уведомление и тексты размещаются также в информационной системе общего пользования - на официальном сайте Федерального агентства по техническому регулированию и метрологии в сети Интернет.
Настоящий стандарт устанавливает методы определения теплозащитных характеристик ограждающих конструкций зданий и сооружений в соответствии с требованиями Федерального
закона N 384-ФЗ от 30 декабря 2009 г. "Технический регламент о безопасности зданий и сооружений", согласно которому здания и сооружения, с одной стороны, должны исключать в процессе эксплуатации нерациональный расход энергетических ресурсов, а с другой - не создавать условия для недопустимого ухудшения параметров среды обитания людей и условий осуществления различных технологических процессов.
Настоящий стандарт разработан с целью подтверждения соответствия теплотехнических характеристик наружных ограждений зданий и сооружений нормативным значениям и требованиям контроля этих показателей согласно
[1] с учетом требований
ГОСТ Р 51380 и
ГОСТ Р 51387. Настоящий стандарт позволяет оценить уровень теплозащиты ограждающих конструкций при приемке зданий и последующей эксплуатации, наметить мероприятия по повышению уровня теплозащиты зданий в случае отклонения энергопотребления от действующих нормативных требований.
В рамках реализации Федерального
закона N 261-ФЗ от 23 ноября 2009 г. "Об энергосбережении и повышении энергетической эффективности" настоящий стандарт является одним из базовых стандартов, обеспечивающих теплотехническими параметрами энергетический паспорт и энергоаудит эксплуатируемых зданий.
Настоящий стандарт устанавливает методы расчета приведенного сопротивления теплопередаче неоднородных ограждающих конструкций помещений жилых, общественных, административных, бытовых, сельскохозяйственных, производственных зданий и сооружений, а также совокупности ограждающих конструкций, отделяющих внутренний объем здания от наружной среды.
В зависимости от типа ограждающей конструкции и теплотехнических неоднородностей, входящих в структуру ограждения, настоящий стандарт предлагает методы теплотехнического расчета обобщенной теплозащитной характеристики теплотехнически неоднородного ограждения, разделяющего пространства с различными температурно-влажностными средами (в пределах одного помещения, группы соседних помещений, этажа, всего фасада здания, ограждений, контактирующих снаружи с грунтом, и т.д.). Настоящий стандарт также учитывает в теплотехнических расчетах наружных ограждений такие виды теплотехнических неоднородностей, как примыкания элементов ограждения здания (наружные и внутренние углы, примыкания стен к покрытиям и перекрытиям первого этажа над холодным подвалом или уложенным по грунту, примыкание наружных ограждений к внутренним), и отдельных элементов наружных ограждений (стыки между соседними панелями, откосы проемов, связи между облицовочными слоями ограждений).
В настоящем стандарте использованы ссылки на следующие стандарты:
ГОСТ Р 51380-99. Энергосбережение. Методы подтверждения соответствия показателей энергетической эффективности энергопотребляющей продукции их нормативным значениям
ГОСТ Р 51387-99. Энергосбережение. Нормативно-методическое обеспечение. Основные положения
ГОСТ 11024-84. Панели стеновые наружные бетонные и железобетонные для жилых и общественных зданий. Общие технические условия
ГОСТ 11118-2009. Панели из автоклавных ячеистых бетонов для наружных стен зданий. Технические условия
ГОСТ 13578-68. Панели из легких бетонов на пористых заполнителях для наружных стен производственных зданий. Технические требования
ГОСТ 19010-82. Блоки стеновые бетонные и железобетонные для зданий. Общие технические условия
ГОСТ 21562-76. Панели металлические с утеплителем из пенопласта. Общие технические условия
ГОСТ 23486-79. Панели металлические трехслойные стеновые с утеплителем из пенополиуретана. Технические условия
ГОСТ 24594-81. Панели и блоки стеновые из кирпича и керамических камней. Общие технические условия
ГОСТ 26254-84. Здания и сооружения. Методы определения сопротивления теплопередаче ограждающих конструкций
ГОСТ 26602.1-99. Блоки оконные и дверные. Методы определения сопротивления теплопередаче
ГОСТ 30494-96. Здания жилые и общественные. Параметры микроклимата в помещениях
ГОСТ 31310-2005. Панели стеновые трехслойные железобетонные с эффективным утеплителем. Общие технические условия
ГОСТ 31359-2007. Бетоны ячеистые автоклавного твердения. Технические условия
ГОСТ 31360-2007. Изделия стеновые неармированные из ячеистого бетона автоклавного твердения. Технические условия.
Примечание. При пользовании настоящим стандартом целесообразно проверить действие ссылочных стандартов в информационной системе общего пользования - на официальном сайте Федерального агентства по техническому регулированию и метрологии в сети Интернет или по ежегодно издаваемому информационному указателю "Национальные стандарты", который опубликован по состоянию на 1 января текущего года, и по соответствующим ежемесячно издаваемым информационным указателям, опубликованным в текущем году. Если ссылочный стандарт заменен (изменен), то при пользовании настоящим стандартом следует руководствоваться заменяющим (измененным) стандартом. Если ссылочный стандарт отменен без замены, то положение, в котором дана ссылка на него, применяется в части, не затрагивающей эту ссылку.
В настоящем стандарте применяют следующие термины с соответствующими определениями:
3.1. Теплопередача: перенос теплоты от одной окружающей среды через ограждающую конструкцию к другой окружающей среде.
3.2. Наружная ограждающая конструкция здания: конструктивный элемент здания, защищающий внутреннее пространство, в котором поддерживаются требуемые параметры микроклимата, от воздействий наружной среды.
3.3. Линейная теплотехническая неоднородность: линейная зона примыкания двух ограждающих конструкций, влияющего на изменение теплового потока, проходящего через наружное ограждение (стык между соседними панелями, угол, образованный из двух наружных ограждений или наружного ограждения с внутренним, откос проема, соединительное ребро внутри ограждения и др.).
3.4. Точечная теплотехническая неоднородность: локальный соединительный элемент многослойного наружного ограждения, обеспечивающий его конструктивную целостность и повышающий теплопотери в зоне его прохождения (гибкие связи, дюбели, шпонки и другие точечные соединения, проходящие через теплоизоляционные слои ограждения).
3.5. Условное сопротивление теплопередаче ограждающей конструкции

, м2 x °C/Вт: величина, характеризующая уровень сопротивления прохождению теплоты через однородную часть наружного ограждения при разности температур воздушных сред, расположенных по обе его стороны.
3.6. Приведенное сопротивление теплопередаче ограждения

, м2 x °C/Вт: средневзвешенное по площади сопротивление теплопередаче совокупности видов ограждающих фрагментов и их элементов, образующих теплотехнически неоднородную конструкцию (панель, окно, витраж, светпропускающий фонарь, наружную дверь, ворота), часть здания (стену, фасад, покрытие, перекрытие над холодным подвалом или подпольем, ограждение, контактирующее с грунтом, ограждение, разделяющее помещения с различными температурами внутреннего воздуха) или наружное ограждение здания в целом.
3.7. Коэффициент теплотехнической однородности r: безразмерный показатель, оценивающий снижение уровня теплозащиты ограждения вследствие наличия в нем различного вида теплотехнических неоднородностей (соединительных элементов облицовок ограждения, пронзающих теплоизоляционные слои, стыков между элементами ограждающих конструкций с примыканием к ним внутренних ограждений, откосов, угловых соединений, в том числе примыканий стен к покрытиям, перекрытиям над холодными пространствами, мест закрепления в стенах балконных плит и т.п.) и численно выражаемый отношением приведенного сопротивления теплопередаче ограждения к сопротивлению теплопередаче его зоны, удаленной от теплопроводных включений.
4. Методы расчета приведенного сопротивления теплопередаче
наружных ограждающих конструкций
4.1. Общие положения
4.1.1. Приведенное сопротивление теплопередаче наружной неоднородной ограждающей конструкции здания

, м2 x °C/Вт, представляет собой основную теплозащитную характеристику наружного ограждения, в основу расчета которого положена усредненная по площади плотность теплового потока q, Вт/м2, проходящего через ограждение в расчетных условиях эксплуатации

. (4.1а)
Численные значения теплового потока, проходящего через неоднородное ограждение, определяют на основе расчета одно-, двух- и трехмерных температурных полей. Участки многослойного ограждения, имеющие однородные теплоизоляционные, конструкционные и прочие слои, расположенные перпендикулярно к направлению теплового потока, возникающего при эксплуатации здания, и удаленные от всякого рода теплотехнических неоднородностей и теплопроводных включений, обеспечивают равномерную по площади теплопередачу и характеризуются условным (по глади) сопротивлением теплопередаче.
При проектировании наружных ограждающих конструкций здания в силу конструктивных особенностей оболочки здания и видов наружных ограждений возникают различного рода теплотехнические неоднородности: они в силу конструктивных особенностей примыкания наружных и внутренних ограждений имеют преимущественно линейный характер (наружные и внутренние углы наружных стен, примыкания наружных стен к внутренним стенам и перекрытиям, примыкания наружных стен к покрытиям и перекрытиям первого этажа над холодным подвалом или уложенным по грунту, стыки между соседними панелями, откосы проемов). Теплопотери через эти виды теплотехнических неоднородностей определяют расчетом на ЭВМ двухмерных стационарных температурных полей фрагментов наружных ограждений при расчетных значениях температур разделяемых воздушных сред и условиях теплообмена на поверхностях расчетного фрагмента.
В многослойных ограждающих конструкциях для обеспечения конструктивной целостности и устойчивости в эксплуатационных условиях вводят различные типы связей между облицовочными слоями (соединительные ребра, в т.ч. перфорированные, гибкие стержневые связи, шпонки). К этой категории неоднородностей относятся угловые примыкания откосов проемов, примыкания угла наружных стен к покрытию или перекрытию первого этажа. Теплопотери через эти виды теплопроводных включений или примыканий определяют расчетом на ЭВМ двухмерных (в цилиндрических координатах) или трехмерных стационарных температурных полей фрагментов при расчетных значениях температур и условиях теплообмена.
4.1.2. Таким образом, теплотехнический расчет неоднородных наружных ограждающих конструкций, содержащих углы, проемы с заполнениями (оконными и дверными блоками, воротами), соединительные элементы между наружными облицовочными слоями (ребра, шпонки, стержневые связи), сквозные и несквозные теплопроводные включения, выполняют на основе расчета температурных полей. Приведенное сопротивление теплопередаче

, м2 x °C/Вт, неоднородной ограждающей конструкции или ее участка (фрагмента) вычисляют по формуле

, (4.1б)
где A - площадь неоднородной ограждающей конструкции (стены, окна, двери, ворота) или ее фрагмента, м2, по размерам с внутренней стороны, включая откосы оконных и дверных проемов (для стен);
Q - суммарный тепловой поток через конструкцию или ее фрагмент площадью A, Вт, определяемый на основе расчета температурного поля на ЭВМ либо экспериментально по
ГОСТ 26254 или
ГОСТ 26602.1 с внутренней стороны;
n - коэффициент, принимаемый в зависимости от положения наружной поверхности ограждающих конструкций по отношению к наружному воздуху, принимаемый в соответствии с
таблицей 6 [1] с учетом
примечания к этой таблице;

- расчетная температура внутреннего воздуха, °C, принимаемая по
ГОСТ 30494;

- расчетная температура наружного воздуха, °C, принимаемая по средней температуре наиболее холодной пятидневки с обеспеченностью 0,92, см.
[1].
4.1.3. На основе расчета на ЭВМ температурных полей ограждающей конструкции определяют также температуры на их поверхностях

. По полученным значениям

устанавливают соответствие требуемым температурным характеристикам наружных ограждений:
- расчетному перепаду температур

между температурой внутреннего воздуха и температурой внутренней поверхности ограждающей конструкции, определяемому по
формуле (4) [1]; при этом расчетный перепад температур не должен превышать нормируемых значений

, установленных в
таблице 5 [1];
- минимальной температуре, равной температуре точки росы

при расчетных условиях внутри помещения на всех участках внутренней поверхности наружных ограждений с температурами

, при этом должно соблюдаться условие

; для вертикального остекления

.
4.2. Конструктивные особенности теплозащиты наружных стен
4.2.1. С теплотехнической точки зрения различают три вида наружных стен по числу основных слоев: однослойные, двухслойные и трехслойные.
В трехслойных ограждениях с защитными слоями на точечных (гибких, шпоночных) связях (см.
ГОСТ 31310) рекомендуется применять утеплитель из минеральной ваты, стекловаты или пенопластов, а также из ячеистых бетонов по
ГОСТ 25485 с толщиной, устанавливаемой по расчету с учетом теплопроводных включений от связей. В этих ограждениях соотношение толщин наружных и внутренних слоев должно быть не менее 1:1,25 при минимальной толщине наружного слоя 50 мм.
Для общественных и промышленных зданий в стенах могут применяться трехслойные металлические панели с утеплителем из пенопласта по
ГОСТ 21562,
ГОСТ 23486, панели из легких бетонов по
ГОСТ 13578.
В двухслойных стенах предпочтительно расположение утеплителя снаружи. Используют два варианта наружного утеплителя: системы с наружным покровным слоем без зазора и системы с воздушным зазором между наружным облицовочным слоем и утеплителем. Не рекомендуется применять теплоизоляцию с внутренней стороны из-за возможного накопления влаги в теплоизоляционном слое, однако в случае необходимости такого применения поверхность со стороны помещения должна иметь сплошной и долговечный пароизоляционный слой.
4.2.2. При проектировании стен с невентилируемыми воздушными прослойками следует руководствоваться следующими рекомендациями:
- размер высоты прослойки должен быть не более высоты этажа и не более 6 м, толщина - не менее 40 мм (10 мм при устройстве отражательной теплоизоляции);
- воздушные прослойки следует разделять глухими диафрагмами из негорючих материалов на участки размером не более 3 м;
- воздушные прослойки рекомендуется располагать ближе к холодной стороне ограждения.
4.2.3. При проектировании стен с вентилируемой воздушной прослойкой (стены с вентилируемым фасадом) следует руководствоваться следующими рекомендациями:
- воздушная прослойка должна быть толщиной не менее 60 и не более 150 мм, и ее следует размещать между наружным слоем и теплоизоляцией; следует предусматривать рассечки воздушного потока по высоте каждые три этажа из перфорированных перегородок;
- при расчете приведенного сопротивления теплопередаче по
4.3,
4.4 следует учитывать все теплопроводные включения, в том числе крепежные элементы облицовки и теплоизоляции;
- наружный слой стены должен иметь вентиляционные отверстия, суммарная площадь которых определяется из расчета 75 см2 на 20 м2 площади стен, включая площадь окон;
- нижние (верхние) вентиляционные отверстия, как правило, следует совмещать с цоколями (карнизами), причем для нижних отверстий предпочтительно совмещение функций вентиляции и отвода влаги;
- применять жесткие теплоизоляционные материалы плотностью не менее 80 - 90 кг/м3, имеющие на стороне, обращенной к прослойке, более плотные поверхностные слои утеплителя или покрытия из стеклосетки с ячейками размерами не более 4 x 4 мм или стеклоткани; не следует применять горючие утеплители; применение мягких теплоизоляционных материалов не рекомендуется;
- при использовании в качестве наружного слоя облицовки из плит искусственных или натуральных камней горизонтальные швы должны быть раскрыты (не должны заполняться уплотняющим материалом).
4.2.4. При наличии в конструкции теплозащиты теплопроводных включений необходимо учитывать, что:
- несквозные включения целесообразно располагать ближе к теплой стороне ограждения;
- в сквозных, главным образом, металлических включениях (профилях, стержнях, болтах, оконных рамах) целесообразно предусматривать вставки (разрывы мостиков холода) из материалов с коэффициентом теплопроводности не выше 0,35 Вт/(м x °C).
4.3. Расчет приведенного сопротивления теплопередаче неоднородных ограждающих конструкций с учетом линейных и точечных теплотехнических однородностей
4.3.1. Расчет приведенного сопротивления теплопередаче с учетом линейных и точечных теплотехнических неоднородностей может быть использован для инженерных расчетов и оценки приведенного сопротивления теплопередаче конструкции при составлении энергетического паспорта.
Результаты расчета по данному методу не могут быть использованы для сертификации строительных конструкций и при экспериментальных исследованиях.
4.3.2. При наличии в конструкции теплотехнических неоднородностей линейного (стыки, углы, примыкания внутренних ограждений, откосы и др.) и точечного типа (гибкие стержневые связи, шпонки и др.) приведенное сопротивление теплопередаче конструкции рассчитываемого фрагмента

, м2 x °C/Вт, определяется по формуле

, (4.2)
где

- площадь конструкции i-го вида в рассматриваемом фрагменте, м2;

- протяженность всех стыков j-го вида в рассматриваемом фрагменте, м;

- число точечных теплотехнических неоднородностей k-го вида в рассматриваемом фрагменте, шт.;

- сопротивление теплопередаче однородной части конструкции i-го вида, м2 x °C/Вт;

- дополнительные удельные линейные потери теплоты через стык j-го вида, Вт/(м x °C);

- дополнительные удельные потери теплоты через точечную теплотехническую неоднородность k-го вида, Вт/°C.
Сопротивление теплопередаче однородной части конструкции (заполнения) i-го вида определяется экспериментально либо расчетом по
формуле (4.13).
4.3.3. Дополнительные удельные линейные теплопотери через стык между конструкциями

, Вт/(м x °C), определяются на основе расчета двухмерного температурного поля стыка конструкций по формуле

, (4.3)
где

- расчетная температура воздуха со стороны внутренней поверхности конструкции, °C;

- расчетная температура воздуха со стороны наружной поверхности конструкции, °C;

- дополнительные потери теплоты через стык j-го вида, приходящиеся на один погонный метр стыка, Вт/м, определяемые по формуле

, (4.4)
где

- потери теплоты через стыку j-го вида, приходящиеся на один погонный метр стыка, являющиеся результатом расчета температурного поля, Вт/м;

,

- потери теплоты через участок однородного заполнения, вошедший в расчетную область при расчете температурного поля стыка j-го вида, Вт/м, определяемые по формулам:

; (4.5)

, (4.6)
где l - протяженность расчетной области при расчете двухмерного температурного поля в направлении, перпендикулярном к сечению, равная 1 м;

,

- площадь однородных заполнений, вошедших в расчетную область при расчете температурного поля, м2. При этом сумма величин

равна площади расчетной области при расчете температурного поля;

,

- сопротивления теплопередаче 1-го и 2-го участков, образующих стык фрагмента, м2 x °C/Вт.
4.3.4. Дополнительные потери теплоты через точечную теплотехническую неоднородность k-го вида

, Вт/°C, определяют по результатам расчета трехмерного температурного поля участка конструкции, содержащего точечную теплотехническую неоднородность по формуле

, (4.7)
где

- дополнительные теплопотери теплоты через точечную теплотехническую неоднородность k-го вида, Вт, определяемые по формуле

, (4.8)
где

- потери теплоты через узел, содержащий точечную теплотехническую неоднородность k-го вида, являющиеся результатом расчета температурного поля, Вт;

- потери теплоты через тот же узел, не содержащий точечную теплотехническую неоднородность k-го вида, являющиеся результатом расчета температурного поля, Вт.
4.3.5. Результатом расчета температурного поля узла конструкции является распределение температур в сечении узла, в том числе по внутренней и наружной поверхностям. Поток теплоты через внутреннюю поверхность узла

, Вт, определяют по формуле

. (4.9)
Поток теплоты через наружную поверхность узла

, Вт, определяют по формуле

, (4.10)
где

,

- расчетная температура воздуха у внутренней и наружной поверхностей узла ограждающей конструкции, °C;

,

- осредненная по площади температура внутренней и наружной поверхностей узла ограждающей конструкции соответственно, °C;

,

- коэффициент теплоотдачи внутренней и наружной поверхностей узла конструкции соответственно, Вт/м2 x °C;

,

- площади внутренней и наружной поверхностей узла ограждающей конструкции соответственно, м2.
4.4. Теплотехнические расчеты наружных стен с учетом коэффициента теплотехнической однородности
4.4.1. Приведенное сопротивление теплопередаче

совокупности наружных ограждений или всей ограждающей конструкции, рассчитываемой по ее фрагментам, следует определять по формуле

, (4.11)
где

,

- площади отдельного вида ограждающей конструкции фасада здания или i-го участка характерной части ограждающей конструкции, м2, и его приведенное сопротивление теплопередаче соответственно, м2 x °C/Вт;
A - общая площадь фасада или ограждающей конструкции, равная сумме площадей отдельных участков, м2;
m - число участков фасада или ограждающей конструкции с различным приведенным сопротивлением теплопередаче.
Приведенное сопротивление теплопередаче

для наружных стен следует рассчитывать для фасада здания либо для одного промежуточного этажа с учетом откосов проемов без учета их заполнений по
формуле (4.1) с проверкой условия на невыпадение конденсата на участках в зонах теплопроводных включений. Также следует рассчитывать глухие наружные двери.
4.4.2. Для теплотехнически неоднородных наружных ограждающих конструкций, содержащих углы, проемы, соединительные элементы между наружными облицовочными слоями (ребра, шпонки, стержневые связи), сквозные и несквозные теплопроводные включения, выполняют теплотехнический расчет выбранных конструктивных решений на основе расчета температурных полей, в результате чего определяют коэффициент теплотехнической однородности r ограждающей конструкции.
Приведенное сопротивление ограждающей конструкции

можно определять по формуле

, (4.12)
где

- условное сопротивление теплопередаче однородной ограждающей конструкции, определяемое по
формуле (4.13), м2 x °C/Вт;
r - коэффициент теплотехнической однородности ограждающей конструкции, учитывающий влияние стыков, откосов проемов, обрамляющих ребер, гибких связей и других теплопроводных включений (см. таблицу 1).
Таблица 1
Коэффициенты теплотехнической однородности ограждающей
конструкции r, учитывающие влияние стыков, обрамляющих
ребер и других теплопроводных включений, для основных
наиболее распространенных видов наружных стен
и используемых материалов
Вид стен и использованные материалы | Коэффициент |
Из однослойных легкобетонных панелей | 0,85 - 0,90 |
Из трехслойных железобетонных панелей с эффективным утеплителем и гибкими связями | 0,75 - 0,85 |
Из трехслойных железобетонных панелей с эффективным утеплителем и железобетонными шпонками или ребрами из керамзитобетона | 0,70 - 0,80 |
Из трехслойных железобетонных панелей с эффективным утеплителем и железобетонными ребрами | 0,50 - 0,65 |
Из трехслойных панелей на основе древесины, асбестоцемента и других листовых материалов с эффективным утеплителем при полистовой сборке при ширине панелей 6 и 12 м без каркаса | 0,90 - 0,95 |
Из трехслойных металлических панелей с утеплителем из пенопласта без обрамлений в зоне стыка | 0,85 - 0,95 |
Из трехслойных металлических панелей с утеплителем из пенопласта с обрамлением в зоне стыка | 0,65 - 0,80 |
Из трехслойных металлических панелей с утеплителем из минеральной ваты с различным каркасом | 0,55 - 0,85 |
Из трехслойных асбестоцементных панелей с минераловатным утеплителем с различным каркасом | 0,50 - 0,75 |
Фасадные системы с эффективным утеплителем и тонким наружным штукатурным слоем | 0,85 - 0,92 |
Навесные фасадные системы с эффективным утеплителем и облицовочным слоем на относе, образующим вентилируемую воздушную прослойку | 0,65 - 0,75 |
4.4.3. Условное сопротивление теплопередаче

, м2 x °C/Вт, однородной или многослойной ограждающей конструкции с однородными слоями или ограждающей конструкции в удалении от теплотехнических неоднородностей не менее чем на две толщины ограждающей конструкции следует определять по формуле

, (4.13)
где

;

- коэффициент теплообмена внутренней поверхности ограждающих конструкций, Вт/(м2 x °C), принимаемый для стен равным 8,7, для окон 8,0 Вт/(м2 x °C);

;

- коэффициент теплообмена наружной поверхности ограждающих конструкций для условий холодного периода, Вт/(м2 x °C), принимаемый для наружных стен равным 23, для стен, выходящих в более холодные помещения, - 6 Вт/(м2 x °C);

- термическое сопротивление одно- или многослойной ограждающей конструкции, (м2 x °C)/Вт.
4.4.4. При наличии в ограждающей конструкции прослойки, вентилируемой наружным воздухом:
а) слои конструкции, расположенные между воздушной прослойкой и наружной поверхностью, в теплотехническом расчете не учитывают;
б) на поверхности конструкции, обращенной в сторону вентилируемой наружным воздухом прослойки, коэффициент теплоотдачи

принимают равным 10,8 Вт/(м2 x °C).
4.4.5. Условное термическое сопротивление ограждающей конструкции

, м2 x °C/Вт, с последовательно расположенными однородными слоями следует определять как сумму термических сопротивлений отдельных слоев

, (4.14)
где

- термические сопротивления отдельных слоев ограждающей конструкции, м2 x °C/Вт, определяемые по
формуле (4.15);

- термическое сопротивление замкнутой воздушной прослойки, принимаемое по таблице 2.
Таблица 2
Термическое сопротивление замкнутых воздушных прослоек
Толщина воздушной прослойки, м | Термическое сопротивление замкнутой воздушной прослойки, Ra.l, м2·°C/Вт |
горизонтальной при потоке теплоты снизу вверх и вертикальной | горизонтальной при потоке теплоты сверху вниз |
при температуре воздуха в прослойке |
положительной | отрицательной | положительной | отрицательной |
0,01 | 0,13 | 0,15 | 0,14 | 0,15 |
0,02 | 0,14 | 0,15 | 0,15 | 0,19 |
0,03 | 0,14 | 0,16 | 0,16 | 0,21 |
0,05 | 0,14 | 0,17 | 0,17 | 0,22 |
0,1 | 0,15 | 0,18 | 0,18 | 0,23 |
0,15 | 0,15 | 0,18 | 0,19 | 0,24 |
0,2 - 0,3 | 0,15 | 0,19 | 0,19 | 0,24 |
Примечание - При наличии на одной или обеих поверхностях воздушной прослойки теплоотражающей алюминиевой фольги термическое сопротивление следует увеличивать в два раза. |
4.4.6. Термическое сопротивление R, м2 x °C/Вт, однородного слоя многослойной ограждающей конструкции, а также однослойной ограждающей конструкции следует определять по формуле

, (4.15)
где

- толщина слоя, м;

- расчетный коэффициент теплопроводности материала слоя, Вт/(м x °C), принимаемый согласно
приложению Д [2].
4.4.7. Коэффициенты теплотехнической однородности r зон наружных стен со сквозными и несквозными теплопроводными включениями (см.
рисунок Б.1 Приложения Б), полученные на основе компьютерного расчета двухмерных температурных полей, следует определять по формуле

, (4.16)
где A - по формуле (4.16);
m - число теплопроводных включений конструкции;

,

- ширина и длина i-го теплопроводного включения соответственно, м;

- коэффициент, зависящий от типа i-го теплопроводного включения, принимаемый для неметаллических теплопроводных включений по
таблице Б.1 Приложения Б.
Для металлических теплопроводных включений по формуле

, (4.17)
где

- коэффициент, зависящий от типа теплопроводного включения, принимаемый по
таблице Б.1 Приложения Б;

,

- толщина, м, и коэффициент теплопроводности, Вт/м x °C, утеплителя i-го участка ограждающей конструкции соответственно;

,

- сопротивление теплопередаче ограждающей конструкции, м2 x °C/Вт, в местах i-го теплопроводного включения и вне этого места соответственно, определяемое по
формуле (4.13).
4.4.8. Для трехслойных железобетонных ограждающих конструкций с эффективным утеплителем на гибких металлических связях, железобетонных шпонках, сквозных и перекрестных ребрах коэффициент теплотехнической однородности r следует определять по формуле

, (4.18)

,

- площадь зоны влияния, м2, и коэффициент влияния i-го теплопроводного включения, определяемый для отдельных элементов по
таблице В.2 Приложения В.
Площадь

зоны влияния i-го теплопроводного включения при толщине панели

определяется по формулам:
а) для стыков длиной l, м:

; (4.19)
б) для горизонтальных и вертикальных оконных откосов длиной соответственно

,

, м:

; (4.20)
в) для теплопроводных включений прямоугольного сечения шириной a и высотой b, м:

; (4.21)
г) для теплопроводных включений типа "гибких связей" (распорки-шпильки, распорки-стержни и пр.):

. (4.22)
Пример определения

трехслойной железобетонной панели на гибких связях приведен в
Приложении В.
(рекомендуемое)
РАСЧЕТ ПРИВЕДЕННОГО СОПРОТИВЛЕНИЯ ТЕПЛОПЕРЕДАЧЕ

НА ПРИМЕРЕ ФРАГМЕНТА НАВЕСНОЙ ФАСАДНОЙ СИСТЕМЫ (НФС)
А.1. НФС устанавливают на стены здания, выполненного по каркасной схеме. Стеновые проемы наружных стен заполняют кирпичной кладкой из полнотелого кирпича толщиной в один кирпич. Высота этажа (от пола до пола) 3300 мм. Толщина перекрытия 200 мм. Под перекрытием проходит железобетонная балка высотой 400 мм.
На несущие слои стены (кирпичная кладка, железобетон) крепят навесную фасадную систему, представляющую собой минераловатные плиты, фиксируемые на наружной поверхности несущей части стены тарельчатыми дюбелями. Защитным слоем утеплителя является тонкий штукатурный слой толщиной 6 мм (например, полимерцементная штукатурка, армированная стеклосеткой и имеющая в своем составе компоненты, обеспечивающие хорошую паропроницаемость защитного слоя).
Узел примыкания перекрытия к наружной стене приведен на рисунке А.1.
Рисунок А.1. Узел примыкания наружной стены
к междуэтажному перекрытию
Так как балка, совмещенная с торцом перекрытия, составляет существенную долю площади фасада, то эту часть фасада рассматривают как стену другого состава. Суммарная протяженность торцов перекрытий на фасаде равна 822 м. Таким образом, площадь стены с внутренним несущим слоем из монолитного железобетона

равна
Фасад содержит проемы размером: 2400 x 2000 мм - 80 шт., 1200 x 2000 мм - 80 шт., 1200 x 1200 мм - 24 шт. Суммарная площадь проемов 611 м2.
Вычитая из общей площади фасада (2740 м2) площадь стены с несущим слоем из железобетона и проемов, находим площадь стены

с внутренним слоем из кирпичной кладки:
Состав стены с внутренним слоем из железобетона (начиная от внутренней поверхности):
- внутренняя штукатурка толщиной

, коэффициент теплопроводности материала для расчетных условий Б:

;
- монолитный железобетон толщиной

, коэффициент теплопроводности материала для расчетных условий Б:

;
- минераловатные плиты толщиной

, коэффициент теплопроводности материала для расчетных условий Б:

;
- толщина наружной штукатурки 6 мм.
Сопротивление теплопередаче однородной части конструкции, определяемое по
формуле (4.13), должно быть равно:
Состав стены с самонесущим слоем в виде кирпичной кладки:
- внутренняя штукатурка толщиной

, коэффициент теплопроводности материала для расчетных условий Б:

;
- кладка из кирпича толщиной

, коэффициент теплопроводности материала для расчетных условий Б:

;
- минераловатные плиты толщиной

, коэффициент теплопроводности материала для расчетных условий Б:

;
- толщина наружной штукатурки 6 мм.
Сопротивление теплопередаче однородной части конструкции

, определяется по
формуле (4.13) и равно:
Данный фасад содержит следующие теплотехнические неоднородности:
- тарельчатые дюбели для крепления утеплителя, в среднем 8 шт./м2;
- оконные откосы.
Для каждого вида стены эти неоднородности рассчитывают отдельно.
Расчет температурных полей проводят для

= плюс 20 °C и

= минус 28 °C.
А.2. Тарельчатые дюбели
Расчет температурного поля выполняют в цилиндрических координатах.
Расчетный участок 1 представляет собой цилиндр диаметром 400 и толщиной 426 мм. Ось дюбеля совпадает с осью вращения цилиндра.
Площадь стены, вошедшая в расчетный участок,

.
Потери теплоты через расчетный участок с дюбелем

.
Потери теплоты через однородный участок стены, равный по площади расчетному участку,

равны:
Дополнительные потери теплоты через дюбель составляют:
Удельные потери теплоты через дюбель определяются по
формуле (4.7):
Расчетный участок 2 представляет собой цилиндр диаметром 400 и толщиной 426 мм. Ось дюбеля совпадает с осью вращения цилиндра. Площадь стены, вошедшая в расчетный участок:

.
Потери теплоты через расчетный участок стены с дюбелем

.
Потери теплоты через однородный участок стены, равный по площади расчетному участку,

равны:
Дополнительные потери теплоты через дюбель равны:
Удельные потери теплоты через дюбель определяют по
формуле (4.7):
А.3. Верхний оконный откос (основание - стены из железобетона)
Расчетный участок размером 426 x 800 мм. Площадь стены с основанием из железобетона, вошедшая в расчетный участок,

.
Потери теплоты через стеновую конструкцию, вошедшую в узел

.
Потери теплоты через участок однородной стены

определяются по
формуле (4.5) и равны:
Дополнительные потери теплоты через верхний откос

определяются по
формуле (4.4) и равны:
Удельные линейные потери теплоты через верхний откос

определяют по
формуле (4.3):
Суммарную протяженность всех верхних откосов

определяют по экспликации оконных проемов:
А.4. Нижний и боковой оконные откосы (основание стены из кирпичной кладки)
Размеры расчетного участка 426 x 800 мм.
Площадь стены с основанием из железобетона, вошедшая в расчетный участок,

.
Потери теплоты через стеновую конструкцию, вошедшую в узел,

.
Потери теплоты через участок однородной стены

определяют по
формуле (4.6):
Дополнительные потери теплоты через откос

определяют по
формуле (4.4):
Удельные линейные потери теплоты через откос

определяют по
формуле (4.3):
Суммарную протяженность всех нижних и боковых откосов

определяют по экспликации оконных проемов
Приведенное сопротивление теплопередаче стены

определяют по
формуле (4.2):
Доля всех теплопотерь через рассчитанное наружное ограждение, приходящаяся на участки стены по глади, линейные и точечные теплотехнические неоднородности, приведена в таблице А.1.
Таблица А.1
Распределение теплопотерь по видам многослойных стен
и теплотехнических неоднородностей
Элемент | Геометрическая характеристика | Теплотехническая характеристика | Вклад в тепловые потери |
Однородная стена с основанием из бетона | 493 м2 | | 17,4% |
Однородная стена с основанием из кирпича | 1636 м2 | | 55,3% |
Верхний откос | 317 м | | 4,3% |
Нижний и боковые откосы | 1014 м | | 12,3% |
Тарельчатый дюбель в бетонное основание | 3944 шт. | K = 0,0052 Вт/°C | 2,6% |
Тарельчатый дюбель в кирпичное основание | 13088 шт. | K = 0,0048 Вт/°C | 8,1% |
(рекомендуемое)
РАСЧЕТ КОЭФФИЦИЕНТОВ ТЕПЛОТЕХНИЧЕСКОЙ ОДНОРОДНОСТИ r
И ПРИВЕДЕННОГО СОПРОТИВЛЕНИЯ ТЕПЛОПЕРЕДАЧЕ

НА ПРИМЕРЕ
МЕТАЛЛИЧЕСКИХ СЭНДВИЧ-ПАНЕЛЕЙ С ЭФФЕКТИВНЫМ УТЕПЛИТЕЛЕМ
Определяют приведенное сопротивление теплопередаче панели с эффективным утеплителем (пенополистирол) и стальными обшивками промышленного здания.
Б.1. Исходные данные
Размер панели 6 x 2 м. Конструктивные и теплотехнические характеристики панели:
- толщина стальных обшивок 0,001 м, коэффициент теплопроводности

;
- толщина пенополистирольного утеплителя 0,2 м, коэффициент теплопроводности

.
Отбортовка листового материала вдоль протяженных сторон панели приводит к образованию теплопроводного включения типа IIб (см.
рисунок Б.1), шириной a = 0,002 м.
Рисунок Б.1. Схемы теплопроводных включений
в ограждающих конструкциях
Б.2. Порядок расчета
Сопротивления теплопередаче вдали от включения

и по теплопроводному включению

:

;
Значение безразмерного параметра теплопроводного включения определяют по
таблице Б.2:
Таблица Б.1
Определение коэффициента

| | |
0,1 | 0,2 | 0,4 | 0,6 | 0,8 | 1 | 1,5 | 2 |
I | 2 | 1,02 | 1,01 | 1,01 | 1,01 | 1 | 1 | 1 | 1 |
5 | 1,16 | 1,11 | 1,07 | 1,05 | 1,04 | 1,03 | 1,02 | 1,01 |
10 | 1,33 | 1,25 | 1,15 | 1,1 | 1,08 | 1,06 | 1,04 | 1,03 |
30 | 1,63 | 1,47 | 1,27 | 1,18 | 1,14 | 1,11 | 1,07 | 1,05 |
II | 10 - 40 | 2,65 | 2,2 | 1,77 | 1,6 | 1,55 | - | - | - |
III При  | 0,25 | 2 | 1,02 | 1,01 | 1,01 | 1,01 | 1,01 | 1,01 | 1,01 | 1 |
5 | 1,12 | 1,08 | 1,05 | 1,04 | 1,03 | 1,03 | 1,02 | 1,01 |
10 | 1,18 | 1,13 | 1,07 | 1,05 | 1,04 | 1,04 | 1,03 | 1,02 |
30 | 1,21 | 1,16 | 1,1 | 1,07 | 1,05 | 1,04 | 1,03 | 1,02 |
0,5 | 2 | 1,05 | 1,04 | 1,03 | 1,02 | 1,01 | 1,02 | 1,01 | 1,01 |
5 | 1,28 | 1,21 | 1,13 | 1,09 | 1,07 | 1,06 | 1,04 | 1,03 |
10 | 1,42 | 1,34 | 1,22 | 1,14 | 1,11 | 1,09 | 1,07 | 1,05 |
30 | 1,62 | 1,49 | 1,3 | 1,19 | 1,14 | 1,12 | 1,09 | 1,06 |
0,75 | 2 | 1,06 | 1,04 | 1,03 | 1,02 | 1,02 | 1,01 | 1,01 | 1,01 |
5 | 1,25 | 1,2 | 1,14 | 1,1 | 1,08 | 1,07 | 1,05 | 1,03 |
10 | 1,53 | 1,42 | 1,25 | 1,16 | 1,12 | 1,11 | 1,08 | 1,05 |
30 | 1,85 | 1,65 | 1,38 | 1,24 | 1,18 | 1,15 | 1,11 | 1,08 |
IV При  | 0,25 | 2 | 1,03 | 1,02 | 1,02 | 1,01 | 1,01 | 1,01 | 1 | 1 |
5 | 1,12 | 1,10 | 1,07 | 1,05 | 1,04 | 1,03 | 1,02 | 1,01 |
10 | 1,2 | 1,16 | 1,1 | 1,07 | 1,06 | 1,05 | 1,03 | 1,02 |
30 | 1,28 | 1,22 | 1,14 | 1,09 | 1,07 | 1,06 | 1,04 | 1,03 |
0,5 | 2 | 1,07 | 1,05 | 1,04 | 1,03 | 1,02 | 1,02 | 1,01 | 1,01 |
5 | 1,32 | 1,25 | 1,17 | 1,13 | 1,1 | 1,08 | 1,06 | 1,04 |
10 | 1,54 | 1,42 | 1,27 | 1,19 | 1,14 | 1,12 | 1,09 | 1,06 |
30 | 1,79 | 1,61 | 1,38 | 1,26 | 1,19 | 1,16 | 1,12 | 1,08 |
0,75 | 2 | 1,07 | 1,05 | 1,04 | 1,03 | 1,02 | 1,02 | 1,01 | 1,01 |
5 | 1,36 | 1,28 | 1,18 | 1,14 | 1,11 | 1,09 | 1,07 | 1,05 |
10 | 1,64 | 1,51 | 1,33 | 1,23 | 1,18 | 1,15 | 1,11 | 1,08 |
30 | 2,05 | 1,82 | 1,5 | 1,33 | 1,25 | 1,21 | 1,16 | 1,11 |
|
Таблица Б.2
Определение коэффициента

| |
0,25 | 0,5 | 1 | 2 | 5 | 10 | 20 | 50 | 150 |
I | 0,024 | 0,041 | 0,066 | 0,093 | 0,121 | 0,137 | 0,147 | 0,155 | 0,19 |
IIб | - | - | - | 0,09 | 0,231 | 0,43 | 0,665 | 1,254 | 2,491 |
III При  | 0,25 | 0,016 | 0,02 | 0,023 | 0,026 | 0,028 | 0,029 | 0,03 | 0,03 | 0,031 |
0,5 | 0,036 | 0,054 | 0,072 | 0,083 | 0,096 | 0,102 | 0,107 | 0,109 | 0,11 |
0,75 | 0,044 | 0,066 | 0,095 | 0,122 | 0,146 | 0,161 | 0,168 | 0,178 | 0,194 |
IV При  | 0,25 | 0,015 | 0,02 | 0,024 | 0,026 | 0,029 | 0,031 | 0,033 | 0,039 | 0,048 |
0,5 | 0,037 | 0,056 | 0,076 | 0,09 | 0,103 | 0,12 | 0,128 | 0,136 | 0,15 |
0,75 | 0,041 | 0,067 | 0,01 | 0,13 | 0,16 | 0,176 | 0,188 | 0,205 | 0,22 |
Коэффициент теплотехнической однородности панели рассчитывают по
формуле (4.16):
r = 1/{1 + [5,16/(12 x 0,162)]0,002 x 6 x 52,94} = 0,372.
(рекомендуемое)
РАСЧЕТ КОЭФФИЦИЕНТОВ ТЕПЛОТЕХНИЧЕСКОЙ ОДНОРОДНОСТИ r
И ПРИВЕДЕННОГО СОПРОТИВЛЕНИЯ ТЕПЛОПЕРЕДАЧЕ

НА ПРИМЕРЕ
ТРЕХСЛОЙНЫХ ЖЕЛЕЗОБЕТОННЫХ ПАНЕЛЕЙ С ЭФФЕКТИВНЫМ
УТЕПЛИТЕЛЕМ НА ГИБКИХ СВЯЗЯХ С ИСПОЛЬЗОВАНИЕМ
Определяют приведенное сопротивление теплопередаче

одномодульной трехслойной железобетонной панели на гибких связях с оконным проемом крупнопанельного жилого дома серии III-133.
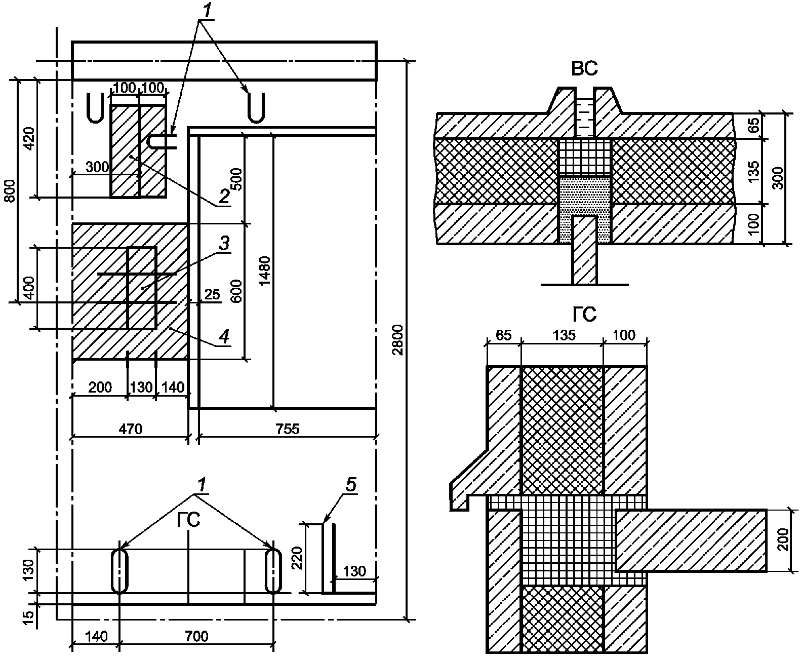
В.1. Исходные данные
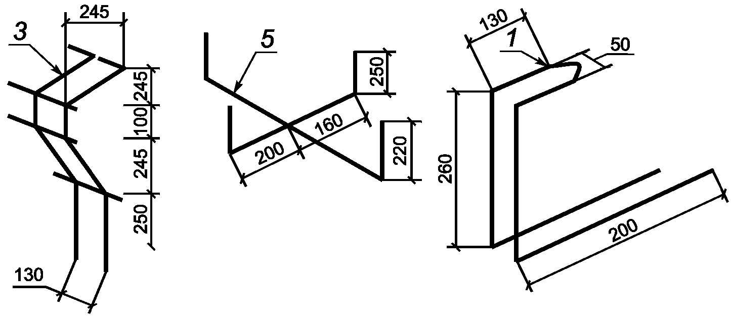
Панель толщиной 300 мм содержит наружный и внутренний железобетонные слои, которые соединены между собой двумя подвесками (в простенках), подкосом, расположенным в нижней зоне подоконного участка, и распорками: 10 - у горизонтальных стыков и 2 - в зоне оконного откоса (см.
рисунок В.1).
ВС - вертикальный стык; ГС - горизонтальный стык;
1 - распорки; 2 - петля; 3 - подвески; 4 - бетонные
утолщения (

внутреннего железобетонного слоя);
5 - подкос
Рисунок В.1. Схемы теплопроводных включений
в ограждающих конструкциях
Расчетные параметры панели приведены в таблице В.1.
Таблица В.1
Материал слоя |  , кг/м 3 |  , Вт/(м·°C) | Толщина слоя, мм |
Вдали от включений | В зоне подвески и петли | Горизонтальный стык | Вертикальный стык |
Наружный железобетонный слой | 2500 | 2,04 | 65 | 65 | 65 | 65 |
Теплоизоляционный слой - пенополистирол | 40 | 0,042 | 135 | 60 | - | - |
Минераловатные вкладыши | 150 | 0,047 | - | - | 135 | 60 |
Внутренний железобетонный слой | 2500 | 2,04 | 100 | 175 | 100 | 175 |
В зоне подвесок и петель внутренний бетонный слой имеет утолщения, заменяющие часть слоя утеплителя.
В.2. Порядок расчета
Конструкция ограждения содержит следующие теплопроводные включения: горизонтальные и вертикальные стыки, оконные откосы, утолщения внутреннего железобетонного слоя и гибкие связи (подвески, подкос, распорки).
Для определения коэффициента влияния отдельных теплопроводных включений предварительно рассчитывают по
формуле (4.14) термические сопротивления отдельных участков панели:
- в зоне утолщения внутреннего железобетонного слоя

;
- по горизонтальному стыку

;
- по вертикальному стыку

;
- термическое сопротивление панели вдали от теплопроводных включений

;
- условное сопротивление теплопередаче вдали от теплопроводных включений
Так как панель имеет вертикальную ось симметрии, то определение последующих величин проводят для половины панели.
Вычисляют площадь половины панели без учета проема окна:
Толщина панели

.
Вычисляют площадь зон влияния

и коэффициент

для каждого теплопроводного включения панели:
- для горизонтального стыка:

;
- для вертикального стыка:
Таблица В.2
Определение коэффициента влияния

стыков
и оконных откосов
Вид теплопроводного включения | Коэффициент влияния fi |
Стыки при  | Без примыкания внутренних ограждений | С примыканием внутренних ограждений |
без ребер | с ребрами толщиной, мм |
10 | 20 |
1 и более | 0 | 0,03 | 0,07 | 0,12 |
0,9 | 0,005 | 0,1 | 0,14 | 0,17 |
0,8 | 0,01 | 0,13 | 0,17 | 0,19 |
0,7 | 0,02 | 0,2 | 0,24 | 0,26 |
0,6 | 0,03 | 0,27 | 0,31 | 0,34 |
0,5 | 0,04 | 0,33 | 0,38 | 0,41 |
0,4 | 0,05 | 0,39 | 0,45 | 0,48 |
0,3 | 0,06 | 0,45 | 0,52 | 0,55 |
Оконные откосы При  | Без ребер | С ребрами толщиной, мм |
10 | 20 |
0,2 | 0,45 | 0,58 | 0,67 |
0,3 | 0,41 | 0,54 | 0,62 |
0,4 | 0,35 | 0,47 | 0,55 |
0,5 | 0,29 | 0,41 | 0,48 |
0,6 | 0,23 | 0,34 | 0,41 |
0,7 | 0,17 | 0,28 | 0,35 |
0,8 | 0,11 | 0,21 | 0,28 |
| | ИС МЕГАНОРМ: примечание. В официальном тексте документа, видимо, допущена опечатка: имеется в виду таблица В.2, а не таблица Б.2. | |

;
- для оконных откосов при

(половина толщины оконной коробки) = 0,065 м и

(расстояние от середины толщины оконной коробки до внутренней поверхности панели) = 0,18 м, по
таблице В.2 
. Площадь зоны влияния половины оконного проема с учетом угловых участков вычисляют по
формуле (4.20):

;
- для бетонных утолщений внутреннего железобетонного слоя в зоне подвески и петли при

по
таблице В.2 
. Суммарную площадь зоны влияния утолщений подвески и петли вычисляют по
формуле (4.21):

;

;

;
Таблица В.2.1
Определение коэффициента влияния

утолщений внутреннего железобетонного слоя и гибких связей
Вид теплопроводного включения | Коэффициент влияния fi |
Утолщение внутреннего железобетонного слоя при  | |
0,9 | 0,02 |
0,8 | 0,12 |
0,7 | 0,28 |
0,6 | 0,51 |
0,5 | 0,78 |
Гибкие связи диаметром, мм | |
4 | 0,05 |
6 | 0,1 |
8 | 0,16 |
10 | 0,21 |
12 | 0,25 |
14 | 0,33 |
16 | 0,43 |
18 | 0,54 |
20 | 0,67 |
Примечания. 1. В настоящих таблицах приведены значения

,

,

- термические сопротивления, м2 x °C/Вт, панели вне теплопроводного включения, горизонтального (вертикального) стыка, утолщения внутреннего железобетонного слоя соответственно, определяемые по
формуле (4.14);

и

- расстояния, м, от продольной оси (середины толщины) оконной коробки до ее края и внутренней поверхности панели.
2. Промежуточные значения следует определять интерполяцией.
При определении суммарной площади зоны влияния пяти распорок следует учитывать, что ширина зоны влияния со стороны стыка ограничена краем панели и равна 0,09 м. По
формуле (4.22) определяют значение

:

.
Приведенное сопротивление теплопередаче панели

вычисляют по
формуле (4.12):