Главная // Актуальные документы // ГОСТ (Государственный стандарт)СПРАВКА
Источник публикации
М.: Издательство стандартов, 1979
Примечание к документу
Документ утратил силу на территории Российской Федерации с 01.09.2022 в связи с изданием
Приказа Росстандарта от 10.12.2021 N 1766-ст. Взамен введен в действие
ГОСТ Р 59685-2021.
С 1 июля 2003 года до вступления в силу технических регламентов акты федеральных органов исполнительной власти в сфере технического регулирования носят рекомендательный характер и подлежат обязательному исполнению только в части, соответствующей целям, указанным в
пункте 1 статьи 46 Федерального закона от 27.12.2002 N 184-ФЗ.
Документ введен в действие с 01.01.1980 (
Постановление Госстроя СССР от 29.12.1978 N 260).
Название документа
"ГОСТ 23486-79. Панели металлические трехслойные стеновые с утеплителем из пенополиуретана. Технические условия"
(утв. Постановлением Госстроя СССР от 29.12.1978 N 260)
"ГОСТ 23486-79. Панели металлические трехслойные стеновые с утеплителем из пенополиуретана. Технические условия"
(утв. Постановлением Госстроя СССР от 29.12.1978 N 260)
Утвержден и введен в действие
от 29 декабря 1978 г. N 260
ГОСУДАРСТВЕННЫЙ СТАНДАРТ СОЮЗА ССР
ПАНЕЛИ МЕТАЛЛИЧЕСКИЕ ТРЕХСЛОЙНЫЕ СТЕНОВЫЕ
С УТЕПЛИТЕЛЕМ ИЗ ПЕНОПОЛИУРЕТАНА
ТЕХНИЧЕСКИЕ УСЛОВИЯ
Wall metal-faced sandwich panels with polyurethane
foam thermal insulation. Technical specifications
ГОСТ 23486-79
Постановлением Государственного комитета СССР по делам строительства от 29 декабря 1978 г. N 260 срок введения установлен с 01.01.1980.
Разработан Государственным комитетом СССР по делам строительства, Министерством монтажных и специальных строительных работ СССР.
Исполнители: В.Н. Насонов, д-р техн. наук; В.М. Бобряшов, канд. техн. наук; С.Б. Ермолов (руководители темы); О.Б. Тюзнева, канд. техн. наук; Л.М. Юрлова; А.Ю. Глазунов; А.П. Дранчук; Е.Е. Приходько; А.П. Кротов, канд. техн. наук; Ляндрес Н.М.
Внесен Государственным комитетом СССР по делам строительства.
Начальник отдела типового проектирования и организации проектно-изыскательских работ В.А. Алексеев.
Настоящий стандарт распространяется на металлические трехслойные панели с утеплителем из заливочного пенополиуретана, изготовляемые механизированными способами (непрерывным или стендовым) и предназначаемые для стен производственных зданий промышленных предприятий, эксплуатируемых в неагрессивных, слабоагрессивных, среднеагрессивных средах при температуре наружной поверхности панели от минус 65 до плюс 75 °С, температуре внутренней поверхности панели до плюс 30 °С, относительной влажности воздуха внутри помещений не более 60%.
При разработке проектов зданий со стенами из таких панелей следует выполнять требования Инструкции по проектированию зданий из легких металлических конструкций, утвержденной Госстроем СССР.
1.1. Панели по очертанию поперечного сечения продольных кромок подразделяют на типы:
1 - панели с разными продольными кромками - одна в виде паза, другая в виде гребня, симметричными по толщине панели, которые образуют стыки в шпунт;
2 - панели с одинаковыми кромками в виде выступов - "кулачков", стыки этих панелей перекрываются пружинными нащельниками-вкладышами;
3 - панели с разными продольными кромками - одна в виде паза, другая в виде гребня, несимметричными по толщине панели, которые образуют стыки в шпунт.
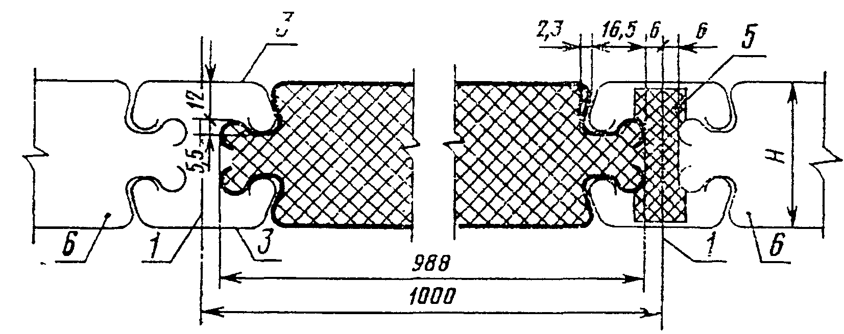
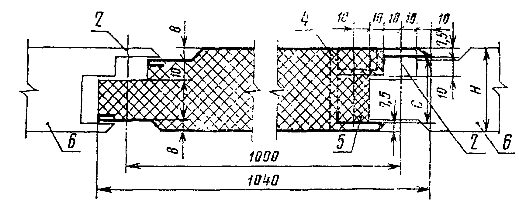
Очертания поперечных сечений панелей приведены на черт. 1.
Тип 1
Тип 2
Тип 3
1 - крепежный и стяжной болт; 2 - самонарезающий винт;
3 - пружинный нащельник-вкладыш; 4 - пластмассовая закладная
деталь; 5 - эластичная прокладка; 6 - примыкающая панель;
Н - толщина панели
1.2. Основные проектные размеры рядовых панелей должны соответствовать указанным в табл. 1.
мм
───────┬──────────────┬───────────────────┬────────┬──────────────
Тип │ Способ │ Длина L │Ширина B│ Толщина H
панелей│ изготовления │ │ │
───────┼──────────────┼───────────────────┼────────┼──────────────
1 │ Непрерывный │От 2380 до 11380 │ 1016 │ 61,6; 81,6
│ │включ. │ │
│ │Через 600 │ │
1 │ Стендовый │От 2380 до 7180 │ 1016 │ 46,6; 61,6
│ │включ. │ │
│ │Через 600 │ │ 91,6
2 │ Непрерывный │От 2380 до 11380 │ 988 │ 50,0; 80,0
│ │включ. │ │
│ │Через 600 │ │
3 │ Стендовый │От 2380 до 9580 │ 1040 │ 50,0; 80,0
│ │включ. │ │
│ │Через 600 │ │ 100,0
Примечания. 1. Размеры панелей приняты в соответствии с параметрами технологического оборудования действующих предприятий.
2. Панели стендового способа изготовления типа 1 длиной 5380, 5980 и 6580 мм и типа 3 длиной 7780, 8380 и 8980 мм могут поставляться только по согласованию с предприятием-изготовителем.
1.3. Панели обозначают марками в соответствии с нижеприведенной схемой.
Схема обозначения марок
X X X.X.X - X X - X
─ ─ ───── ─ ─ ─
│ │ │ │ │ │
└─┼────┼─────┼──┼───┼── Тип панели
│ │ │ │ │
└────┼─────┼──┼───┼── Обозначение вида конструкции (панель
│ │ │ │ трехслойная стеновая - ПТС)
│ │ │ │
└─────┼──┼───┼── Габаритные размеры (длина в
│ │ │ сантиметрах, ширина и толщина - в
│ │ │ миллиметрах)
└──┼───┼── Обозначение металла (сталь - С,
│ │ алюминий - А)
│ │
└───┼── Толщина металлического листа в
│ миллиметрах
│
└── Обозначение настоящего стандарта
Пример условного обозначения трехслойной стеновой панели типа 1, длиной 718 см, шириной 1016 мм, толщиной 91 мм, с листами из алюминиевого сплава толщиной 0,8 мм:
1ПТС 718.1016.91-А 0,8 - ГОСТ 23486-79
2. ТЕХНИЧЕСКИЕ ТРЕБОВАНИЯ
2.1. Панели должны изготовляться в соответствии с требованиями настоящего стандарта по чертежам, утвержденным Госстроем СССР, и технологическим регламентам, утвержденным в установленном порядке.
2.2. Требования к конструкции и прочности панелей при поперечном изгибе
2.2.1. Разрушающая нагрузка при поперечном изгибе панелей не должна быть менее величин, указанных в чертежах, утвержденных Госстроем СССР.
2.2.2. Разрушающая нагрузка при поперечном изгибе образцов, вырезанных из панелей, не должна быть менее величин, указанных в табл. 2.
Таблица 2
────────────────────────────────┬─────────────────────────────────
Толщина панели, мм │ Разрушающая нагрузка, кгс
────────────────────────────────┼─────────────────────────────────
46,6 │ 450
50,0 │ 500
61,6 │ 600
80,0 │ 800
91,6 │ 900
100,0 │ 1000
Примечание. Разрушающая нагрузка приведена для образцов длиной 1100 мм и шириной 250 мм.
2.3. Требования к геометрической точности
2.3.1. Отклонения размеров панелей от проектных не должны быть более величин, указанных в табл. 3.
Таблица 3
мм
─────────────────────────┬────────────┬─────────────┬─────────────
Длина панелей │ По длине │ По ширине │ По толщине
─────────────────────────┼────────────┼─────────────┼─────────────
От 2380 до 2980 включ.│ -3,0 │ +/- 1,5 │ +/- 1,0
Св. 2980 " 4780 " │ -4,0 │ +/- 1,5 │ +/- 1,0
" 4780 " 8980 " │ -5,0 │ +/- 1,5 │ +/- 1,0
" 8980 " 11380 " │ -6,0 │ +/- 1,5 │ +/- 1,0
Примечания. 1. Отклонение от проектной ширины паза панелей типов 1 и 3 (размер с на
черт. 1) не должно быть более +1,0 мм.
2. Отклонение от проектной длины панелей, изготовляемых стендовым способом, при длине их свыше 4780 мм не должно быть более -4,0 мм.
2.3.2. Непрямоугольность панелей не должна быть более 2 мм.
2.3.3. Непрямолинейность продольных кромок панелей должна находиться в пределах допуска на ширину панели.
2.3.4. Неплоскостность панелей не должна быть более: по полю - 2,5 мм; по стыковым кромкам панелей типов 1 и 3 - 1,0 мм.
2.3.5. Смещение кромок металлических листов относительно друг друга не должно быть более 1,5 мм.
2.4. Требования к составным частям и исходным материалам
2.4.1. В качестве листовых материалов следует применять:
| | ИС МЕГАНОРМ: примечание. Взамен ГОСТ 114918-69 Постановлением Госстандарта СССР от 31.05.1980 N 1465 с 1 июля 1981 введен в действие ГОСТ 14918-80. | |
рулонную оцинкованную сталь по ГОСТ 14918-69, группы Б, первого класса покрытия;
листы (ленты в рулонах) из алюминиевого сплава марки АМг2 1/4Н по ОСТ 1-92006-71.
2.4.2. Толщина оцинкованных стальных листов, листов из алюминиевых сплавов не должна быть менее 0,8 мм.
2.4.3. Физико-технические свойства и механические показатели пенополиуретана должны соответствовать указанным в табл. 4.
Таблица 4
─────────────────────────────────────────────────────────┬────────
Наименование показателей │ Норма
─────────────────────────────────────────────────────────┼────────
Объемная масса, кг/м3, не более │ 55
Коэффициент теплопроводности, ккал/м х ч х °С, не более│ 0,028
Влагопоглощение за 24 ч при относительной влажности │ 0,1
воздуха 96%, об. %, не более │
Водопоглощение за 24 ч при насыщении водой, об. %, не │ 2,0
более │
Прочность сцепления с металлическими листами, кгс/см2, │
не менее: │
при равномерном отрыве │ 3,0
при сдвиге │ 2,5
Прочность при растяжении, кгс/см2, не менее │ 3,0
Прочность при сдвиге, кгс/см2, не менее │ 2,5
Модуль упругости при растяжении, кгс/см2, не более │ 100
Модуль сдвига, кгс/см2, не более │ 45
Содержание пламегасящих добавок, вес. %, не менее │ 5
2.5. Требования к защитным покрытиям
2.5.1. Степень агрессивного воздействия сред на панели устанавливают в соответствии с главой
СНиП II-28-73.
2.5.2. Поверхности листов из оцинкованной стали и алюминиевых сплавов со стороны пенополиуретана от коррозии не защищают. Поверхности листов, подвергающиеся воздействию сред, следует защищать от коррозии в соответствии с табл. 5.
Таблица 5
────────────┬─────────────────────────────────────────────────────
Степень │ Защита от коррозии
агрессивного├────────────────────────────────┬────────────────────
воздействия │ Листы из оцинкованной стали │Листы из алюминиевых
среды на │ │ сплавов
панели │ │
────────────┼────────────────────────────────┼────────────────────
Неагрес- │ Без защиты │ Без защиты
сивная │ │
Слабоаг- │ Органозоль
<*>, │ Анодно-окисное
рессивная │ пластизоль, │покрытие (бесцветное
│ эмали: акриловые, акрилсилико-│или цветное) толщи-
│новые и полиэфирсиликоновые │ной 8 мкм
Среднеаг- │ а) Эмали АС-1171 или АС-5122 │ Анодно-окисное
рессивная │по грунтовке ЭП-0200 при толщине│покрытие (бесцветное
│слоя 25 мкм; │или цветное) толщи-
│ б) пластизоль ПЛ-ХВ-122 по │ной 15 - 20 мкм
│грунтовке АК-0138 при толщине │
│слоя 200 мкм; │
│ в) система версакор при толщи-│
│не слоя 500 мкм │
--------------------------------
<*> Допускается только для защиты поверхности внутри помещений.
2.5.3. Защитные покрытия металлических элементов креплений и заделки стыков должны соответствовать по коррозионной стойкости покрытиям металлических листов панелей и не должны вызывать контактной коррозии. Болты, гайки, шайбы и другие детали элементов креплений панелей должны быть оцинкованы или кадмированы. Толщина защитного металлического покрытия не должна быть менее 16 - 20 мкм.
2.6. Требования к внешнему виду
2.6.1. Внешний вид панелей и качество защитного покрытия металлических листов должны соответствовать эталонам, утвержденным в установленном порядке.
2.6.2. В панелях не допускаются:
смятия продольных кромок металлических листов;
отслоения или повреждения защитного покрытия металлических листов (кроме указанных в
п. 2.5.3);
загрязнения или пятна краски на поверхности листов;
повреждения (вмятины, вырывы) пенополиуретана по продольным и торцевым граням панели глубиной более 5 мм и площадью более 10 см2;
расслаивания пенополиуретана или отслоения его от металлических листов;
выступающие заусенцы на кромках металлических листов.
2.6.3. В панелях допускаются:
волнистость плоских участков профилированных листов высотой не более 1 мм на длине 1 м с шагом волны не менее 300 мм;
отдельные риски и потертости, отдельные царапины поверхности листов глубиной не более толщины защитного покрытия.
3.1. Панели должны поставляться потребителю комплектно.
Количество поставляемых комплектующих изделий должно соответствовать спецификации заказчика. Для глухих участков стены количество поставляемых комплектующих изделий на 100 пог. м панелей не должно быть менее величин, указанных в табл. 6.
Таблица 6
──────────────────────────────────────────┬───────────────────────
Наименование комплектующих изделий │ Типы панелей
├───────┬───────┬───────
│ 1 │ 2 │ 3
──────────────────────────────────────────┼───────┼───────┼───────
Болты крепежные (в комплекте), шт. │ 90 │ 90 │ 40
Болты стяжные (в комплекте), шт. │ - │ 120 │ -
Винты самонарезающие с шайбами, шт. │ 20 │ 20 │ 70
Нащельники-вкладыши пружинные для │ - │ 200 │ -
вертикальных стыков, пог. м │ │ │
Погонажные элементы (сливы) для │ 20 │ 20 │ 20
горизонтальных стыков, пог. м │ │ │
Прокладки эластичные, пог. м │ 120 │ 120 │ 120
3.2. Крепежные и стяжные болты, самонарезающие винты и другие метизы должны поставляться вместе с гайками, шайбами, скобами, пластинами, колпачками и другими деталями в соответствии с чертежами, утвержденными Госстроем СССР.
3.3. Количество принимаемых к заказу панелей одного типоразмера должно быть согласовано с предприятием-изготовителем.
4.1. Панели должны приниматься техническим контролем предприятия-изготовителя партиями. К партии относят панели одной марки (независимо от длины), изготовленные с пенополиуретаном одной марки и объемной массы, из компонентов одной партии, по одному и тому же технологическому регламенту.
Количество панелей в партии не должно быть более:
панелей, изготовляемых на технологических линиях непрерывного действия, 2000 шт. (приведенных к длине 6 м);
панелей, изготовляемых на стендовых установках 500 шт. (приведенных к длине 7,2 м).
4.2. При приемке следует проверять соответствие панелей требованиям настоящего стандарта по показателям, приведенным в табл. 7.
────────────────────────────────────┬──────────────┬──────────────
Наименование показателей │ Показатели, │ Показатели,
│контролируемые│контролируемые
│ при приемке │ периодически
│партии панелей│
────────────────────────────────────┼──────────────┼──────────────
Марка, толщина, вид покрытия │ + │ +
металлических листов │ │
Марка пенополиуретана │ + │ +
Количество пламегасящих добавок │ + │ +
Внешний вид │ + │ +
Комплектность, маркировка и │ + │ -
упаковка панелей │ │
Геометрические размеры панелей, │ + │ +
непрямоугольность, непрямолиней- │ │
ность, неплоскостность, смещение │ │
кромок листов │ │
Разрушающая нагрузка при попереч- │ │
ном изгибе: │ │
образцов панелей длиной 3000 мм │ - │ +
образцов длиной 1100 мм (устанав- │ + │ -
ливается по методике настоящего │ │
стандарта) │ │
Физико-технические свойства и │ │
механические показатели пенополиуре-│ │
тана: │ │
объемная масса │ + │ +
коэффициент теплопроводности │ - │ +
влагопоглощение │ - │ +
водопоглощение │ - │ +
прочность сцепления с металли- │ + │ +
ческими листами │ │
прочность при сдвиге │ + │ +
модуль упругости при растяжении │ - │ +
модуль сдвига │ + │ +
Примечание. Знак "+" означает, что испытания проводят, знак "-" - испытания не проводят.
4.3. При непрерывном способе производства внешний вид, геометрические размеры, непрямоугольность, непрямолинейность, неплоскостность, смещение кромок листов определяют для 1,5%, а при стендовом способе производства - для 3% панелей, входящих в состав партии, но в обоих случаях не менее чем для трех панелей. Выборку панелей осуществляют по
ГОСТ 18321-73.
4.4. Для определения разрушающей нагрузки на образцы, а также физико-технических свойств и механических показателей пенополиуретана из партии панелей отбирают по
ГОСТ 18321-73 не менее трех панелей. Из каждой панели вырезают в соответствии со схемой
черт. 7 по три образца для каждого вида испытаний.
4.5. Образцы вырезают не ранее чем через трое суток, а их испытание производят не ранее чем через восемь суток после изготовления панелей.
4.6. Не реже одного раза в год, а также при освоении производства панелей, при изменении их конструкции, марки и рецептуры пенополиуретана или технологического процесса изготовления панелей следует проверять соответствие панелей требованиям настоящего стандарта по показателям, приведенным в
табл. 7.
Проверка должна производиться органом технического контроля предприятия-изготовителя, при необходимости - с участием представителей организаций разработчика и основного потребителя. При этом разрушающую нагрузку при поперечном изгибе определяют на шести образцах панелей партии длиной до 3000 мм, а физико-технические свойства и механические показатели пенополиуретана - на шести образцах, вырезанных из шести панелей партии, для каждого вида испытаний. Панели должны отбираться из партии по
ГОСТ 18321-73.
4.7. Если проверяемые панели хотя бы по одному показателю не будут удовлетворять требованиям стандарта, следует проводить повторную проверку по этому показателю удвоенного количества панелей данной партии.
4.8. Если при повторной проверке хотя бы одна панель не будет удовлетворять требованиям стандарта, все панели должны приниматься органом технического контроля предприятия-изготовителя поштучно.
4.9. Результаты приемочного контроля каждой партии панелей должны быть записаны в журнале технического контроля предприятия-изготовителя.
4.10. Потребитель имеет право проводить контрольную выборочную проверку соответствия панелей требованиям настоящего стандарта, применяя при этом приведенные ниже методы контроля и испытаний.
5. МЕТОДЫ КОНТРОЛЯ И ИСПЫТАНИЙ
5.1. Марку, толщину и вид покрытия металлических листов, марку пенополиуретана, количество пламегасящих добавок проверяют по паспортам предприятий-поставщиков. В необходимых случаях проверка указанных выше показателей может проводиться путем отбора и испытания (измерения, анализа) образцов (проб) материалов.
5.2. Внешний вид панелей и защитного покрытия металлических листов проверяют путем осмотра и сравнения с утвержденным эталоном.
5.3. Комплектность панелей проверяют в соответствии со спецификацией заказчика. Маркировку и упаковку проверяют путем осмотра пакетов панелей.
5.4. Контроль геометрических размеров панелей
| | ИС МЕГАНОРМ: примечание. В официальном тексте документа, видимо, допущена опечатка: имеются в виду пункты 2.3.1 - 2.3.5, а не пункты 2.2.1 - 2.2.5. | |
5.4.1. Геометрические размеры панелей проверяют на соответствие их требованиям, приведенным в
пп. 2.2.1 -
2.2.5. Для проверки следует применять измерительный инструмент 1-го класса точности.
5.4.2. Длину и ширину панелей измеряют стальной рулеткой: длину - на расстоянии 50 мм от продольных кромок, ширину - на расстоянии 20 мм от торцевых кромок и посредине длины панели, в соответствии с черт. 2.
Расположение баз измерения длины и ширины панели
Черт. 2
5.4.3. Толщину панелей измеряют штангенциркулем в восьми точках на расстоянии 20 мм от продольных и торцевых кромок в соответствии с черт. 3.
Расположение точек измерения толщины панели
Черт. 3
5.4.4. Оценку точности размеров панелей по длине, ширине и толщине производят по наибольшему или наименьшему значениям измеренных размеров.
5.4.5. Непрямоугольность панелей проверяют с помощью угольника и щупов по двум противоположным углам панели.
5.4.6. Непрямолинейность кромок панелей проверяют с помощью поверочной линейки и щупов. При проверке измеряют максимальный зазор между продольной кромкой панели и прикладываемой к ней поверочной линейкой.
5.4.7. Неплоскостность панелей проверяют с двух сторон с помощью поверочной линейки и щупов на расстоянии 100 мм от продольных и торцевых кромок, а также по среднему сечению панели (черт. 4). При проверке измеряют максимальный зазор между выступающими гранями профиля металлического листа и укладываемой на них поверочной линейкой.
Расположение без проверки неплоскостности панели
Черт. 4
5.4.8. Смещение кромок металлических листов друг относительно друга проверяют с помощью угольника и щупов в трех точках по длине каждой из продольных и торцевых кромок панелей. При проверке измеряют зазор между ребром угольника, прикладываемого к кромке одного из металлических листов, и кромкой другого листа (черт. 5).
Схема измерения смещения кромок листов
1 - панель; 2 - угольник
Черт. 5
5.5. Контроль прочности образцов при поперечном изгибе
5.5.1. Метод отбора образцов
5.5.1.1. Ширина образца принимается из условия размещения на ней не менее одной выступающей плоской грани профиля наружного листа панели вместе с отгибами, но не менее 200 мм (черт. 6).
Длина образца принимается равной 1100 мм.
Сечение образца
1 - наружный лист;
2 - внутренний лист; 3 - утеплитель
Черт. 6
Примечание. Профили листов показаны условно.
5.5.1.2. Образцы для испытаний на поперечный изгиб, а также для определения физико-технических свойств и механических показателей пенополиуретана вырезают из панелей в местах, указанных на схемах, приведенных на черт. 7.
СХЕМЫ МЕСТ ВЫРЕЗКИ ОБРАЗЦОВ
а) для панелей, изготовляемых
на линиях непрерывного действия
б) для панелей, изготовляемых
на стендовых установках
Места вырезки образцов: 1 - для проверки прочности при
поперечном изгибе; 2 - для определения объемной массы,
прочности при сдвиге и растяжении, модуля упругости при
растяжении пенополиуретана и прочности его сцепления
с металлическими листами при растяжении и сдвиге;
3 - для определения влагопоглощения и водопоглощения
пенополиуретана; 4 - для определения коэффициента
теплопроводности пенополиуретана
5.5.1.3. Образцы вырезают из панелей фрезами, предварительно срезая продольные кромки панели шириной не менее 100 мм (пунктир на черт. 7).
5.5.2. Приборы и оборудование для испытаний
5.5.2.1. Для испытания образцов на поперечный изгиб применяют:
универсальную испытательную машину по ГОСТ 7855-74;
металлическую опору (траверсу) длиной, соответствующей длине образца;
металлическую нагружающую траверсу длиной, соответствующей длине образца;
металлические цилиндрические опоры диаметром 30 мм и длиной, соответствующей ширине образца;
металлические пластины сечением 60 х 5 мм и длиной, соответствующей ширине образца;
прокладки из пенопласта или древесины длиной, равной ширине образца, шириной 60 мм, толщиной не менее 15 мм (форма прокладок должна соответствовать профилю металлических листов - черт. 8).
1 - образец; 2 - база; 3 - траверса; 4 - стальные
цилиндрические опоры; 5 - стальные пластины; 6 - прокладки;
7 - прибор для измерения деформаций
Примечание. Сечение образца показано условно.
| | ИС МЕГАНОРМ: примечание. Нумерация пунктов дана в соответствии с официальным текстом документа. | |
5.2.2.2. Испытательная машина должна обеспечивать измерение нагрузки с точностью до 1%.
5.5.3. Подготовка и проведение испытаний
5.5.3.1. Перед началом испытания образцы выдерживают в течение 24 ч при температуре 18 +/- 2 °С и относительной влажности воздуха 50 - 60%, после чего измеряют размеры сечения образцов с точностью до 1 мм.
5.5.3.2. Испытания проводят в помещении при температуре внутреннего воздуха 18 +/- 2 °С и относительной влажности 50 - 60%.
5.5.3.3. Испытания проводят сосредоточенной нагрузкой по схеме
черт. 8.
5.5.3.4. Испытания образцов проводят в следующей последовательности:
устанавливают образец 1 перпендикулярно опорам базы 2;
устанавливают траверсу 3 перпендикулярно опорам 4;
устанавливают прокладки 6 и стальные пластины 5 между опорами базы и образцом, между опорами траверсы и образцом;
нагружают образец через траверсу возрастающей нагрузкой до его разрушения или до прекращения роста нагрузки по шкале силоизмерителя испытательной машины.
Нагрузку увеличивают ступенями величиной не более 0,2 от разрушающей.
5.5.3.5. Время испытания образца не должно быть более 10 мин.
5.5.3.6. В процессе нагружения определяют прогибы посредине пролета образца на каждой ступени нагружения и устанавливают разрушающую нагрузку.
5.5.3.7. При испытании выявляют признаки разрушения образца, которыми являются:
а) разрушение пенополиуретана или отслоение металлических листов от пенополиуретана;
б) местная потеря устойчивости наружного металлического листа.
5.5.3.8. Результаты испытаний и признаки разрушения образцов записывают в журнал по форме приложения к
ГОСТ 21562-76.
В журнале приводят эскизы поперечных сечений образцов и их размеры.
5.5.4. Разрушающая нагрузка для образца при поперечном изгибе не должна быть менее:

, (1)
где b - ширина образца в см;
H - толщина панели в см;

- нормируемая прочность пенополиуретана при сдвиге, принимаемая не менее 2 кгс/см2;

, (2)
5.6. Контроль прочности образцов панелей при поперечном изгибе
5.6.1. Разрушающую нагрузку при поперечном изгибе определяют на образцах длиной 3000 мм. Ширина и толщина образцов панелей должна соответствовать указанной в
табл. 1.
5.6.2. При испытаниях выявляют признаки разрушения образца панели, которыми являются:
а) разрушение пенополиуретана или отслоение металлических листов от пенополиуретана;
б) местная потеря устойчивости наружного (верхнего) металлического листа.
5.6.3. Приборы и оборудование, подготовку к испытаниям, проведение испытаний принимают по
ГОСТ 21562-76.
5.7. Контроль физико-технических свойств и механических показателей пенополиуретана
5.7.1. Объемную массу пенополиуретана определяют по
ГОСТ 409-77.
5.7.2. Коэффициент теплопроводности пенополиуретана определяют по ГОСТ 7076-78.
5.7.3. Влагопоглощение и водопоглощение пенополиуретана определяют по методикам, утвержденным в установленном порядке.
5.7.4. Прочность пенополиуретана при растяжении и сдвиге определяют по
ГОСТ 22695-77. Прочность сцепления пенополиуретана с металлическими листами допускается определять по
ГОСТ 22695-77, при этом следует указывать характер разрушения образцов. Места вырезки образов принимают по схеме, приведенной на
черт. 7. Количество образцов для испытаний принимают в соответствии с
п. 4.5.
5.7.5. Модуль упругости при растяжении определяют по ГОСТ 23404-78.
5.7.6. Модуль сдвига пенополиуретана устанавливают по результатам испытаний образцов по
п. 5.5.
При этом модуль сдвига G в кгс/см2 определяют по формуле

, (3)
где b - ширина образца, см;
H - толщина панели, см;
f - прогиб образца посредине пролета в см, измеренный с точностью до 0,1 мм по перемещению подвижной головки испытательной машины при нагрузке не более 0,5

,
где

- разрушающая нагрузка, принимаемая по
п. 5.5.4;
P - нагрузка на образец, кгс;

- модуль упругости металлических листов, кгс/см2, равный для стали -

, для алюминия -

;

- толщина металлических листов, см (при различной толщине листов следует принимать

).
6. УПАКОВКА, МАРКИРОВКА, ТРАНСПОРТИРОВАНИЕ И ХРАНЕНИЕ
6.1. Упаковка, маркировка, транспортирование и хранение панелей и комплектующих изделий - по
ГОСТ 21562-76.
6.2. Допускается упаковка панелей на стяжках или иным способом при условии предохранения кромок панелей от повреждений при транспортировании, погрузо-разгрузочных работах и монтаже.
6.3. В паспорте должны быть указаны марки и толщина металлических листов, вид защитного покрытия.
Обязательное
РАСЧЕТ РАЗРУШАЮЩЕЙ НАГРУЗКИ ДЛЯ ОБРАЗЦОВ
ДЛИНОЙ 1100 мм ПРИ ПОПЕРЕЧНОМ ИЗГИБЕ
Разрушающая нагрузка

(в кгс) для образца при разрушении его от местной потери устойчивости верхнего (наружного) металлического листа не должна быть менее

,
где

- нормируемое предельное напряжение сжатия в выступающей плоской грани профиля верхнего металлического листа, кгс/см2, принимаемое по таблице настоящего приложения;
b - ширина образца, см;
l - пролет образца, см;

- толщина верхнего металлического листа, см;
H - толщина панели, см;

- высота профиля верхнего металлического листа, см;
K - коэффициент, принимаемый равным:
для стальных листов - K = 66;
для алюминиевых листов - K = 38.
───────────────────┬──────────────────────────────────────────────
Материал листа │ Предельное напряжение сигма , кгс/см2,
│ пред
│ при отношении b/дельта
├──────┬────┬────┬────┬────┬────┬────┬────┬────
│0 - 20│ 40 │ 60 │ 80 │100 │120 │150 │200 │300
───────────────────┼──────┼────┼────┼────┼────┼────┼────┼────┼────
ИС МЕГАНОРМ: примечание.
Взамен ГОСТ 14918-69 Постановлением Госстандарта СССР от
31.05.1980 N 1465 введен в действие с 1 июля 1981 года
Сталь по │ 2100 │2100│2100│1970│1810│1740│1670│1590│1460
ГОСТ 14918-69 │ │ │ │ │ │ │ │ │
Алюминиевые спла-│ │ │ │ │ │ │ │ │
вы: │ │ │ │ │ │ │ │ │
АMг2 1/2H │ 1500 │1340│1140│1060│1030│1020│1020│1020│1020
AМг2 1/4H │ 1350 │1200│1070│1000│ 960│ 940│ 935│ 935│ 935
Примечание. При отношениях b/

, не указанных в таблице, значение предельного напряжения принимают по интерполяции.
Обязательное
2. УКАЗАНИЯ ПО ПРИМЕНЕНИЮ
2.1. Панели предназначены для применения в наружных стенах с вертикальной разрезкой.
2.2. Крепление панелей к несущим конструкциям, заделку стыков и примыканий следует выполнять в соответствии с чертежами, утвержденными Госстроем СССР.
2.3. Монтаж панелей с дефектами, указанными в
п. 2.5.2 настоящего стандарта, не допускается.
2.4. Резка панелей газопламенными резаками при монтаже не допускается.
2.5. Сверление отверстий в панелях при установке элементов крепления должно производиться с применением электрифицированного инструмента. Оси отверстий должны быть перпендикулярны к плоскости панелей.
2.6. Удары по панелям при монтаже, установке креплений, заделке стыков и примыканий не допускаются.
2.7. Крепление к панелям лестниц, промышленных проводок, технологического оборудования и арматуры не допускается.
2.8. Поверхность стальных листов панелей следует очищать от загрязнений и пыли с применением моющих средств, не вызывающих повреждений защитных покрытий листов.
2.9. Поверхность алюминиевых листов панелей следует очищать от загрязнений и пыли сжатым воздухом или мыльным раствором (концентрация раствора 1 - 3 г мыла на 1 л воды).
2.10. Не допускается применять для очистки и мытья поверхности панелей песок, щелочи и другие вещества, которые могут повредить защитные покрытия металлических листов.