Главная // Актуальные документы // ГОСТ Р (Государственный стандарт)СПРАВКА
Источник публикации
М.: Стандартинформ, 2007
Примечание к документу
Введен в действие с 1 октября 2007 года.
Название документа
"ГОСТ Р 52728-2007. Метод натурной тензотермометрии. Общие требования"
(утв. Приказом Ростехрегулирования от 14.06.2007 N 135-ст)
"ГОСТ Р 52728-2007. Метод натурной тензотермометрии. Общие требования"
(утв. Приказом Ростехрегулирования от 14.06.2007 N 135-ст)
Утвержден и введен в действие
от 14 июня 2007 г. N 135-ст
НАЦИОНАЛЬНЫЙ СТАНДАРТ РОССИЙСКОЙ ФЕДЕРАЦИИ
МЕТОД НАТУРНОЙ ТЕНЗОТЕРМОМЕТРИИ
ОБЩИЕ ТРЕБОВАНИЯ
Method of strain-and-temperature measurements in situ.
General requirements
ГОСТ Р 52728-2007
Группа Т51
Дата введения
1 октября 2007 года
Цели и принципы стандартизации в Российской Федерации установлены Федеральным
законом от 27 декабря 2002 г. N 184-ФЗ "О техническом регулировании", а правила применения национальных стандартов Российской Федерации -
ГОСТ Р 1.0-2004 "Стандартизация в Российской Федерации. Основные положения".
1. Разработан Институтом машиноведения Академии наук Российской Федерации (ИМАШ РАН) и Федеральным государственным унитарным предприятием "Опытное конструкторское бюро машиностроения им И.И. Африкантова" (ОКБМ).
2. Внесен Техническим комитетом по стандартизации ТК 132 "Техническая диагностика".
3. Утвержден и введен в действие
Приказом Федерального агентства по техническому регулированию и метрологии от 14 июня 2007 г. N 135-ст.
4. Введен впервые.
В настоящее время методы тензометрии широко используются для определения локальных деформаций и напряженного состояния материала технических объектов различного назначения. Существует значительное число ответственных потенциально опасных технических объектов, температура поверхности которых во время эксплуатации достигает сотен градусов. Для определения напряженно-деформированного состояния материала объектов в этих случаях традиционные приемы тензометрии оказываются непригодны, а приемлемой альтернативой им может быть метод тензотермометрии.
Настоящий стандарт служит методической основой широкого применения метода тензотермометрии при решении широкого класса инженерных задач, требующих оперативной оценки напряженно-деформированного состояния материала в составе ответственных технических объектов, эксплуатирующихся при различных температурных условиях.
Настоящий стандарт устанавливает основные положения метода тензотермометрических исследований напряженно-деформированного состояния элементов машиностроительного оборудования в натурных условиях, при пусконаладочных работах и в процессе эксплуатации.
Настоящий стандарт распространяется на сосуды и трубопроводы, работающие под давлением, а также на теплоэнергетическое оборудование ТЭС, эксплуатируемое при температуре не выше 450 °C.
Настоящий стандарт допускается применять при исследованиях напряженно-деформированного состояния других видов конструкций, работающих в аналогичных условиях.
В настоящем стандарте использованы нормативные ссылки на следующие стандарты:
ГОСТ 12.3.002-75. Система стандартов безопасности труда. Процессы производственные. Общие требования безопасности
ГОСТ 20420-75. Тензорезисторы. Термины и определения
Примечание. При пользовании настоящим стандартом целесообразно проверить действие ссылочных стандартов в информационной системе общего пользования - на официальном сайте Федерального агентства по техническому регулированию и метрологии в сети Интернет или по ежегодно издаваемому информационному указателю "Национальные стандарты", который опубликован по состоянию на 1 января текущего года, и по соответствующим ежемесячно издаваемым информационным указателям, опубликованным в текущем году. Если ссылочный стандарт заменен (изменен), то при пользовании настоящим стандартом следует руководствоваться заменяющим (измененным) стандартом. Если ссылочный стандарт отменен без замены, то положение, в котором дана ссылка на него, применяется в части, не затрагивающей эту ссылку.
3. Термины, обозначения и сокращения
В настоящем стандарте применены термины, обозначения и сокращения по ГОСТ 20420, а также следующие обозначения:

- напряжения, МПа;
E - модуль упругости, МПа;

- коэффициент Пуассона;

- деформация, мкм/М;
k - чувствительность тензорезистора;

- выходной сигнал (относительное изменение сопротивления тензорезистора), мкОм/Ом;

- суммарная неинформативная составляющая выходного сигнала тензорезистора, мкОм/Ом;
M - цена деления или единицы младшего разряда прибора, мкОм/Ом;

- значение функции влияния температуры на чувствительность тензорезистора;

- местные деформации, обусловленные ужесточающим влиянием тензорезистора и защитного устройства;

- температурная характеристика тензорезистора, установленного на объекте, мкОм/Ом;

- неинформативная составляющая выходного сигнала тензорезистора, обусловленная ползучестью тензорезистора, мкОм/Ом;

- неинформативная составляющая выходного сигнала тензорезистора, связанная с дрейфом выходного сигнала, мкОм/Ом;

- местные деформации, обусловленные влиянием тензорезистора и его защитного устройства на температурное поле детали;

- температурное приращение сопротивления тензорезистора, обусловленное разностью температур детали и тензорезистора (в предположении, что температуры чувствительного элемента и подложки одинаковы);

- температурный коэффициент линейного расширения, 1/°C;
S - среднеквадратическая погрешность измерений или определения влияющей величины.
4.1. Измерение деформаций выполняют методом тензометрии с применением тензорезисторов, принцип действия которых основан на тензорезистивном эффекте, т.е. изменении электрического сопротивления проводника при его деформировании.
4.2. Измерение деформаций является косвенным измерением. При воздействии на тензорезистор температуры и других влияющих факторов измеренную деформацию вычисляют по формуле

. (1)
4.3. Выходной сигнал тензорезистора для измерительного прибора с пропорциональной функцией преобразования вычисляют по формуле

, (2)
где

- сопротивление соединительных проводов (с учетом приращения от температуры);
R - начальное сопротивление тензорезистора;

- разность отсчетов измерительного полумоста прибора, вызванного изменением сопротивления тензорезистора.
4.4. Структура и значение неинформативной составляющей выходного сигнала тензорезистора определяются условиями измерений (воздействием влияющих факторов) и принятой схемой измерений (способом термокомпенсации) и т.п.
4.5. При измерениях статических деформаций (стационарном режиме) параметр

может быть представлен выражением:

, (3)
где

- температурная характеристика установленного на объект тензорезистора;

и

- неинформативные составляющие выходного сигнала тензорезистора, связанные с ползучестью тензорезистора и дрейфом выходного сигнала.
4.6. Температурную характеристику установленного тензорезистора

рассчитывают экспериментально как разность индивидуальной характеристики неприваренного тензорезистора и средней разностной характеристики, которая определяется как разность средних значений температурных характеристик выборок (из партии) неприваренных и приваренных тензорезисторов. При натурном эксперименте

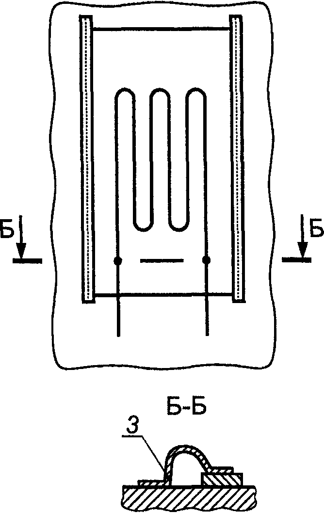
можно найти по данным тензорезисторов-свидетелей той же партии, что и рабочие тензорезисторы, и установленных на исследуемом объекте рядом с рабочими тензорезисторами на образцах из материала той же марки (плавки), что и натурный объект. Выборка тензорезисторов-свидетелей должна быть достаточной для надежной оценки

. Схема установки тензорезисторов-свидетелей приведена на рисунке 1.
1 - компенсационный терморезистор;
2 - рабочий тензорезистор; 3 - скоба; 4 - деталь;
5 - компенсационная пластина; 6 - "салазки"
Рисунок 1. Схема установки тензорезисторов-свидетелей
4.7. Неинформативную составляющую

, связанную с ползучестью тензорезистора, получают экспериментально по данным натурной тензотермометрии с воспроизведением реальной нагруженности исследуемого объекта. При натурной тензотермометрии

(в сумме с дрейфом начального сопротивления тензорезистора) проявляется как уход нулей, который может быть оценен сравнительным анализом показаний рабочих тензорезисторов при двух идентичных тепловых и напряженно-деформированных состояниях натурного объекта.
4.8. Неинформативную составляющую

, связанную с дрейфом выходного сигнала тензорезистора, следует определять с учетом реальной кинетики теплового состояния натурного объекта по данным тензорезисторов-свидетелей, устанавливаемых на исследуемом объекте или на стенде с воспроизведением температурных режимов натурного объекта.
4.9. При измерениях деформаций в условиях нестационарной работы натурного объекта суммарная неинформативная составляющая

получает приращение

и вычисляется по формуле

, (4)
где

- температурное приращение сопротивления тензорезистора, обусловленное разностью температур детали и тензорезистора (в предположении, что температуры чувствительного элемента и подложки тензорезистора равны).
4.10. Приращение

связано с непосредственным воздействием нестационарного теплового потока рабочей среды на тензорезистор и определяется экспериментально методом моделирования (стендовые испытания) или оценивается по данным натурной тензотермометрии с применением приближенной зависимости

, (5)
где

- температурный коэффициент линейного расширения подложки тензорезистора в интервале температур

;

и

- температуры детали и тензорезистора (температуры чувствительного элемента и подложки тензорезистора предполагается равными).
4.11. При применении способа компенсации температурного приращения сопротивления с установкой компенсационного тензорезистора на исследуемом объекте рядом с рабочим (схемная компенсация) неинформативную составляющую вычисляют по формуле

, (6)
где

- поправка на разность значений температурных характеристик установленных рабочего и компенсационного тензорезисторов;

- поправка, учитывающая разность температурных приращений сопротивлений рабочего и компенсационного тензорезисторов, обусловленных влиянием нестационарных тепловых полей (см.
4.10);

- составляющая, обусловленная ползучестью рабочего и компенсационного тензорезисторов;

- поправка, обусловленная дрейфом выходных сигналов рабочего и компенсационного тензорезисторов.
Если компенсационный тензорезистор находится в свободном состоянии, в
формулу (6) вместо

следует подставлять

, т.е. неинформативную составляющую, связанную с ползучестью рабочего тензорезистора.
Формула (1) в случае применения схемной компенсации принимает вид:

. (7)
4.12. Точность метода измерений обеспечивается за счет следующих факторов:
- применения схемной компенсации;
- подбора в пары тензорезисторов, соединяемых в полумост, по номинальным сопротивлениям, температурным характеристикам и дрейфу;
- применения тензорезисторов-свидетелей;
- синхронизации записей деформаций и температур (т.е. использование единой системы отсчета времени);
- дублирования измерительных точек;
- повторения идентичных режимов испытаний.
4.13. Точность метода определяется индивидуально для каждого натурного эксперимента с учетом реальных условий его проведения.
4.14. Окончательную оценку погрешности измерений следует проводить по данным тензорезисторов-свидетелей, учитывающих реальные нагруженность и кинетику теплового состояния натурного объекта.
Измеряемую деформацию при этом вычисляют по формуле

(8)
или

, (9)
где

- среднее значение показаний тензорезисторов-свидетелей, установленных по
схеме, приведенной на рисунке 1.
Среднеквадратическую погрешность измерений вычисляют по формуле

, (10)
где

и

- среднеквадратические погрешности определения чувствительности и функции влияния температуры на чувствительность тензорезистора;

- приборная погрешность;

и

- среднеквадратические погрешности определения неинформативной составляющей по показаниям тензорезисторов-свидетелей и ползучести.
Допускается в
формулах (9) и
(10) не учитывать

и

, полагая составляющую погрешности, связанную с ползучестью, случайной. При этом необходимо обосновать принятое значение составляющей погрешности, связанной с ползучестью.
4.15. Исследуемая деформация

, как правило, отличается от измеренной деформации

на значение местных деформаций

:

, (11)
где

определяют в соответствии с
4.1,
4.7,
4.8.
4.16. Местные деформации

обусловлены ужесточающим влиянием тензорезистора и его защитного устройства на деталь (

), а также влиянием тензорезистора и его защитного устройства на температурное поле детали (

):

. (12)
4.17.

зависит от соотношения жесткостей тензорезистора (с защитным устройством) и исследуемой детали и определяется в каждом конкретном случае путем моделирования (поляризационно-оптический метод, тензометрическая модель).
4.18. Местные деформации

зависят от конкретных условий измерений, конструкции защитного устройства и могут быть определены методом моделирования (стендовые испытания моделей) или расчетно-экспериментальным путем с использованием данных по температурным полям натурного объекта в зоне установки тензорезистора.
Приближенная оценка местных деформаций

может быть произведена по формуле

, (13)
где

- разность температур детали на базе тензорезистора (защитного устройства) и вне зоны его действия;

- температурный коэффициент линейного расширения детали;
c - эмпирический коэффициент.
5. Требования к квалификации операторов
и безопасности работ
5.1. К выполнению монтажа тензорезисторов и термопар могут быть допущены лица, имеющие профессию слесаря и сварщика (аргонодуговая и контактная сварка), с практическим опытом работы, обученные и прошедшие специальную аттестацию.
5.2. К выполнению монтажа соединительных линий и подключению их к измерительной аппаратуре допускаются лица, имеющие профессию наладчика контрольно-измерительных приборов с практическим опытом работ.
5.3. К тензотермометрическим работам допускаются лица, достигшие 18-летнего возраста, годные по состоянию здоровья, прошедшие специальное обучение и проверку знаний по охране труда, имеющие квалификационную группу 1 по электробезопасности.
5.4. К обработке и анализу результатов измерений могут быть допущены лица, имеющие профессию инженера с практическим опытом работы не менее трех лет.
5.5. При выполнении монтажа тензорезисторов, термопар и соединительных линий на объекте должны быть соблюдены требования по технике безопасности для электромонтеров, обслуживающих оборудование напряжением до 1000 В в соответствии с
ГОСТ 12.3.002.
5.6. Перед началом работ на натурном объекте работники, участвующие в монтаже и наладке тензотермометрической системы и в измерениях, должны пройти общий инструктаж по технике безопасности и первичный инструктаж на рабочем месте с записью в журнале.
5.7. Все лица, участвующие в монтаже тензорезисторов, термопар и соединительных линий, должны иметь удостоверения о проверке знаний ПТЭЭП с квалификацией не менее III группы.
5.8. При наладке тензотермометрической системы и проведении измерений должны быть соблюдены требования, обеспечивающие безопасность труда в соответствии с
[1].
6. Требования к условиям проведения измерений
6.1. В местах установки тензорезисторов измеряемые деформации не должны превышать предельных значений, указанных в паспортах на тензорезистор и измерительную аппаратуру. В случае превышения предельных значений деформации результаты измерений по данным тензорезисторам исключают из рассмотрения (или проводят дополнительную проверку).
6.2. В измерительных точках температуры не должны превышать 450 °C при применении тензорезисторов типа НМТ и 200 °C при использовании тензорезисторов типа КФ-5. В первом случае допускается кратковременное повышение температуры до 465 °C, при этом необходим контроль возможных изменений температурных характеристик и величины дрейфа по показаниям тензорезисторов-свидетелей.
6.3. Скорости изменения температуры поверхности металла в измерительных точках, расположенных на внутренних поверхностях исследуемой конструкции, не должны превышать:
- при применении защитных устройств на
рисунке 2а) -
д) - 0,5 °C/с;
- при применении защитных устройств на
рисунке 2е) - 10 °C/с.
Рисунок 2, лист 1
1 - деталь; 2 - обечайка; 3 - крышка;
4 - провода термостойкие; 5 - аргонодуговая сварка;
6 - трубка защитная; 7 - скоба; 8 - термопары;
9 - тензорезисторы (рабочий и компенсационный);
10 - колпачок фрезерованный; 11 - колпачок штампованный;
12 - сухарь; 13 - пайка;
14 - точечная сварка "вперекрышку";
15 - пластина защитная; 16 - изоляция; 17 - пластинка;
18 - подложка тензорезистора; 19 - контактная сварка
с непрерывным швом; 20 - точечная сварка
Рисунок 2, лист 2. Типы защитных устройств тензорезисторов
6.4. При применении защитных устройств на
рисунке 2е) на внутренних поверхностях оборудования давление не должно превышать 30 МПа.
6.5. Длительность воздействия температур диапазона 350 °C - 450 °C на тензорезисторы типа НМТ должна составлять не более 1500 ч.
6.6. При выполнении измерений следует учитывать искажение выходного импеданса тензометрической линии при попадании влаги во внутренний объем защитных устройств, что приводит к изменениям метрологических характеристик системы тензотермометрии. В случае применения герметичных тензометрических линий подобный эффект возникает при перераспределении влаги во внутреннем объеме линии (при переносе влаги из горячих зон, накапливании в более холодных зонах). В связи с этим в процессе измерения следует контролировать сопротивление изоляции тензометрических линий, которое должно быть не менее 1 МОм.
7. Требования к средствам измерений
и вспомогательным устройствам
7.1. При выполнении измерений применяют следующие средства измерений и устройства:
- тензорезисторы;
- термопары;
- измерительные приборы;
- соединительные провода;
- защитные устройства.
Средства измерений должны быть поверены или метрологически аттестованы.
7.2. Тензорезисторы
7.2.1. Тензорезисторы могут быть применены для измерений деформаций натурных объектов, работающих в стационарных и нестационарных условиях при пусконаладочных работах и эксплуатации в широком диапазоне рабочих температур, давлений, деформаций.
7.2.2. Выбор типов тензорезисторов проводят с учетом условий работы натурного объекта и целей эксперимента.
Основными критериями при этом являются: диапазон рабочих температур натурного объекта, предполагаемый уровень измеряемых деформаций и длительность испытаний.
7.2.3. При тензотермометрических исследованиях энергетического оборудования допускается применять приклеиваемые и привариваемые тензорезисторы. В случае применения привариваемых тензорезисторов для определения напряженно-деформированного состояния тонкостенной конструкции следует иметь в виду, что сварка может влиять на прочность исследуемой детали.
7.2.4. Применение приклеиваемых тензорезисторов при повышенных температурах требует использования клеев горячего отверждения. Поэтому применять приклеиваемые тензорезисторы следует в тех случаях, когда возможна термообработка детали после установки тензорезисторов.
7.2.5. В тех случаях, когда невозможна термообработка детали после установки тензорезисторов, следует применять привариваемые тензорезисторы.
7.2.6. В диапазоне температур от климатических до 450 °C используют высокотемпературные тензорезисторы различного типа в соответствии с
ГОСТ 21616.
7.2.7. При температурах до 200 °C можно применять тензорезисторы типа КФ5 с использованием клея горячего отверждения типов УВС-10Т, БФР-2К. Если габариты детали не позволяют произвести термообработку, следует применять тензорезисторы КФ5, предварительно установленные на металлические подложки, привариваемые к детали контактной сваркой после соответствующей термообработки.
7.3. Термопары
7.3.1. При тензотермометрических исследованиях в условиях повышенных температур необходимо измерять температуру детали в местах установки рабочих (и компенсационных) тензорезисторов для определения соответствующих поправок.
7.3.2. При тензотермометрических исследованиях энергетического оборудования следует применять термопары типа хромель-алюмель (или хромель-копель) с жаростойкой изоляцией.
7.3.3. При измерениях на внутренних поверхностях необходимо учитывать особенности измерений температур поверхностей, подверженных воздействию рабочей среды.
7.4. Измерительные приборы
7.4.1. Основными критериями при выборе измерительных приборов для тензотермометрических исследований энергетического оборудования служат: диапазон и скорость изменения измеряемых величин, точность измерений и количество измерительных точек, способ регистрации и обработки результатов измерений, работоспособность в составе информационно-измерительных систем в комплексе с ПК.
7.4.2. При выборе измерительных приборов следует учитывать климатические условия, в которых эксплуатируется исследуемый натурный объект, а также длину соединительных проводов.
7.4.3. При подготовке к натурным измерениям и контроле тензоизмерительной схемы допускается использование прибора ИСД-3 с автономным питанием от сухих элементов (пределы измерений от 0 до 20000 мкОм/Ом, цена деления шкалы - 20 мкОм/Ом, число подключаемых тензорезисторов - до 20).
7.4.4. Для измерения статических деформаций применяются многоканальные цифровые измерительные системы типов СИИТ-3, Centipede, MGC plus и др.
7.4.5. Для измерений деформаций при нестационарных процессах применяются многоканальные цифровые измерительные системы типа MGC plus и др.
7.4.6. Для измерений температур при стационарных и нестационарных процессах применяются многоканальные цифровые измерительные системы типа MGC plus и др.
7.5. Соединительные провода
7.5.1. При тензотермометрических исследованиях энергетического оборудования необходимо применение жаростойких проводов на участке трассы с повышенными и высокими температурами.
7.5.2. Основными критериями при выборе жаростойких проводов являются диапазон рабочих температур, погонное сопротивление и температурный коэффициент сопротивления, а также свариваемость провода с выводными проводниками тензорезистора.
7.5.3. Для соединения тензорезисторов с измерительными приборами допускается применять на участке трассы с повышенными температурами провода типа ПОЖ или другие провода с аналогичными характеристиками; на участке с климатическим диапазоном температур - кабель типа КММ либо аналогичный.
7.5.4. В качестве термоэлектродных проводов следует использовать провода типа ПТНО. В качестве соединительных проводов можно применять компенсационные или медные провода.
7.5.5. Длина и тип соединительных проводов должны соответствовать техническим документам на измерительную аппаратуру.
7.6. Защитные устройства
7.6.1. При тензотермометрических исследованиях машиностроительного оборудования необходима защита тензорезисторов, термопар и соединительных проводов от воздействия окружающей среды.
7.6.2. Выбор защитных устройств проводят с учетом условий работы натурного объекта и его конструктивных особенностей.
7.6.3. Рекомендуемые типы металлических защитных устройств тензорезисторов и термопар приведены на
рисунке 2. Защитные устройства крепят к детали с помощью аргонодуговой или контактной сварки, и они должны быть герметичны.
7.6.4. При измерениях на наружных поверхностях следует применять защитные устройства, показанные на
рисунках 2в) и
2г).
7.6.5. При длительных измерениях статических деформаций на внутренних поверхностях, подверженных воздействию рабочей среды, высоких температур и давлений, используют защитные устройства, показанные на
рисунках 2а) и
2б).
7.6.6. При необходимости соблюдения аэродинамической чистоты поверхности следует применять защитные устройства, показанные на
рисунке 2д).
7.6.7. При измерениях деформаций в условиях воздействия быстроменяющихся температур (тепловом ударе) могут быть применены защитные устройства, показанные на
рисунке 2е) (гермотензорезисторы), у которых защитный элемент выполнен непосредственно на подложке тензорезистора типа НМТ.
7.6.8. Для защиты соединительных проводов используют холоднотянутые трубки из нержавеющей стали, припаиваемые (с помощью припоев ПСр) или привариваемые (аргонодуговая сварка) к защитным устройствам тензорезисторов.
8. Порядок подготовки к проведению измерений
8.1. На первом этапе подготовки к проведению измерений выполняют следующие работы:
- построение математической модели измерений деформаций;
- определение значений влияющих величин;
- анализ конструктивных особенностей натурного объекта;
- выбор средств измерений;
- выбор способа компенсации температурного приращения сопротивлений;
- выбор способа обработки и формы представления результатов измерений.
8.1.1. Выбранные средства измерения должны удовлетворять условию:

, (14)
где

- сумма частных погрешностей измерений, вносимых каждым элементом тензотермосистемы;

- допустимая погрешность измерений.
8.1.2. Выбранные привариваемые тензорезисторы должны удовлетворять условию:

, (15)
где

- разность температурных коэффициентов линейного расширения подложки тензорезистора и детали (компенсационной пластинки);

и

- начальная и максимальная рабочая температуры натурного объекта;

- предполагаемый уровень измеряемых деформаций.
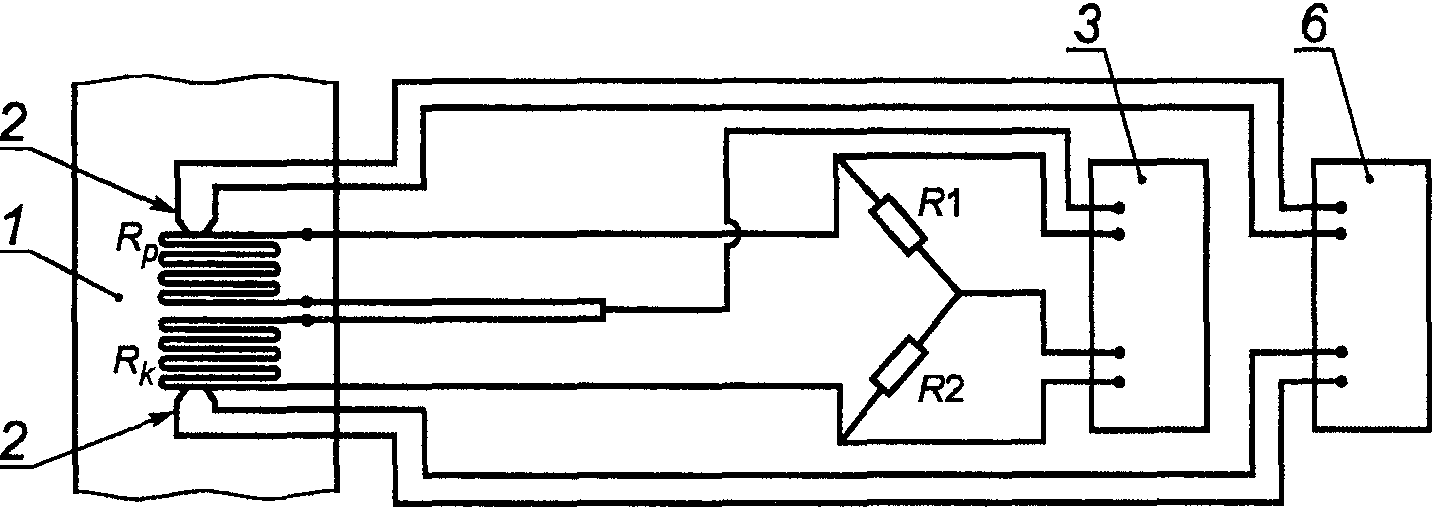
8.1.3. Для компенсации температурного приращения сопротивления тензорезистора следует применять схемную компенсацию [см.
рисунок 3а)] с установкой компенсационного тензорезистора на натурном объекте рядом с рабочим на компенсационной пластинке, выполненной из материала той же марки (плавки), что и тензометрируемая деталь [см.
рисунок 4а)]. Толщина компенсационной пластинки должна выбираться из условия обеспечения достаточной жесткости в случае различия коэффициентов линейного расширения подложки тензорезистора и пластинки. Допускается установка компенсационного тензорезистора в соответствии с
рисунком 4б). При этом необходимо оценивать погрешность, вносимую в результат измерений данным способом установки. Применение схемной компенсации предполагает подбор тензорезисторов в пары (рабочий - компенсационный) по следующим параметрам:
- номинальное сопротивление;
- температурные характеристики;
- дрейф.
б) компенсация с введением температурной поправки
1 - деталь; 2 - термопара; 3 - тензометрический прибор;
4 - компенсационная петля; 5 - термостат;
6 - термометрический прибор
Рисунок 3. Способы температурной компенсации
1 - компенсационная пластина; 2 - скоба; 3 - "салазки"
Рисунок 4. Способы установки компенсационного тензорезистора
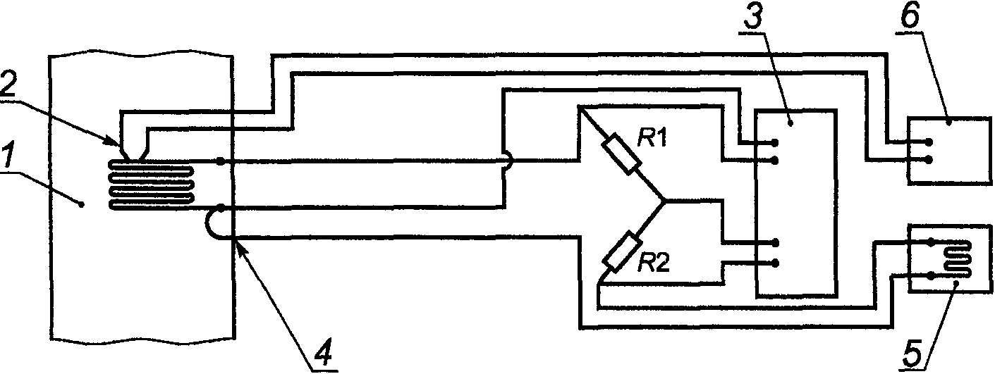
8.1.4. Если схемная компенсация невозможна, допускается применение способа введения поправки на температурное приращение сопротивления тензорезистора [см.
рисунок 3б)]. Поправка определяется по формуле

, (16)
где

- индивидуальная температурная характеристика неприваренного (неприклеенного) тензорезистора;

- разностная температурная характеристика;

- поправка, учитывающая изменение

при подрезке выводных проводников тензорезистора при его установке на натурном объекте.
| | ИС МЕГАНОРМ: примечание. В официальном тексте документа, видимо, допущена опечатка: пункт 4.19 отсутствует. | |
При измерениях в нестационарных условиях необходимо вводить поправку на нестационарность в соответствии с
4.10 и 4.19.
8.2. На втором этапе проводят разработку проекта тензотермометрии, включающего в себя разработку схемы размещения тензорезисторов и термопар, прокладку измерительных линий и привязку средств измерений (клеммников, коммутаторов, измерительных приборов и т.п.) к натурному объекту.
8.2.1. Схему размещения тензорезисторов и термопар разрабатывают на основе предварительных лабораторных исследований, анализа имеющихся расчетных данных, а также исходя из опыта эксплуатации исследуемого и подобных типов натурных объектов. Схема размещения должна учитывать конструктивные особенности натурного объекта и средств измерений (например, защитных устройств).
8.2.2. Трассировка измерительных линий должна быть выполнена с учетом имеющихся источников электромагнитных полей (генераторов, электродвигателей, силовых кабелей, мощных сварочных аппаратов и т.п.).
8.2.3. При разработке схемы размещения средств измерений на натурном объекте следует предусмотреть заземление измерительных цепей, обеспечивающее максимальное подавление помех.
8.3. На третьем этапе проводят непосредственную подготовку средств измерений к эксперименту и монтаж тензотермоизмерительной системы на натурном объекте. Для проведения натурной тензотермометрии целесообразно иметь заранее подготовленный передвижной измерительно-вычислительный комплекс (информационно-измерительную систему). В конце третьего этапа подготовки к проведению измерений необходимо провести апробацию линий тензометрической системы имитатором сигнала тензорезистора на вход усилителя.
8.3.1. Подготовка тензорезисторов включает в себя следующие операции:
- измерение сопротивления тензорезистора;
- измерение сопротивления изоляции;
- подбор в пары (схемная компенсация) по номинальным сопротивлениям, температурным характеристикам, дрейфу;
- обрезку полей подложки (при необходимости) до нужных размеров (но не менее трехкратного диаметра сварной точки) и подрезку выводных проводников;
- зачистку полей подложки и обезжиривание.
8.3.2. Подготовка соединительных линий (участка горячей зоны) включает в себя жгутование жаростойких проводов и прокладывание их в защитные трубки. Провода рабочего и компенсационного тензорезисторов каждого полумоста должны быть свиты между собой. Нельзя провода рабочего и компенсационного тензорезисторов одного полумоста размещать в разных защитных трубках.
Если в качестве электроизоляции применяется стеклочулок, его нужно предварительно прокалить для удаления парафина.
8.3.3. Защитные устройства тензоизмерительной системы изготавливают с учетом конструктивных особенностей и условий эксплуатации натурного объекта. Если защитные устройства выполняют по типу, показанному на
рисунке 2е) (гермотензодатчики), то их следует испытать на стенде с имитацией натурных условий измерений.
8.3.4. Если защитные устройства выполняются непосредственно на подложке тензорезистора по типу, показанному на
рисунке 2е) (гермотензодатчик), необходимо повторное определение метрологических характеристик, так как в этом случае, в отличие от обычных (исходных) тензорезисторов, гермотензодатчик представляет собой систему, включающую в себя собственно тензорезистор, термопару, измерительные провода, защитные устройства и т.д.
8.3.5. Измерительные провода должны пройти профилактический осмотр; кабели следует проверить на целостность. Сопротивление измерительных линий и датчиков (тензорезисторов или термопар) должно соответствовать техническим требованиям измерительных приборов.
8.3.6. Перед установкой тензорезисторов поверхность натурного объекта в измерительных точках должна быть очищена от ржавчины, окалины и т.п. и обезжирена. Поверхность обрабатывают войлочными и вулканитовыми кругами с мелким абразивом. В качестве растворителей применяют ацетон, бензин и т.п. Качество очистки оценивают по внешнему виду (металлическому зеркальному блеску).
8.3.7. Режим приварки тензорезисторов к детали выбирают по таблицам ориентировочных режимов, номограммам или проводят опытные работы. Основными параметрами при этом являются сила тока

, длительность импульса

, диаметр сварной точки d, усилие сжатия

и шаг сварки h.
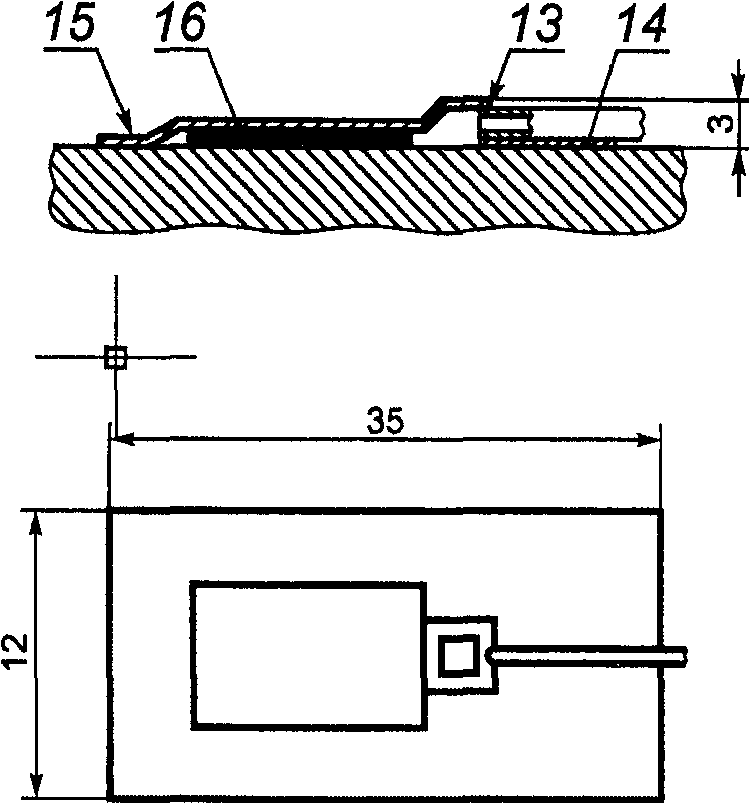
Следует учитывать, что режим сварки меняется при колебаниях напряжений сети, смятии и износе электродов и т.п. Поэтому параметры режима требуют стабилизации и регулирования процесса приварки тензорезисторов. Электрод необходимо периодически зачищать, сохраняя его первоначальную форму.
Качество соединений оценивают по результатам испытаний на срез и отрыв с анализом макро- и микроструктуры соединения. Усилия сжатия при регулировании режима менять не рекомендуется; его определяют и выставляют на сварочном "пистолете" заранее при отработке режима.
Непосредственно перед установкой тензорезисторов следует произвести технологическую пробу: имитатор подложки тензорезистора приваривают к поверхности тензометрируемой детали и затем его отрывают. При хорошем качестве сварки в имитаторе образуются отверстия в точках сварки (см. рисунок 5).
Рисунок 5. Технологическая проба
Рекомендуемый режим приварки тензорезисторов типа НМТ-450 (H = 0,15 мм) к деталям из нержавеющей стали 12Х18Н9Т аппаратом АСТ:

= 470 А;

= 0,1 с; d = 0,35 мм;

= 40 + 50 H; h = 1,25 мм.
8.3.8. Соединение выводных проводников с проводами следует проводить с помощью аргонодуговой сварки. Если при этом необходимо подрезать выводы тензорезисторов, следует выполнять условие равенства длин выводных проводников рабочего и компенсационного тензорезисторов.
8.3.9. Тензорезисторы-свидетели устанавливают на натурном объекте на образцах, выполненных из материала той же марки (плавки), что и тензометрируемая деталь.
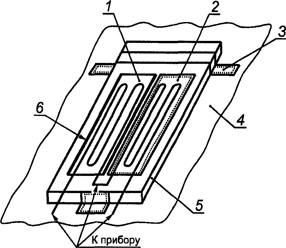
8.3.10. Защитную систему тензоизмерительной схемы следует выполнять герметичной (см.
рисунок 6). Перед герметизацией систему необходимо продуть сухим инертным газом (аргоном, гелием). Система должна быть оснащена устройством, позволяющим производить ее периодическую продувку в процессе эксперимента (в случае разгерметизации и попадания влаги в тензоизмерительную систему).
1 - тензорезистор; 2 - защитное устройство;
3 - соединительные провода; 4 - защитная трубка;
5 - скобка; 6 - фильеры; 7 - припой ПСр; 8 - шайба;
9 - заглушка; 10 - концевик; 11 - эпоксидная смола;
12 - защитная хлорвиниловая трубка; 13 - переходник;
14 - аргонодуговая сварка
Рисунок 6. Система защиты тензосхемы
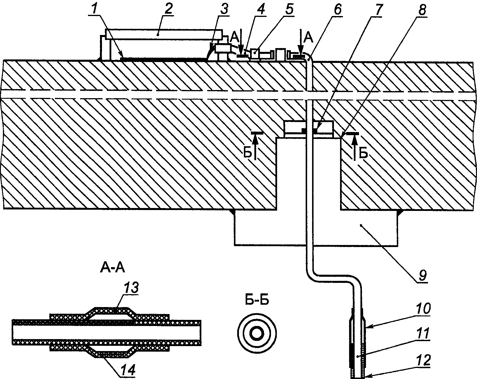
8.3.11. Для вывода измерительных линий с внутренних поверхностей под давлением следует применять узлы (гермовыводы), показанные на
рисунке 7.
а)
б)
Рисунок 7, лист 1
в)
1 - стенка корпуса; 2 - фильера; 3 - припой;
4 - нажимная шайба; 5 - заглушка; 6 - электродуговая сварка;
7 - зажимная трубка; 8 - изоляция; 9 - труба; 10 - диск;
11 - штуцер; 12 - накидная гайка; 13 - втулка; 14 - шайба;
15 - переходник; 16 - сальник; 17 - коническая шайба;
18 - аргонодуговая сварка
Рисунок 7, лист 2. Варианты герметичных выводных узлов
9. Порядок проведения измерений
9.1. При выполнении измерений следует применять следующие операции:
- проверку правильности подключения измерительной аппаратуры;
- включение измерительной аппаратуры;
- запись нулевых уровней;
- проведение испытаний с занесением в журнал информации о ходе выполнения режима и об изменениях в измерительной схеме;
- повторную запись нулевых уровней после проведения испытаний;
- выключение приборов.
9.2. Контроль за нормальной работой измерительной аппаратуры следует проводить в соответствии с техническими требованиями конкретной аппаратуры.
9.3. Состояние тензорезисторов и термопар при проведении испытаний контролируют по заранее выбранным критериям:
- для тензорезисторов

, (17)
где x - отсчет по прибору;

- предполагаемый уровень измеряемых деформаций;
k - чувствительность;
M - номинальная цена единицы наименьшего разряда прибора;
- для термопар

, (18)
где

- максимальная рабочая температура натурного объекта.
9.4. При контроле состояния измерительной схемы периодически проводят измерение сопротивления изоляции линий.
10. Правила обработки результатов измерений
10.1. В общем случае обработка результатов измерений состоит из трех этапов: первичной, промежуточной и окончательной обработки.
10.2. Целью первичной обработки результатов измерений является извлечение из выходного сигнала тензорезистора информативной составляющей, перевод показаний измерительных приборов в значения соответствующих измеряемых деформаций и определение напряжений в измерительных точках исследуемой конструкции.
10.3. Измерение деформаций проводят измерительной аппаратурой с непосредственной передачей информации на ПК, при этом первичная обработка выполняется автоматически по соответствующим программам. Программы должны учитывать особенности конкретного натурного эксперимента. Примером такой программы может служить Catman 3.1 для многоканальной цифровой измерительной системы MGC plus.
10.4. Пересчет информативной составляющей выходного сигнала тензорезистора проводят по следующим формулам:
10.4.1. Определение деформаций по показаниям тензорезисторов с использованием зависимостей (
1 -
3,
10).
10.4.2. Определение главных деформаций в измерительных точках проводят с использованием формул для трехкомпонентных розеток. В случае применения прямоугольной розетки (0, 45, 90) главные деформации вычисляют по формуле

. (19)
10.4.3. Погрешности измерений деформаций вычисляют по
формуле (9).
10.4.4. Главные напряжения вычисляют по формуле

. (20)
Коэффициент Пуассона допускается задавать постоянным числом для всего диапазона рабочих температур.
10.4.5. Оценку погрешности определения напряжений вычисляют по формуле

. (21)
10.5. На промежуточном этапе обработки результатов измерений полученные данные представляют в виде, наиболее удобном для анализа.
10.6. В зависимости от поставленной задачи результаты измерений могут быть представлены в виде графиков или кривых, математических формул или номограмм, таблиц, статистических данных или словесных описаний.
10.7. Полученные в результате проведенных испытаний данные обрабатывают с помощью программ типов Excel, MathCAD и др.
10.8. Окончательная обработка результатов измерений предполагает анализ обработанных ранее данных, получение зависимостей и выявление закономерностей. На этом этапе устанавливают связь между полученными значениями напряжений и конструктивными особенностями натурного объекта, напряженным состоянием конструкции и эксплуатационными режимами, максимальными значениями напряжений и характерными разностями температур объекта. Подготавливают материал для оценки прочности натурного объекта с учетом реальной нагруженности (по данным тензотермометрии) и остаточного ресурса (формируют циклы, определяют размахи деформаций и напряжений, оценивают нагруженность стационарного режима в цикле "пуск - останов" и т.д.).
11. Правила оформления результатов измерений
11.1. Информация, подготовленная для окончательной обработки, должна содержать следующее:
- дату и время проведения режима;
- название и номер режима;
- номера неисправных тензорезисторов и термопар;
- номера измерительных точек;
- показания термопар, соответствующих рабочим и (при необходимости) компенсационным тензорезисторам;
- измеренные значения деформаций;
- значения главных напряжений в измеренных точках.
11.2. Если измерения являются частью научно-исследовательских работ, результаты измерений следует оформлять в соответствии с общими требованиями и правилами оформления отчетов о научно-исследовательских работах.