Главная // Актуальные документы // ГОСТ Р (Государственный стандарт)СПРАВКА
Источник публикации
М.: Стандартинформ, 2015
Примечание к документу
Отдельные положения данного документа включены в
Перечень международных и региональных (межгосударственных) стандартов, а в случае их отсутствия - национальных (государственных) стандартов, содержащих правила и методы исследований (испытаний) и измерений, в том числе правила отбора образцов, необходимые для применения и исполнения требований технического
регламента Таможенного союза "О безопасности машин и оборудования" (ТР ТС 010/2011) и осуществления оценки соответствия объектов технического регулирования (
Решение Коллегии Евразийской экономической комиссии от 09.03.2021 N 28).
Документ включен в
Перечень стандартов, содержащих правила и методы исследований (испытаний) и измерений, в том числе правила отбора образцов, необходимые для применения и исполнения требований технического
регламента Таможенного союза "О безопасности машин и оборудования" (ТР ТС 010/2011) и осуществления оценки (подтверждения) соответствия продукции (
Решение комиссии Таможенного союза от 18.10.2011 N 823).
Документ
введен в действие с 1 декабря 2013 года.
Название документа
"ГОСТ Р ИСО 28927-2-2012. Национальный стандарт Российской Федерации. Вибрация. Определение параметров вибрационной характеристики ручных машин. Часть 2. Гайковерты ударные и безударные и шуруповерты"
(утв. и введен в действие Приказом Росстандарта от 29.11.2012 N 1372-ст)
"ГОСТ Р ИСО 28927-2-2012. Национальный стандарт Российской Федерации. Вибрация. Определение параметров вибрационной характеристики ручных машин. Часть 2. Гайковерты ударные и безударные и шуруповерты"
(утв. и введен в действие Приказом Росстандарта от 29.11.2012 N 1372-ст)
| | ИС МЕГАНОРМ: примечание. В официальном тексте документа, видимо, допущена опечатка: Приказ Росстандарта N 1372-ст имеет дату 29 ноября 2012 г., а не 29 декабря 2012 г. | |
Утвержден и введен в действие
агентства по техническому
регулированию и метрологии
от 29 декабря 2012 г. N 1372-ст
НАЦИОНАЛЬНЫЙ СТАНДАРТ РОССИЙСКОЙ ФЕДЕРАЦИИ
ВИБРАЦИЯ
ОПРЕДЕЛЕНИЕ ПАРАМЕТРОВ ВИБРАЦИОННОЙ ХАРАКТЕРИСТИКИ
РУЧНЫХ МАШИН
ЧАСТЬ 2
ГАЙКОВЕРТЫ УДАРНЫЕ И БЕЗУДАРНЫЕ И ШУРУПОВЕРТЫ
Mechanical vibration. Evaluation of vibration emission
of hand-held power tools. Part 2. Wrenches, nutrunners
and screwdrivers
ISO 28927-2:2009
Hand-held portable power tools - Test methods for evaluation
of vibration emission - Part 2: Wrenches, nutrunners
and screwdrivers
(IDT)
ГОСТ Р ИСО 28927-2-2012
Дата введения
1 декабря 2013 года
1 ПОДГОТОВЛЕН Автономной некоммерческой организацией "Научно-исследовательский центр контроля и диагностики технических систем" (АНО "НИЦ КД") на основе собственного аутентичного перевода на русский язык международного стандарта, указанного в
пункте 4
2 ВНЕСЕН Техническим комитетом по стандартизации ТК 183 "Вибрация, удар и контроль технического состояния"
| | ИС МЕГАНОРМ: примечание. В официальном тексте документа, видимо, допущена опечатка: Приказ Росстандарта N 1372-ст имеет дату 29 ноября 2012 г., а не 29 декабря 2012 г. | |
3 УТВЕРЖДЕН И ВВЕДЕН В ДЕЙСТВИЕ
Приказом Федерального агентства по техническому регулированию и метрологии от 29 декабря 2012 г. N 1372-ст
4 Настоящий стандарт идентичен международному стандарту ИСО 28927-2:2009 "Машины ручные. Методы испытаний для определения вибрационной активности. Часть 2. Гайковерты ударные и безударные и шуруповерты" (ISO 28927-2:2009 "Hand-held portable power tools - Test methods for evaluation of vibration emission - Part 2: Wrenches, nutrunners and screwdrivers").
Наименование настоящего стандарта изменено относительно наименования указанного международного стандарта для приведения в соответствие с ГОСТ Р 1.5-2004
(пункт 3.5).
При применении настоящего стандарта рекомендуется использовать вместо ссылочных международных и европейских региональных стандартов соответствующие им межгосударственные стандарты, сведения о которых приведены в дополнительном
приложении ДА
5 ВВЕДЕН ВПЕРВЫЕ
Правила применения настоящего стандарта установлены в ГОСТ Р 1.0-2012 (раздел 8). Информация об изменениях к настоящему стандарту публикуется в ежегодном (по состоянию на 1 января текущего года) информационном указателе "Национальные стандарты", а официальный текст изменений и поправок - в ежемесячном указателе "Национальные стандарты". В случае пересмотра (замены) или отмены настоящего стандарта соответствующее уведомление будет опубликовано в ближайшем выпуске ежемесячного информационного указателя "Национальные стандарты". Соответствующая информация, уведомление и тексты размещаются также в информационной системе общего пользования - на официальном сайте Федерального агентства по техническому регулированию и метрологии в сети Интернет (gost.ru)
Настоящий стандарт согласно классификации
ГОСТ 12.1.012 относится к стандартам безопасности типа C (испытательный код по вибрации), которые устанавливают лабораторные методы измерения вибрации на рукоятках ручных машин в целях заявления и подтверждения их вибрационных характеристик <1>.
--------------------------------
<1> При необходимости эти методы могут быть использованы в других целях, например, при входном, периодическом или послеремонтном контроле продукции [см. ГОСТ 12.1.012
(пункт 4.2)].
Если требования, установленные испытательным кодом по вибрации, отличаются от требований стандартов безопасности более высокого уровня (типов A и C по классификации
ГОСТ 12.1.012), то руководствоваться следует испытательным кодом по вибрации.
Общие требования к испытательным кодам по вибрации для ручных машин установлены
ГОСТ 16519 (стандарт безопасности типа B).
Основным отличием настоящего стандарта от
ГОСТ 16519 является определение точек измерений преимущественно на рукоятке ручной машины как можно ближе к кисти руки оператора между большим и указательным пальцами, поскольку при таком расположении датчика вибрации он в минимальной степени влияет на обхват рукоятки кистью оператора.
Исследования показывают, что вибрация гайковертов в процессе затягивания и ослабления резьбовых соединений в типичных условиях применения может быть существенно разной. Для машин ударного и импульсного действия это объясняется, в первую очередь, несовпадением осей ручной машины и крепежного средства, износом гнезда гайковерта или наличием гибкого соединения с угловой головкой. Поскольку в реальных условиях применения гайковертов время затяжки очень мало, на результат измерения весьма существенно будет влиять время отклика измерительной системы.
Для обеспечения достаточно хорошей воспроизводимости результатов измерений в настоящем стандарте установлен метод испытаний с использованием имитатора нагрузки с устройством торможения для гайковертов ударного и импульсного действия и метод испытаний без нагрузки для остальных машин, на которые распространяется настоящий стандарт. Вместе с тем для оценки вибрации на конкретном рабочем месте следует применять методы
ГОСТ 31192.2.
Испытательные коды по вибрации для ручных машин предназначены для того, чтобы получить (усреднением по ансамблю машин) оценку верхнего квартиля распределения параметра вибрации для машин данной модели в реальных условиях применения. Эта вибрация может существенно отличаться от измерения к измерению и зависит от многих факторов, в число которых входят оператор, применяющий машину, рабочее задание, состояние вставного инструмента или расходных материалов. Существенное влияние оказывает также и качество технического обслуживания машин. Особенно значительным влияние оператора и выполняемой операции становится в случае, если вибрация, создаваемая ручной машиной, невелика. Поэтому если в результате испытаний в соответствии с испытательным кодом по вибрации получено значение параметра вибрационной характеристики менее 2,5 м/с2, то для оценки вибрации на рабочем месте следует использовать значение 2,5 м/с2.
Для более точной оценки вибрации на рабочем месте применяют
ГОСТ 31192.2. Эта оценка может оказаться как выше, так и ниже той, что получена с использованием вибрационной характеристики, заявленной для данной ручной машины.
Настоящий стандарт устанавливает лабораторный метод определения параметров вибрационной характеристики гайковертов и шуруповертов (далее - машины), используемых для затягивания и ослабления резьбовых соединений, по измерениям вибрации на рукоятках. Метод предполагает испытания машины только в режиме затягивания резьбового соединения. Результаты испытаний могут быть использованы для сравнения разных моделей машины одного вида.
Настоящий стандарт распространяется на машины (см.
раздел 5) с пневматическим и иным приводом, ударного/импульсного действия, с трещоточным механизмом, с автоматическим отключением привода и с регулируемым моментом затяжки любого вида исполнения - прямых, угловых, с пистолетными или дугообразными рукоятками, с хвостовиком (гнездом) квадратной или иной формы размером от 6,3 до 40 мм для соединения с насадкой.
Настоящий стандарт не распространяется на гайковерты с реактивной штангой для компенсации реактивного вращающего момента.
В настоящем стандарте использованы нормативные ссылки на следующие стандарты:
ИСО 691:2005 Инструмент для сборки резьбовых соединений. Зевы гаечного и торцового ключей. Допуски для ключей общего применения (ISO 691:2005, Assembly tools for screws and nuts - Wrench and socket openings - Tolerances for general use)
ИСО 2787:1984 Машины пневматические вращательного и ударного действия. Эксплуатационные испытания (ISO 2787:1984, Rotary and percussive pneumatic tools - Performance tests)
ИСО 5349:2001 (все части) Вибрация. Измерения локальной вибрации и оценка ее воздействия на человека [ISO 5349:2001 (all parts), Mechanical vibration - Measurement and evaluation of human exposure to hand-transmitted vibration]
ИСО 5391:2003 Пневматические машины и инструмент. Словарь (ISO 5391:2003, Pneumatic tools and machines - Vocabulary)
ИСО 17066:2007 Инструмент гидравлический. Словарь (ISO 17066:2007, Hydraulic tools - Vocabulary)
ИСО 20643:2005 Вибрация. Машины ручные и с ручным управлением. Принципы определения параметров виброактивности (ISO 20643:2005, Mechanical vibration - Hand-held and hand-guided machinery - Principles for evaluation of vibration emission)
ЕН 12096:1997 Вибрация. Заявление и подтверждение вибрационных характеристик (EN 12096:1997, Mechanical vibration - Declaration and verification of vibration emission values)
3 Термины, определения и обозначения
3.1 Термины и определения
В настоящем стандарте применены термины по ИСО 5391, ИСО 17066 и ИСО 20643, а также следующие термины с соответствующими определениями.
3.1.1 устройство торможения (brake device): Устройство, предназначенное для обеспечения постоянной частоты вращения выходного вала ручной машины и поглощения энергии, передаваемой машиной.
3.1.2 ударный гайковерт (impact wrench): Ручная машина вращательного действия с двигателем и соединенным с ним молотком, которая посредством периодических соударений молотка с наковальней осуществляет затягивание гаек и болтов без создания значительного реактивного момента.
Примечание - Данное определение модифицировано по отношению к ИСО 5391:2003, статья 3.2.1.
3.1.3 трещоточный гайковерт (ratchet wrench): Угловой гайковерт, обеспечивающий последовательные повороты гнезда посредством храпового механизма.
[ИСО 5391:2003, статья 3.1.3.8]
3.1.4 шуруповерт (screwdriver): Ручная машина вращательного действия, с реверсом или без реверса, с насадкой на выходной шпиндель в виде биты под винт или шуруп.
[ИСО 5391:2003, статья 3.1.1]
Примечание - Шуруповерт и безударный гайковерт представляют собой, по сути, одну и ту же машину, но с разными насадками в виде биты и гнезда соответственно.
3.1.5 безударный гайковерт (nutrunner): Ручная машина вращательного действия, с реверсом или без реверса, с насадкой на выходной шпиндель в виде гнезда под гайку или болт.
Примечание 1 - Данное определение модифицировано по отношению к ИСО 5391:2003, статья 3.1.2.
Примечание 2 - Шуруповерт и безударный гайковерт представляют собой, по сути, одну и ту же машину, но с разными насадками в виде биты и гнезда соответственно.
3.1.6 гайковерт с автоматическим отключением привода (automatic shut-off nutrunner): Гайковерт, конструкция которого предусматривает отключение двигателя по достижении требуемого момента затяжки.
Примечание - Данное определение модифицировано по отношению к ИСО 5391:2003, статья 3.1.2.5.
3.1.7 импульсный гайковерт (impulse nutrunner): Ручная машина для затяжки резьбовых соединений с двигателем, управляющим работой гидравлического импульсного узла, который обеспечивает приложение к крепежному средству ступенчато возрастающего момента.
Примечание - Данное определение модифицировано по отношению к ИСО 5391:2003, статья 3.3.1.
3.1.8 гайковерт с регулируемым моментом затяжки (stall-type nutrunner): Гайковерт, создающий изменяемый момент затяжки за счет регулирования давления воздуха.
Примечание - Данное определение модифицировано по отношению к ИСО 5391:2003, статья 3.1.2.3.
3.2 Обозначения
В настоящем стандарте применены следующие обозначения.
Обозначение | Величина | Единица измерения |
ahw | Среднеквадратичное значение корректированного ускорения в одном направлении измерений | м/с2 |
ahv | Полное среднеквадратичное значение ускорения | м/с2 |
| Среднее арифметическое значений ahv по нескольким измерениям для одного оператора и одного положения кисти руки | м/с2 |
ah | Среднее арифметическое значений  по всем операторам для одного положения кисти руки | м/с2 |
| Среднее арифметическое значений ah по нескольким ручным машинам для одного положения кисти руки | м/с2 |
ahd | Заявленное значение параметра вибрационной характеристики | м/с2 |
sn-1 | Выборочное стандартное отклонение для серии измерений | м/с2 |
| Стандартное отклонение воспроизводимости | м/с2 |
Cv | Коэффициент вариации в серии измерений | - |
K | Параметр, характеризующий неопределенность измерения (расширенная неопределенность) | м/с2 |
4 Основополагающие стандарты и испытательные коды по вибрации
Настоящий стандарт основан на требованиях основополагающего стандарта ИСО 20643 к испытательным кодам по вибрации для ручных машин, в том числе в части структуры стандарта, за исключением приложений.
В
приложении A приведена рекомендуемая форма протокола испытаний, в
приложении B - процедура определения расширенной неопределенности
K, в
приложении C - описание конструкции устройства торможения.
5 Машины, на которые распространяется настоящий стандарт
Настоящий стандарт распространяется на машины, предназначенные для затягивания и ослабления резьбовых соединений. Он не распространяется на одноударные гайковерты, в которых вращающаяся масса ускоряется до достижения заданной угловой скорости, после чего происходит ее соединение с затягиваемым средством крепежа.
Примеры типичных машин, на которые распространяется настоящий стандарт, показаны на рисунках 1 - 10.
Рисунок 1 - Ударный/импульсный гайковерт с рукояткой
пистолетного типа
Рисунок 2 - Ударный/импульсный гайковерт с рукояткой
пистолетного типа и прямой поддерживающей рукояткой
Рисунок 3 - Ударный/импульсный гайковерт с дугообразными
основной и поддерживающей рукоятками
Рисунок 4 - Ударный/импульсный гайковерт с дугообразной
основной рукояткой и прямой поддерживающей рукояткой
Рисунок 5 - Трещоточный гайковерт
Рисунок 6 - Угловой гайковерт
Рисунок 7 - Прямой шуруповерт
Рисунок 8 - Шуруповерт с поддерживающей рукояткой
Рисунок 9 - Шуруповерт с рукояткой пистолетного типа
Рисунок 10 - Шуруповерт с центрированной рукояткой
пистолетного типа
| | Применение на добровольной основе раздела 6 обеспечивает соблюдение требований технического регламента Таможенного союза "О безопасности машин и оборудования" (ТР ТС 010/2011) и осуществления оценки (подтверждения) соответствия продукции (Решение Комиссии Таможенного союза от 18.10.2011 N 823). | |
6.1 Направления измерений
Измерения локальной вибрации проводят для каждой рукоятки одновременно в трех ортогональных направлениях, показанных на
рисунках 11 -
20.
6.2 Точки измерений
Измерения проводят в зонах обхвата, в которых оператор удерживает машину и прилагает силу подачи при ее нормальном использовании. Для одноручных машин измерения проводят в одной точке.
Для каждой из зон обхвата предпочтительным является расположение датчиков вибрации по возможности ближе к кисти руки оператора между большим и указательным пальцами.
Если установка датчиков вибрации в предпочтительных точках измерений невозможна, то используют дополнительные точки измерений, расположенные на той же стороне рукоятки, что и предпочтительные точки, и как можно ближе к ним.
Для антивибрационных рукояток используют те же предпочтительные и дополнительные точки измерений.
Предпочтительные и дополнительные точки измерений для машин разных типов, на которые распространяется настоящий стандарт, показаны на
рисунках 11 -
20.
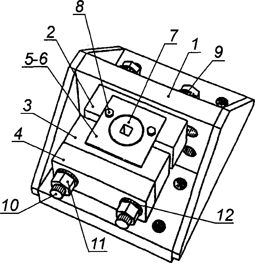
Ударные/импульсные гайковерты массой менее 2 кг обычно в процессе работы удерживают одной рукой за рукоятку, где расположена кнопка пуска, поэтому для таких машин измерения проводят только на одной рукоятке. Если масса машины составляет 2 кг и более, то ее, как правило, при работе удерживают обеими руками, поэтому измерения проводят в двух точках, соответствующих положениям каждой кисти. Если у такой машины специальная поддерживающая рукоятка отсутствует, то в качестве второй точки измерений выбирают точку на корпусе машины вблизи ее соединения со вставным инструментом (см. рисунок 11). Для аккумуляторных машин массу машины определяют с учетом массы типовой аккумуляторной батареи.
1 - предпочтительная точка измерений; 2 - дополнительная
точка измерений
Рисунок 11 - Точки и направления измерений
для ударного/импульсного гайковерта с рукояткой
пистолетного типа
1 - предпочтительная точка измерений; 2 - дополнительная
точка измерений
Рисунок 12 - Точки и направления измерений
для ударного/импульсного гайковерта с рукояткой пистолетного
типа и прямой поддерживающей рукояткой
1 - предпочтительная точка измерений; 2 - дополнительная
точка измерений
Рисунок 13 - Точки и направления измерений
для ударного/импульсного гайковерта с дугообразными основной
и поддерживающей рукоятками
1 - предпочтительная точка измерений; 2 - дополнительная
точка измерений
Рисунок 14 - Точки и направления измерений
для ударного/импульсного гайковерта с дугообразной основной
рукояткой и прямой поддерживающей рукояткой
1 - предпочтительная точка измерений; 2 - дополнительная
точка измерений
Рисунок 15 - Точки и направления измерений
для трещоточного гайковерта
1 - предпочтительная точка измерений; 2 - дополнительная
точка измерений
Рисунок 16 - Точки и направления измерений
для углового гайковерта
1 - предпочтительная точка измерений; 2 - дополнительная
точка измерений
Рисунок 17 - Точки и направления измерений для шуруповерта
с поддерживающей рукояткой
1 - предпочтительная точка измерений; 2 - дополнительная
точка измерений
Рисунок 18 - Точки и направления измерений
для прямого шуруповерта
1 - предпочтительная точка измерений; 2 - дополнительная
точка измерений
Рисунок 19 - Точки и направления измерений для шуруповерта
с рукояткой пистолетного типа
1 - предпочтительная точка измерений; 2 - дополнительная
точка измерений
Рисунок 20 - Точки и направления измерений для шуруповерта
с центрированной рукояткой пистолетного типа
6.3 Измеряемые параметры вибрации
Измеряемые параметры вибрации - по ИСО 20643 (подраздел 6.3).
Для каждой зоны обхвата должно быть определено и отражено в протоколе испытаний полное среднеквадратичное значение ускорения согласно ИСО 20643 (подраздел 6.4). Допускается проводить измерения полной вибрации только для одной зоны обхвата, если известно (например, в результате предварительных испытаний с участием одного оператора с серией из пяти измерений), что для нее среднеквадратичное значение полного ускорения выше, чем для другой зоны обхвата, более чем на 30%.
Полное среднеквадратичное значение ускорения рассчитывают для каждой серии измерений по формуле

(1)
| | Применение на добровольной основе раздела 7 обеспечивает соблюдение требований технического регламента Таможенного союза "О безопасности машин и оборудования" (ТР ТС 010/2011) и осуществления оценки (подтверждения) соответствия продукции (Решение Комиссии Таможенного союза от 18.10.2011 N 823). | |
7.1 Общие положения
Общие требования к средствам измерений - по ИСО 20643 (подраздел 7.1).
7.2 Датчики вибрации
7.2.1 Требования к датчикам вибрации
Общие требования к датчикам вибрации - по ИСО 20643 (пункт 7.2.1).
Общая масса датчика вибрации с устройством крепления должна быть достаточно мала, чтобы не оказывать влияния на результаты измерений.
Контроль выполнения данного требования особенно важен для машин с легкими пластиковыми рукоятками (см. ИСО 5349-2).
7.2.2 Крепление датчиков вибрации
Датчик вибрации или переходный блок, в случае его использования, должен быть жестко закреплен на поверхности рукоятки машины.
В случае, если измерения проводят с использованием трех однокомпонентных датчиков вибрации, их устанавливают с помощью переходного блока (кубика).
Измерительные оси (двух однокомпонентных датчиков или две оси трехкомпонентного датчика), направленные параллельно вибрирующей поверхности, должны находиться на расстоянии от нее не более 10 мм.
При измерениях вибрации ударных гайковертов настоятельно рекомендуется использовать механические фильтры.
7.3 Фильтр частотной коррекции
Требования к фильтру частотной коррекции - по ИСО 5349-1.
Требования к устройству интегрирования - по ИСО 20643 (подраздел 7.4). Для каждого измерения время интегрирования должно быть не менее 8 с, что согласуется с длительностью работы машины во время испытаний (см.
8.4.4). Исключением являются импульсные гайковерты, для которых время интегрирования не должно превышать 5 с, чтобы не допустить перегрева гидравлического импульсного узла.
7.5 Вспомогательное оборудование
Для машин с пневматическим приводом давление сжатого воздуха измеряют манометром, обеспечивающим точность измерения не менее 0,1 бар <1>.
--------------------------------
<1> 1 бар = 0,1 МПа = 0,1 Н/мм2 = 105 Н/м2.
Для машин с гидравлическим приводом расход жидкости измеряют расходомером, обеспечивающим точность измерения не менее 0,25 л/мин.
Для машин с электрическим приводом напряжение питания измеряют вольтметром, обеспечивающим точность измерения не менее 3%.
Частоту вращения гайковертов и шуруповертов, конструкция которых не содержит механизм ударного, импульсного или трещоточного типа и испытываемых без нагрузки, измеряют тахометром или на основе частотного анализа измеряемого сигнала вибрации с точностью не менее 5%. В случае использования тахометра его масса должна быть достаточно мала, чтобы не оказывать влияния на измеряемую вибрацию.
Частоту ударов (импульсов) машин, испытания которых проводят с помощью устройства торможения, определяют на основе анализа сигнала вибрации или другими способами с точностью не менее 1 Гц.
7.6 Калибровка
Калибровку выполняют в соответствии с ИСО 20643 (подраздел 7.6).
| | Применение на добровольной основе раздела 8 обеспечивает соблюдение требований технического регламента Таможенного союза "О безопасности машин и оборудования" (ТР ТС 010/2011) и осуществления оценки (подтверждения) соответствия продукции (Решение Комиссии Таможенного союза от 18.10.2011 N 823). | |
8 Условия испытаний и режим работы машины во время испытаний
8.1 Общие положения
Для испытаний используют новую смазанную машину, обеспеченную соответствующим техническим уходом и снабженную соответствующим вставным инструментом. В процессе испытаний машину удерживают способом, характерным для операций затягивания и ослабления резьбовых соединений. Если для машины данной модели изготовителем рекомендован прогрев, то перед началом испытаний ее выдерживают установленное время во включенном состоянии.
Машины ударного и импульсного типов испытывают на нагрузочном устройстве торможения при вращении шпинделя по часовой стрелке. Допускается испытание машин при вращении шпинделя против часовой стрелки, если их конструктивные особенности, например наличие механизма автоматического отключения привода, делают непрерывное вращение шпинделя по часовой стрелке невозможным.
Гайковерты и шуруповерты без ударного/импульсного механизма, а также трещоточные гайковерты испытывают при вращении шпинделя по часовой стрелке без нагрузки. В процессе испытаний машина должна быть снабжена стандартным гнездом или битой, размеры которых являются типичными для испытуемой машины.
Одноручные машины в процессе испытаний удерживают одной рукой. Измерения для них проводят только в одной точке и при одном положении кисти руки.
Питание машины во время испытаний должно соответствовать номинальному режиму работы, установленному изготовителем. Работа машины в процессе испытаний должна быть стабильной.
8.2.1 Пневматические машины
В процессе испытаний машина работает при номинальном давлении сжатого воздуха в соответствии с рекомендациями изготовителя. Работа машины должна быть стабильной и плавной. Давление сжатого воздуха измеряют и результат измерения заносят в протокол испытаний.
Сжатый воздух подают по шлангу диаметром, рекомендуемым изготовителем, и длиной 3 м. Шланг должен быть соединен с машиной через резьбовой переходник, предпочтительно тот, что входит в комплектацию машины, и закреплен хомутом. Устройства для быстрого соединения шланга с машиной при испытаниях не применяют, поскольку их масса способна повлиять на измеряемую вибрацию.
Давление сжатого воздуха поддерживают постоянным в соответствии с рекомендациями изготовителя и измеряют согласно ИСО 2787 непосредственно за соединительным шлангом. Давление в процессе испытаний не должно отклоняться от значения, установленного изготовителем, более чем на 0,2 бар.
8.2.2 Гидравлические машины
В процессе испытаний машина работает при номинальном расходе жидкости в соответствии с рекомендациями изготовителя. Работа машины должна быть стабильной и плавной. Перед началом измерений машину прогревают в течение приблизительно 10 мин. Расход жидкости измеряют и результат измерения заносят в протокол испытаний.
8.2.3 Электрические машины
В процессе испытаний машина работает при номинальном напряжении питания в соответствии с рекомендациями изготовителя. Работа машины должна быть стабильной и плавной. Напряжение питания измеряют и результат измерения заносят в протокол испытаний.
8.3 Другие влияющие величины
В процессе испытаний измеряют и регистрируют в протоколе испытаний значения следующих величин, влияющих на измеряемую вибрацию:
- частоту вращения шпинделя для гайковертов, работающих без нагрузки;
- частоту ударов/импульсов для машин, нагруженных устройством торможения.
8.4 Факторы, характеризующие условия испытаний
8.4.1 Условия испытаний для машин с ударным/импульсным механизмом
В процессе испытаний машину нагружают с помощью устройства торможения. Частота вращения шпинделя должна быть не более 10 мин
-1. Примеры конструкций устройств торможения приведены в
приложении C.
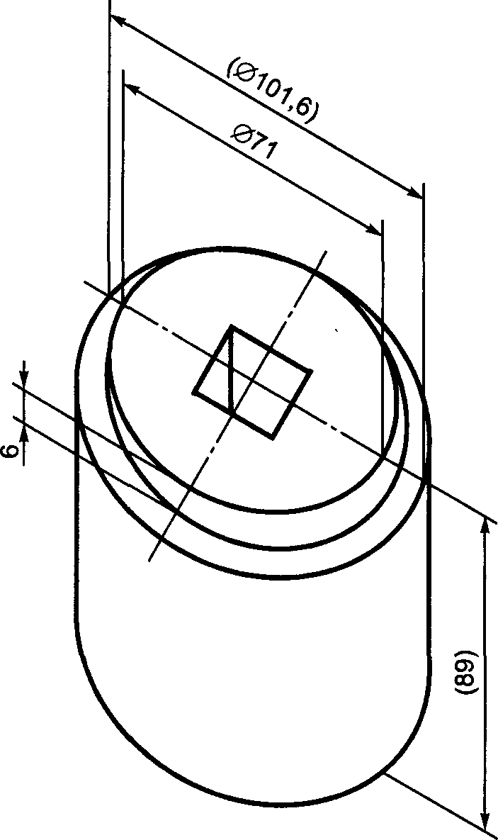
8.4.2 Выбор размеров блоков торможения и соединительных муфт
Помимо приложения тормозящего момента к шпинделю машины, устройство торможения должно также имитировать инерционную нагрузку на вал, характерную для реального применения машины, для чего для конкретной машины подбирают соответствующие размеры соединительной муфты.
В
приложении C приведены сочетания размеров муфты и блока торможения только для наиболее типичных размеров хвостовика квадратной формы:
- для машин, хвостовик которых имеет выступ квадратной формы размером 6,3; 10, 12,5 и 16 мм или гнездо шестигранной формы размером 6,3 мм ("Устройство торможения малое");
- для машин, хвостовик которых имеет выступ квадратной формы размером 20; 25 и 40 мм ("Устройство торможения большое").
Для других машин может потребоваться применение муфты и блока торможения других размеров. Следует рассмотреть возможность применения специального адаптера между шпинделем и гнездом муфты. Длина адаптера должна быть минимальной. Для хвостовика с гнездом размеры последнего должны быть в пределах допуска по ИСО 691. Все применяемые адаптеры и удлинители должны быть описаны в протоколе испытаний.
Примечание - Применение удлинителя или адаптера обычно ведет к повышению вибрации.
8.4.3 Сила подачи
В процессе испытаний оператор удерживает машину, прилагая минимальную силу подачи, необходимую для обеспечения стабильной работы машины в соответствии с рекомендациями изготовителя.
8.4.4 Процедура испытаний
Для каждого оператора (см.
8.5) выполняют серию из пяти измерений в условиях испытаний по
8.2.
Полная последовательность испытаний показана в рекомендуемой форме протокола испытаний
(приложение A).
В процессе испытаний каждое измерение выполняют после достижения стабильного режима работы машины в течение времени, равному времени интегрирования по
7.4.
Все машины, за исключением машин ударного и импульсного типа, испытывают оснащенными насадками стандартных размеров без нагрузки. Машины ударного и импульсного типов испытывают с применением устройств, описанных в
8.4.1 и
8.4.2.
Для машин ударного/импульсного типа с автоматическим отключением привода испытания проводят при обратном вращении шпинделя (против часовой стрелки). Машины, для которых испытания проводят при вращении шпинделя против часовой стрелки, удерживают за основную рукоятку (с кнопкой пуска) левой рукой.
Типичные рабочие позы оператора при испытании гайковертов и шуруповертов ударного/импульсного типа с нагружением устройством торможения показаны на
рисунках 21 -
25. Аналогичное положение рук и кистей должно соблюдаться при испытании машин без нагрузки. Для машин с рукояткой пистолетного типа, испытываемых без нагрузки, положение выходного шпинделя должно быть горизонтальным.
В испытаниях участвуют три оператора. Поскольку оператор оказывает существенное влияние на вибрацию машины, к испытаниям могут допускаться только те из них, что имеют достаточный опыт работы с гайковертами/шуруповертами и способны правильно выполнять рабочие операции с их применением.
Примечание - Рука оператора расположена перпендикулярно основной рукоятке в плоскости двигателя и выходного шпинделя.
Рисунок 21 - Рабочая поза оператора при испытании машины
с прямой основной рукояткой и угловой головкой
Примечание - Рука оператора расположена горизонтально и перпендикулярно основной рукоятке.
Рисунок 22 - Рабочая поза оператора при испытании машины
с прямой основной рукояткой и прямой головкой
Примечание - Машины массой менее 2 кг удерживают одной рукой.
Рисунок 23 - Рабочая поза оператора при испытании машины
с рукояткой пистолетного типа без поддерживающей рукоятки
Примечание - Машины массой 2 кг и более удерживают двумя руками.
Рисунок 24 - Рабочая поза оператора при испытании машины
с рукояткой пистолетного типа без поддерживающей рукоятки
Примечание - Рука, удерживающая опорную рукоятку, расположена параллельно, насколько это возможно, валу двигателя.
Рисунок 25 - Рабочая поза оператора при испытании машин
| | Применение на добровольной основе раздела 9 обеспечивает соблюдение требований технического регламента Таможенного союза "О безопасности машин и оборудования" (ТР ТС 010/2011) и осуществления оценки (подтверждения) соответствия продукции (Решение Комиссии Таможенного союза от 18.10.2011 N 823). | |
9 Результаты измерений и оценка их достоверности
9.1 Регистрируемые значения параметров вибрации
Для каждой машины, представленной на испытания, выполняют по пять измерений вибрации с участием каждого из операторов.
Результаты измерений для каждой машины заносят в протокол испытаний, как показано в
приложении A (см. также
6.4).
Для данных, полученных с участием каждого из операторов и в каждой точке измерений, рассчитывают стандартное отклонение sn-1, а также коэффициент вариации Cv по формулам

(2)

(3)
где ahv i - полное среднеквадратичное значение ускорения в i-м измерении серии из пяти измерений, м/с2;

- среднеарифметическое значение
ahv i в серии из пяти измерений, м/с
2;
n - число измерений в серии измерений, n = 5.
Если окажется, что Cv превышает 0,15 или sn-1 превышает 0,3 м/с2, то необходимо провести тщательную проверку правильности выполнения процедуры испытаний, и в случае выявления ошибок повторить измерения. Если ошибок в проведении испытаний не обнаружено, то результаты измерений считают достоверными.
9.2 Заявляемые и подтверждаемые параметры вибрационной характеристики машины
Полученные в каждой точке измерений для каждого оператора значения

, являющиеся среднеарифметическими значениями
ahvr в сериях из пяти измерений, усредняют по трем операторам, в результате чего получают значение
ah.
Если проводят испытания единичной машины, то в качестве заявляемого значения ahd принимают максимальное из значений ah по всем точкам измерений (двум точкам для машины с двумя рукоятками и одной точке для одноручной машины).
Если проводят испытания партии машин, то число испытуемых машин должно быть не менее трех. Для каждой точки измерений по результатам измерений
ah для всех машин вычисляют их среднеарифметическое значение

. В качестве заявляемого значения
ahd принимают максимальное из значений

по всем точкам измерений (двум точкам для машины с двумя рукоятками и одной точке для одноручной машины).
Параметры вибрационной характеристики ahd и K должны быть представлены в соответствии с процедурой, установленной ЕН 12096 <1>. Если первой значащей цифрой ahd является единица, то значение ahd должно быть представлено с точностью до двух с половиной значащих цифр (например, 1,20 м/с2; 14,5 м/с2). Если первой значащей цифрой ahd является любая цифра, кроме единицы, то значение ahd должно быть представлено с точностью до двух значащих цифр (например, 0,93 м/с2; 8,9 м/с2). В представлении K число цифр после десятичной запятой должно быть таким же, как и в представлении ahd.
--------------------------------
<1> Процедура, установленная европейским стандартом, без изменений перенесена в
ГОСТ 12.1.012-2004 "Система стандартов безопасности труда. Вибрационная безопасность. Общие требования".
Значение
K определяют в соответствии с ЕН 12096 на основе стандартного отклонения воспроизводимости

(см.
приложение B).
| | Применение на добровольной основе раздела 10 обеспечивает соблюдение требований технического регламента Таможенного союза "О безопасности машин и оборудования" (ТР ТС 010/2011) и осуществления оценки (подтверждения) соответствия продукции (Решение Комиссии Таможенного союза от 18.10.2011 N 823). | |
В протоколе испытаний указывают следующие данные:
a) стандарт, в соответствии с которым проведены испытания (т.е. дают ссылку на настоящий стандарт);
b) название испытательной лаборатории;
c) дату испытаний и лицо, ответственное за их проведение;
d) сведения о машине (изготовитель, модель, заводской номер и т.п.);
e) заявляемые параметры вибрационной характеристики ahd и K;
f) присоединяемые или вставные инструменты;
g) параметры системы питания (давление сжатого воздуха, электрическое напряжение и т.п.);
h) средства измерений (датчики, устройство регистрации данных, аппаратное и программное обеспечение);
i) точки и способы установки датчиков, направления измерений и все показания, снимаемые в процессе испытаний;
j) условия работы машины в процессе испытаний и значения величин в соответствии с
8.2 и
8.3;
Если положение датчиков или другие условия измерений были отличны от установленных настоящим стандартом, то эти отличия должны быть приведены в протоколе испытаний вместе с их обоснованием.
(рекомендуемое)
ФОРМА ПРОТОКОЛА ИСПЫТАНИЙ ДЛЯ ОПРЕДЕЛЕНИЯ ВИБРАЦИОННОЙ
АКТИВНОСТИ ГАЙКОВЕРТОВ И ШУРУПОВЕРТОВ
Общие сведения
Испытания проведены в соответствии с ГОСТ Р ИСО 28927-2 "Вибрация. Определение параметров вибрационной характеристики ручных машин. Часть 1. Гайковерты ударные и безударные и шуруповерты" |
Ответственные за испытания |
Испытательная лаборатория: | Испытания провел: Протокол составил: Дата: |
Объект испытаний и заявляемая вибрационная характеристика |
Испытуемая машина (тип, изготовитель, модель, заводской номер, тип привода): | Заявляемая вибрационная характеристика (ahd, K) и поправки (если применялись): |
Средства измерений |
Датчики (изготовитель, тип, точки установки, метод крепления) с приложением фотографий; механический фильтр (если использовался): |
Средства измерений вибрации: | Другое оборудование: |
Условия и результаты испытаний |
Условия испытаний (метод испытаний, размеры насадок, трущийся материал в устройстве торможения, поза оператора и положение его рук) с приложением фотографий: |
Частота вращения шпинделя (только для машин, испытываемых без нагрузки): | Параметры питания (давление сжатого воздуха, расход жидкости, напряжение питания): |
Другие величины: |
Результаты измерений для одной машины
Дата: | Модель машины: | Заводской номер: | Частота ударов/вращения: |
| Основная рукоятка (точка измерений 1) | Поддерживающая рукоятка (точка измерений 2) |
Измерение | Оператор | Измерение | ahw x | ahw y | ahw z | ahv | По операторам | ahw x | ahw y | ahw z | ahv | По операторам |
ahv | | Cv | | sn-1 | Cv |
1 | | 1 | | | | | | | | | | | | | | |
2 | | 2 | | | | | | | | | |
3 | | 3 | | | | | | | | | |
4 | | 4 | | | | | | | | | |
5 | | 5 | | | | | | | | | |
6 | 2 | 1 | | | | | | | | | | | | | | |
7 | 2 | 2 | | | | | | | | | |
8 | 2 | 3 | | | | | | | | | |
9 | 2 | 4 | | | | | | | | | |
10 | 2 | 5 | | | | | | | | | |
11 | 3 | 1 | | | | | | | | | | | | | | |
12 | 3 | 2 | | | | | | | | | |
13 | 3 | 3 | | | | | | | | | |
14 | 3 | 4 | | | | | | | | | |
15 | 3 | 5 | | | | | | | | | |
| | | ah для точки измерений 1: | ah для точки измерений 2: |
| | | sR для точки измерений 1: | sR для точки измерений 2: |
(обязательное)
НЕОПРЕДЕЛЕННОСТЬ ИЗМЕРЕНИЯ
B.1 Общие положения
Параметр K, выражающийся в м/с2, характеризует неопределенность заявленного параметра ahd, а в случае испытания партии машин - изменения этого параметра внутри партии.
Сумма ahd и K представляет собой тот предел, ниже которого с большой степенью вероятности находится параметр вибрации единичной машины и вибрационные параметры заданной большой доли машин в партии.
B.2 Испытания единичной машины
В случае испытаний единичной машины параметр K рассчитывают по формуле
где

- стандартное отклонение воспроизводимости. В качестве оценки

можно принять большее из двух значений, получаемых по формулам:
a)

;
b) sR = 0,06ahd + 0,3.
Примечание 1 - Формула, приведенная в перечислении b), является эмпирической и может рассматриваться как определяющая нижний предел возможных значений sR.
Для расчетов по формуле, приведенной в перечислении a), используют данные в точке измерений, где получено максимальное значение ah, при этом

- среднее арифметическое значение выборочных дисперсий

, рассчитанных по результатам пяти измерений для каждого
j-го оператора (в
9.2 srec j обозначено
sn-1) по формуле
где n - число измерений для каждого оператора, равное пяти;
ahv ji - значение полной вибрации для j-го оператора в i-м измерении;

- значение полной вибрации для
j-го оператора, усредненное по пяти измерениям;

- выборочная дисперсия результатов измерений по трем операторам, рассчитываемая по формуле
где m - число операторов, равное трем;

- значение полной вибрации для
j-го оператора, усредненное по пяти измерениям;
ah - значение полной вибрации, усредненной по трем операторам.
Примечание 2 - Значение sR представляет собой оценку стандартного отклонения воспроизводимости результатов испытаний, выполненных в разных испытательных лабораториях. В настоящее время собрано недостаточно данных о воспроизводимости результатов испытаний, выполняемых в соответствии с настоящим стандартом, поэтому для оценки sR использованы характеристики повторяемости результатов испытаний для отдельных моделей машин согласно ЕН 12096.
B.3 Испытания партии машин
В случае испытаний партии машин параметр K рассчитывают по формуле
где

- параметр, характеризующий разброс значений вибрационного параметра по ансамблю машин. В качестве оценки

можно принять большее из двух значений, рассчитываемых по формулам:
a)

;
b) st = 0,06ahd + 0,3.
Вычисления по указанным формулам выполняют по данным измерений в точке, где получено максимальное значение

, при этом:

- значения

для отдельных машин, вычисленные в соответствии с
B.2 и усредненные по всем машинам партии;

- выборочная дисперсия, характеризующая разброс значений вибрационного параметра в партии и вычисляемая по формуле
где ahl - измеренное значение ah для l-й машины;

- среднее арифметическое значений
ahli по всем машинам;
p - число испытуемых машин (p >= 3).
(обязательное)
СБОРОЧНЫЕ ЧЕРТЕЖИ И СПЕЦИФИКАЦИИ УСТРОЙСТВА ТОРМОЖЕНИЯ
- стального основания, в котором устанавливают внутренний блок торможения;
- двух блоков торможения, изготовленных из прессованного волокнита
<1> (с мелкими волокнами) или, по более современной технологии, из алюминия с покрытием цилиндрической поверхности фрикционным материалом (см. сноски к
таблицам C.1 и
C.2);
- стальной пластины для закрепления внешнего блока торможения;
- двух стальных накладок;
- муфты с гнездом, приводимой во вращение шпинделем ручной машины;
- болтов с пружинными шайбами и гаек, обеспечивающих необходимое прижатие муфты к блоку торможения;
- крепежных винтов для предотвращения перемещений муфты в осевом направлении.
--------------------------------
<1> Прессованный волокнит в качестве материала для блоков торможения был рекомендован в международном стандарте ИСО 8662-7:1997, предшествующем ИСО 28927-2:2009.
Пружинные шайбы устанавливают так, чтобы обеспечивать постоянное давление в области контакта. Для этого они должны быть сжаты примерно наполовину при достижении выходным валом ручной машины заданной частоты вращения.
Чтобы избежать интенсивного нагрева трущихся частей, может потребоваться в дополнение к небольшим отверстиям в нижней накладке обеспечить дополнительное воздушное охлаждение.
Установленное устройство торможения не должно иметь существенных резонансов, способных оказать влияние на результат испытаний. Для этого стальное основание рекомендуется жестко закрепить болтами на бетонном блоке массой не менее 400 кг.
Примечание - Обозначения см. в таблице C.1.
Рисунок C.1 - Устройство торможения большое для машин
с размерами хвостовика 20, 25 и 40 мм
Позиция | Деталь | N | Материал | Число деталей для разных размеров хвостовика, мм |
20 | 25 | 40 |
1 | Основание | 1001 | Конструкционная сталь | 1 | 1 | 1 |
2 | Блок торможения большой | 1002-01 | | 1 | - | - |
2 | Блок торможения большой | 1002-02 | - | 1 | 1 |
3 | Блок торможения большой | 1002-03 | 1 | - | - |
3 | Блок торможения большой | 1002-04 | - | 1 | 1 |
4 | Пластина большая | 1004 | Инструментальная сталь | 1 | 1 | 1 |
5 | Накладка большая верхняя | 1006-01 | Сталь | 1 | - | - |
5 | Накладка большая верхняя | 1006-02 | Сталь | - | 1 | 1 |
6 | Накладка большая нижняя | 1007 | Сталь | 1 | 1 | 1 |
7 | Муфта с гнездом | 1011-01 | Сталь | 1 | - | - |
7 | Муфта с гнездом | 1011-02 | Сталь | - | 1 | - |
7 | Муфта с гнездом | 1012 | Сталь | - | - | 1 |
8 | Болт М8 x 100 | | Класс прочности 8.8 | 2 | 2 | 2 |
9 | Шайба пружинная тарельчатая 40/20,4/2,25 (прибл.) | | | 40 | 40 | 40 |
10 | Болт М20 x 250 | | Класс прочности 8.8 | 4 | 4 | 4 |
11 | Гайка М20 | | Класс прочности 8.8 | 4 | 4 | 4 |
12 | Плоская шайба 37 x 21,3 x 3,3 (прибл.) | | Сталь | 8 | 8 | 8 |
<a> Из волокнита (с мелкими волокнами) или алюминия с покрытием фрикционным материалом, для которого разность между статическим и динамическим коэффициентами трения не должна превышать 20%. <1> Соответствует ГОСТ 3057-90 "Пружины тарельчатые. Общие технические условия". |

Примечание - Обозначения см. в таблице C.2.
Рисунок C.2 - Устройство торможения малое для машин
с размерами хвостовика 6,3; 10; 12,5 и 16 мм
Позиция | Деталь | N | Материал | Число деталей для разных размеров хвостовика, мм |
Под выступ квадратной формы | Под шестигранное гнездо |
6,3 | 6,3 | 10 | 12,5 | 16 | 6,3 | 6,3 |
1 | Основание | 1001 | Конструкционная сталь | 1 | 1 | 1 | 1 | 1 | 1 | 1 |
2 | Блок торможения малый | 1003-01 | | - | 1 | - | - | - | - | - |
2 | Блок торможения малый | 1003-02 | | - | - | 1 | - | - | - | - |
2 | Блок торможения малый | 1003-03 | | - | - | - | 1 | 1 | - | - |
3 | Блок торможения малый | 1003-04 | | - | 1 | - | - | - | - | - |
3 | Блок торможения малый | 1003-05 | | - | - | 1 | - | - | - | - |
3 | Блок торможения малый | 1003-06 | | - | - | - | 1 | 1 | - | - |
3 | Блок торможения малый | 1003-07 | | 1 | - | - | - | - | - | - |
3 | Блок торможения малый | 1003-08 | | 1 | - | - | - | - | - | - |
3 | Блок торможения малый | 1003-09 | | - | - | - | - | - | 1 | - |
3 | Блок торможения малый | 1003-10 | | - | - | - | - | - | 1 | - |
3 | Блок торможения малый | 1003-11 | | - | - | - | - | - | - | 1 |
3 | Блок торможения малый | 1003-12 | | - | - | - | - | - | - | 1 |
4 | Пластина малая | 1005 | Инструментальная сталь | 1 | 1 | 1 | 1 | 1 | 1 | 1 |
5 | Накладка малая верхняя | 1008-01 | Сталь | 1 | 1 | 1 | - | - | 1 | 1 |
5 | Накладка малая верхняя | 1008-02 | Сталь | - | - | - | 1 | 1 | - | - |
5 | Накладка малая верхняя | 1008-03 | Сталь | - | - | - | - | - | 1 | 1 |
6 | Накладка малая нижняя | 1009 | Сталь | 1 | 1 | 1 | 1 | 1 | 1 | 1 |
7 | Муфта с гнездом | 1010-01 | Сталь | - | 1 | - | - | - | - | - |
7 | Муфта с гнездом | 1010-02 | Сталь | - | - | 1 | - | - | - | - |
7 | Муфта с гнездом | 1010-03 | Сталь | - | - | - | 1 | - | - | - |
7 | Муфта с гнездом | 1010-04 | Сталь | - | - | - | - | 1 | - | - |
7 | Муфта с гнездом | 1010-05 | Сталь | 1 | - | - | - | - | - | - |
7 | Муфта с гнездом | 1013-01 | Сталь | - | - | - | - | - | 1 | - |
7 | Муфта с гнездом | 1013-02 | Сталь | - | - | - | - | - | - | 1 |
8 | Болт М6 x 60 | | Класс прочности 8.8 | 2 | 2 | 2 | 2 | 2 | 2 | 2 |
9 | Шайба пружинная 31,5/16,3/1,76 (прибл.) | | | 20 | 20 | 20 | 20 | 20 | 20 | 20 |
10 | Болт М16 x 200 | | Класс прочности 8.8 | 2 | 2 | 2 | 2 | 2 | 2 | 2 |
11 | Гайка М16 | | Класс прочности 8.8 | 2 | 2 | 2 | 2 | 2 | 2 | 2 |
12 | Плоская шайба 30 x 17,3 x 3,3 (прибл.) | | Сталь | 4 | 4 | 4 | 4 | 4 | 4 | 4 |
<a> Из волокнита (с мелкими волокнами) или алюминия с покрытием фрикционным материалом, для которого разность между статическим и динамическим коэффициентами трения не должна превышать 20%. <1> Соответствует ГОСТ 3057-90 "Пружины тарельчатые. Общие технические условия". |
Деталь | Материал | Эскиз |
Основание 1001 | Конструкционная сталь | |
Рисунок C.3 - Основание 1001
Деталь | Материал | Эскиз |
Блок торможения большой 1002 | Волокнит (с мелкими волокнами) или алюминий с покрытием фрикционным материалом, для которого разность между статическим и динамическим коэффициентами трения не должна превышать 20% | |
N | No. | A | B | C | D | R | |
1002-1 | 43 | 104 | 45 | 9 | 35 |
1002-02 | 43 | 104 | 35 | 9 | 51 |
1002-03 | - | - | - | - | 35 |
1002-04 | - | - | - | - | 51 |
|
Рисунок C.4 - Блок торможения большой 1002
Деталь | Материал | Эскиз |
Блок торможения малый 1002 | Волокнит (с мелкими волокнами) или алюминий с покрытием фрикционным материалом, для которого разность между статическим и динамическим коэффициентами трения не должна превышать 20% | |
| No. | A | B | C | D | R | |
1003-7 | 34 | 62 | 38 | 7 | 7 |
1003-8 | - | - | - | - | 7 |
1003-9 | 34 | 62 | 38 | 7 | 5 |
1003-10 | - | - | - | - | 5 |
1003-11 | 34 | 62 | 38 | 7 | 4 |
1003-12 | - | - | - | - | 4 |
1003-01 | 34 | 62 | 38 | 7 | 11,25 |
1003-02 | 34 | 62 | 38 | 7 | 16 |
1003-03 | 34 | 62 | 30 | 7 | 25,5 |
1003-04 | - | - | - | - | 11,25 |
1003-05 | - | - | - | - | 16 |
1003-06 | - | - | - | - | 25,5 |
|
Рисунок C.5 - Блок торможения большой 1003
Деталь | Материал | Эскиз |
Пластина большая 1004 | Инструментальная сталь | |
Рисунок C.6 - Пластина большая 1004
Деталь | Материал | Эскиз |
Пластина малая 1005 | Инструментальная сталь | |
Рисунок C.7 - Пластина малая 1005
Деталь | Материал | Эскиз |
Накладка большая верхняя 1006 | Сталь | |
| No. | A | |
1006-01 | 46 |
1006-02 | 75 |
| | |
Рисунок C.8 - Накладка большая верхняя 1006
Деталь | Материал | Эскиз |
Накладка большая нижняя 1007 | Сталь | |
Рисунок C.9 - Накладка большая нижняя 1007
Деталь | Материал | Эскиз |
Накладка малая верхняя 1008 | Сталь | |
| No. | A | |
1008-01 | 19 |
1008-02 | 46 |
1008-03 | 12 |
1008-04 | 7,5 |
| | |
Рисунок C.10 - Накладка малая верхняя 1008
Деталь | Материал | Эскиз |
Накладка малая нижняя 1009 | Сталь | |
Рисунок C.11 - Накладка малая нижняя 1009
Деталь | Материал | Эскиз |
Муфта с гнездом 1010 | Сталь | |
| No. | Гнездо квадратной формы | A | B | D | |
1010-01 | 6,3 | 50,8 | 22,2 | 17 |
1010-02 | 10 | 50,8 | 31,8 | 17 |
1010-03 | 12,5 | 50,8 | 50,8 | 43 |
1010-04 | 16 | 50,8 | 50,8 | 43 |
1010-05 | 6,3 | 50,8 | 14 | 10 |
При наличии соответствующей шпильки между муфтой и нижней накладкой размер A может быть уменьшен. Допустимы другие сочетания размеров выступа хвостовика и гнезда муфты при условии поддержания частоты вращения в установленных границах. |
Рисунок C.12 - Муфта с гнездом 1010
Деталь | Материал | Эскиз |
Муфта с гнездом 1011 | Сталь | |
| No. | Гнездо квадратной формы | A | B | D | |
1011-01 | 20 | 101,6 | 69,9 | 42 |
1011-02 | 25 | 114,3 | 101,6 | 71 |
При наличии соответствующей шпильки между муфтой и нижней накладкой размер A может быть уменьшен. Допустимы другие сочетания размеров выступа хвостовика и гнезда муфты при условии поддержания частоты вращения в установленных границах. |
Рисунок C.13 - Муфта с гнездом 1011
Деталь | Материал | Эскиз |
Муфта с гнездом 1012 | Сталь | Под выступ хвостовика 38 мм |
Рисунок C.14 - Муфта с гнездом 1012
Деталь | Материал | Эскиз |
Муфта 1013 | Сталь | |
| No. | a | L1 | L | D | |
1013-01 | 6,3 | 25 | 50 | 10 |
1013-02 | 25 | 50 | 8 |
| a - стандартный шестигранник размером 6,3 мм или другой выступ, соответствующий гнезду на хвостовике испытуемой машины. | |
При наличии соответствующей шпильки между муфтой и нижней накладкой размер L может быть уменьшен. |
Рисунок C.15 - Муфта 1013
(справочное)
СВЕДЕНИЯ О СООТВЕТСТВИИ ССЫЛОЧНЫХ МЕЖДУНАРОДНЫХ
И ЕВРОПЕЙСКИХ РЕГИОНАЛЬНЫХ СТАНДАРТОВ ССЫЛОЧНЫМ
МЕЖГОСУДАРСТВЕННЫМ СТАНДАРТАМ, ДЕЙСТВУЮЩИМ В КАЧЕСТВЕ
НАЦИОНАЛЬНЫХ СТАНДАРТОВ РОССИЙСКОЙ ФЕДЕРАЦИИ
Таблица ДА.1
Обозначение ссылочного международного стандарта | Степень соответствия | Обозначение и наименование соответствующего межгосударственного стандарта |
ИСО 691:2005 | - | |
ИСО 2787:1984 | - | |
ИСО 5349-1:2001 | MOD | ГОСТ 31192.1-2004 "Вибрация. Измерение локальной вибрации и оценка ее воздействия на человека. Часть 1. Общие требования" |
| | ИС МЕГАНОРМ: примечание. В официальном тексте документа, видимо, допущена опечатка: стандарт "Вибрация. Измерение локальной вибрации и оценка ее воздействия на человека. Часть 2. Требования к проведению измерений на рабочих местах" имеет номер ГОСТ 31192.2-2005, а не ГОСТ 31192.2-2004. | |
|
ИСО 5349-2:2001 | MOD | ГОСТ 31192.2-2004 "Вибрация. Измерение локальной вибрации и оценка ее воздействия на человека. Часть 2. Требования к проведению измерений на рабочих местах" |
ИСО 5391:2003 | - | |
ИСО 17066:2007 | - | |
ИСО 20643:2005 | MOD | ГОСТ 16519-2006 "Вибрация. Определение параметров вибрационной характеристики ручных машин и машин с ручным управлением. Общие требования" |
ЕН 755-2:2008 | - | <*> |
ЕН 12096:1997 | - | <*> |
<*> Соответствующий национальный стандарт отсутствует. До его утверждения рекомендуется использовать перевод на русский язык данного международного стандарта. Перевод данного международного стандарта находится в Федеральном информационном фонде технических регламентов и стандартов. Примечание - В настоящей таблице использовано следующее условное обозначение степени соответствия стандартов: - MOD - модифицированные стандарты. |
[1] | ISO 12100, Safety of machinery - General principles for design, risk assessment and risk reduction |
[2] | IEC 60745 (all parts), Hand-held motor-operated electric tools - Safety |
[3] | DIN 2093, Disc springs - Quality specifications - Dimensions |