Главная // Актуальные документы // ГОСТ Р (Государственный стандарт)СПРАВКА
Источник публикации
М.: Стандартинформ, 2016
Примечание к документу
Документ
введен в действие с 1 июля 2017 года.
Название документа
"ГОСТ Р 57255-2016. Национальный стандарт Российской Федерации. Бетоны фотокаталитически активные самоочищающиеся. Технические условия"
(утв. и введен в действие Приказом Росстандарта от 10.11.2016 N 1659-ст)
"ГОСТ Р 57255-2016. Национальный стандарт Российской Федерации. Бетоны фотокаталитически активные самоочищающиеся. Технические условия"
(утв. и введен в действие Приказом Росстандарта от 10.11.2016 N 1659-ст)
Утвержден и введен в действие
агентства по техническому
регулированию и метрологии
от 10 ноября 2016 г. N 1659-ст
НАЦИОНАЛЬНЫЙ СТАНДАРТ РОССИЙСКОЙ ФЕДЕРАЦИИ
БЕТОНЫ ФОТОКАТАЛИТИЧЕСКИ АКТИВНЫЕ САМООЧИЩАЮЩИЕСЯ
ТЕХНИЧЕСКИЕ УСЛОВИЯ
Photo catalytic self-cleaning concrete. Specifications
(ISO 22197-1:2007, NEQ)
(ISO 22197-3:2011, NEQ)
(ISO 27448:2009, NEQ)
ГОСТ Р 57255-2016
Дата введения
1 июля 2017 года
1 РАЗРАБОТАН Научно-исследовательским, проектно-конструкторским и технологическим институтом бетона и железобетона им. А.А. Гвоздева - структурным подразделением АО НИЦ "Строительство"
2 ВНЕСЕН Техническим комитетом по стандартизации ТК 465 "Строительство"
3 УТВЕРЖДЕН И ВВЕДЕН В ДЕЙСТВИЕ
Приказом Федерального агентства по техническому регулированию и метрологии от 10 ноября 2016 г. N 1659-ст
4 Настоящий стандарт соответствует в части методов испытаний фотокаталитических бетонов следующим международным стандартам:
ИСО 22197-1:2007 "Тонкая керамика (высококачественная керамика, высококачественная техническая керамика). Метод определения способности полупроводниковых фотокаталитических материалов применительно к очистке воздуха. Часть 1. Удаление оксидов азота" [ISO 22197-1:2007 "Fine ceramics (advanced ceramics, advanced technical ceramics) - Test method for air-purification performance of semiconducting photocatalytic materials - Part 1. Removal of nitric oxide", NEQ];
ИСО 22197-3:2011 "Тонкая керамика (высококачественная керамика, высококачественная техническая керамика). Метод определения способности полупроводниковых фотокаталитических материалов применительно к очистке воздуха. Часть 3. Удаление толуола" [ISO 22197-3:2011 "Fine ceramics (advanced ceramics, advanced technical ceramics) - Test method for air-purification performance of semiconducting photocatalytic materials - Part 3: Removal of toluene", NEQ];
ИСО 27448:2009 "Тонкая керамика (высококачественная керамика, высококачественная техническая керамика). Метод определения эффективности самоочищения полупроводниковых фотокаталитических материалов. Измерение угла смачивания" [ISO 27448:2009 "Fine ceramics (advanced ceramics, advanced technical ceramics) - Test method for self-cleaning performance of semiconducting photocatalytic materials - Measurement of water contact angle", NEQ]
5 ВВЕДЕН ВПЕРВЫЕ
| | ИС МЕГАНОРМ: примечание. Текст дан в соответствии с официальным текстом документа. | |
Правила применения настоящего стандарта установлены в
статье 26 Федерального закона от 29 июня 2015 г. N 162-ФЗ "О стандартизации в Российской Федерации". Информация об изменениях к настоящему стандарту публикуется в годовом (по состоянию на 1 января текущего года) информационном указателе "Национальные стандарты", а официальный текст изменений и поправок - в ежемесячном информационном указателе "Национальные стандарты". В случае пересмотра (замены) или отмены настоящего стандарта соответствующее уведомление будет опубликовано в ближайшем выпуске ежемесячного информационного указателя "Национальные стандарты". Соответствующая информация, уведомление и тексты размещаются также в информационной системе общего пользования - на официальном сайте Федерального агентства по техническому регулированию и метрологии по стандартизации в сети Интернет (www.gost.ru)
Настоящий стандарт распространяется на фотокаталитические активные самоочищающиеся бетоны плотной, крупнопористой и поризованной структуры по
ГОСТ 25192 (далее - фотокаталитические бетоны), а также на товарные бетонные смеси, изготовляемые с применением фотокаталитических добавок по
ГОСТ 24211.
Настоящий стандарт устанавливает технические требования к фотокаталитическим бетонам, методы их испытаний и правила приемки, а также требования к материалам, применяемым для их изготовления.
Фотокаталитические бетоны применяют для сборных бетонных и железобетонных изделий и конструкций заводского изготовления, включая мелкоштучные изделия (далее - изделия), и для монолитных конструкций.
Требования настоящего стандарта необходимо соблюдать при разработке новых и пересмотре действующих стандартов, технических условий, проектной и технологической документации на бетонные смеси, сборные и монолитные бетонные и железобетонные конструкции и изделия из фотокаталитического бетона.
Рекомендуемая номенклатура изделий и конструкций из фотокаталитического бетона приведена в
приложении А.
В настоящем стандарте использованы нормативные ссылки на следующие стандарты:
ГОСТ 4.212-80 Система показателей качества продукции. Бетоны. Номенклатура показателей
ГОСТ 8.207-76 Государственная система обеспечения единства измерений. Прямые измерения с многократными наблюдениями. Методы обработки результатов наблюдений. Основные положения
ГОСТ 12.1.007-76 Система стандартов безопасности труда. Вредные вещества. Классификация и общие требования безопасности
ГОСТ 17.2.3.02-2014 Правила установления допустимых выбросов загрязняющих веществ промышленными предприятиями
ГОСТ 10178-85 Портландцемент и шлакопортландцемент. Технические условия
ГОСТ 13015-2012 Изделия бетонные и железобетонные для строительства. Общие технические требования. Правила приемки, маркировки, транспортирования и хранения
ГОСТ 23732-2011 Вода для бетонов и строительных растворов. Технические условия
ГОСТ 24211-2008 Добавки для бетонов и строительных растворов. Общие технические условия
ГОСТ 24297-2013 Верификация закупленной продукции. Организация проведения и методы контроля
ГОСТ 27005-2014 Бетоны легкие и ячеистые. Правила контроля средней плотности
ГОСТ 30108-94 Материалы и изделия строительные. Определение удельной эффективной активности естественных радионуклидов
ГОСТ 31384-2008 Защита бетонных и железобетонных конструкций от коррозии. Общие технические требования
Примечание - При пользовании настоящим стандартом целесообразно проверить действие ссылочных стандартов в информационной системе общего пользования - на официальном сайте Федерального агентства по техническому регулированию и метрологии в сети Интернет или по ежегодному информационному указателю "Национальные стандарты", который опубликован по состоянию на 1 января текущего года, и по выпускам ежемесячного информационного указателя "Национальные стандарты" за текущий год. Если заменен ссылочный стандарт, на который дана недатированная ссылка, то рекомендуется использовать действующую версию этого стандарта с учетом всех внесенных в данную версию изменений. Если заменен ссылочный стандарт, на который дана датированная ссылка, то рекомендуется использовать версию этого стандарта с указанным выше годом утверждения (принятия). Если после утверждения настоящего стандарта в ссылочный стандарт, на который дана датированная ссылка, внесено изменение, затрагивающее положение, на которое дана ссылка, то это положение рекомендуется применять без учета данного изменения. Если ссылочный стандарт отменен без замены, то положение, в котором дана ссылка на него, рекомендуется применять в части, не затрагивающей эту ссылку.
В настоящем стандарте применены термины по
ГОСТ 25192,
ГОСТ 24211, а также следующие термины с соответствующими определениями:
3.1 фотокатализатор: Вещество, которое при фотооблучении проявляет одну или больше функций, основанных на окислительно-восстановительных реакциях, включая самоочищение, разложение и удаление загрязняющих веществ, устранение нежелательных запахов, антибактериальное и противотуманное действие.
3.2 фотокаталитический бетон: Бетон, в который или на поверхность которого внесен фотокатализатор путем перемешивания при приготовлении бетонной смеси, пропитки, нанесения покрытия и другим аналогичным образом.
3.3 загрязнитель: Природный или антропогенный агент, попадающий в окружающую природную среду в количествах, превышающих фоновые значения, и вызывающий тем самым ее загрязнение.
3.4 гидрофильность: Свойство фотокаталитического бетона, при котором его поверхность приобретает сильное сродство к воде.
3.5 самоочищение: Функция фотокатализатора, содержащегося на поверхности бетона, предотвращать его загрязнение за счет разложения загрязнителей в результате окислительно-восстановительных реакций при облучении светом и/или за счет их смывания с поверхности под воздействием воды, в том числе в виде дождя, или вследствие проявляющейся гидрофильности поверхности.
3.6 контактный угол (краевой угол смачивания): Угол, образованный касательными плоскостями к межфазным поверхностям, ограничивающим смачивающую жидкость, при этом вершина угла лежит на линии раздела трех фаз - твердой, жидкой и газообразной.
3.7 газ для "нулевой" калибровки: Воздух, который не содержит загрязнителей (в котором общее содержание загрязнителей менее 0,01 мкл/л и содержание диоксида углерода CO2 менее 0,1 мкл/л).
3.8 "нулевая" калибровка: Поверочное испытание, при котором измерительное оборудование регистрирует изменение концентрации загрязнителя до нулевого значения при подаче газа для "нулевой" калибровки.
3.9 стандартный газ: Разбавленный азотом газ известной концентрации, поставляемый в баллонах и сертифицированный аккредитованной лабораторией.
3.10 испытательный газ: Смесь воздуха и загрязнителя известной концентрации, приготовленная из стандартного газа или газа для "нулевой" калибровки и используемая при оценке эффективности фотокаталитического бетона.
3.11 "темновые" условия: Условия испытаний при отсутствии освещения от источника излучения и наружного освещения.
3.12 элюат: Экстракт из испытуемого образца фотокаталитического бетона.
4. Технические требования
4.1 Фотокаталитические бетоны следует изготовлять в соответствии с требованиями настоящего стандарта по технологическому регламенту, утвержденному в установленном порядке.
4.2 Характеристики
4.2.1 Фотокаталитические бетоны характеризуются общими строительно-техническими и специальными показателями качества.
4.2.2 Общие строительно-технические показатели
4.2.2.1 Общие строительно-технические показатели фотокаталитических бетонов в зависимости от их назначения и условий работы в изделиях и конструкциях зданий и сооружений по
ГОСТ 31384 следует устанавливать:
- в стандартах и технических условиях на изделия и конструкции конкретного типа (вида);
- в технологической и проектной документации на изготовление изделий и конструкций конкретного вида;
- в рабочих чертежах монолитных конструкций.
4.2.2.2 Соответствие показателей качества фотокаталитических бетонов проектным требованиям устанавливают путем оценки результатов испытаний с учетом показателей однородности контролируемого показателя.
4.2.2.3 Требования к строительно-техническим показателям качества фотокаталитических бетонов должны быть обеспечены изготовителем изделий и конструкций в проектном возрасте, который указывают в проектной документации и назначают в соответствии с нормами проектирования в зависимости от условий твердения бетона, способов возведения и сроков фактического нагружения изделий и конструкций. Если проектный возраст фотокаталитического бетона не указан, строительно-технические требования к бетону должны быть обеспечены в возрасте 28 сут.
4.2.2.4 В зависимости от условий работы фотокаталитического бетона в различных средах эксплуатации в стандартах и технических условиях на изделия и рабочих чертежах бетонных и железобетонных конструкций следует устанавливать дополнительные требования к качеству фотокаталитических бетонов по нормируемым показателям, предусмотренным
ГОСТ 4.212 и
ГОСТ 31384.
4.2.3 Основные показатели специальных свойств
4.2.3.1 Специальные свойства фотокаталитических бетонов характеризуются следующими показателями:
- способность к самоочищению, определяемая изменением краевого угла (далее - контактный угол) смачивания под воздействием ультрафиолетового излучения;
- разложение (минерализация) загрязнителей воздуха: оксидов азота и летучих органических веществ (ЛОВ).
4.2.3.2 Технические требования к показателям специальных свойств фотокаталитических бетонов приведены в таблице 1.
Таблица 1
Наименование показателя | Значение | Метод испытания |
Способность к самоочищению, ч, не более | 80 | |
Разложение (минерализация) загрязнителей воздуха: - оксида азота NOx, % по объему, не менее | 60 | |
- ЛОВ, % по объему, не менее | 80 | |
4.3 Требования к бетонным смесям и материалам, применяемым для изготовления фотокаталитических бетонов
4.3.1 Технологические характеристики бетонных смесей для фотокаталитических бетонов должны соответствовать требованиям
ГОСТ 7473 и устанавливаться технологическими регламентами или технологическими картами предприятия-изготовителя.
4.3.2 Фотокаталитические добавки должны соответствовать требованиям
ГОСТ 24211.
Совместимость фотокаталитических добавок с компонентами бетона должна быть проверена при подборе состава бетонной смеси. Подбор состава бетонной смеси - по
ГОСТ 27006.
4.3.3 Для фотокаталитических бетонов допускается применять органические добавки. Возможность применения органических добавок должна быть установлена и проверена экспериментально.
4.3.4 Цементы, применяемые для изготовления фотокаталитических бетонов, должны соответствовать требованиям
ГОСТ 31108,
ГОСТ 10178.
В качестве вяжущих для фотокаталитических бетонов допускается применять цементы, содержащие фотокаталитические добавки.
4.3.5 Для изготовления фотокаталитических бетонов применяют плотные и пористые заполнители, соответствующие требованиям стандартов или технических условий на эти заполнители. Вид применяемых заполнителей и требования к ним должны быть установлены технологическими регламентами или технологическими картами предприятия-изготовителя изделий из фотокаталитических бетонов.
4.3.6 Вода, применяемая для изготовления фотокаталитических бетонов, должна соответствовать требованиям
ГОСТ 23732.
4.3.7 Материалы, применяемые для изготовления фотокаталитических бетонов, должны иметь сопроводительную документацию, подтверждающую их соответствие требованиям нормативных документов и технической документации на них, включая протоколы испытаний.
5. Требования безопасности
5.1 При производстве и применении фотокаталитических бетонов и изделий из них в воздушную среду производственных помещений выделяется пыль, обладающая раздражающим действием на слизистую оболочку дыхательных путей и кожные покровы работающих.
Содержание пыли в воздухе рабочей зоны не должно превышать 2 мг/м
3 (3-й класс опасности по
ГОСТ 12.1.007).
Гигиенические требования к организации технологического процесса - в соответствии с
[1] и
[2].
5.2 Для защиты органов дыхания следует применять респиратор "Лепесток" и противоаэрозольный респиратор "Кама", для защиты кожного покрова - халаты, косынки, крем и пасты.
5.3 Для обеспечения чистоты воздуха в рабочей зоне производственные помещения должны быть оборудованы приточно-вытяжной вентиляцией.
5.4 Испытания фотокаталитических бетонов по гигиенически значимым показателям следует проводить в аккредитованных испытательных лабораториях.
5.5 Контроль за вредными производственными факторами в условиях производства и гигиеническими показателями готовой продукции следует проводить согласно утвержденной на предприятии программе производственного контроля в соответствии с
[3] и
[4].
5.6 Удельная эффективная активность естественных радионуклидов
Aэфф в фотокаталитических бетонах не должна превышать предельных значений, установленных
ГОСТ 30108 и
[5].
6. Требования охраны окружающей среды
6.1 Процесс изготовления фотокаталитических бетонов и изделий из них должен исключать загрязнение воздуха, почвы и водоемов вредными веществами, выделяемыми перерабатываемыми материалами и отходами производства в количестве, превышающем предельно допустимые концентрации в соответствии с
[6] и
[7], утвержденные органами санитарного надзора.
6.2 Основными видами возможного опасного воздействия фотокаталитического бетона на окружающую среду является загрязнение атмосферного воздуха населенных пунктов, почв и вод в результате неорганизованного сжигания и захоронения отходов на территории предприятия-изготовителя или вне его, а также их произвольной свалки в местах, не предназначенных для этой цели.
6.3 Отходы, образующиеся при изготовлении фотокаталитических бетонов и изделий из них, подлежат утилизации на предприятии-изготовителе, вывозу на полигоны промышленных отходов или организованному обезвреживанию в специально отведенных для этой цели местах в установленном порядке.
6.4 Утилизацию и ликвидацию отходов фотокаталитических бетонов и изделий из них проводят в соответствии с действующим законодательством в области охраны окружающей среды. Требования безопасности и мероприятия по охране окружающей среды должны быть указаны в документах предприятия-изготовителя.
6.5 При применении изделий из фотокаталитических бетонов следует соблюдать требования по охране окружающей среды в соответствии с
ГОСТ 17.2.3.02.
7.1 Фотокаталитический бетон должен быть принят техническим контролем предприятия - изготовителя изделий из этого бетона.
7.2 Приемку фотокаталитического бетона сборных бетонных и железобетонных изделий по всем нормируемым показателям качества, в том числе по показателям специальных свойств, проводят по
ГОСТ 13015 на месте их изготовления.
7.3 Приемку фотокаталитического бетона монолитных конструкций по всем нормируемым показателям качества, в том числе по показателям специальных свойств, проводят на месте строительства в соответствии с
ГОСТ 13015, проектом производства работ или технологическим регламентом.
7.4 При контроле качества фотокаталитических бетонов должны быть предусмотрены следующие виды производственного контроля:
- входной контроль по
ГОСТ 24297 качества сырьевых материалов, из которых изготовляют фотокаталитические бетоны, их соответствие нормативным документам, по которым выпускают эти материалы, а также соответствие технологическому регламенту;
- операционный контроль параметров работы оборудования и технологического процесса изготовления фотокаталитических бетонов;
- приемочный контроль качества фотокаталитических бетонов.
7.5 Виды и периодичность входного контроля используемых материалов и операционного контроля оборудования и технологии изготовления фотокаталитического бетона должны быть приведены в технологическом регламенте на его производство.
7.6 При приемочном контроле для проверки соответствия фотокаталитического бетона требованиям настоящего стандарта проводят следующие испытания:
- приемо-сдаточные (ПСИ);
- периодические (ПИ);
- типовые (ТИ).
7.7 Приемо-сдаточные испытания фотокаталитического бетона проводят для каждой партии сборных изделий и монолитных конструкций из фотокаталитического бетона по показателям прочности, средней плотности и показателям специальных свойств [способность к самоочищению, разложение (минерализация) загрязнителей воздуха].
Правила контроля и оценки прочности и средней плотности принимают по
ГОСТ 18105 и
ГОСТ 27005 соответственно.
7.8 Периодические испытания проводят:
- в случае изменения сырья и материалов, из которых изготовляют фотокаталитические бетоны;
- в случае внесения изменений в нормативные документы на любой из сырьевых материалов;
- в случае изменения технологического процесса изготовления фотокаталитических бетонов;
- через 3 мес после даты проведения последних периодических испытаний в первый год изготовления или через один год после даты проведения последних периодических испытаний в последующие годы изготовления;
- по требованию потребителя или органа по сертификации.
Для проведения периодических испытаний образцы фотокаталитического бетона отбирают из изделий, соответствующих требованиям настоящего стандарта по результатам приемо-сдаточных испытаний.
7.9 При периодических испытаниях определяют морозостойкость, водонепроницаемость, водопоглощение.
При необходимости определения и контроля других нормируемых показателей качества бетона (влажности, деформации усадки, ползучести, выносливости, призменной прочности, модуля упругости, коэффициента Пуассона, защитных свойств бетона по отношению к арматуре) их оценку проводят в соответствии с требованиями нормативного документа на изделия и конструкции конкретного вида, изготовленные из фотокаталитического бетона.
7.10 Результаты периодических испытаний распространяют на все партии изделий из фотокаталитических бетонов, изготовленные за период между двумя очередными периодическими испытаниями.
7.11 Периодические испытания по показателю удельной эффективной активности естественных радионуклидов Aэфф в фотокаталитическом бетоне проводят при первичном подборе номинального состава бетона, а также при изменении качества применяемых материалов, когда значение Aэфф в новых материалах превышает значение этой характеристики в материалах, применявшихся ранее.
7.12 Результаты приемо-сдаточных и периодических испытаний должны быть указаны в документе о качестве изделий.
7.13 Типовые испытания проводят:
- в случае внесения изменений в контролируемые и расчетные показатели изделий из фотокаталитических бетонов или в рекомендации по их применению;
- при сертификации изделий из фотокаталитических бетонов;
- по требованию потребителя на основании согласованного с изготовителем решения или по требованию органов государственного надзора.
Типовые испытания проводят по всем показателям, установленным настоящим стандартом, проектной и технологической документацией.
7.14 При изготовлении изделий из фотокаталитических бетонов на новом производстве или оборудовании следует проводить приемку изделий по всем нормируемым показателям не менее чем на трех первых партиях.
7.15 При получении неудовлетворительных результатов испытаний по любому из показателей должны быть проведены повторные испытания по этому показателю с использованием удвоенного числа образцов. В случае повторного получения неудовлетворительного результата партию бракуют, производство изделий из фотокаталитических бетонов останавливают, проводят анализ причин, приведших к неудовлетворительным результатам, и разрабатывают план мероприятий по их устранению.
После выполнения мероприятий изготовляют опытную партию, на которой проводят в полном объеме приемо-сдаточные и периодические испытания по тем показателям, по которым получен отрицательный результат. В случае удовлетворительных результатов испытаний опытной партии производство изделий возобновляют. При получении неудовлетворительных результатов испытаний опытной партии поиск причин брака продолжают до получения результатов испытаний, соответствующих требованиям настоящего стандарта.
7.16 При оценке стабильности производства соответствие показателей качества фотокаталитических бетонов требуемым значениям устанавливают по результатам, полученным за период, не превышающий 6 мес.
7.17 Производитель изделий из фотокаталитических бетонов обязан гарантировать требования с доверительной вероятностью не ниже 95% и ежегодно подтверждать выполнение этих требований по результатам анализа приемо-сдаточных и периодических испытаний, полученных за весь период изготовления изделий.
7.18 Порядок и периодичность контроля фотокаталитических бетонов и изделий из них по гигиеническим показателям устанавливают в стандартах и технической документации на изделия конкретных видов по согласованию с федеральным органом исполнительной власти в области надзора в сфере защиты прав потребителей и благополучия человека, но не реже одного раза в год.
8.1 Общие положения
8.1.1 Методы определения общих строительно-технических показателей фотокаталитических бетонов должны быть приведены в стандартах или технических условиях на изделия конкретных видов из этого бетона, а также в технологической документации.
Число образцов, отобранных для испытаний, должно соответствовать требованиям стандартов на методы испытаний бетонов.
8.1.2 При отборе и подготовке образцов для испытаний следует исключить воздействие ультрафиолетового света и других воздействий окружающей среды, которые могут привести к изменениям свойств фотокаталитического бетона.
8.1.3 Образцы для испытаний отбирают от изделий, отобранных случайным образом от контролируемой партии.
Образцы должны иметь акт отбора образцов, в котором указывают:
- наименование предприятия-изготовителя;
- обозначение образцов;
- дату изготовления;
- номер партии изделий, от которой отобраны образцы;
- число и размеры образцов;
- нормируемый показатель, для определения которого отобран образец;
- подпись лица, ответственного за отбор.
8.1.4 Методы испытаний бетонных смесей - по
ГОСТ 10181.
8.1.5 Методы испытаний материалов, применяемых для изготовления фотокаталитических бетонов, должны быть указаны в технологическом регламенте предприятия-изготовителя.
8.2 Определение способности фотокаталитического бетона к самоочищению
8.2.1 Метод основан на измерении изменения контактного угла смачивания на поверхности фотокаталитического бетона под воздействием ультрафиолетового излучения при температуре (23 +/- 5) °C и относительной влажности 40% - 70%.
8.2.2 Средства испытания
Флюоресцентная ультрафиолетовая лампа максимальной длиной волны 351 нм, с голубой стеклянной оболочкой для поглощения видимого цвета (BLB-лампа).
Ультрафиолетовый облучатель.
Радиометр для УФ-излучения.
Измеритель контактного угла в диапазоне от 0° до 180° с точностью считывания не менее 0,1° и точностью измерения +/- 1°.
8.2.3 Применяемые реагенты
Олеиновая эталонная кислота концентрацией 60% и выше.
н-Гептан с чистотой 99,9%.
8.2.4 Образцы для испытания
8.2.4.1 Плоские образцы фотокаталитического бетона для испытаний площадью (100 +/- 2) см
2 отбирают по
8.1.2 и
8.1.3, соблюдая меры предосторожности для исключения загрязнения образца органическими веществами или другими загрязнителями.
В случае невозможности отбора из изделия образцы формуют из бетонной смеси, предназначенной для изготовления изделия. Площадь отформованных образцов любой формы и размеров должна быть не менее (100 +/- 2) см2 для обеспечения измерения контактного угла смачивания не менее чем в пяти точках. Число образцов - не менее пяти.
8.2.4.2 Подготовка образцов к испытаниям включает в себя предварительную обработку ультрафиолетовым светом освещенностью 2,0 мВт/см2 в течение не менее 24 ч для удаления органических веществ и нанесение олеиновой кислоты на поверхность образцов. Предварительную обработку допускается не проводить, если контактный угол смачивания до обработки составляет не менее 20°.
8.2.4.3 Олеиновую кислоту наносят на образец вручную или окунанием. При ручном нанесении на фотокаталитическую поверхность бетона в центр образца наливают 200 мкл олеиновой кислоты и равномерно распределяют ее от центра к краям образца, используя кусок нерасплетающейся ткани. Избыток кислоты удаляют, оставляя ее массу (2,0 +/- 0,2) мг на 100 см2, определенную путем взвешивания образца до обработки и после нанесения на поверхность олеиновой кислоты. Для обработки образцов окунанием готовят 0,5%-ный раствор олеиновой кислоты в н-гептане, окунают в него образцы и извлекают из раствора со скоростью 60 см/мин, после чего высушивают их при температуре 70 °C в течение 15 мин.
8.2.5 Проведение испытаний
8.2.5.1 Для измерения самоочищающей способности применяют ультрафиолетовый облучатель с освещенностью (2,0 +/- 0,1) мВт/см2 в случае ручного нанесения олеиновой кислоты на образец или (1,0 +/- 0,1) мВт/см2 при обработке образцов методом окунания.
8.2.5.2 С использованием капель дистиллированной воды измеряют начальный контактный угол смачивания в пяти точках каждого из пяти образцов до облучения и рассчитывают среднее значение. Измерение начального контактного угла должно быть проведено через 3 - 5 с после нанесения капель дистиллированной воды на поверхность образцов фотокаталитического бетона.
8.2.5.3 После включения ультрафиолетового облучателя измеряют изменения контактного угла смачивания во времени всякий раз не менее чем в пяти точках для всех пяти образцов. Для измерений выбирают равные временные интервалы. По
формуле (3) рассчитывают коэффициенты вариации контактного угла смачивания для трех последовательных измерений всех образцов.
Измерения заканчивают, когда значения коэффициентов вариации становятся меньше 10%.
Среднее арифметическое значение результатов трех измерений контактного угла смачивания принимают за окончательный контактный угол смачивания.
Примечание - Если контактный угол смачивания после n часов ультрафиолетового облучения для каждого из испытанных образцов становится 5° и меньше, измерения заканчивают в этой точке, а измеренный контактный угол принимают за окончательный контактный угол смачивания.
8.2.5.4 Окончательный контактный угол смачивания

, град, рассчитывают по формуле

(1)
где

- среднее значение результатов измерения контактного угла смачивания в трех последовательных точках, град, рассчитываемое по формуле

(2)
здесь

- контактный угол смачивания после
n1 часов облучения, град;

- контактный угол смачивания после
n2 часов облучения, град;

- контактный угол смачивания после
n3 часов облучения, град.
Коэффициенты вариации контактного угла смачивания K рассчитывают по формуле

(3)
где s - стандартное отклонение результатов измерения в трех последовательных точках, град.
8.2.5.5 Эффективность самоочищающей способности фотокаталитического бетона оценивают по времени достижения окончательного контактного угла смачивания после начала облучения.
8.3 Определение эффективности фотокаталитических бетонов в реакциях разложения (минерализации) оксидов азота и летучих органических веществ (ЛОВ)
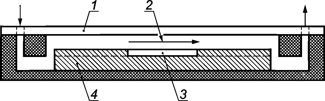
8.3.1 Метод определения эффективности фотокаталитических бетонов в реакциях разложения (минерализации) оксидов азота и летучих органических веществ (ЛОВ) основан на активации при облучении ультрафиолетовым светом образца для испытаний, помещенного в фотокаталитический реактор проточного типа (рисунки 1,
2).
1 - источник света; 2 - оптическое окно; 3 - испытательный
образец; 4 - стандартный газ; 5 - система воздухоочистки;
6 - увлажнитель; 7 - контролер протока газа; 8 - анализатор
Рисунок 1 - Схема испытательного оборудования
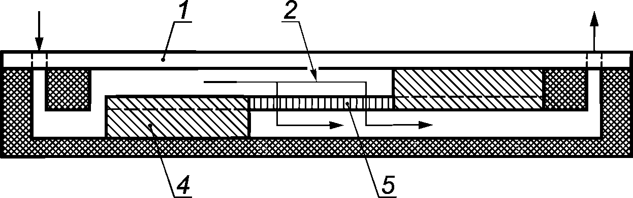
а) Для плоского образца
б) Для пористого образца
1 - оптическое окно; 2 - поток газа; 3, 5 - испытательный
образец; 4 - пластина, регулирующая высоту
Рисунок 2 - Вид на фотокаталитический реактор сбоку
8.3.2 Разложение (минерализация) оксидов азота
8.3.2.1 Средства испытания
Система подачи испытательного газа.
Фотокаталитический реактор.
Источник УФ-излучения в интервале длин волн от 300 до 400 нм.
Радиометр.
Газовый анализатор для точного определения концентрации оксидов азота (например, хемилюминесцентный).
Ионный хроматограф для определения нитритов и нитратов в воде.
8.3.2.2 Система подачи испытательного газа должна обеспечивать непрерывную подачу в фотокаталитический реактор воздуха с заданной концентрацией загрязнителя, заданной температуры и влажности. Система состоит из вентилей - регуляторов потока, увлажнителя, смесителей и других приспособлений. Скорость потока любого газа должна регулироваться в пределах +/- 5% заданного значения при скоростях прохождения газа с загрязнителем, сухого и влажного воздуха 0,1; 2,0; 2,0 л/мин соответственно (скорость газа рассчитывают в стандартном состоянии: 0 °C; 101,3 кПа; сухой газ).
Концентрация оксида азота NO, сбалансированного азотом в баллоне стандартного газа, не должна превышать 30 - 100 мкл/л (при более высоких концентрациях при смешении с воздухом становится заметной степень окисления NO до NO2).
8.3.2.3 Фотокаталитический реактор должен удерживать образец для испытаний в лотке шириной 50 мм с поверхностью, параллельной оптическому излучателю. Реактор должен быть изготовлен из материалов с минимальной адсорбцией испытательных газов и стойких к ультрафиолетовому излучению. Образец для испытаний должен быть отделен от оптического окна слоем воздуха толщиной (5,0 +/- 0,5) мм. Испытательный газ должен проходить только через пространство между образцом и окном. В случае использования пористых образцов движение газа должно осуществляться только через ячейки (поры) образца. Для изготовления оптического окна следует применять кварц или боросиликатное стекло с минимальным поглощением света с длиной волны более 300 нм. При необходимости фотокаталитический реактор должен быть изолирован от наружного освещения.
8.3.2.4 Источник света должен равномерно освещать образец. В случае если требуется его предварительный разогрев, он должен быть снабжен задвижкой. Расстояние между источником света и фотокаталитическим реактором следует выбирать так, чтобы мощность УФ-излучения на поверхности образца составляла (10 +/- 0,5) Вт/м
2. Излучение вдоль образца должно быть постоянным в пределах погрешности +/- 5%.
8.3.3 Образцы для испытания
8.3.3.1 Образцы для испытания вырезают из изделия или приготовляют специально. Образцы должны иметь следующие размеры: длина (99,5 +/- 0,5) мм, ширина (49,5 +/- 0,5) мм. Толщина образцов должна быть менее 5 мм для исключения влияния на фотокатализ боковых поверхностей. Если испытывают образцы толщиной более 5 мм, боковые поверхности должны быть изолированы инертными материалами. Толщина пористых образцов не должна превышать 20 мм. Аналогично следует изготовлять образцы для испытания покрытий по бетону (красок, штукатурок).
Число образцов - не менее пяти.
8.3.3.2 Перед испытанием проводят предварительную подготовку образцов: облучение УФ-лампой мощностью 10 Вт/м
2 в течение 5 ч для полного разложения органических веществ, помещение в деионизированную воду на 2 ч и высушивание сухим воздухом при комнатной температуре до постоянной массы. Одновременно определяют содержание нитритов и нитратов в промывной воде в соответствии с
8.3.4.5.
8.3.3.3 При определении эффективности фотокаталитических бетонов в реакциях разложения (минерализации) оксидов азота оценивают количество загрязнителя, адсорбированного в "темновых" условиях, затем определяют количество загрязнителя, удаляемого в процессе фотооблучения, и десорбируемое количество загрязнителя после световой обработки. На рисунке 3 показаны характерные кривые изменения соотношения оксидов азота NO и NO
2 в газовой смеси в ходе испытания.
1 - загрузочный уровень NO; 2 - начало контакта;
3 - включение освещения; 4 - выключение освещения,
подача газа "нулевой" калибровки
Рисунок 3 - Типичные кривые изменения концентрации
оксидов азота во время испытаний
8.3.4 Проведение испытаний
8.3.4.1 Предварительно устанавливают подачу испытательного газа так, чтобы в фотокаталитический реактор равномерно поступала смесь: (1,00 +/- 0,05) мкл/л NO и (1,56 +/- 0,08)% по объему паров воды при температуре (25,0 +/- 2,5) °C. Указанный объем паров воды обеспечивает относительную влажность газовоздушной смеси 50% при 25 °C.
8.3.4.2 Измеряют и записывают излучение от источника света, разогревают и калибруют анализаторы.
8.3.4.3 Помещают образец для испытаний в фотокаталитический реактор, закрывают его оптическим стеклом, устанавливая требуемый зазор между образцом и оптическим окном. Обеспечивают поток испытательного газа через фотокаталитический реактор без фотооблучения со скоростью (3,00 +/- 0,15) л/мин, что примерно соответствует скорости потока 0,2 м/с для параметров описанной выше установки. В течение 30 мин записывают изменения в соотношении оксидов азота NO и NO2 в газовой смеси в "темновых" условиях. Если объемная доля NOx составляет менее 90% начальной, продолжают пропускать испытательный газ до достижения постоянства.
8.3.4.4 Поддерживают газовый поток и облучают образец бетона в течение 5 ч, записывая изменения в соотношении оксидов азота NO и NO2 в газовой смеси. Останавливают облучение, включают газ "нулевой" калибровки с той же скоростью потока и записывают объемное содержание NOx в течение 30 мин, затем останавливают подачу газа "нулевой" калибровки в реактор и удаляют из него испытуемый образец.
8.3.4.5 Испытуемый образец бетона помещают в известное количество дистиллированной воды (около 50 мл) на 1 ч, после чего образец удаляют и записывают объем воды (
w1). Вновь помещают образец в известное количество воды на 1 ч, затем удаляют его и вновь записывают объем воды (
w2). Отмечают любые изменения (окрашивание воды, образование осадка и т.п.). Измеряют pH (
w1) и (
w2) и определяют содержание в водах нитритов и нитратов.
Примечание - Если испытуемый образец бетона сильно адсорбирует воду, количество воды необходимо увеличить. Для образцов, промывку которых трудно осуществить, например, вследствие крайне высокой адсорбции воды, допускается их повторное испытание с исключением процедуры промывки, предполагая, что способность к удалению примесей из образца при этом не меняется.
8.3.4.6 Рассчитывают содержание в водах нитритов и нитратов:
- количество оксидов азота NOx, адсорбированных из испытательного газа, nads, мкмоль, по формуле

(4)
где f - скорость потока газа, приведенная к нормальным условиям, л/мин;

- введенная объемная доля оксидов азота, мкл/л;

- объемная доля оксида азота NO на выходе из реактора, мкл/л;

- объемная доля оксида азота NO
2 на выходе из реактора, мкл/л.
Примечание - Интегрирование проводят по времени в минутах между началом контакта и включением источника света, как показано на
рисунке 3;
- количество оксида азота NO, удаленного испытательным образцом бетона, nNO, мкмоль, по формуле

(5)
Примечание - Интегрирование проводят по времени в минутах между включением и выключением источника света, как показано на
рисунке 4;
- количество оксида азота NO
2, образованного испытательным образцом

, мкмоль, по формуле

(6)
Примечание - Интегрирование проводят по времени в минутах между включением и выключением источника света, как показано на
рисунке 4;
- количество десорбированных из испытанного образца оксидов азота NOx ndes, мкмоль, по формуле

(7)
Примечание - Интегрирование проводят по времени, мин, между выключением источника света и завершением испытания, как показано на
рисунке 4;
- общее количество оксидов азота NO
x, десорбированных из образца,

, мкмоль, по формуле

(8)
- общее количество оксидов азота n, мкмоль, удаленных из испытанного образца, по формуле

(9)
где V - объем собранных промывных вод;

- концентрация нитрат-ионов в элюате;

- концентрация нитрит-ионов в элюате;
w1, w2 - 1-й и 2-й элюаты, соответственно;
- количество оксидов азота

, извлеченных водой, по формуле

(10)
8.3.5 Разложение (минерализация) ЛОВ (на примере толуола)
8.3.5.1 Для анализа газовоздушной смеси применяют метод газожидкостной или капиллярной хроматографии с пламенным ионизационным или фотоионизационным детектором.
8.3.5.3 Требования к образцу для испытаний - по
8.3.3.1.
Предварительная подготовка образцов и проведение испытаний аналогично по
8.3.3.2,
8.3.3.3 со следующими дополнениями и изменениями.
Для предварительного разложения органических веществ образец облучают УФ-светом с интенсивностью выше 15 Вт/м2 в течение 16 - 24 ч. Испытательный газ должен содержать (5,0 +/- 0,25) мкл/л толуола и (1,56 +/- 0,16)% объема паров воды при температуре (25,0 +/- 2,5) °C. Скорость потока газа на входе в реактор должна составлять 0,5 л/мин. Облучение проводят в течение 3 ч, записывая изменение концентрации толуола до стабилизации. Измерения проводят не менее трех раз в час. Если относительное стандартное отклонение результатов трех последних измерений достигает 20%, эту нестабильность отмечают в отчете с указанием возможной причины, например, дезактивации образца в процессе испытания.
8.3.5.4 При определении эффективности фотокаталитических бетонов в реакциях разложения (минерализации) ЛОВ оценивают количество загрязнителя, адсорбированного в "темновых" условиях, а затем определяют количество загрязнителя, удаляемого в процессе фотооблучения. На рисунке 4 показаны характерные кривые изменения концентрации толуола в газовой смеси в ходе испытания.
1 - без освещения; 2 - включение освещения;
3 - выключение освещения
Рисунок 4 - Типичные кривые изменения концентрации толуола
во время испытаний
8.3.5.5 Долю удаляемого толуола (в процентах) рассчитывают по формуле (11), а его количество - по
формуле (12)

(11)

(12)
где R - процент удаляемого толуола испытательным образцом;

- введенная объемная доля толуола, мкл/л;

- доля толуола на выходе из реактора, мкл/л;
nT - количество удаленного толуола, мкмоль;
f - скорость потока, приведенная к нормальным условиям, л/мин.
8.3.5.6 В случае если количество удаляемого толуола менее 5%, проводят дополнительные испытания двух образцов в серии с площадью поверхности от 50 до 200 мм2.
8.4 Оформление результатов испытаний
8.4.1 Статистическую обработку результатов испытаний проводят в соответствии с
ГОСТ 8.207.
8.4.2 Результаты испытаний регистрируют в журнале или оформляют протоколом, содержащим следующие данные:
- наименование бетона;
- обозначение настоящего стандарта;
- номер и объем партии изделий;
- дата изготовления;
- описание образца;
- число образцов, подвергнутых испытанию;
- дата проведения испытаний, температура, относительная влажность, другие сведения;
- описание использованных реагентов и т.п.;
- тип лампы (производитель, модель, длина волны и т.п.);
- тип использованного оборудования;
- результаты и оценка испытаний;
- подпись специалиста, проводившего испытания.
Результаты контроля при периодических испытаниях оформляют протоколом.
9.1 Изготовитель гарантирует соответствие фотокаталитических бетонов требованиям настоящего стандарта.
9.2 Гарантийный срок хранения изделий из фотокаталитического бетона до их применения - не более 12 мес со дня изготовления.
По истечении указанного срока бетон изделия проверяют на соответствие санитарно-гигиеническим и иным требованиям. Испытаниям подвергают образцы изделий с истекшим сроком хранения, равным или превышающим заявленный срок хранения. В случае положительных результатов контроля допускается использовать изделия в течение 6 мес.
9.3 Гарантийный срок более 12 мес может быть установлен в стандартах или технической документации на конкретные виды изделий из фотокаталитического бетона в случае получения положительных результатов испытаний санитарно-гигиенических и иных показателей.
(рекомендуемое)
ИЗДЕЛИЙ, РЕКОМЕНДУЕМЫХ ДЛЯ ИЗГОТОВЛЕНИЯ
ИЗ ФОТОКАТАЛИТИЧЕСКОГО БЕТОНА
Панели для наружных стен жилых, общественных и производственных зданий.
Лестничные марши и площадки.
Железобетонные плиты для покрытий городских дорог.
Бетонные тротуарные плиты.
Бортовые бетонные и железобетонные камни.
Бетонные и железобетонные камни мощения.
Парапетные плиты.
Железобетонные плиты для покрытий трамвайных путей.
Защитные сборные панели и экраны.
Несъемная опалубка.
Блоки из монолитного бетона.
Звукопоглощающие элементы для сооружений и дорог.
Элементы транспортных разделительных сооружений.
Инженерное оборудование улиц.
Обделка тоннелей и др.
| Санитарно-эпидемиологические правила | Гигиенические требования к организации технологических процессов, производственному оборудованию и рабочему инструменту |
| Санитарно-эпидемиологические правила и нормативы | Гигиенические требования к предприятиям производства строительных материалов и конструкций |
| Санитарные правила | Организация и проведение производственного контроля за соблюдением санитарных правил и выполнением санитарно-противоэпидемических (профилактических) мероприятий |
| Санитарные правила | Организация и проведение производственного контроля за соблюдением санитарных правил и выполнением санитарно-противоэпидемических (профилактических) мероприятий. Изменения и дополнения N 1 к СП 1.1.1058-01 |
| Санитарные правила и нормативы | Нормы радиационной безопасности (НРБ-99/2009) |
| Санитарные правила и нормы | Полимерные и полимерсодержащие строительные материалы, изделия и конструкции. Гигиенические требования безопасности |
| Гигиенические нормативы | Предельно допустимые концентрации (ПДК) загрязняющих веществ в атмосферном воздухе населенных мест |