Главная // Актуальные документы // ГОСТ Р (Государственный стандарт)СПРАВКА
Источник публикации
М.: Стандартинформ, 2016
Примечание к документу
Документ
введен в действие с 1 апреля 2016 года.
Название документа
"ГОСТ Р 56727-2015. Национальный стандарт Российской Федерации. Цементы напрягающие. Технические условия"
(утв. и введен в действие Приказом Росстандарта от 19.11.2015 N 1891-ст)
"ГОСТ Р 56727-2015. Национальный стандарт Российской Федерации. Цементы напрягающие. Технические условия"
(утв. и введен в действие Приказом Росстандарта от 19.11.2015 N 1891-ст)
Утвержден и введен в действие
агентства по техническому
регулированию и метрологии
от 19 ноября 2015 г. N 1891-ст
НАЦИОНАЛЬНЫЙ СТАНДАРТ РОССИЙСКОЙ ФЕДЕРАЦИИ
ЦЕМЕНТЫ НАПРЯГАЮЩИЕ
ТЕХНИЧЕСКИЕ УСЛОВИЯ
Self-stressing cements. Specifications
ГОСТ Р 56727-2015
Дата введения
1 апреля 2016 года
1 РАЗРАБОТАН Российским химико-технологическим университетом имени Д.И. Менделеева (РХТУ им. Д.И. Менделеева) и Научно-исследовательским, проектно-конструкторским и технологическим институтом бетона и железобетона имени А.А. Гвоздева (НИИЖБ им. А.А. Гвоздева) - структурным подразделением ОАО "НИЦ "Строительство"
2 ВНЕСЕН Техническим комитетом по стандартизации ТК 465 "Строительство"
3 УТВЕРЖДЕН И ВВЕДЕН В ДЕЙСТВИЕ
Приказом Федерального агентства по техническому регулированию и метрологии от 19 ноября 2015 г. N 1891-ст
4 ВВЕДЕН ВПЕРВЫЕ
Правила применения настоящего стандарта установлены в ГОСТ Р 1.0-2012
(раздел 8). Информация об изменениях к настоящему стандарту публикуется в ежегодном (по состоянию на 1 января текущего года) информационном указателе "Национальные стандарты", а официальный текст изменений и поправок - в ежемесячном информационном указателе "Национальные стандарты". В случае пересмотра (замены) или отмены настоящего стандарта соответствующее уведомление будет опубликовано в ближайшем выпуске ежемесячного информационного указателя "Национальные стандарты". Соответствующая информация, уведомление и тексты размещаются также в информационной системе общего пользования - на официальном сайте Федерального агентства по техническому регулированию и метрологии в сети Интернет (www.gost.ru).
Напрягающий цемент является эффективным видом цемента, применяемого при строительстве резервуаров, отстойников воды, сборных очистных сооружений для обеспечения непроницаемости и увеличения трещиностойкости панелей при состыковке между собой и днищем, при ведении работ при отрицательной температуре. Цемент применяют также в качестве антикоррозийной и гидроизоляционной защиты различных емкостей и в других областях, где требуется обеспечение плотности и водонепроницаемости бетонных сооружений.
Использование напрягающего цемента в бетоне обуславливает предварительное напряжение (самонапряжение) бетона в результате расширения при ограничении его деформаций с жесткостью, соответствующей жесткости стальной арматуры при коэффициенте армирования

.
Настоящий стандарт распространяется на напрягающие цементы, предназначенные для бетонов сборных и монолитных конструкций, строительных растворов, сухих ремонтных смесей и обеспечивающие их расширение, предварительное напряжение (самонапряжение) в процессе твердения, повышение трещиностойкости, водонепроницаемости, морозостойкости и долговечности, и устанавливает технические требования к цементам и компонентам их вещественного состава, методы испытаний, а также требования к транспортированию и хранению.
Область применения напрягающего цемента приведена в
приложении А.
В настоящем стандарте использованы нормативные ссылки на следующие стандарты:
| | ИС МЕГАНОРМ: примечание. В официальном тексте документа, видимо, допущена опечатка: имеется в виду ГОСТ 577-68, а не ГОСТ 557-68. | |
ГОСТ 557-68 Индикаторы часового типа с ценой деления 0,01 мм. Технические условия
ГОСТ 931-90 Листы и полосы латунные. Технические условия
ГОСТ 3476-74 Шлаки доменные и электротермофосфорные гранулированные для производства цементов
ГОСТ 4013-82 Камень гипсовый и гипсоангидритовый для производства вяжущих материалов. Технические условия
ГОСТ 4543-71 Прокат из легированной конструкционной стали. Технические условия
ГОСТ 5382-91 Цементы и материалы цементного производства. Методы химического анализа
ГОСТ 23732-2011 Вода для бетонов и строительных растворов. Технические условия
ГОСТ 30108-94 Материалы и изделия строительные. Определение удельной эффективной активности естественных радионуклидов
ГОСТ 30744-2001 Цементы. Методы испытаний с использованием полифракционного песка
Примечание - При пользовании настоящим стандартом целесообразно проверить действие ссылочных стандартов в информационной системе общего пользования - на официальном сайте Федерального агентства по техническому регулированию и метрологии в сети Интернет или по ежегодному информационному указателю "Национальные стандарты", который опубликован по состоянию на 1 января текущего года, и по выпускам ежемесячного информационного указателя "Национальные стандарты" за текущий год. Если заменен ссылочный стандарт, на который дана недатированная ссылка, то рекомендуется использовать действующую версию этого стандарта с учетом всех внесенных в данную версию изменений. Если заменен ссылочный стандарт, на который дана датированная ссылка, то рекомендуется использовать версию этого стандарта с указанным выше годом утверждения (принятия). Если после утверждения настоящего стандарта в ссылочный стандарт, на который дана датированная ссылка, внесено изменение, затрагивающее положение, на которое дана ссылка, то это положение рекомендуется применять без учета данного изменения. Если ссылочный стандарт отменен без замены, то положение, в котором дана ссылка на него, рекомендуется применять в части, не затрагивающей эту ссылку.
В настоящем стандарте применены термины, приведенные в
ГОСТ 30515, а также следующие термины с соответствующими определениями:
3.1 цементы напрягающие: Специальные цементы, получаемые тонким совместным измельчением портландцементного клинкера, расширяющихся добавок и гипса, обеспечивающие самонапряжение бетонов при их твердении в условиях упругого ограничения деформаций.
3.2 самонапряжение: Значение предварительного напряжения цементного камня, создаваемого в результате расширения при твердении в условиях ограничения деформаций.
3.3 расширение: Увеличение линейных размеров цементного камня при твердении без упругого ограничения деформаций.
4.1 Классификация цементов - по
ГОСТ 30515 и настоящему стандарту.
4.2 В зависимости от значения самонапряжения напрягающие цементы подразделяют на четыре типа:
- цементы с низкой энергией самонапряжения с самонапряжением менее 0,7 МПа;
- цементы с малой энергией самонапряжения с самонапряжением от 0,70 до 2,0 МПа;
- цементы со средней энергией самонапряжения с самонапряжением от 2,0 до 3,0 МПа;
- цементы с высокой энергией самонапряжения с самонапряжением более 3,0 МПа.
4.3 В зависимости от прочности напрягающие цементы в соответствии с
ГОСТ 31108 подразделяют на классы прочности 32,5 и 42,5, подклассы прочности - нормальнотвердеющие Н и быстротвердеющие Б.
4.4 Классы и подклассы прочности напрягающих цементов в зависимости от их типа приведены в таблице 1.
Тип цемента | Обозначение типа | Класс прочности | Подкласс прочности |
Цемент с низкой энергией самонапряжения | НЦ-5 | 32,5 | Н |
32,5 | Б |
42,5 | Н |
42,5 | Б |
Цемент с малой энергией самонапряжения | НЦ-10 | 32,5 | Н |
32,5 | Б |
42,5 | Н |
42,5 | Б |
Цемент со средней энергией самонапряжения | НЦ-20 | 32,5 | Н |
42,5 | Н |
Цемент с высокой энергией самонапряжения | НЦ-30 | 32,5 | Н |
42,5 | Н |
4.5 Условное обозначение напрягающего цемента должно включать в себя:
- наименование цемента;
- обозначение настоящего стандарта.
Пример условного обозначения напрягающего цемента со средней энергией самонапряжения, класса прочности 42,5, нормальнотвердеющего:
Цемент напрягающий НЦ-20 - 42,5Н - ГОСТ Р 56727-2015
5. Технические требования
5.1 Цементы должны соответствовать требованиям
ГОСТ 30515 и настоящего стандарта и изготовляться по технологической документации, утвержденной предприятием-изготовителем.
5.2 Вещественный состав напрягающего цемента должен соответствовать требованиям
ГОСТ 30515, предъявляемым к цементам типа II-С. Изменение вида и количества расширяющегося компонента должно быть согласовано с потребителем.
5.3 Прочность на сжатие цемента конкретного класса прочности в возрасте 2, 7 и 28 сут должна соответствовать требованиям
ГОСТ 31108.
5.4 Линейное расширение и самонапряжение цемента в возрасте 28 сут должны соответствовать значениям, приведенным в таблице 2.
Таблица 2
Наименование показателя | Значение для цемента типа |
НЦ-5 | НЦ-10 | НЦ-20 | НЦ-30 |
Линейное расширение, %, не более | 0,3 | 1,0 | 1,5 | 2,0 |
Самонапряжение, МПа (кгс/см2), не менее | - | 0,7 (7) | 2,0 (20) | 3,0 (30) |
5.5 Начало схватывания напрягающих цементов всех типов должно наступать не ранее чем через 30 мин от начала затворения.
5.6 Массовая доля ангидрита серной кислоты SO3 в напрягающих цементах должна быть не менее 3,5% и не более 6%.
5.7 Массовая доля оксида алюминия Al2O3 в напрягающих цементах должна быть не менее 5% и не более 12%.
5.8 Удельная поверхность напрягающих цементов должна быть не менее 270 м2/кг при измерении методом воздухопроницаемости.
5.9 Содержание нерастворимого остатка и хлорид-иона Cl
- в напрягающем цементе должно соответствовать требованиям
ГОСТ 31108.
5.10 Требования к материалам
5.10.1 Портландцементный клинкер
Минералогический состав клинкера, применяемого для изготовления напрягающего цемента для напрягающего бетона по
ГОСТ 32803 должен соответствовать требованиям
ГОСТ 31108.
Минералогический состав клинкера, применяемого для изготовления напрягающего цемента для ремонта бетона дорожных и аэродромных покрытий, должен соответствовать требованиям
ГОСТ Р 55224.
Для изготовления напрягающего цемента для бетона дорожных оснований и укрепления грунтов применяют портландцементный клинкер, соответствующий требованиям
ГОСТ 31108.
Содержание оксида магния MgO в портландцементном клинкере должно соответствовать требованиям
ГОСТ 31108.
5.10.2 Расширяющиеся добавки - основные компоненты цемента
Расширяющиеся добавки, допускаемые к применению в соответствии с настоящим стандартом, при содержании их в цементе свыше 6% его массы за вычетом массы материалов, содержащих сульфат кальция, а также массы специальных добавок, относятся к основным компонентам цемента.
В качестве расширяющихся добавок для изготовления напрягающего цемента используют: глиноземистый шлак, сульфатированный клинкер по действующим стандартам или техническим условиям. Допускается применение других расширяющихся добавок по согласованию между изготовителем и потребителем напрягающего цемента.
5.10.3 Вспомогательные компоненты цемента
Вспомогательными компонентами вещественного состава напрягающего цемента являются минеральные добавки, содержание которых в цементе не превышает 5% суммарной массы основных и вспомогательных компонентов.
При изготовлении напрягающих цементов, кроме цементов для ремонта бетонов дорожных и аэродромных покрытий, допускается применять любые вспомогательные компоненты вещественного состава цементов, соответствующие требованиям
ГОСТ 31108.
При изготовлении напрягающих цементов для ремонта бетона дорожных и аэродромных покрытий в качестве вспомогательного компонента допускается применять только доменный гранулированный шлак по
ГОСТ 3476.
5.10.4 Материалы, содержащие сульфат кальция
Для изготовления напрягающих цементов применяют природный гипсовый, ангидритовый или гипсоангидритовый камень по
ГОСТ 4013 или другие материалы, содержащие в основном сульфат кальция, по действующим стандартам или техническим условиям.
5.10.5 Специальные и технологические добавки
Требования к специальным и технологическим добавкам - по
ГОСТ 31108.
Согласие потребителя на введение в цемент специальных добавок должно быть указано в договоре (контракте) на поставку напрягающего цемента.
5.11 Упаковка
5.12 Маркировка
Маркировка напрягающего цемента - по
ГОСТ 30515 со следующим изменением:
Условное обозначение цемента принимают по
4.5 настоящего стандарта.
6. Требования безопасности
6.1 Удельная эффективная активность естественных радионуклидов Aэфф в напрягающем цементе должна быть не более 370 Бк/кг, в компонентах, применяемых для его изготовления, - не более 740 Бк/кг.
6.2 При изготовлении и применении напрягающего цемента следует выполнять требования гигиенических норм по содержанию цементной пыли в воздухе рабочей зоны и атмосфере населенных пунктов.
6.3 Не допускается вводить в напрягающий цемент вспомогательные компоненты, специальные или технологические добавки, повышающие класс опасности цементов.
7.2 Допускаются приемка и отгрузка потребителю партий цемента с малозначительными дефектами.
К малозначительным дефектам относят дефекты, указанные в
ГОСТ 31108, а также предельные отклонения единичных результатов испытаний, указанные в таблице 3.
Наименование показателя | Тип цемента | Предельное отклонение единичного результата испытаний (малозначительный дефект) |
Линейное расширение, % | Все цементы | Не более чем на 0,2 |
Самонапряжение, МПа | Все цементы, кроме типа НЦ-5 | Не более чем на 0,1 |
Содержание SO3, % | Все цементы | Не более чем на 0,5 |
Содержание Al2O3, % | Все цементы | Не более чем на 1,0 |
Начало схватывания, мин | Все цементы | Не более чем на 10 |
Удельная поверхность, м2/кг | Все цементы | Менее 270, но не менее 250 |
7.3 Дефекты, значения которых превышают указанные в
таблице 3, считают значительными.
Партии напрягающего цемента, в которых установлен значительный дефект, приемке не подлежат. В отношении таких цементов должно быть применено управление несоответствующей продукцией по
ГОСТ Р ИСО 9001 либо в ином порядке, установленном изготовителем.
7.4 Документ о качестве оформляют в соответствии с
ГОСТ 30515. В документе о качестве наименование цемента и/или его условное обозначение указывают согласно
4.5 настоящего стандарта.
8. Подтверждение соответствия
8.1 Для подтверждения соответствия качества цемента требованиям настоящего стандарта и возможности его сертификации изготовитель должен проводить оценку качества цемента по переменным или по числу дефектных проб (приемочному числу).
8.2 Подтверждение соответствия проводят по результатам всех испытаний за период от 6 до 12 мес в соответствии с
ГОСТ 30515.
8.3 Оценку по переменным проводят по следующим показателям:
- линейное расширение;
- самонапряжение;
- прочность на сжатие.
8.4 Оценку по приемочному числу проводят по следующим показателям:
- самонапряжение;
- удельная поверхность;
- начало схватывания.
9.1 Физико-механические показатели напрягающих цементов определяют по
ГОСТ 30744.
9.2 Химический состав напрягающих цементов и материалов, применяемых при их изготовлении, определяют по
ГОСТ 5382.
9.3 Удельную эффективную активность естественных радионуклидов определяют по
ГОСТ 30108.
9.4 Определение линейного расширения и самонапряжения
9.4.1 Линейное расширение и самонапряжение напрягающего цемента определяют на образцах, изготовленных из цементного раствора 1:1 (одна часть напрягающего цемента и одна часть песка по
ГОСТ 6139 по массе) с водоцементным отношением, равным 0,30.
9.4.2 Определение линейного расширения
9.4.2.1 Аппаратура
Прибор для определения линейного расширения по
ГОСТ 11052, снабженный индикатором часового типа исполнения ИЧ, класса точности 1, пылезащищенным по
ГОСТ 577. Индикатор должен быть оснащен удлиненным наконечником из твердого сплава.
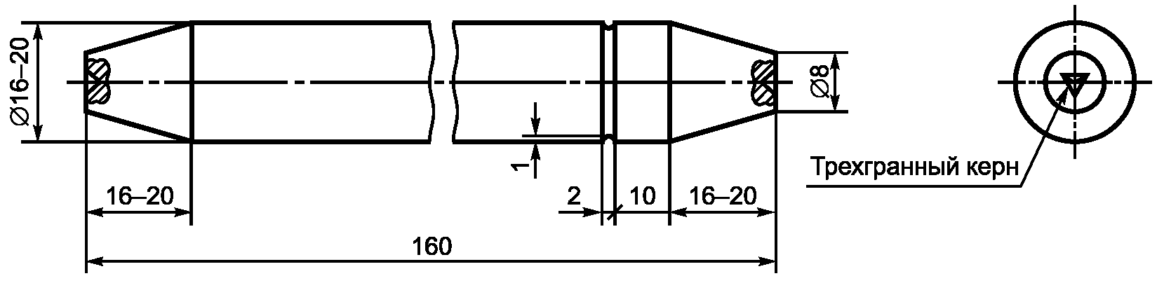
Эталон длины диаметром 16 - 20 мм, длиной 160 мм, изготовленный из стали 40Х по
ГОСТ 4543 (рисунок 1). Верхняя часть эталона обозначается меткой.
Пластинки для определения линейного расширения, изготовленные из латуни по
ГОСТ 931 (рисунок 2). Размеры пластинок: (38 +/- 1) x (38 +/- 1) мм, толщина 1 - 2 мм. В центре пластинок должно быть углубление с углом при вершине около 120°, служащее опорной точкой при измерении длины образца. С другой стороны пластинки должны быть припаяны медные проволочные анкеры длиной 20 - 30 мм и диаметром 0,5 - 2,0 мм.
1 - пластинка; 2 - трехгранный керн (глубина керна
0,5 - 0,7 мм, угол наклона между плоской гранью и осью
керна 60°); 3 - медные анкеры с припоем
Рисунок 2 - Пластинка с медными анкерами
и трехгранным керном
Формы для изготовления образцов-балочек и насадки к формам по
ГОСТ 30744.
9.4.2.2 Проведение измерений
9.4.2.2.1 Для определения линейного расширения к торцевым поверхностям подготовленной формы закладывают пластинки с медными анкерами и керновым углублением.
9.4.2.2.2 Изготовление и хранение образцов - по
ГОСТ 30744.
9.4.2.2.3 Через (24 +/- 2) ч хранения в ванне с гидравлическим затвором образцы осторожно расформовывают, маркируют, устанавливают верхнюю метку и измеряют.
9.4.2.2.4 Перед измерениями проводят проверку прибора на постоянство отсчета с помощью эталона длины. Отклонение оси эталона длины от вертикали не должно превышать 2 мм.
9.4.2.2.5 Измерение образцов-балочек проводят при одном и том же положении верхней метки эталона длины.
9.4.2.2.6 После измерения образцы-балочки погружают в ванну с водой в горизонтальном положении так, чтобы они были полностью погружены в воду и не соприкасались друг с другом. Хранят образцы до проведения очередного измерения по
9.4.2.2.5. Периодичность измерений: 1, 2, 7, 14, 21 и 28 сут.
9.4.2.3 Обработка результатов
Линейное расширение каждого образца-балочки

, %, вычисляют по формуле

, (1)
где n1 - отсчет, проведенный при измерении образца-балочки, освобожденного от формы через 1 сут от начала затворения цемента, мм;
n2 - отсчет при последующих измерениях образца-балочки, мм;
l - длина эталона, l = 160 мм.
За линейное расширение напрягающего цемента принимают среднее арифметическое значение результатов измерений трех образцов-балочек. Результат округляют до 0,01%.
| | ИС МЕГАНОРМ: примечание. Нумерация пунктов дана в соответствии с официальным текстом документа. | |
9.4.4 Определение самонапряжения
9.4.4.1 Аппаратура
Прибор для определения самонапряжения (см. рисунок 3).
1 - стойка; 2 - держатель; 3 - индикатор часового типа;
4 - крепежный винт; 5 - динамометрическое кольцо с образцом;
6 - нижняя опора; 7 - эталон длины
Рисунок 3 - Прибор для определения самонапряжения
Эталон длины диаметром 16 - 20 мм, длиной 112 мм, изготовленный из стали 40Х по
ГОСТ 4543 (рисунок 1). Верхняя часть эталона обозначается меткой.
Динамометрическое кольцо и форма для изготовления образцов-балочек в динамометрических кольцах (рисунок 4).
Рисунок 4 - Динамометрическое кольцо с образцом
9.4.4.2 Проведение измерений
9.4.4.2.1 Самонапряжение цемента определяют в динамометрических кольцах. До изготовления образцов-балочек проводят сборку кольца и формы (см. рисунок 5) и измеряют кольцо. Результат измерения кольца принимают за начальный отсчет при определении деформации кольца, характеризующей самонапряжение.
а) - форма в сборе; б) - боковая пластина (2 шт.);
в) - крепежная втулка (2 шт.); г) - нижняя пластина (1 шт.)
Рисунок 5 - Форма для изготовления образцов
при определении самонапряжения
9.4.4.2.2 Перед измерениями проводят проверку прибора по
9.4.2.2.4.
9.4.4.2.3 После изготовления образцы-балочки в динамометрических кольцах хранят в течение (24 +/- 2) ч в ванне с гидравлическим затвором, затем осторожно расформовывают, измеряют и укладывают в ванну с водой.
9.4.4.2.4 Для определения самонапряжения образцы-балочки извлекают из ванны и измеряют в сроки: 1, 2, 7, 14, 21, 28 сут.
9.4.4.3 Обработка результатов
Значение самонапряжения образца-балочки в кольце

, МПа, вычисляют по формуле

, (2)
где

- значение деформации кольца в направлении оси образца, мм.
Самонапряжение цемента вычисляют как среднее арифметическое значение результатов измерений трех образцов-балочек, отформованных из одной пробы цемента. Вычисления проводят с точностью до 0,01 МПа.
10. Транспортирование и хранение
Транспортирование напрягающего цемента - по
ГОСТ 30515.
11. Гарантии изготовителя
(рекомендуемое)
ОБЛАСТЬ ПРИМЕНЕНИЯ НАПРЯГАЮЩЕГО ЦЕМЕНТА
Таблица А.1
Вид конструкций, изделий и сооружений | Техническая и экономическая эффективность |
Сборные и монолитные емкостные и подземные конструкции и сооружения. Трубы напорные и безнапорные. Тоннели, в том числе метрополитенов. Ремонт дорожных и аэродромных покрытий. Покрытия автодорожных мостов, кровель, в том числе эксплуатируемых, полов промышленных зданий и спортивных сооружений (конькобежные дорожки, трибуны стадионов, ледовые поля). Плавательные бассейны. Сборные элементы силосов, емкостей. Стыки емкостных подземных сооружений. Конструкции под динамические нагрузки, фундаменты под турбоагрегаты. Ограждающие конструкции, выполняемые методом "стена в грунте". Хранилища РАО и других отходов. Массовые сборные и монолитные изделия и конструкции, включая многопустотные плиты перекрытий. Конструкции с предварительно напрягаемой арматурой. Усиление железобетона при реконструкции | Обеспечение технологической и эксплуатационной трещиностойкости и водонепроницаемости W12 и выше, исключение всех видов гидроизоляции, сокращение расхода арматуры, цемента, циклов термообработки. Возможность уменьшения размеров сечений, расхода бетона, повышения степени сборности. Сокращение сроков строительства и пуска объектов в эксплуатацию. Повышение коррозионной стойкости, сроков службы, надежности сооружений в целом |