Главная // Актуальные документы // ГОСТ Р (Государственный стандарт)СПРАВКА
Источник публикации
М.: ИПК Издательство стандартов, 2000
Примечание к документу
Документ утратил силу с 1 января 2013 года в связи с изданием
Приказа Росстандарта от 14.12.2011 N 1501-ст. Взамен введен в действие
ГОСТ IEC 60335-2-77-2011.
Документ включен в
Перечень стандартов, в результате применения которых на добровольной основе обеспечивается соблюдение требований технического
регламента Таможенного союза "О безопасности низковольтного оборудования" (ТР ТС 004/2011) (
Решение Комиссии Таможенного союза от 16.08.2011 N 768).
Документ включен в
Перечень документов в области стандартизации, в результате применения которых на добровольной основе обеспечивается соблюдение требований Федерального
закона от 27 декабря 2009 г. N 347-ФЗ "Технический регламент о безопасности низковольтного оборудования" (
Приказ Росстандарта от 14.09.2010 N 3546).
Документ включен в
Перечень документов в области стандартизации, в результате применения которых на добровольной основе обеспечивается соблюдение требований технического
регламента "О безопасности машин и оборудования", утвержденного Постановлением Правительства Российской Федерации от 15 сентября 2009 г. N 753 (
Приказ Росстандарта от 20.08.2010 N 3108).
Документ включен в
Перечень документов в области стандартизации, содержащих правила и методы исследований (испытаний) и измерений, в том числе правила отбора образцов, необходимые для применения и исполнения технического
регламента о безопасности машин и оборудования, а также для осуществления оценки соответствия (
Распоряжение Правительства РФ от 05.08.2010 N 1328-р).
Документ включен в
Перечень документов в области стандартизации, содержащих правила и методы исследований (испытаний) и измерений, в том числе правила отбора образцов, необходимые для применения и исполнения Федерального
закона "Технический регламент о безопасности низковольтного оборудования" и осуществления оценки соответствия (
Распоряжение Правительства РФ от 29.07.2010 N 1284-р).
Документ
введен в действие с 1 января 2001 года.
Название документа
"ГОСТ Р МЭК 60335-2-77-99. Государственный стандарт Российской Федерации. Безопасность бытовых и аналогичных электрических приборов. Дополнительные требования к управляемым вручную газонокосилкам и методы испытаний"
(принят и введен в действие Постановлением Госстандарта России от 16.11.1999 N 406-ст)
"ГОСТ Р МЭК 60335-2-77-99. Государственный стандарт Российской Федерации. Безопасность бытовых и аналогичных электрических приборов. Дополнительные требования к управляемым вручную газонокосилкам и методы испытаний"
(принят и введен в действие Постановлением Госстандарта России от 16.11.1999 N 406-ст)
Принят и введен в действие
от 16 ноября 1999 г. N 406-ст
ГОСУДАРСТВЕННЫЙ СТАНДАРТ РОССИЙСКОЙ ФЕДЕРАЦИИ
БЕЗОПАСНОСТЬ БЫТОВЫХ И АНАЛОГИЧНЫХ ЭЛЕКТРИЧЕСКИХ ПРИБОРОВ
ДОПОЛНИТЕЛЬНЫЕ ТРЕБОВАНИЯ К УПРАВЛЯЕМЫМ ВРУЧНУЮ
ГАЗОНОКОСИЛКАМ И МЕТОДЫ ИСПЫТАНИЙ
Safety of household and similar electrical appliances.
Particular requirements for pedestrian controlled
mains-operated lawnmowers and test methods
ГОСТ Р МЭК 60335-2-77-99
Группа Е75
ОКС 97.180
ОКП 48 5961
Дата введения
1 января 2001 года
1. Разработан и внесен Техническим комитетом по стандартизации ТК 19 "Электрические приборы бытового назначения".
2. Принят и введен в действие
Постановлением Госстандарта России от 16 ноября 1999 г. N 406-ст.
3. Настоящий стандарт представляет собой полный аутентичный текст международного стандарта МЭК 60335-2-77 (1996) (Издание 1.0) "Безопасность бытовых и аналогичных электрических приборов. Часть 2. Дополнительные требования к управляемым вручную газонокосилкам".
4. Введен впервые.
В Европейском сообществе разработан окончательный проект (final draft) стандарта на данные изделия - pr EN 60335-2-77. Наиболее существенные отличия от МЭК 60335-2-77 (1996) следующие:
в маркировке изделия должна быть ссылка на EN 60335-2-77 (7.1);
касательные линии к траектории лезвия должны пересекать защитный корпус режущего устройства
(20.103.1.2);
при имитации опасности от выбрасываемого предмета уменьшено количество снарядов, которые могут ударяться по панелям стенда
(20.103.3).
Настоящий стандарт содержит нормы, правила и методы испытаний, которые дополняют, заменяют или исключают соответствующие разделы и (или) пункты
ГОСТ Р МЭК 335-1.
Номера пунктов настоящего стандарта, которые дополняют пункты
ГОСТ Р МЭК 335-1, начинаются с цифры 101.
Требования настоящего стандарта являются обязательными.
| | ИС МЕГАНОРМ: примечание. Требования к методам испытаний, выделенные курсивом в официальном тексте документа, в электронной версии документа отмечены знаком "#". | |
Требования к методам испытаний выделены курсивом.
Дополнительные приложения обозначены буквами AA, BB, CC, DD.
1.1. Замена пункта
Настоящий стандарт устанавливает требования безопасности управляемых вручную пешеходных электрических барабанных или ротационных газонокосилок, предназначенных для использования вокруг дома или аналогичного использования, номинальным напряжением не более 250 В для однофазных сетей.
1.2. Замена пункта
Примечание. Настоящий стандарт не учитывает опасностей, возникающих в случае:
- безнадзорного использования приборов детьми или немощными лицами;
- игр детей с приборами.
1.3. Замена пункта
Настоящий стандарт не распространяется на газоноподравниватели, подравниватели края газона, газонообрезчики, центробежные косилки, косилки с серповидными ножами, сельскохозяйственные косилки.
Ротационные косилки не входят в область распространения настоящего стандарта, если режущее устройство, имеющее одну или более неметаллических нитей либо один или более неметаллических режущих элементов, смонтировано на оси основного привода. При этом режущее устройство выполняет резание при помощи центробежной силы, кинетическая энергия отдельного режущего устройства не превышает 10 Дж, и режущее устройство не подлежит замене металлическим или другим гибким материалом, эквивалентным подставляемому изготовителем.
Примечания.
1. Для приборов, предназначенных для использования в тропических странах, могут быть необходимы специальные требования.
2. Во многих странах национальные органы здравоохранения, охраны труда и др. предъявляют к приборам дополнительные требования.
В настоящем стандарте применяются термины с соответствующими определениями по
ГОСТ Р МЭК 335-1, а также приведенные ниже.
2.2.9. Замена пункта
Нормальная работа: работа прибора при следующих условиях: прибор работает при номинальном напряжении с нагрузкой, необходимой для достижения номинальной силы тока.
2.101. Лезвие: термин используют в предупреждениях и инструкциях при обозначении режущего устройства (см.
2.104).
2.102. Тормозная система: комбинация одного или более тормозов и связанных устройств работы и управления.
2.103. Управление: средство или механизм, которое управляет работой или любой рабочей функцией прибора.
2.104. Режущее устройство: механизм, обеспечивающий процесс резания газонокосилкой.
2.105. Корпус режущего устройства: часть или части конструкции прибора, которые обеспечивают защиту деталей вокруг режущего устройства.
2.106. Траектория лезвия: путь, описываемый наиболее удаленной точкой режущего устройства, когда оно вращается вокруг оси вала.
2.107. Положение резания: любое верхнее положение режущего устройства для резания травы, определяемое изготовителем.
2.108. Ширина резания: ширину резания определяют поперек режущего устройства под прямым углом к направлению перемещения и рассчитывают исходя из размеров режущего устройства или диаметра(ов) окружности траектории резания.
2.109. Барабанные косилки: газонокосилки с одним или более режущим устройством, вращающимся вокруг горизонтальной оси, обеспечивающим стригущее действие с фиксированными режущей полосой или ножом.
2.110. Разгружающий спуск: расширение ограждения режущего устройства в виде разгружающего отверстия (выхода), обычно используемого для управления удалением травы из режущего устройства.
2.111. Разгружающее отверстие: щель или отверстие в ограждении режущего устройства, через которую трава может быть удалена.
2.112. Центробежная косилка: прибор для срезки травы с множеством свободно качающихся режущих элементов, которые вращаются вокруг оси параллельно плоскости резания и срезают траву посредством удара.
2.113. Подхватник травы: деталь или комбинация деталей, которая обеспечивает собирание срезанной травы или мусора.
2.114. Ограждение: часть прибора или блок, встроенная в прибор, для обеспечения защиты оператора и/или зрителя.
2.115. Ручка: все части, которые предназначены для удержания прибора рукой во время перемещения при предполагаемом использовании.
2.116. Удар: испытание метательным снарядом, проходящим мгновенно через все слои материальной мишени.
2.117.

косилка: газонокосилка, которая использует воздушную подушку как опору на землю вместо колес.
2.118. Предполагаемое использование: любое использование прибора, которое примерно соответствует описанному в инструкции по эксплуатации и которое согласуется с такой деятельностью, как срезка травы, включение, остановка или соединение (разъединение) с источником энергии.
2.119. Газонообрезчик: мощный прибор, годный для подрезки травы и почвы в вертикальной плоскости.
2.120. Подравниватель края газона: мощный прибор для срезки травы и подравнивания края резания, обычно в вертикальной плоскости.
2.121. Газонокосилка (косилка): прибор для срезки травы с режущим устройством, работающим приблизительно параллельно земле, которое устанавливают относительно земли на высоту срезки при помощи колес, воздушной подушки, полозьев и т.п. и для которого в качестве привода применяют электродвигатель.
2.122. Газоноподравниватель: мощный прибор, в котором плоскость работы режущего устройства и высота срезки устанавливаются оператором при помощи колес, полозьев и т.п.
2.123. Максимальная скорость работающего двигателя: самая высокая скорость двигателя, получаемая при регулировании в соответствии со спецификацией или инструкцией изготовителя и необходимая режущему устройству.
2.124. Насадки косилки: съемные режущие устройства, легко отделяющиеся от прибора и позволяющие использовать прибор для других целей.
2.125. Мульчирующая косилка: ротационная косилка без разгружающего отверстия (выходного) в ограждении режущего устройства.
2.126. Минимальная нагрузка: минимальная нагрузка, достижимая при номинальном напряжении (для барабанных косилок - без контакта барабана с фиксированной режущей полосой или ножом).
2.127. Рабочее управление: любое управление, требующее от оператора действия для совершения особых функций.
2.128. Управление в присутствии оператора: управление, предназначенное для автоматического прерывания подачи энергии к приводу, когда оператор прекращает выполнять свои функции.
2.129. Рабочая зона: для человека, работающего с газонокосилкой, это рабочая зона, изображенная на рисунке 101.
Примечания.
1. Рабочая зона - область, до границы которой могут дотянуться 95% мужчин из нормального рабочего положения.
2. Нижняя передняя зона - область, до границ которой могут дотянуться 5% мужчин или 50% женщин, когда ручка является барьером. Кроме того, 95% мужчин могут дотянуться до этой зоны, наклоняясь вперед, когда ручка является барьером.
3. Все барьеры внутри рабочей зоны будут уменьшать пространство зоны, занимаемое и защищенное барьером.
4. Рабочая зона включает максимальную область распространения всех многократно используемых движений оператора по управлению прибором, но не предназначенных представлять предпочтительные позиции оператора.
Рисунок 101. Рабочая зона
2.130. Стояночный тормоз: механизм, встроенный в прибор, который при включении обеспечивает постоянство стационарного положения прибора при отсутствии оператора.
2.131. Пешеходная управляемая косилка: прибор для срезания травы, толкаемый или самодвижущийся, обычно управляемый оператором, идущим за ним.
2.132. Источник мощности: двигатель, который обеспечивает механическую энергию для линейного и/или вращательного движения.
2.133. Ротационная косилка: газонокосилка, в которой режущие устройства, срезающие посредством удара, вращаются вокруг оси (осей) перпендикулярно к плоскости резания.
2.134. Основной тормоз: устройства, предназначенные для снижения скорости передвижения машины по земле и ее остановки.
2.135. Косилка с серповидной полосой: газонокосилка, привод которой обеспечивает возвратно-поступательное движение ножа или ножей для создания стригущего действия стационарно закрепленной режущей полосы или движущегося ножа.
2.136. Время остановки: время, прошедшее между моментом, когда привод отключают, и моментом, когда прибор или его агрегат останавливается.
2.137. Линия выброса (барабанные косилки): максимально крутая линия в вертикальной плоскости, касательная к периферии режущего барабана в направлении его вращения, которая не пересекает защитное ограждение или часть прибора (см.
рисунок 110).
2.138. Опасность от выброшенного предмета: возможность травмирования, вызываемая предметом, выброшенным работающим режущим устройством.
2.139. Тяговый привод: устройства (система), предназначенные для передачи мощности от источника энергии к средству передвижения по земле.
3.101. Если косилка снабжена насадками, изготовленными другим изготовителем, которые расширяют возможности использования газонокосилки, она должна, кроме того, соответствовать требованиям электробезопасности, установленным настоящим стандартом.
#Соответствие требованию проверяют осмотром и соответствующими испытаниями, где это необходимо.#
4. Общие условия испытаний
4.5. Дополнение к пункту
#Режущее устройство должно быть отрегулировано и смазано специально для испытаний в соответствии с инструкцией изготовителя.#
Примечание. Например, режущее устройство барабанных косилок при нормальном регулировании не может работать длительное время из-за отсутствия смазки, обычно обеспечиваемой травой.
4.6. Дополнение к пункту
Электронное устройство регулирования скорости устанавливают на наивысшую скорость.
6.1. Замена пункта
Приборы должны быть II или III класса защиты от поражения электрическим током.
6.2. Дополнение к пункту
Приборы должны иметь степень защиты не менее IPX4 по
ГОСТ 14254.
7. Маркировка и инструкции
7.1. Дополнение к пункту
Следующее предупреждение должно быть расположено на видном месте на приборе. Буквы должны быть высотой не менее 3 мм на черном или желтом фоне. При наличии соответствующих стандартных символов и пиктограмм они должны быть использованы. Маркировка или символы, обозначающие предупреждение, должны быть расположены как можно ближе к источнику возможной опасности.
ПРЕДУПРЕЖДЕНИЕ:
ОТКЛЮЧИТЬ И ВЫНУТЬ ВИЛКУ ИЗ СЕТИ ПЕРЕД РЕГУЛИРОВАНИЕМ, ЧИСТКОЙ И В СЛУЧАЕ ПЕРЕКРУЧИВАНИЯ ИЛИ ПОВРЕЖДЕНИЯ ПРОВОДА.
ЧИТАЙТЕ ИНСТРУКЦИИ.
НЕ ДОПУСКАЙТЕ ПОПАДАНИЯ СОЕДИНИТЕЛЬНОГО ГИБКОГО ШНУРА В РЕЖУЩИЕ ЛЕЗВИЯ.
ЛЕЗВИЯ ПРОДОЛЖАЮТ ВРАЩАТЬСЯ ПОСЛЕ ОТКЛЮЧЕНИЯ ПРИБОРА.
Для ротационных косилок:
- режущее устройство должно быть промаркировано;
- если используют приспособление "подхватник травы", инструкции должны быть прикреплены к газонокосилке около разгружающего устройства и к приспособлению "подхватчик травы", установленному так, что газонокосилка не будет работать без этого приспособления или местного ограждения.
7.6. Дополнение к пункту
Примечание 101. Информация о символах для оператора приведена в ГОСТ 26336, о сигнальных цветах - в ГОСТ 12.4.026.
7.9. Изменение в пункте
Первый абзац изложить в новой редакции:
Управляющие устройства для оператора, описанные в
20.101.1, кроме тех, назначение которых очевидно, должны быть снабжены наклейкой или маркировкой с описанием работы устройства.
7.12. Замена пункта
Прибор должен быть снабжен инструкцией.
Текст инструкции должен содержать:
a) предупреждения, которые необходимо указывать на приборе вместе с дальнейшим разъяснением, где это необходимо;
b) инструкции по надлежащей сборке прибора для испытаний, если он не поставлен в собранном виде;
c) инструкции по надлежащему регулированию прибора, включая предупреждение об опасности вращающегося лезвия(ий). Например: "Внимание! Не прикасайтесь к вращающемуся лезвию";
d) инструкции по безопасности при пользовании прибором, в том числе рекомендация по способу подачи электроэнергии, - электроэнергия должна подаваться через устройство защитного отключения (УЗО) с током отсечки не более 30 мА;
e) инструкции о работе всех управляющих устройств;
f) рекомендации по использованию, типу и максимальной длине удлинителя шнура питания (шнур должен быть не легче, чем установлено в
25.7);
g) инструкции по установке и использованию насадок, если таковые имеются;
h) информацию следующего содержания, где это применимо:
1) Обучение
- Внимательно прочитайте инструкции. Ознакомьтесь с управляющими устройствами и правильным использованием прибора.
- Никогда не разрешайте детям и людям, не знакомым с этими инструкциями, пользоваться прибором. Местное законодательство может ограничивать возраст оператора.
- Никогда не косите, если рядом люди или домашние животные.
- Оператор или пользователь несет ответственность за несчастный случай или риск, которому подверглись другие лица или их собственность.
2) Подготовка
- Во время кошения всегда носите закрытую обувь и длинные брюки.
- Не работайте с прибором босиком или в открытых сандалиях.
- Тщательно обследуйте площадку и удалите все камни, палки, провода, кости и другие чужеродные предметы.
- Перед работой обязательно осмотрите лезвия, болты лезвий и фрезерную головку с тем, чтобы убедиться, что они не изношены или не повреждены. Замените изношенные или поврежденные лезвия и болты для сохранения баланса.
- Будьте внимательны с приборами, имеющими несколько лезвий, так как вращение одного лезвия может повлечь за собой вращение других лезвий.
3) Работа
- Косите только при дневном или хорошем искусственном освещении.
- Избегайте работы с прибором на мокрой траве, где это возможно.
- Всегда убедитесь в надежности своей опоры на склонах.
- При работе с прибором ходите, но не бегите.
- При использовании ротационных косилок на колесах косите поперек поверхности склонов, но не вверх-вниз.
- Будьте особенно осторожны при изменении направления движения прибора на склонах.
- Не косите на очень крутых склонах.
- Будьте особенно осторожны, когда разворачиваете прибор или тянете его на себя.
- Остановите лезвие(я), если прибор необходимо наклонить, чтобы перенести (перевезти) его через нетравяные участки или к месту кошения и от него.
- Никогда не эксплуатируйте прибор с поврежденными защитными решетками или щитками или без предохранительных устройств, например дефлекторов и/или подхватчиков травы.
- Запускайте мотор в соответствии с инструкциями. При этом ноги держите на достаточном расстоянии от лезвий.
- Не наклоняйте прибор при запуске мотора, если только это не требуется для запуска. В случае необходимости наклоняйте его не более чем требуется и поднимайте только ту часть, которая удалена от оператора. Перед тем как поставить прибор на землю, всегда убедитесь, что обе руки находятся в положении, предусмотренном для управления прибором.
- Руки и ноги не должны находиться рядом с или под вращающимися частями прибора. При работе с ротационными косилками никогда не приближайтесь к выхлопному отверстию.
- Никогда не поднимайте или не переносите прибор при работающем двигателе.
- Отключайте прибор от розетки:
каждый раз, когда вы отходите от прибора;
перед чисткой засора;
перед проверкой, чисткой прибора или работой с ним;
если прибор наткнулся на чужеродное тело. Осмотрите прибор на случай его повреждения и проведите ремонт, как это требуется;
если прибор начинает чрезмерно вибрировать (проверьте немедленно).
4) Техническое обслуживание и хранение
- Следите за тем, чтобы все гайки, болты и винты были плотно закручены. Это обеспечивает поддержание прибора в надежном рабочем состоянии.
- Часто проверяйте подхватчик травы на предмет износа или поломки.
- В целях безопасности меняйте изношенные или поврежденные части.
- При использовании барабанных косилок будьте осторожны во время регулирования прибора, следите за тем, чтобы пальцы не попали между движущимися лезвиями и неподвижными частями прибора.
- Следите за тем, чтобы в ротационных газонокосилках использовалось режущее устройство надлежащего типа.
8. Защита от контакта с токоведущими частями
Защита от контакта с токоведущими частями - по
ГОСТ Р МЭК 335-1 со следующими дополнениями.
8.2. Дополнение к пункту
Для ротационных косилок II класса доступ к поверхности основной изоляции или поверхностям металлических частей, отделенных от токоведущих частей основной изоляцией, разрешается в случае, когда режущее устройство удалено, если для его удаления требуется инструмент.
9. Пуск электромеханических приборов
9.1. Запуск двигателей осуществляется при любом обычном напряжении, которое может применяться при эксплуатации.
Центробежные и другие автоматические пускатели должны работать ровно и без стука.
#Соответствие требованию проверяют трехразовым запуском прибора при минимальной загрузке и напряжении, равном 0,85 номинального или нижнему уровню шкалы номинального напряжения, при установке любого механизма управления на максимальную скорость.
При проведении проверки режущее устройство устанавливают, как указано в инструкциях производителя.
Прибор должен работать так, чтобы не были нарушены требования безопасности.#
10. Потребляемая мощность и ток
10.1. Не применяют.
12. В стадии рассмотрения
13. Ток утечки и электрическая прочность
при рабочей температуре
Ток утечки и электрическая прочность при рабочей температуре - по
ГОСТ Р МЭК 335-1.
14. В стадии рассмотрения
15.1.2. Дополнение к пункту
#Приборы, оснащенные приборным вводом или кабельным вводом, испытывают с соединителем установленного вида.
Воздушные фильтры не снимают.#
16. Ток утечки и электрическая прочность
Ток утечки и электрическая прочность - по
ГОСТ Р МЭК 335-1 со следующими дополнениями.
16.3. Дополнение к пункту
#Изоляции, эквивалентные дополнительной изоляции, отвечающие требованиям
22.35, испытывают в соответствии с требованиями, предъявляемыми к дополнительной изоляции.#
17. Защита от перегрузки трансформаторов
и соединенных с ними цепей
Защита от перегрузки трансформаторов и соединенных с ними цепей - по
ГОСТ Р МЭК 335-1.
18.101. Приборы должны быть сконструированы так, чтобы в процессе предполагаемого использования не появлялись электрические или механические сбои, которые могут отрицательно повлиять на соответствие прибора требованиям настоящего стандарта. Не допускается повреждение изоляции, а также разъединение контактов и соединений в результате нагревания, вибрации и т.д.
Кроме того, устройства для защиты от перегрузки не должны срабатывать в условиях предполагаемого использования.
#Соответствие требованию проверяют испытаниями по 18.102.#
18.102. #Прибор работает при минимальной загрузке; на электродвигатели с последовательным возбуждением подается напряжение, при котором скорость вращения равна скорости, достигаемой при номинальном напряжении в обычных условиях эксплуатации. Прибор работает в течение 48 ч, за минусом времени, необходимого для испытаний, предусмотренных
разделами 11 и
13.
Приборы работают без перерыва или в течение соответствующего числа периодов, при этом каждый период должен быть не менее 8 ч.
Во время испытания допускается замена угольных щеток; прибор смазывают, как при предполагаемом использовании.#
18.103. #Во время проведения испытаний, предусмотренных
18.102, устройства для защиты от перегрузки не должны срабатывать.
После проведения испытаний, предусмотренных
18.102, прибор испытывают в соответствии с
разделом 16. Соединения, ручки, предохранительные устройства, колпачки щеток и другие детали или компоненты не должны разъединяться или ослабевать, не должно наблюдаться износа, который может отрицательно повлиять на безопасность в условиях предполагаемого использования.#
19.7. Дополнение к пункту
Настоящее испытание не проводят на приборах с гибким или свободно вращающимся режущим устройством, устанавливаемым обычно на оси вращения привода.
20. Устойчивость и механические опасности
Устойчивость и механические опасности - по
ГОСТ Р МЭК 335-1 со следующими дополнениями.
20.2. Замена пункта
Для предотвращения непроизвольного запуска прибора, который может привести к возникновению потенциальной опасности, необходимо использовать выключатели только с ручным включением, а также выключатели, которые срабатывают от управляющего устройства.
Силовые зубчатые передачи, цепи, зубчатые барабаны, ремни, фрикционные приводы, шкивы, лопастные колеса вентилятора и другие движущиеся части, могущие создать зону защемления, что может вызвать повреждение во время предполагаемого использования прибора, должны быть так установлены или защищены ограждением или аналогичными приспособлениями, чтобы предотвратить случайный контакт с ними.
Приводные ремни и цепи, имеющие соединители, которые могут вызвать повреждение во время предполагаемого использования прибора, должны быть защищены по всей длине. Другие ременные или цепные приводы, которые не могут вызвать повреждение во время предполагаемого использования прибора, должны быть защищены, по крайней мере, в местах касания. Ведущие валы должны быть полностью защищены.
При разработке защитной системы следует использовать принципы, изложенные в
Приложении AA.
Вращающиеся колпаки или диски должны иметь непрерывную, неделимую или ровную поверхность.
Если конструкцией предусмотрено наличие ограждения работающих или движущихся частей, защищающего от потенциальной опасности, знак предупреждения об опасности должен быть помещен на ограждении или рядом с ним.
Все ограждения должны быть постоянно закреплены на приборе и не могут быть удалены без помощи инструментов. Открывание ограждений должно осуществляться при помощи инструмента. Исключение составляет снятие или перемещение составных ограждений, которые не предназначены для защиты от движущихся частей, или снятие откидных ограждений, предназначенных для разгружающих спусков для травы.
Требования не применяют к:
- режущему устройству;
- любой детали, функционирующей в контакте с почвой.
#Соответствие требованию проверяют осмотром и измерениями.#
20.101. Управление
20.101.1. Общие требования
Управляющие устройства должны соответствовать требованиям
ГОСТ 12.2.120 и ГОСТ Р 50863. Устройства должны также включать зоны, до которых могут дотянуться 5% и 95% взрослых операторов, как указано в
ГОСТ 12.2.120.
Следующие регулировки не входят в область действия управляющих устройств:
- установка высоты резания;
- установка или регулировка фиксированной режущей полосы или ножа на барабанных газонокосилках;
- установка выброса на подхватчике травы;
- ограничение перемещения кабеля.
Местонахождение и диапазон движения управляющих устройств должны быть удобны для оператора и оставаться в пределах антропометрических размеров, указанных на
рисунке 101. Диапазон действия управляющих устройств, используемых реже, может быть увеличен за счет изменения позиции тела оператора (например, наклона вперед до соприкосновения с ручкой в любом рабочем положении) в пределах рабочей зоны, при этом обе ноги должны находиться на земле.
20.101.2. Управление в присутствии оператора
Приборы должны быть оснащены устройством, установленным на ручке управления, которое автоматически останавливает вращение режущих устройств в тот момент, когда оператор снимает руки с ручки. Это может быть достигнуто либо путем остановки приводного электродвигателя, либо путем использования промежуточного механизма сцепления и тормоза для режущего устройства. Для запуска вращения режущего устройства управление должно предусматривать два отдельных разнородных действия. Выполнение этих действий с использованием одной и той же ручки позволит полностью предотвратить случайный запуск режущего устройства.
В парящих косилках, для которых не предусмотрено требование осуществлять запуск в наклонном положении, для включения лезвия не требуется, чтобы рука пересекала центральную линию рабочей зоны.
20.101.3. Тяговый привод
В приборах с тяговым приводом необходимо, чтобы:
- управление тяговым приводом автоматически останавливало или отсоединяло тяговый привод, когда оператор покидает обычное рабочее положение;
- управление реверсом тягового привода обеспечивало продолжительное включение направления движения;
- была предусмотрена возможность включения и отключения тягового привода во время работы режущих устройств.
20.102. Требования к тормозной системе
20.102.1. Общие требования
Приборы не должны требовать приложения чрезмерных усилий для их удержания в стационарном положении на склоне.
Приборы, нуждающиеся в дополнительных устройствах, например в основной или стояночной тормозных системах, должны отвечать требованиям, предусмотренным
20.102.2 и
20.102.3.
Прибор должен быть оснащен покрышками, поставляемыми изготовителем, которые имеют наименьшую площадь контакта протектора с испытательной поверхностью.
Если в качестве основных тормозов используют также тормоза бортового фрикциона, должна быть предусмотрена возможность их соединения, чтобы оба тормоза действовали с одинаковой силой.
#В приборах без средств торможения соответствие требованиям проверяют следующим образом.
Испытания проводят, установив прибор точно вверх и точно вниз под углом наклона 16,7° (30%). Для удержания прибора в стационарном положении должна использоваться сила не более 220 Н, прилагаемая к центру тяжести или ниже и непосредственно в направлении вниз или вверх. Во время испытаний прибор перемещают как вперед, так и назад с максимально достижимой наземной скоростью.#
20.102.2. Основной тормоз
#Пробные остановки осуществляются на практически горизонтальной (не превышающей уклон в 1°) сухой ровной твердой поверхности бетонной дороги (или аналогичной испытательной поверхности). При испытании прибора с отдельными устройствами управления сцеплением и тормозом разъединение сцепления должно происходить одновременно с введением в контакт тормоза.
При использовании имеющейся системы торможения прибор должен останавливаться в пределах 0,19 м на каждый 1 км/ч скорости.#
20.102.3. Стояночный тормоз
#Приборы, в которых предусмотрен основной тормоз, оснащаются стояночным тормозом.
Стояночный тормоз может быть в комбинации с основным тормозом.
Автоматический стояночный тормоз, если таковой предусмотрен, приводится в движение, когда освобождается управление, в присутствии оператора.
Испытания проводят под углом наклона 16,7° (30%) с коэффициентом трения, достаточным для того, чтобы прибор не соскальзывал вниз по склону. Прибор устанавливают на склоне с введенным в контакт и заблокированным стояночным тормозом, на нейтральной передаче при отключенном двигателе. Прибор испытывают в положении, когда под наклоном находится сначала передняя, а затем задняя его часть.
Прибор не должен двигаться вниз по склону, при этом сила, требуемая для введения в контакт и разблокировки стояночного тормоза, не должна превышать 220 Н.#
20.103. Требования, предъявляемые к ротационным косилкам
20.103.1. Ограждение режущих устройств
20.103.1.1. Общие требования
Ограждение режущих устройств должно опускаться не менее чем на 3 мм ниже плоскости траектории лезвия. Это требование не относится к случаю, указанному в
20.103.1.2, и к месту расположения разгружающего отверстия для травы. Шляпки болтов и крепежных винтов режущего устройства могут опускаться ниже ограждения режущего устройства при условии, что они расположены на расстоянии, не превышающем 50% диаметра траектории лезвия.
Любое удлинение любой из стенок ограждения режущего устройства, прилегающих к разгружающему отверстию, включая стенки разгружающего спуска, не отвечающее указанному выше требованию, должно рассматриваться как часть разгружающего отверстия. Стенки должны испытываться при помощи испытательного зонда в виде ступни (см.
20.103.4) и отвечать требованиям настоящего стандарта.
20.103.1.2. Отверстие в передней части прибора
Отверстия в передней части прибора могут быть предусмотрены на приборах, имеющих ширину резания не менее 600 мм.
Если такие отверстия предусмотрены, они не должны превышать ширину резания или быть шире отверстия, образуемого двумя радиальными линиями, выходящими из центра(ов) шпинделя(ей) режущего устройства под углом 50° к направлению движения, при пересечении с ограждением, каким бы малым оно ни было (см.
рисунки 102 и
103).
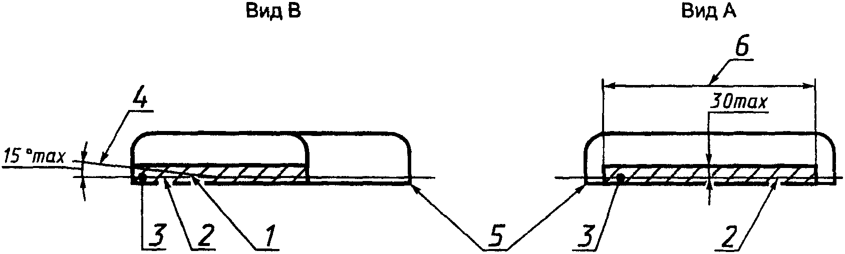
1 - касательная к траектории лезвия; 2 - плоскость
траектории лезвия; 3 - отверстие на передней части
ограждения лезвия; 4 - вертикальный угол отверстия;
5 - нижний край ограждения лезвия; 6 - допустимая
ширина отверстия в ограждении лезвия
Виды A и B распространяются как на рисунок 102, так и рисунок 103
Границы передней части ограждения лезвия.
Отверстие на передней части ограждения для косилок с шириной
резания около 600 мм составляет 50° max или равно ширине
резания, в зависимости от того, что

Положение высшей точки всех отверстий в ограждении режущего устройства в передней части прибора, за исключением разгружающих отверстий, должно быть ограничено вертикальным углом отверстия, равным 15°, и максимальным расстоянием 30 мм над горизонтальной плоскостью режущего устройства в самом нижнем положении режущего устройства. Высшая точка отверстий для установки скребков или грабель считается точкой на нижнем крае передней части ограждения режущего устройства (см. виды A и B на
рисунках 102 и
103).
20.103.1.3. Разгружающие отверстия (спуски)
Если в приборе предусмотрены разгружающие спуски, то касательная к траектории лезвия, лежащая в или над плоскостью траектории лезвия по направлению вращения режущего устройства, не должна пересекать панель-мишень в зоне оператора прежде ее контакта с ограждением режущего устройства или ограждением прибора.
20.103.1.4. Ограждения и подхватчики травы
Качающиеся ограждения или ограждения, которые необходимо перемещать для того, чтобы установить подхватчик травы, должны автоматически возвращаться на основную защитную позицию, когда подхватчик травы снят. Ограждения должны являться составной частью корпуса режущего устройства.
20.103.2. Остановка режущего устройства
20.103.2.1. Время остановки режущего устройства
На приборах с шириной резания до 600 мм включительно режущее устройство должно останавливаться при максимальной скорости вращения в течение 3 с после того, как оператор отпустил устройство управления.
На приборах с шириной резания более 600 мм время остановки должно составлять 5 с.
20.103.2.2. Прогнозируемый срок службы механизма режущего устройства
Механизм остановки режущего устройства должен работать с обеспечением требуемого времени остановки в течение прогнозируемого срока службы прибора между капитальными ремонтами, рекомендуемыми производителем. Испытания должны состоять из не менее 5000 циклов включений-выключений на скорости, указанной производителем.
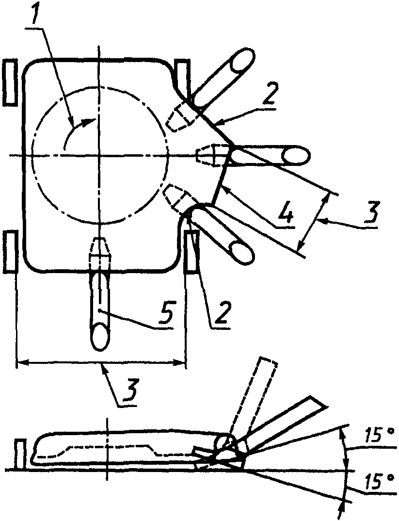
20.103.3. Опасность от выброшенного предмета
Приборы должны быть сконструированы так, чтобы в процессе предполагаемого использования обеспечивалась достаточная защита людей от риска нанесения повреждения чужеродными предметами, которые могут быть выброшены режущим устройством.
#Соответствие требованию проверяют следующим испытанием.
Прибор помещают в испытательное ограждение, конструкция которого указана в
Приложении BB. При этом основание ограждения должно соответствовать приведенному в
Приложении CC. Применяемые панели-мишени испытывают, как указано в
BB.2, непосредственно до и после настоящего испытания. Панели-мишени по высоте должны быть разделены горизонтальными линиями на зоны, как показано на
рисунке BB.1 и описано в
Приложении DD.
Снаряды, используемые при испытании, представляют собой шарики диаметром 6,35 мм, изготовленные из закаленной горячекатаной стали твердостью не менее

(например, допускается использовать шарики, применяемые для шарикоподшипников).
Точки инжекции снарядов должны быть расположены аналогично двенадцатичасовой отметке, как показано на
рисунках BB.2 и
BB.3, на расстоянии (25 +/- 5) мм внутрь от траектории лезвия для инжекции снарядов. Точка инжекции должна быть предусмотрена для каждого режущего устройства многошпиндельных приборов.
Выходы инжекторной трубки должны устанавливаться и наполняться с верхней поверхности коврика из кокоса (см.
рисунок CC.1). Система должна быть устроена таким образом, чтобы скорость инжекции шарика могла изменяться.
В случае необходимости прибор можно упруго удерживать за ручку для предотвращения горизонтального движения.
Во время испытаний прибор должен работать на максимальной скорости работающего двигателя (как предусмотрено в
2.123).
Испытания проводят для каждого режущего устройства.
Прибор испытывают в различных рабочих вариантах, например как с насадками и сопутствующими деталями, такими как сборники травы или мульчирующие устройства, так и без них.#
Примечание. Персонал, проводящий испытания, должен находиться вне испытательной зоны либо быть иным образом защищенным от опасности брошенного предмета.
#При помещении прибора на твердую поверхность высота резания для режущего устройства должна быть установлена на уровне 30 мм или на следующем, более высоком уровне резания. На приборах с максимальной высотой резания 30 мм или менее устанавливается максимальная высота.
Перед испытанием устанавливают скорость, с которой инжектируется шарик, так, чтобы шарик поднимался не менее чем на 30 мм над поверхностью кокосового коврика и под углом 10° к вертикальной оси. Затем, когда прибор соответствующим образом установлен, инжектируют шариками в прибор по одному. Увеличивают скорость шариков на небольшие величины до тех пор, пока каждый шарик не будет ударяться режущим устройством прибора. В начале испытания устанавливают минимальную скорость. Сколотые или поврежденные шарики должны быть заменены.
Инжектируют 500 снарядов в каждой точке инжекции при каждом испытании. На многошпиндельных приборах испытанию подвергают каждый шпиндель и проводят оценку результатов каждого испытания.
Во время испытаний, в случае чересчур сильных ударов, может возникнуть необходимость ремонта или замены панели-мишени для продолжения испытаний. Панели-мишени следует заменить, если после ударов от предыдущих испытаний остались дырки, которые не могут быть покрыты сорокамиллиметровой квадратной клейкой этикеткой. При этом любая поврежденная область панели-мишени должна покрываться одним слоем клейкой этикетки (накладки).
Шарики, остающиеся в испытательной конструкции (или на испытательной поверхности), могут по желанию испытателя удаляться для минимизации ударов рикошетом.
Если необходимо провести повторное испытание, для каждого испытания (инжектируют не менее 500 снарядов) используют новое режущее устройство, за исключением случаев, когда режущее устройство не повреждено в результате воздействия снарядов.#
Примечание. После проведения указанного испытания прибор может быть непригоден к использованию.
| | ИС МЕГАНОРМ: примечание. В официальном тексте документа, видимо, допущена опечатка: имеется в виду рисунок DD.1 Приложения DD, а не Приложения D. | |
#Считают и записывают удары на листе данных. Форма записи результатов испытаний приведена на
рисунке DD.1 Приложения D. Снаряды, которые при ударе повреждают линию границы зон панели-мишени, засчитывают в удары, попадающие по панели-мишени ниже этой линии.
При ширине резания менее или равной 600 мм при каждом испытании (инжектируют не менее 500 снарядов) не более 40 снарядов должны ударить панель-мишень между основанием и линией, находящейся на высоте 450 мм (нижняя и средняя зоны), не более шести из которых могут попасть по панели-мишени над линией, находящейся на высоте 300 мм (средняя зона). Не должно быть ударов по панели-мишени выше линии, находящейся на высоте 450 мм (высшая зона), а также более двух ударов по рабочей области панели-мишени между основанием и линией, находящейся на высоте 450 мм.
При ширине резания более 600 мм при каждом испытании (инжектируют не менее 500 снарядов) не более 50 снарядов должны ударить панель-мишень между основанием и линией, находящейся на высоте 450 мм (нижняя и средняя зоны), не более шести из которых могут попасть по панели-мишени над линией, находящейся на высоте 300 мм (средняя зона). Не должно быть ударов по панели-мишени выше линии, находящейся на высоте 450 мм (высшая зона), а также более двух ударов по рабочей области панели-мишени между основанием и линией, находящейся на высоте 450 мм.#
20.103.4. Доступ к режущему устройству
Во время работы прибора неумышленное приближение ног к режущему устройству должно быть предотвращено в разумно достижимой степени.
#Соответствие требованию проверяют следующим испытанием с использованием испытательного пробника в виде стопы, как показано на рисунке 104. Прибор помещают на твердую плоскую поверхность. Ограждения или дефлекторы (или те и другие) на корпусе режущего устройства должны находиться в нормальном рабочем положении, а опорные элементы прибора должны контактировать с опорной поверхностью. Парящие косилки поддерживают в наиболее высоком положении, которое может быть ими достигнуто при нормальных рабочих условиях.#
Испытательный пробник в виде стопы
Расположение пробника при испытаниях
1 - направление вращения; 2 - сторона разгружающего спуска,
которую проверяют испытательным пробником, если она менее
чем на 3 мм ниже плоскости траектории лезвия; 3 - область,
проверяемая испытательным пробником; 4 - разгружающее
отверстие; 5 - испытательный пробник в виде стопы
(или основание пробника из любого указанного
начального положения)
Рисунок 104. Проверка испытательным пробником в виде стопы
#Детали приборов, такие как колеса и станина, рассматривают как часть корпуса режущего устройства для цели настоящего испытания. Испытание проводят в статических условиях.
При испытаниях режущее устройство устанавливают в самом высоком и самом низком положениях резания. Если высота траектории режущего устройства различна при различных скоростях режущего устройства, испытание проводят таким образом, чтобы можно было охватить наименьшую и наибольшую высоту траектории режущего устройства.
Первоначально основание испытательного пробника устанавливают горизонтально на любой высоте. Испытательный пробник прикладывают в любой точке разгружающего отверстия и затем отклоняют его на 15° вперед и на 15° назад от горизонтали (см.
рисунок 104) с силой 20 Н или до момента, пока корпус режущего устройства поднимется с первоначального положения, в зависимости от того, что произойдет раньше.
Испытательный пробник прикладывают к задней стороне приборов, как показано на
рисунке 104.
Испытательный пробник не должен пересекать траекторию режущего устройства.#
20.103.5. Конструкция ручки
Ручка должна быть прикреплена к прибору таким образом, чтобы предотвратить потерю управления во время работы в результате непредвиденного разъединения.
Должно быть предусмотрено специальное устройство (защелка или верхняя остановочная кнопка), которое не может быть случайно отсоединено во время предполагаемого использования прибора и которое не позволит концу ручки, близкому к оператору, приближаться более чем на 450 мм по горизонтали к задней стороне ближайшей траектории режущего устройства прибора во время предполагаемого использования (см. рисунок 105).
1 - траектория лезвия
Рисунок 105. Длина ручки
Однако если предусмотрено стояночное положение ручки, она должна автоматически фиксироваться в рабочем(их) положении(ях), когда передвигается в такое(ие) положение(я).
#Соответствие требованию проверяют осмотром и измерениями.#
20.104. Требования к барабанным косилкам
20.104.1. Общие требования к конструкции защитных и экранных устройств
20.104.1.1. Режущие барабаны должны быть защищены со всех сторон таким образом, чтобы испытательный стержень диаметром 50 мм и длиной 500 мм, установленный вертикально и нижним концом опирающийся на землю (опорную поверхность), не мог приблизиться к любой части барабана ближе чем на 10 мм, когда любой подхватчик травы снят (см.
рисунок 106).
20.104.1.2. Режущие барабаны должны быть со всех сторон закрыты ограждениями, установленными, по крайней мере, как показано на
рисунке 107.
20.104.1.3. Режущие барабаны со свободным и задним выбросами должны быть закрыты сверху ограждением так, чтобы его проекция на горизонтальную плоскость покрывала, по крайней мере, проекцию барабана на ту же горизонтальную плоскость, когда любой подхватчик травы снят (см.
рисунок 108).
20.104.1.4. Режущие барабаны с передним выбросом должны быть закрыты с задней стороны защитным устройством так, чтобы его проекция на вертикальную плоскость не покрывала, по крайней мере, проекцию барабана на ту же вертикальную плоскость не более чем на 25 мм (см.
рисунок 109).
#Соответствие требованию 20.104.1 проверяют осмотром и измерениями.#
Примечания.
1. Свободный выброс означает выброс обрезков травы во всех направлениях и без их сбора.
2. Задний выброс означает выброс обрезков травы так, что они собираются подхватчиком травы, расположенным за барабаном.
3. Передний выброс означает выброс обрезков травы так, что они собираются подхватчиком травы, расположенным перед барабаном.
20.104.2. Брошенная трава, брошенные предметы, безопасность оператора
Приборы с задним и свободным выбросами (но не передним выбросом) должны быть оснащены несъемным защитным устройством, которое ограничивает пределы вертикальной линии выброса до максимальной высоты 1 м в вертикальной плоскости захвата ручки.
#Соответствие требованию проверяют измерениями в соответствии с рисунком 110.#
1 - конец ручки в верхней позиции; 2 - крутизна линии
Рисунок 110. Барабанные косилки. Крутизна линии
20.104.3. Устройство ручки
Если конец ручки, близкий к оператору, находится на расстоянии менее 450 мм по горизонтали к задней вертикальной касательной к резальному барабану, то прибор должен быть сконструирован таким образом, чтобы не было доступа ног оператора к режущему барабану.
#Соответствие требованию проверяют измерениями и, если применимо, следующим испытанием.
На приборе устанавливают высоту резания, наиболее неудобную для работы. Испытательный пробник применяют только со стороны оператора, при этом основание испытательного пробника устанавливают горизонтально на любой высоте и затем отклоняют его от горизонтали вперед на угол 15° и назад на угол 15°.
Испытательный пробник не должен контактировать с режущим барабаном.#
21. Механическая прочность
Изменение
Энергия удара должна равняться (1,0 +/- 0,05) Дж.
21.101. Требования к ротационным косилкам
При испытаниях, предусмотренных настоящим пунктом, прибор работает с максимальной скоростью и может в случае необходимости упруго удерживаться за ручку для предотвращения горизонтального движения.
21.101.1. Прочность режущего устройства и его креплений
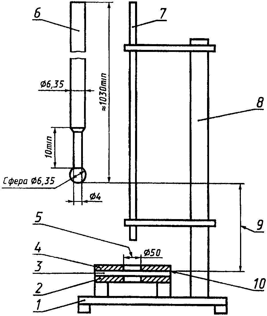
21.101.1.1. Режущее устройство и его крепления должны обладать прочностью, достаточной для того, чтобы выдержать столкновение с твердыми предметами.
#Соответствие требованию проверяют следующим испытанием.
Прибор помещают в испытательное ограждение, конструкция которого приведена в
Приложении BB, при этом используют стенд для испытания на удар, показанный на рисунке 111.#
Схема расположения прибора на стенде (вид сверху)
Рисунок 111. Стенд для испытания на удар. Лист 1
Параметры пружины:
Свободная длина - 165 мм.
Диаметр проволоки - 3,2 мм.
Общее число витков - 11,75.
Средний диаметр пружины - 36 мм.
Жесткость пружины - 2,27 Н/мм.
1 - сжатая пружина (концы поджаты и обточены); 2 - бетон;
3 - высота положения лезвия; 4 - свободная позиция трубы;
5 - сваренная или бесшовная стальная труба диаметром 30 мм
и толщиной стенки 3 мм; 6 - траектория вращения лезвия;
7 - средняя линия; 8 - дистанционное управление, приводящее
в движение металлическую рычажную пластину; 9 - верхний
и нижний сменные цилиндрические фланцы с отверстием
диаметром 33 мм, толщиной 25 мм, установленные в стандартной
трубе внутренним диаметром 100 мм, с зазором от 1,52 до 3,04
мм, твердостью поверхности отверстия от 350 до 460 НВ; 10 -
сменный цилиндр; 11 - стандартная труба внутренним диаметром
100 мм; 12 - стандартные трубы диаметром 75 мм; 13 - плита
толщиной 12,5 мм; 14 - штифт или шайба, приваренные к трубе
Рисунок 111. Лист 2
#Прибор устанавливают над стальной трубой диаметром 30 мм и толщиной стенки 3 мм, изготовленной методом бесшовной сварки, помещенной на стенд для испытания (см.
рисунок 111). Режущее устройство испытываемого прибора устанавливают на высоте резания приблизительно 50 мм и размещают таким образом, что при введении трубы в траекторию вращения режущего устройства режущее устройство ударяет выдвинутую часть трубы на расстоянии от 10 до 15 мм от траектории вращения лезвия (см.
рисунок 111). Трубу вводят один раз в траекторию каждого режущего устройства. Для каждого испытания используют новый кусок трубы.
Прибор должен работать в течение 15 с или до момента остановки резца, или до момента откола трубы.
Если конструкция прибора не позволяет ввести трубу, прибор передвигают на минимальное расстояние, необходимое для ввода трубы.#
Примечание. После проведения указанного испытания прибор может быть непригоден к использованию.
#Во время испытания ни одно укомплектованное режущее устройство, рычаг или диск, к которому оно прикреплено, не должно отсоединяться, и ни одна часть прибора не должна пройти сквозь все слои оградительной стены, изготовленной из фибрового картона. Если происходит поломка режущего устройства или его держателя, то результаты испытания считают неудовлетворительными. Поломку детали, сдвигающей привод, или скол режущего края режущего устройства неудовлетворительным результатом не считают.#
21.101.1.2. Прибор должен выдерживать перегрузку, которая появляется при возникновении разбалансирования из-за износа режущего устройства или его частей.
#Соответствие требованию проверяют следующим испытанием.
Прибор помещают в испытательное ограждение, конструкция которого приведена в
Приложении BB. Испытание проводят на гладкой твердой ровной поверхности. Парящие косилки испытывают на траве или синтетическом материале, аналогичном траве.
Дисбаланс режущего устройства D, кг x м, определяют по формуле

,
где L - диаметр траектории лезвия, м.
Рассчитанный дисбаланс создается путем удаления материала или его добавления к режущему устройству до достижения желаемого результата.
Испытание проводят в течение 1 ч в испытательном ограждении для каждого режущего устройства.
Каждое режущее устройство многошпиндельного прибора испытывают отдельно. По указанию производителя разрешается все режущие устройства многошпиндельного прибора испытывать одновременно. Для каждого испытания может использоваться новый прибор.#
Примечание. После проведения указанного испытания прибор может быть непригоден к использованию.
#Во время испытания прибор не должен терять никаких деталей, необходимых для соблюдения требований настоящего стандарта, и никакой компонент или деталь прибора не должен пройти сквозь слои стены испытательного ограждения.#
21.101.2. Структурная целостность корпусов режущих устройств, разгружающих спусков, ограждений и подхватников травы
Корпуса режущих устройств, разгружающие спуски, ограждения и подхватники травы должны обладать прочностью, достаточной для того, чтобы выдержать удары чужеродных предметов, которые могут выбрасываться режущими устройствами.
#Соответствие требованию проверяют следующим испытанием.
Прибор помещают в испытательное ограждение, конструкция которого приведена в
Приложении BB. Основа испытательной конструкции - стальной лист толщиной не менее 1,5 мм, опирающийся на лист фанеры толщиной 19 мм. Стальной лист должен быть достаточно большим, чтобы выступать на расстояние не менее 25 мм за ограждение режущего устройства прибора.
Для каждой траектории лезвия
(рисунок 112) должно быть предусмотрено входное отверстие для воздуха диаметром, указанным в таблице.#
Тип косилки | BTC | Диаметр входного отверстия для воздуха |
Немульчирующая | Любые BTC | 0,3 x BTC |
Мульчирующая | BTC <= 635 мм | BTC - 127 мм |
| BTC > 635 мм | 0,8 x BTC |
Обозначение: BTC - траектория лезвия. |
Примечание. Во время испытаний персонал должен находиться за экраном для защиты от возможного выброса предметов.
Одинарное лезвие
Двойное лезвие
1 - направление вращения; 2 - траектория лезвия;
3 - ограждение лезвия; 4 - фанера; 5 - стальная лицевая
сторона; 6 - отверстие для входа воздуха; 7 - десять
отверстий инжектирования диаметром 15 мм, расположенных
через равные промежутки; 8 - высота резания; 9 - десять
отверстий инжектирования диаметром 15 мм, расположенных
через равные промежутки, для каждого шпинделя
Рисунок 112. Испытание структурной целостности
#Точка инжекции B должна находиться для мульчирующих косилок на двенадцатичасовой отметке, как указано в
20.103.3, для немульчирующих косилок - на расстоянии 25 мм внутрь от траектории лезвия по линии BC, которая находится под углом 45° к линии AC в направлении, противоположном направлению вращения режущего устройства, где точка A является центром выхода разгружающего спуска, а точка C - центром оси режущего устройства (см.
рисунок 112).
Десять инжекционных отверстий, расположенных на одинаковом расстоянии от точки B и центра C, диаметром приблизительно 15 мм используются для инжекции снарядов или, если это предпочтительно, вместо использования десяти инжекционных отверстий прибор может поворачиваться на 36° от инжекционной точки B.
Инжекционные трубки не должны возвышаться над стальным листом.
Снаряды, используемые при испытании, представляют собой шарики из закаленной стали диаметром

, твердостью минимум

(например, допускается использовать шарики, применяемые для шарикоподшипников).
Инжектирование шариков должно осуществляться с различной скоростью. Следует отрегулировать скорость инжекции шарика так, чтобы шарик поднимался минимум на 30 и максимум на 300 мм над плоскостью резания режущего устройства.
Прибор помещают на стальной лист, при этом ось C режущего устройства находится в центре испытательного листа. Режущее устройство устанавливают на самую маленькую высоту резания, но не менее 30 мм. Если максимальная высота резания менее 30 мм, прибор испытывают с установленной максимальной высотой.
По десять снарядов инжектируют через каждое (из десяти) инжекционное отверстие (всего 100 снарядов).
Испытание проводят с каждым режущим устройством.
Новый корпус прибора может использоваться для каждого режущего устройства в приборе с несколькими режущими устройствами.
Считается, что корпус режущего устройства, ограждение или подхватчик травы не прошли испытание, если происходит любое из следующих событий:#
а) появилась дыра в корпусе режущего устройства, ограждении или подхватнике травы, позволяющая шарику попасть внутрь. Дыру во вторичном ограждении (например, во внутренней перегородке) не принимают за неудовлетворительный результат испытания;
б) произошла деформация любой части корпуса режущего устройства, ограждений или подхватчика травы в сторону траектории лезвия;
в) произошло смещение подхватчика травы или ограждения с опоры;
г) произошло падение подхватчика травы или защитного устройства из нормального рабочего положения.
#В случае неудовлетворительных результатов испытания могут быть испытаны два дополнительных идентичных прибора. В случае неудовлетворительных испытаний одного из двух приборов считают, что модель испытание не прошла.#
Примечание. После проведения указанного испытания прибор может быть непригоден к использованию.
22.6. Дополнение к пункту
Любые отверстия, предусмотренные для предотвращения скапливания воды в ограждении, должны быть диаметром не менее 5 мм или площадью не менее 20 мм2 при ширине не менее 3 мм.
#Соответствие требованию проверяют осмотром и измерениями.#
Для приборов класса II:
Ручки и управляющие устройства, удерживаемые рукой при работе прибора, должны быть изготовлены из изолирующего материала либо покрыты изолирующим материалом толщиной не менее 1 мм, либо отделены изоляцией, аналогичной дополнительной изоляции, от других доступных металлических частей.
Штанги ручки должны быть:
а) из изолирующего материала или,
б) если сделаны из металла, то покрыты изолирующим материалом толщиной не менее 1 мм, который проходит на расстоянии 150 мм от ручек и рабочего управления, установленного на ручке, или
в) изолированы таким образом, чтобы доступные металлические части, находящиеся на расстоянии приблизительно 150 мм от ручек и рабочего управления, установленного на ручке, были изолированы изоляцией, аналогичной дополнительной изоляции, от остальных доступных металлических деталей, которые находятся на расстоянии 75 мм от земли, измеренном как зазор, или от доступных металлических частей, соединенных с такими деталями.
Собирание и ограждение шнура питания во время работы не относится к рабочему управлению.
В ротационных косилках режущее устройство должно быть изолировано от других частей, которые доступны, если прибор находится в нормальном рабочем положении, изолирующим материалом, аналогичным дополнительной изоляции.
#Соответствие требованию проверяют осмотром и измерениями, а в части покрытия ручек, управляющих устройств и штанг ручек изолирующим материалом следующими испытаниями.
Образец покрытого участка испытывают при температуре (70 +/- 2) °C в течение 7 дней (168 ч). После испытания температуру образца доводят приблизительно до комнатной температуры.
Осмотр должен показать, что покрытие не село настолько, что требуемая длина 150 мм или требуемое сопротивление по изоляции уменьшились, или что покрытие не отслоилось до такой степени, что может перемещаться вдоль детали.
После этого образец выдерживают в течение 4 ч при температуре минус (10 +/- 2) °C.
После выдержки при такой температуре образец подвергают ударам при помощи устройства, изображенного на рисунке 113. Груз A массой 300 г падает с высоты 350 мм на резец B из закаленной стали, режущая кромка которого упирается в образец.#
1 - основание массой 10 кг; 2 - образец;
3 - фиксирующий кронштейн
Материал резца - закаленная сталь
Рисунок 113. Стенд для испытания на удар изоляции ручки
#По каждому участку, на котором наиболее вероятно ослабление или повреждение покрытия во время предполагаемого пользования, наносят один удар, при этом расстояние между точками ударов должно быть не менее 10 мм.
После этого испытания осмотр должен показать, что покрытие не отслоилось. Затем проводят испытание на электрическую прочность между металлическими частями и металлической фольгой, обернутой вокруг покрытия на участке, который требуется изолировать.
В течение 1 мин применяют испытательное напряжение 2500 В.
Во время испытания не должно произойти искрения или растрескивания.#
22.36. Не применяют (требование включено в
22.35).
22.101. Приборы должны быть оснащены устройством для предотвращения повреждения силового кабеля во время движения прибора на максимально возможное расстояние. Предусмотренное устройство должно быть многократного пользования.
Требование считают выполненным, если:
- имеется устройство, которое препятствует попаданию кабеля в зону вокруг режущего устройства, к которому кабель может быть прикреплен, или
- входное отверстие силового кабеля либо место его прикрепления находится на расстоянии не менее 0,6 м от ближайшей точки режущего устройства.
#Соответствие требованию, за исключением устройства с автоматическим сматыванием провода, проверяют осмотром и следующим испытанием.
Шнур питания, прилагаемый к прибору, присоединяют к прибору в соответствии с руководством по эксплуатации. Шнур питания подвергают натяжению, производимому 10 раз с силой 100 Н. Натяжение производят в наиболее неблагоприятном направлении, без рывков в течение 1 с.
После этого испытания шнур питания не должен иметь повреждений, указанных в настоящем стандарте, и не должен сместиться в приборе на длину более 2 мм.#
22.102. Воздушные фильтры, которые могут быть сняты для чистки, должны быть сконструированы так, чтобы они не отсоединялись во время предполагаемого использования.
Требование считают выполненным, если, например, воздушный фильтр может быть снят только при помощи инструмента или
- он прикреплен пружиной, которая предотвращает его выпадение во время предполагаемого использования из-за вибрации, или
- требуется сознательное действие оператора для его снятия.
#Соответствие требованию проверяют осмотром.#
24. Комплектующие изделия
24.1. Дополнение к пункту
Основные переключатели должны разъединять все полюса и должны иметь межконтактное разделение не менее 3 мм для каждого полюса. Переключатели должны быть рассчитаны на 50000 циклов работы.
24.1.3. Изменение в пункте
Переключатели должны удовлетворять требованиям испытания для 50000 циклов работы.
25. Присоединение к источнику питания и внешние гибкие шнуры
Присоединение к источнику питания и внешние гибкие шнуры - по
ГОСТ Р МЭК 335-1 со следующими дополнениями.
25.1. Замена пункта
Приборы должны поставляться со шнуром питания или входом для соединителя.
Не допускается использование соединителя, отвечающего требованиям стандартных листов по ГОСТ 28190.
25.5. Замена пункта
Приборы должны быть оснащены одним из следующих средств присоединения к источнику питания:
- шнуром питания длиной не менее 10 м с присоединением типа X или
- шнуром питания длиной не более 0,5 м с присоединением типа X или Y и заканчивающимся кабельным соединителем (сюда входит и соответствующий стыковочный соединитель), или
- стыковочным соединителем для входного отверстия.
Заменить текст пункта до примечания следующим:
Шнуры питания должны быть не легче, чем
- обычный прочный шнур в резиновой оболочке (245 МЭК 53) типа ПРС по
ГОСТ 7399, если изоляция резиновая;
- обычный гибкий шнур в поливинилхлоридной оболочке (227 МЭК 53) типа ПВСП по
ГОСТ 7399, если изоляция поливинилхлоридная.
В некоторых странах эти шнуры питания не используют и применяют обычные гибкие шнуры питания в полихлоропреновой оболочке (245 МЭК 57) типа ПРМ по
ГОСТ 7399.
25.14. Дополнение к пункту
Настоящее требование применяют к внешним кабелям или шнурам, где в силу конструкции прибора наблюдается относительное смещение кабеля или шнура более чем на 45° в месте входа в ограждение.
25.15. Дополнение к пункту
Настоящее требование применяют ко всем доступным кабелям или шнурам.
Изменение в пункте:
Испытание изменено следующим образом:
#К шнуру питания прилагают сипу натяжения 150 Н.#
26. Зажимы внешних проводов
28.1. Дополнение к пункту
Винты или гайки для закрепления режущего устройства на ротационных газонокосилках могут быть из изоляционного материала или покрыты изоляционным материалом. Они не могут быть заменены подручными металлическими винтами или гайками.
29. Пути утечки тока, воздушные зазоры
и расстояния по изоляции
Пути утечки тока, воздушные зазоры и расстояния по изоляции - по
ГОСТ Р МЭК 335-1.
30. Теплостойкость, огнестойкость
и стойкость к образованию токоведущих мостиков
Теплостойкость, огнестойкость и стойкость к образованию токоведущих мостиков - по
ГОСТ Р МЭК 335-1.
32. Радиация, токсичность и подобные опасности
(справочное)
В настоящем стандарте использованы ссылки на следующие стандарты:
ГОСТ 12.2.120-88 Система стандартов безопасности труда. Кабины и рабочие места операторов тракторов, самоходных строительно-дорожных машин, одноосных тягачей, карьерных самосвалов и самоходных сельскохозяйственных машин. Общие требования безопасности
ГОСТ 12.4.026-76 Система стандартов безопасности труда. Цвета сигнальные и знаки безопасности
ГОСТ ИСО 1924-1-96 Бумага и картон. Определение прочности при растяжении. Часть 1. Метод нагружения с постоянной скоростью
ГОСТ 7399-97 Провода и шнуры на номинальное напряжение до 450/750 В. Технические условия
ГОСТ 26336-84 Тракторы и сельскохозяйственные машины, механизированное газонное и садовое оборудование. Система символов для обозначения органов управления и средств отображения информации. Символы
ГОСТ 28190-89 Соединители бытового и аналогичного назначения. Технические требования и методы испытаний
ГОСТ Р 50863-96 Тракторы малогабаритные, мотоблоки и мотокультиваторы. Общие требования безопасности
ГОСТ Р МЭК 335-1-94 Безопасность бытовых и аналогичных электрических приборов. Общие требования и методы испытаний
(обязательное)
(обязательное)
(обязательное)
Варианты требований для двигателей с защитными устройствами - по
ГОСТ Р МЭК 335-1.
(обязательное)
(обязательное)
Двигатели, не изолированные от сети питания и имеющие основную изоляцию, которая не рассчитана на номинальное напряжение прибора, - по
ГОСТ Р МЭК 335-1.
(обязательное)
(обязательное)
(обязательное)
(обязательное)
(обязательное)
(обязательное)
(обязательное)
(обязательное)
Жесткость условий эксплуатации изоляционных материалов относительно опасности трекинга - по
ГОСТ Р МЭК 335-1.
(обязательное)
Пружинное устройство для испытаний на удар и его калибровка - по
ГОСТ Р МЭК 335-1.
(обязательное)
ПРИНЦИПЫ УСТРОЙСТВА ОГРАЖДЕНИЯ
AA.1. Безопасные расстояния от деталей, представляющих опасность
Безопасное расстояние основано на измерениях, проводимых от места, которое может занимать человек при запуске, сборке или использовании прибора.
В случаях, когда иные требования по безопасности не применяются для обеспечения защиты человека, должны применяться требования настоящего Приложения.
AA.2. Область доступности
При доступе к краям в каком-либо положении безопасное расстояние свободно двигающихся частей тела указано в таблице AA.1
Таблица AA.1
Размер предела досягаемости
Часть тела | Безопасное расстояние r, мм | Иллюстрация |
Кисть (от основания до кончиков пальцев) | >= 120 | |
Кисть от запястья до кончиков пальцев | >= 230 | |
Рука от локтя до кончиков пальцев | >= 550 | |
Рука от подмышки до кончиков пальцев | >= 850 | |
Безопасное расстояние r вокруг фиксированного края определяют на основании доступа частей тела. Указанные безопасные расстояния должны соблюдаться, чтобы часть тела не достигла опасной точки.
Особое значение имеет опасная область, в которую части тела человека могут попасть через щели.
При применении безопасных расстояний необходимо исходить из того, что основной общий компонент соответствующей части тела находится в фиксированном контакте с краем. Безопасные расстояния применяются, если гарантировано, что исключено дальнейшее продвижение или проникание части тела в направлении точки опасности.
AA.3. Проникание в и через растянутые отверстия с параллельными сторонами
где a - наименьшая величина отверстия, мм;
b - безопасное расстояние до опасного места, мм.
Кончик пальца | Палец | Кисть до основания среднего пальца | Рука до подмышки |
| | | |
4 < a <= 8 | 8 < a <= 12 | 12 < a <= 20 | 20 < a <= 30 | 30 < a <= 150max |
b >= 15 | b >= 80 | b >= 120 | b >= 200 | b >= 850 |
AA.4. Проникание в или через квадратные или круглые отверстия
где a - диаметр отверстия или длина стороны, мм;
b - безопасное расстояние до опасного места, мм.
Кончик пальца | Палец | Кисть до основания среднего пальца | Рука до подмышки |
| | | |
4 < a <= 8 | 8 < a <= 12 | 12 < a <= 25 | 25 < a <= 40 | 40 < a <= 150max |
b >= 15 | b >= 80 | b >= 120 | b >= 200 | b >= 850 |
AA.5. Отверстия неправильной формы
Чтобы выбрать безопасное расстояние (см. рисунок AA.1) для отверстия неправильной формы необходимо обратиться к данным
таблиц AA.2 и
AA.3, используя либо наименьшее круглое отверстие d, которое описывает отверстие, либо самый узкий паз с параллельными сторонами e, который будет содержать отверстие. Должно использоваться наиболее безопасное расстояние, которое может быть достигнуто этим методом.
Рисунок AA.1. Определение стандартного отверстия
(обязательное)
КОНСТРУКЦИЯ ИСПЫТАТЕЛЬНОГО ОГРАЖДЕНИЯ
BB.1. Общие принципы изготовления
Конструкция испытательного ограждения в общем виде показана на рисунке BB.1; варианты других типов приборов показаны на
рисунках BB.2 и
BB.3.
1 - окно; 2 - нижняя зона; 3 - средняя зона; 4 - верхняя
зона; 5 - типовая панель-мишень, 6 - верхняя зона оператора;
7 - дополнительная зона (одинарная толщина крафт-бумаги);
8 - высота панели-мишени; 9 - основание
Рисунок BB.1. Стенд для испытания
выбрасываемым предметом. Принципиальная схема
--------------------------------
<1> BTC - траектория лезвия.
1 - ширина панели-мишени в зоне оператора (высота
панели-мишени 900 мм); 2 - зона оператора; 3 - ручка,
зафиксированная верхним стопором; 4 - типовая панель-мишень
высотой 900 мм; 5 - точка инжекции; 6 - крафт-бумага
высотой 2000 мм (мишень в зоне оператора высотой
св. 900 до 2000 мм); 7 - ширина мишени в зоне
оператора (высота мишени св. 900 до 2000 мм)
Рисунок BB.2. Одношпиндельная косилка.
Испытательное ограждение
--------------------------------
<1> BTC - траектория лезвия.
1 - ручка, зафиксированная верхним стопором;
2 - типовая панель-мишень высотой 900 мм; 3 - точки
инжекции; 4 - крафт-бумага высотой 2000 мм (мишень
в зоне оператора св. 900 мм); 5 - зона оператора;
6 - ширина панели-мишени в зоне оператора
Рисунок BB.3. Многошпиндельная косилка.
Испытательное ограждение
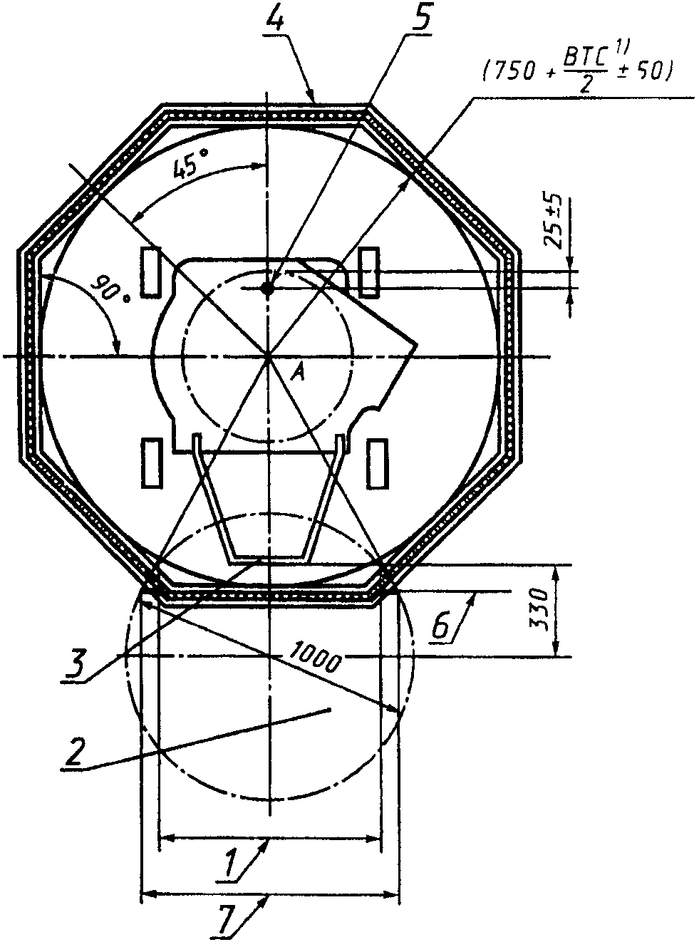
Ограждение состоит из восьми панелей-мишеней, каждая высотой 900 мм, перпендикулярных к основанию конструкции (см. рисунок BB.4). Ограждение представляет собой в совокупности восьмиугольник. Конструкция панели-мишени должна соответствовать требованиям
BB.2. Мишень в зоне оператора высотой более 900 мм состоит из одного листа крафт-бумаги, поднимающегося на высоту 2 м. Для облегчения подсчета ударов опора панели должна быть сконструирована таким образом, чтобы обеспечивалось скольжение хотя бы одной панели-мишени внутрь конструкции и обратно.
1 - крафт-бумага, используемая при необходимости;
2 - фибровый картон, один или два слоя при необходимости;
3 - края мишени, плотно прижатые к испытываемой поверхности,
препятствующие шарикам вырываться за края стены;
4 - основание из кокосовых ковриков
Рисунок BB.4. Основание и стены испытательного ограждения
Мишени должны быть расположены перпендикулярно радиальной линии, выходящей на (750 +/- 50) мм за траекторию лезвия одношпиндельных приборов или ближайшую траекторию лезвия многошпиндельных приборов (см.
рисунки BB.2 и
BB.3). Если мишень пересекается с частью прибора, такой как коробка для травы, ручка или колесо, то мишень должна быть сдвинута назад во избежание такого пересечения.
Мишень оператора определяется пересечением линий, выходящих из центра A (см.
рисунок BB.2) траектории лезвия, если это косилки с одним лезвием, или из центра B (см.
рисунок BB.3) линии, проходящей через центры внешних траекторий лезвий, если это косилки с несколькими лезвиями, и касательной к зоне оператора диаметром 1 м. Центр рабочей зоны оператора (см.
рисунки BB.2 и
BB.3) расположен на расстоянии 330 мм от задней части ручки на линии, проходящей из центра A или B через центр части ручки, за которую держатся руки. Мишень между пересечением двух касательных и мишени является мишенью зоны оператора.
У приборов с подвижными смещаемыми ручками ручку сначала смещают влево для установления левой границы мишени оператора, затем вправо - для установления соответствующей правой границы.
BB.2. Конструкция панели-мишени
Панели-мишени должны состоять из одного или более листов фибрового картона, а также листов крафт-бумаги.
Картон может иметь два или три плоских слоя и один или два гофрированных.
Крафт-бумага должна быть номинальной плоскостью 225 г/м2, конструкции, отвечающей требованиям
ГОСТ ИСО 1924-1. Образцы используемых панелей-мишеней разрезают на квадраты 150 x 150 мм и испытывают на стенде, показанном на рисунке BB.5, следующим образом.
1 - основание; 2 - стальная нижняя пластина размером
6,35 x 150 x 150 мм; 3 - фибровый картон; 4 - верхняя
стальная пластина размером 20 x 150 x 150 мм; 5 - отверстие;
6 - проникающий ударник массой 0,25 кг; 7 - направляющая
труба с допускаемым направлением от вертикального
положения +/- 2°; 8 - стойка; 9 - высота падения;
10 - добавленная экстра крафт-бумага
Рисунок BB.5. Испытательный стенд для проверки
проникания через фибровый картон
Образцы помещают в центре нижней пластины, края квадратных образцов могут быть прикреплены клейкой лентой. Сверху помещают верхнюю пластину, убедившись, что центральные дырочки в нижней и верхней пластинах совпадают и что картон расплющен стальной пластиной.
Испытание на проникание проводят с высоты 300 мм на пяти образцах, а затем с высоты 400 мм - на других пяти образцах.
Падая с высоты 300 мм, проникающее устройство не должно полностью пройти сквозь мишень в более чем двух из пяти образцов.
Падая с высоты 400 мм, проникающее устройство должно полностью пройти сквозь мишень как минимум в четырех из пяти образцов.
(обязательное)
ОСНОВАНИЕ ОГРАЖДЕНИЯ ДЛЯ ИСПЫТАНИЯ ВЫБРАСЫВАЕМЫМИ ПРЕДМЕТАМИ
CC.1. Конструкция
Основание испытательного ограждения должно состоять из девятнадцатимиллиметровой фанеры, покрытой квадратами ковриков из кокоса размером 500 x 500 мм в соответствии с
CC.3, прибитых гвоздями к фанере, как показано на
рисунке CC.1, расположенных, как показано на
рисунке CC.2.
Примечание. Квадраты используют для того, чтобы при износе какого-либо из них, он мог быть заменен без замены всей испытательной поверхности.
1 - коврик из кокоса; 2 - основание из фанеры;
3 - инжекционная труба; 4 - гвоздь;
5 - поливинилхлоридное основание
Рисунок CC.1. Конструкция для испытания
выбрасываемым предметом. Основные детали
Рисунок CC.2. План расположения гвоздей
на основании конструкции для испытания
CC.2. Минимальный размер
Минимальный размер основания должен быть таким, чтобы при использовании испытательного ограждения, изготовленного в соответствии с
Приложением BB, панели-мишени полностью опирались на коврики из кокоса.
Коврик из кокоса должен состоять из волокон высотой приблизительно 20 мм, заглубленных в поливинилхлоридное основание. Коврик должен иметь удельный вес приблизительно 7000 г/м2.
(обязательное)
ПОВЫШАЮЩИЕСЯ ЗОНЫ ПАНЕЛИ-МИШЕНИ И РЕКОМЕНДУЕМЫЙ
ОТЧЕТ ПО ИСПЫТАНИЮ НА ВЫБРАСЫВАЕМЫЙ ПРЕДМЕТ
DD.1. Повышающиеся зоны панели-мишени
Панели-мишени должны быть разделены горизонтально на три повышающиеся зоны, как изображено на
рисунке BB.1 Приложения BB.
DD.1.1. Нижняя повышающаяся зона
Участок между основанием и линией на высоте 300 мм.
DD.1.2. Средняя повышающаяся зона
Участок между линией на высоте 300 мм и линией на высоте 450 мм.
DD.1.3. Верхняя повышающаяся зона
Участок между линией на высоте 450 мм и вершиной панели-мишени на высоте 900 мм.
DD.2. Мишень в зоне оператора
Мишень, установленная в соответствии с
BB.1, охватывает поверхность листа крафт-бумаги высотой 2000 мм от основания до вершины.
DD.3. Рекомендуемая форма записи результатов испытаний с выбрасываемыми предметами
Предлагаемая форма позволяет считать удары по группам не менее 100 метательных снарядов и суммировать результаты в нижней части формы (см. рисунок DD.1).
┌─────────────────────────────────────────────────────────────────────────┐
│Изготовитель: ............. Модель: .............. Размер: ............. │
│Место нахождения отверстия для выброса травы: .......................... │
│........................................................................ │
│Лезвия: номер .............., об/мин ............................. │
└─────────────────────────────────────────────────────────────────────────┘
Группа | Повышающаяся зона | Сектор | Общее количество ударов |
Оператор (зона) | Другие секторы (спереди/сбоку) |
1 | Средняя Нижняя | | | |
2 | Средняя Нижняя | | | |
3 | Средняя Нижняя | | | |
4 | Средняя Нижняя | | | |
5 | Средняя Нижняя | | | |
<1> Верхняя повышающаяся зона включает в себя панель с листом крафт-бумаги на высоте от 900 до 2000 мм на мишени в зоне оператора. |
Рисунок DD.1. Форма записи результатов
испытаний с выбрасываемым предметом