Главная // Актуальные документы // ГОСТ Р (Государственный стандарт)СПРАВКА
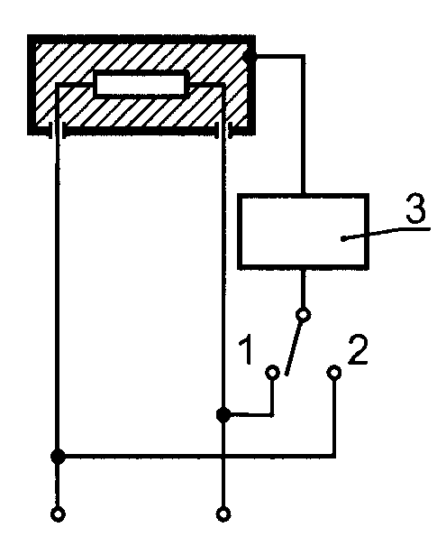
Источник публикации
М.: ИПК Издательство стандартов, 2002
Примечание к документу
Документ утратил силу с 1 сентября 2013 года в связи с изданием
Приказа Росстандарта от 27.12.2012 N 2120-ст. Взамен введен в действие
ГОСТ 30345.0-95.
Документ включен в
Перечень документов в области стандартизации, в результате применения которых на добровольной основе обеспечивает соблюдение требований Федерального
закона от 27.12.2009 N 347-ФЗ "Технический регламент о безопасности низковольтного оборудования" (
Приказ Росстандарта от 14.09.2010 N 3546).
Документ включен в
Перечень документов в области стандартизации, в результате применения которых на добровольной основе обеспечивается соблюдение требований технического
регламента "О безопасности машин и оборудования", утв.
Постановлением Правительства РФ от 15.09.2009 N 753 (
Приказ Росстандарта от 20.08.2010 N 3108).
Документ включен в
Перечень документов в области стандартизации, содержащих правила и методы исследований (испытаний) и измерений, в том числе правила отбора образцов, необходимые для применения и исполнения технического
регламента о безопасности машин и оборудования, а также для осуществления оценки соответствия (
Распоряжение Правительства РФ от 05.08.2010 N 1328-р).
Документ включен в
Перечень документов в области стандартизации, содержащих правила и методы исследований (испытаний) и измерений, в том числе правила отбора образцов, необходимых для применения и исполнения Федерального
закона от 27.12.2009 N 347-ФЗ и осуществления оценки соответствия (
Распоряжение Правительства РФ от 29.07.2010 N 1284-р).
С 1 июля 2003 года до вступления в силу технических регламентов акты федеральных органов исполнительной власти в сфере технического регулирования носят рекомендательный характер и подлежат обязательному исполнению только в части, соответствующей целям, указанным в
пункте 1 статьи 46 Федерального закона от 27.12.2002 N 184-ФЗ.
Текст документа приведен с учетом
поправки, опубликованной в "ИУС", N 9, 2002.
Введен в действие с 1 января 1995 года.
Название документа
"ГОСТ Р МЭК 335-1-94. Безопасность бытовых и аналогичных электрических приборов. Общие требования и методы испытаний"
(утв. Постановлением Госстандарта РФ от 02.03.1994 N 43)
(ред. от 01.10.2001)
"ГОСТ Р МЭК 335-1-94. Безопасность бытовых и аналогичных электрических приборов. Общие требования и методы испытаний"
(утв. Постановлением Госстандарта РФ от 02.03.1994 N 43)
(ред. от 01.10.2001)
Утвержден и введен в действие
Постановлением Госстандарта РФ
от 2 марта 1994 г. N 43
ГОСУДАРСТВЕННЫЙ СТАНДАРТ РОССИЙСКОЙ ФЕДЕРАЦИИ
БЕЗОПАСНОСТЬ БЫТОВЫХ
И АНАЛОГИЧНЫХ ЭЛЕКТРИЧЕСКИХ ПРИБОРОВ
ОБЩИЕ ТРЕБОВАНИЯ И МЕТОДЫ ИСПЫТАНИЙ
Safety of household and similar electrical appliances.
General requirements and test methods
ГОСТ Р МЭК 335-1-94
| | Список изменяющих документов (в ред. Изменения N 1, утв. в декабре 1997 г., Изменения N 2, утв. в октябре 2001 г.) | |
Дата введения
1 января 1995 года
1. Разработан и внесен Техническим комитетом по стандартизации бытовых электроприборов (ТК 19).
2. Утвержден и введен в действие Постановлением Госстандарта РФ от 2 марта 1994 г. N 43.
3. Настоящий стандарт содержит полный аутентичный текст международного стандарта МЭК 335-1-91 "Безопасность бытовых и аналогичных электрических приборов. Часть 1. Общие требования". Стандарт будет действовать одновременно со стандартами серии ГОСТ 27570, введенными путем прямого применения МЭК 335-1-76 и вторых частей к нему, устанавливающих дополнительные требования к конкретным приборам. По мере пересмотра стандартов, устанавливающих дополнительные требования к конкретным приборам, с целью приведения их в соответствие с настоящим стандартом, будут отменяться ГОСТ 27570.1, ГОСТ 27570.2, ГОСТ 27570.3,... после пересмотра всех стандартов серии ГОСТ 27570 будет отменен
ГОСТ 27570.0-87.
4. Введен впервые.
5. Издание (февраль 2002 г.) с Изменениями N 1, 2, утвержденными в декабре 1997 г., октябре 2001 г. (ИУС 3-98, 12-2001).
Настоящий стандарт содержит нормы, правила и методы испытаний, являющиеся общими для всех бытовых электроприборов.
При отсутствии стандарта на конкретный тип прибора допускается распространять действие настоящего стандарта (насколько это приемлемо) на этот конкретный тип.
Требования настоящего стандарта являются обязательными.
| | ИС МЕГАНОРМ: примечание. Методы испытаний, выделенные курсивом в официальном тексте документа, в электронной версии документа выделены знаком "&". | |
Методы испытаний по тексту стандарта выделены курсивом.
(Измененная редакция, Изм. N 2).
Настоящий стандарт распространяется на электромеханические и электронагревательные приборы и приборы с магнитным приводом (далее - приборы) для бытового и аналогичного применения с номинальным напряжением питания до 250 В для однофазных приборов переменного тока и 480 В - для других приборов.
Приборы могут иметь встроенные двигатели, нагревательные элементы или их комбинации.
Приборы, не предназначенные для бытового применения, но которые могут быть источником опасности для людей, например, приборы, используемые неспециалистами в магазинах, в легкой промышленности и на фермах, входят в область распространения настоящего стандарта.
Примечание. 1. Примерами таких приборов являются зрелищное оборудование, чистящие приборы для промышленного и коммерческого использования и приборы для парикмахерских.
Настоящий стандарт устанавливает основные виды опасности приборов, с которыми люди сталкиваются внутри и вне дома.
Настоящий стандарт не учитывает опасностей, возникающих в случае:
- безнадзорного использования приборов детьми или немощными лицами;
- игр детей с приборами.
Примечания. 2. Следует обратить внимание на то, что:
- для приборов, предназначенных для использования на транспортных средствах, на борту кораблей, самолетов, могут быть необходимы дополнительные требования;
- для приборов, предназначенных для использования в тропических странах, могут быть необходимы специальные требования;
- во многих странах национальные органы здравоохранения, охраны труда и органы водоснабжения предъявляют к приборам дополнительные требования.
3. Настоящий стандарт не распространяется на:
- приборы, предназначенные исключительно для промышленного применения;
- приборы, предназначенные для применения в местах с особыми условиями среды, например в коррозионной или взрывоопасной атмосфере (пыль, пар, газ);
- персональные компьютеры и аналогичное оборудование;
- переносной электромеханический инструмент.
(Измененная редакция, Изм. N 2).
В настоящем стандарте применены следующие определения:
2.1. При отсутствии иных указаний там, где применяются термины "напряжение" и "ток", подразумеваются их средние квадратические значения.
2.2. Характеристика электрического тока
2.2.1. Номинальное напряжение: напряжение, установленное изготовителем для прибора.
Примечание. При трехфазном питании - напряжение между фазами.
2.2.2. Диапазон номинальных напряжений: диапазон напряжений, установленный изготовителем для прибора, выраженный верхним и нижним пределами.
2.2.3. Рабочее напряжение: максимальное напряжение, которому подвергается рассматриваемая часть прибора, когда прибор работает при его номинальном напряжении и в условиях нормальной эксплуатации.
Примечание. При определении рабочего напряжения не принимают во внимание влияние переходных напряжений.
2.2.4. Номинальная потребляемая мощность: потребляемая мощность, установленная изготовителем для прибора.
2.2.5. Диапазон номинальных мощностей: диапазон мощностей, установленный изготовителем для прибора, выраженный верхним и нижним пределами.
2.2.6. Номинальный ток: ток, указанный изготовителем на приборе.
Примечание. Если ток для прибора не указан, то номинальный ток равен:
- для нагревательных приборов - току, рассчитанному по номинальной потребляемой мощности и номинальному напряжению;
- для электромеханических приборов - току, измеренному в период работы прибора в условиях нормальной эксплуатации при номинальном напряжении;
- для комбинированных приборов - току, измеренному в период работы прибора в условиях нормальной эксплуатации при подводимом номинальном напряжении.
(Измененная редакция, Изм. N 2).
2.2.7. Номинальная частота: частота, указанная изготовителем на приборе.
2.2.8. Диапазон номинальных частот: диапазон частот, установленный изготовителем для прибора, выраженный верхним и нижним пределами.
2.2.9. Нормальная работа: условия, при которых прибор работает в соответствии с нормальным использованием, когда прибор присоединен к сети.
(Измененная редакция, Изм. N 1).
2.3. Характеристика шнуров питания
2.3.1. Съемный шнур: гибкий шнур, предназначенный для питания прибора или взаимосвязи, который присоединяют к прибору посредством соответствующего приборного соединительного устройства.
2.3.2. Промежуточный шнур: внешний гибкий шнур, входящий в комплект прибора и служащий для работы с прибором, кроме подключения к сети питания.
Примечание. Примерами промежуточных шнуров являются: ручное дистанционное переключающее устройство, наружное соединение двух частей прибора, шнур, подключающий приставку, или отдельная цепь сигнализации.
2.3.3. Шнур питания: гибкий шнур, предназначенный для подачи питания, который закреплен на приборе.
2.3.4. Крепление типа Х: такой способ крепления шнура питания, при котором он может быть легко заменен.
Примечания. 1. Шнур питания может быть специально подготовленным и имеющимся только у изготовителя или его представителя.
2. Специально подготовленный шнур может также включать часть прибора.
2.3.5. Крепление типа Y: такой способ крепления шнура питания, при котором он может быть заменен только изготовителем, его ремонтной службой или аналогичным квалифицированным лицом.
Примечание. При креплении типа Y может использоваться либо обычный гибкий шнур, либо специальный шнур.
2.3.6. Крепление типа Z: такой способ крепления шнура питания, при котором он не может быть заменен без разрушения или повреждения прибора.
2.3.7. Провода питания: комплект проводов, предназначенных для подключения к стационарной проводке и расположенных в отсеке, который находится внутри прибора или прикреплен к нему.
2.4. Характеристика защиты от поражения электрическим током
2.4.1. Основная изоляция: изоляция токоведущих частей, обеспечивающая основную защиту от поражения электрическим током.
Примечание. Основная изоляция необязательно включает в себя изоляцию, применяемую исключительно для функциональных целей.
2.4.2. Дополнительная изоляция: независимая изоляция, дополняющая основную изоляцию с целью обеспечения защиты от поражения электрическим током в случае повреждения основной изоляции.
2.4.3. Двойная изоляция: система изоляции, состоящая как из основной, так и дополнительной изоляции.
2.4.4. Усиленная изоляция: единая система изоляции токоведущих частей, которая в условиях, предусмотренных настоящим стандартом, обеспечивает такую же степень защиты от поражения электрическим током, как и двойная изоляция.
Примечание. Это не означает, что усиленная изоляция должна быть одной однородной частью. Она может состоять из нескольких слоев, которые нельзя испытать отдельно как дополнительную или основную изоляцию.
2.4.5. Прибор класса 0: прибор, в котором защита от поражения электрическим током обеспечивается основной изоляцией; это означает, что отсутствуют средства для присоединения доступных токопроводящих частей, если такие имеются, к защитному проводу в стационарной проводке установки. В случае повреждения основной изоляции защита от поражения электрическим током возлагается на окружающую среду.
Примечание. Приборы класса 0 имеют либо кожух из изоляционного материала, который может составлять часть или всю основную изоляцию, либо металлический кожух, который отделен от токоведущих частей соответствующей изоляцией. Если прибор с кожухом из изоляционного материала имеет заземляющее устройство для внутренних частей, он считается прибором класса I или класса 0.
2.4.6. Прибор класса 0I: прибор, имеющий, по крайней мере, повсюду основную изоляцию и зажим для заземления, но снабженный питающим шнуром без заземляющего провода и штепсельной вилкой без заземляющего контакта.
2.4.7. Прибор класса I: прибор, в котором защита от поражения электрическим током обеспечивается не только основной изоляцией, но включает в себя и дополнительные меры безопасности, при которых доступные токопроводящие части соединены с защитным заземляющим проводом в стационарной проводке установки таким образом, что доступные токопроводящие части не могут оказаться под напряжением в случае повреждения основной изоляции.
Примечание. Эта мера предосторожности включает в себя защитный провод в шнуре питания.
2.4.8. Прибор класса II: прибор, в котором защита от поражения электрическим током обеспечивается не только основной изоляцией, но предусмотрены дополнительные меры безопасности, такие как двойная или усиленная изоляция, причем не предусмотрено защитное заземление, а условия установки не являются дополнительной гарантией.
Примечания. 1. Такие приборы могут быть отнесены к одному из следующих типов:
а) прибор, имеющий прочный и практически сплошной кожух из изоляционного материала, который покрывает все металлические части, за исключением небольших деталей, таких как заводская табличка, винты и заклепки, которые изолированы от токоведущих частей изоляцией, по крайней мере, эквивалентной усиленной изоляции; такой прибор называют прибором класса II с изолирующим кожухом;
b) прибор, имеющий практически сплошной металлический кожух, в котором повсюду применена двойная или усиленная изоляция; такой прибор называется прибором класса II с металлическим кожухом;
с) прибор, являющийся комбинацией типов, указанных в
подпунктах а) и b).
2. Кожух прибора класса II с изолирующим кожухом может образовывать часть или всю дополнительную или усиленную изоляцию.
3. Если прибор, имеющий повсюду двойную или усиленную изоляцию, снабжен заземляющим зажимом или заземляющим контактом, то его относят к приборам класса I или 0I.
(Измененная редакция, Изм. N 2).
2.4.9. Конструкция класса II: часть прибора, в которой защита от поражения электрическим током обеспечена двойной или усиленной изоляцией.
2.4.10. Прибор класса III: прибор, в котором защита от поражения электрическим током обеспечивается питанием безопасным сверхнизким напряжением и в котором не возникает напряжение большее, чем безопасное сверхнизкое напряжение.
Примечание. Приборы, предназначенные для работы при безопасном сверхнизком напряжении и имеющие внутренние электрические цепи, которые работают при напряжении ином, чем безопасное сверхнизкое напряжение, не включены в настоящую классификацию и являются предметом дополнительных требований.
2.4.11. Конструкция класса III: часть прибора, в которой защита от поражения электрическим током обеспечивается питанием безопасным сверхнизким напряжением и в которой не возникают напряжения большие, чем безопасное сверхнизкое.
2.4.12. Путь утечки: кратчайший путь между двумя токопроводящими частями или между токопроводящей частью и доступной поверхностью прибора, измеренный по поверхности изоляционного материала.
2.4.13. Воздушный зазор: кратчайшее расстояние между двумя токопроводящими частями или между токопроводящей частью и доступной поверхностью прибора, измеренное по воздуху.
2.5. Характеристики напряжения
2.5.1. Сверхнизкое напряжение: напряжение, получаемое от источника, встроенного в прибор, которое при работе прибора на номинальном напряжении не превышает 50 В между проводниками и между проводниками и землей.
2.5.2. Безопасное сверхнизкое напряжение: напряжение, не превышающее 42 В между проводниками и между проводниками и землей; при этом напряжение холостого хода не превышает 50 В.
Если безопасное сверхнизкое напряжение получают от сети, то оно должно поступать через безопасный разделительный трансформатор или преобразователь с раздельными обмотками, изоляция которых соответствует требованиям к двойной или усиленной изоляции.
Примечание. Установленные предельные значения напряжений основаны на предположении, что безопасный разделительный трансформатор работает при своем номинальном напряжении.
2.5.3. Безопасный разделительный трансформатор: трансформатор, входная обмотка которого электрически отделена от выходной обмотки изоляцией, эквивалентной, по крайней мере, двойной или усиленной изоляции, и который предназначен для питания прибора или его цепей безопасным сверхнизким напряжением.
2.6. Типы приборов
2.6.1. Переносной прибор: прибор, предназначенный для перемещения во время работы, либо прибор, кроме жестко закрепленных приборов, имеющий массу меньше 18 кг.
2.6.2. Ручной прибор: переносной прибор, который при нормальной эксплуатации держат в руке; двигатель, если он имеется, составляет неотъемлемую часть прибора.
2.6.3. Стационарный прибор: жестко закрепленный прибор либо прибор, который не переносят.
2.6.4. Закрепленный прибор: прибор, который крепится к опоре или который закрепляется каким-либо другим способом в определенном положении.
Примечание. Клеящие вещества не считают средствами крепления прибора к опоре.
2.6.5. Встраиваемый прибор: закрепленный прибор, предназначенный для установки в шкафчиках, в подготовленных нишах в стене или других подобных местах.
2.7. Части приборов
2.7.1. Несъемная часть: часть, которая может быть снята или открыта только с помощью инструмента, или часть, выдерживающая испытание по
22.11.
2.7.2. Съемная часть: часть, которая может быть снята без помощи инструмента, или часть, которую снимают в соответствии с инструкцией по эксплуатации, даже если для ее снятия необходим инструмент, или часть, которая не выдерживает испытание по
22.11.
Примечания. 1. Если какую-то часть необходимо снять в целях установки, эту часть не считают съемной, даже если в инструкции установлено, что она должна быть снята.
2. Комплектующие, которые могут быть удалены без помощи инструмента, следует считать съемными частями.
3. Часть, которая может быть доступна, считают съемной частью.
(Измененная редакция, Изм. N 2).
2.7.3. Инструмент: отвертка, монета или любой другой предмет, который можно использовать, чтобы привести в действие винт или подобные крепежные средства.
2.8. Ограничительные защитные устройства
2.8.1. Терморегулятор: термочувствительное устройство, рабочая температура которого может быть либо установленной, либо регулируемой, и которое при нормальной эксплуатации поддерживает температуру контролируемой части в определенных пределах путем автоматического размыкания и замыкания цепи.
2.8.2. Термоограничитель: термочувствительное устройство, рабочая температура которого может быть либо установленной, либо регулируемой, и которое при нормальной эксплуатации срабатывает путем размыкания или замыкания цепи, когда температура контролируемой части достигает заданного значения.
Примечание. Термоограничитель не срабатывает в обратном направлении во время нормального цикла работы прибора. Он может требовать или не требовать возврата в исходное положение вручную.
2.8.3. Термовыключатель: устройство, которое ограничивает температуру контролируемой части при ненормальной работе путем автоматического размыкания цепи или уменьшения значения тока и которое сконструировано так, что его уставка не может быть изменена потребителем.
2.8.4. Термовыключатель с самовозвратом: термовыключатель, который автоматически возобновляет подачу тока после того, как соответствующая часть прибора будет достаточно охлаждена.
2.8.5. Термовыключатель без самовозврата: термовыключатель, в котором для возобновления подачи тока и возврата в исходное положение требуется произвести действие вручную или провести замену части.
Примечание. Действие вручную обеспечивает отключение питания.
2.8.6. Защитное устройство: устройство, срабатывание которого предотвращает опасную ситуацию в условиях ненормальной работы.
2.8.7. Термозвено: термовыключатель, который срабатывает только однажды, а затем требует частичной или полной замены.
2.9. Конструкция приборов
2.9.1. Отключение всех полюсов: отключение одновременным действием обоих питающих проводов в однофазных приборах или в трехфазных приборах - отключение одновременным действием всех питающих проводов, за исключением заземляющего провода.
Примечание. Защитный заземляющий провод не считают питающим проводом.
2.9.2. Положение "ВЫКЛ": устойчивое положение выключающего устройства, при котором цепь, контролируемая выключателем, отключена от сети питания.
Примечание. Это положение необязательно означает отключение всех полюсов.
2.9.3. Доступная часть: часть или поверхность, к которой можно прикоснуться с помощью испытательного пальца, изображенного на
рисунке 1, включая любую проводящую часть, соединенную с доступной металлической частью.
2.9.4. Токоведущая часть: любой проводник или токопроводящая часть, предназначенная для пропускания тока при обычном использовании, включающая нейтральный провод, но обычно это не PEN-провод.
Примечания. 1. Части, соответствующие
8.1.4, независимо от того, доступные они или нет, не считают токоведущими.
2. PEN-провод - защитный заземляющий нейтральный провод, выполняющий комбинированные функции как защитного, так и нейтрального провода.
2.9.5. Нагревательный элемент с видимым свечением: нагревательный элемент, который виден снаружи прибора частично или полностью и температура которого достигает, по меньшей мере, 650 °С после достижения установившегося режима при номинальной потребляемой мощности и при работе прибора в условиях нормальной эксплуатации.
2.9.6. Нагревательный прибор: прибор, содержащий нагревательные элементы и не имеющий двигателя.
2.9.7. Электромеханический прибор: прибор с двигателем, не имеющий нагревательного элемента.
Примечание. Прибор с магнитным приводом считают электромеханическим прибором.
2.9.8. Комбинированный прибор: прибор, включающий в себя как нагревательные элементы, так и двигатели.
2.9.9. Обслуживание потребителем: любая работа, указанная в инструкции по эксплуатации или на приборе, которую изготовитель предназначает для выполнения потребителем.
2.10. Характеристика электронных частей приборов
2.10.1. Электронное комплектующее: часть, в которой проводимость обеспечивается, в основном, электронами, движущимися в вакууме, газе или полупроводнике.
Примечание. Неоновые индикаторы не считают электронным комплектующим.
2.10.2. Электронная цепь: цепь, которая оснащена не менее чем одним электронным комплектующим.
2.10.3. Защитный импеданс: импеданс, включенный между токоведущими частями и доступными токопроводящими частями конструкции класса II; характеристики его должны быть такими, чтобы ток, проходящий в приборе при нормальных условиях эксплуатации и при возможных повреждениях прибора, ограничивался безопасным значением.
2.10.4. Нагревательный элемент с положительным температурным коэффициентом: элемент, предназначенный для нагрева, состоящий в основном из сопротивлений с положительным температурным коэффициентом, обладающих такой термочувствительностью, что при росте температуры в определенном диапазоне у них происходит быстрое нелинейное увеличение сопротивления.
Приборы должны быть сконструированы так, чтобы при нормальном их использовании они работали безопасно и чтобы не могла возникнуть опасность для персонала или окружающей среды даже в случае небрежного обращения с прибором, возможного при нормальном использовании.
&В основном, этот принцип достигается путем выполнения соответствующих требований настоящего стандарта, а проверку осуществляют путем проведения всех соответствующих испытаний.&
Примечания. 1. Продукция, которая соответствует требованиям настоящего стандарта, не всегда будет определена как соответствующая принципам безопасности, установленным в настоящем стандарте, если при осмотре или испытаниях будут выявлены другие особенности, снижающие уровень безопасности, определяемый настоящими требованиями.
2. Приборы, в которых материалы или формы конструкции отличаются от указанных в настоящем стандарте, могут быть оценены и испытаны в соответствии с требованиями настоящего стандарта и при положительном результате можно утверждать соответствие их настоящему стандарту.
3. Настоящий стандарт устанавливает признанный в международных нормативных документах уровень защиты от электрической, механической, термической, пожарной и радиационной опасности электрических бытовых и аналогичных приборов, работающих в соответствии с нормальным использованием, с учетом инструкции изготовителя; настоящим стандартом учтены также ненормальные ситуации, возможные на практике.
4. Общие условия испытаний
Кроме случаев, оговоренных особо, испытания следует проводить в соответствии с настоящим разделом.
(Измененная редакция, Изм. N 2).
4.1. &Испытания, проводимые в соответствии с настоящим стандартом, являются типовыми.&
4.2. &Испытания проводят на одном приборе, который должен выдержать все соответствующие испытания. Однако испытания по
разделам 20,
22 (кроме
22.11 и
22.18),
23 -
26,
28,
30 и
31 могут быть проведены на отдельных приборах.&
Примечания. 1. Могут потребоваться дополнительные образцы, например в случае, если прибор рассчитан на различные напряжения питания.
Если необходимо провести испытание по
Приложению С, требуется дополнительно шесть образцов двигателя.
Испытание комплектующих изделий может потребовать поставки дополнительных образцов этих комплектующих.
Если испытания проводят по
24.1.3, то необходимы три выключателя или три дополнительных прибора.
Если намеренно ослабленной частью становится разомкнутая электрическая цепь при испытании по
разделу 19, необходим дополнительный прибор.
Если проводят испытания по
Приложению R, необходимы четыре дополнительных трансформатора.
2. Следует избегать накопления напряжений при последовательных испытаниях электронных цепей. Может возникнуть необходимость замены комплектующих изделий или использования дополнительных образцов. Количество дополнительных образцов должно быть по возможности минимальным, что определяется оценкой соответствующих электронных цепей.
3. Если для проведения определенного испытания прибор необходимо демонтировать, следует убедиться, что он повторно собран так же, как при первоначальной поставке. В случае сомнения последующие испытания могут быть проведены на отдельном образце.
4.3. &Испытания проводят в последовательности, определяемой нумерацией разделов настоящего стандарта. Испытание по
22.11 проводят на приборе при комнатной температуре до испытаний по
разделу 8.
Если из конструкции прибора очевидно, что определенное испытание неприменимо, то это испытание не проводят.&
4.2, 4.3. (Измененная редакция, Изм. N 2).
4.4. &Если испытуемый прибор питается и другими видами энергии, такими как газ, то влияние его расхода должно быть также учтено.&
4.5. &Испытание проводят на приборе или любой его подвижной части, установленной в наиболее неблагоприятное положение, которое возможно при нормальной эксплуатации.&
4.6. &Приборы, снабженные управляющими или переключающими устройствами, уставка которых может быть изменена потребителем, испытывают при самых неблагоприятных уставках этих устройств.&
Примечания. 1. Если средства регулирования управляющего устройства доступны без инструмента, то настоящий пункт применяется независимо от того, может ли уставка быть изменена вручную или с помощью инструмента; если средства регулирования недоступны без помощи инструмента и если не предусмотрено изменение уставки потребителем, то настоящий пункт не применяется.
2. Соответствующее пломбирование рассматривается как способ предотвращения изменения уставки потребителем.
4.7. &Испытания проводят в местах, защищенных от сквозняков, и обычно при температуре окружающей среды (20 +/- 5) °С.
Если температура какой-либо части ограничивается устройством, чувствительным к температуре, или на нее влияет температура, при которой происходит изменение состояния, например кипение воды, то в сомнительных случаях окружающую температуру поддерживают в пределах (23 +/- 2) °С.&
4.8.1. &Приборы, предназначенные для работы только на переменном токе, испытывают переменным током при номинальной частоте, если она указана, а приборы, предназначенные для работы как на переменном, так и на постоянном токе, испытывают при наиболее неблагоприятном виде питания.
Приборы, предназначенные для работы на переменном токе, на которых не указана номинальная частота или указан диапазон частот от 50 до 60 Гц, испытывают при частоте 50 или 60 Гц в зависимости от того, при какой частоте создаются наиболее неблагоприятные условия.&
4.8.2. &Приборы, предназначенные для работы при нескольких номинальных напряжениях, испытывают при наиболее неблагоприятном напряжении.
Если для электромеханических и комбинированных приборов, маркированных диапазоном номинальных напряжений, указано, что напряжение питания равно номинальному напряжению, умноженному на коэффициент, то напряжение питания равно:
- верхнему пределу диапазона номинальных напряжений, умноженному на коэффициент, если последний больше 1;
- нижнему пределу диапазона номинальных напряжений, умноженному на коэффициент, если последний меньше 1.
Если коэффициент не указан, напряжение питания должно равняться наиболее неблагоприятному в пределах диапазона.&
Примечания. 1. Если нагревательный прибор рассчитан на диапазон номинальных напряжений, то верхний предел диапазона напряжений обычно является наиболее неблагоприятным напряжением в пределах данного диапазона.
2. При определении наиболее неблагоприятного напряжения для комбинированных и электромеханических приборов и для приборов, рассчитанных на несколько номинальных напряжений или на несколько диапазонов номинальных напряжений, может возникнуть необходимость в проведении нескольких испытаний при минимальных, средних и максимальных значениях номинального напряжения или диапазонов номинальных напряжений.
4.8.3. &Если для нагревательных приборов и комбинированных приборов, маркированных диапазоном номинальных потребляемых мощностей, указано, что мощность равна номинальной мощности, умноженной на коэффициент, то мощность равна:
- верхнему пределу диапазона номинальных мощностей, умноженному на этот коэффициент, если последний больше 1;
- нижнему пределу диапазона номинальных мощностей, умноженному на этот коэффициент, если последний меньше 1.
Если коэффициент не указан, значение потребляемой мощности должно равняться наиболее неблагоприятному значению в пределах диапазона.&
4.8.4. &Если для приборов, маркированных диапазоном номинальных напряжений и номинальной потребляемой мощностью, соответствующей среднему значению диапазона номинальных напряжений, указано, что потребляемая мощность равна номинальному значению, умноженному на коэффициент, то потребляемая мощность равна:
- значению мощности, рассчитанному по верхнему пределу диапазона номинальных напряжений, умноженному на коэффициент, если последний больше 1;
- значению мощности, рассчитанному по нижнему пределу диапазона номинальных напряжений, умноженному на коэффициент, если последний меньше 1.
Если коэффициент не указан, потребляемая мощность должна соответствовать потребляемой мощности, относящейся к наиболее неблагоприятному номинальному напряжению внутри диапазона.&
4.9. &Если сменяемые нагревательные элементы или принадлежности поставляются к прибору изготовителем, то прибор испытывают с теми элементами или принадлежностями, которые дают самые неблагоприятные результаты.
4.10. &Испытания проводят на приборе в состоянии поставки.&
Прибор, сконструированный как единый прибор, но поставляемый частями, испытывают после сборки в соответствии с инструкцией изготовителя.
Встраиваемые и закрепленные приборы устанавливают по инструкции изготовителя до начала испытаний.&
4.11. &Приборы, предназначенные для подключения к сети при помощи гибкого шнура, испытывают с соответствующим гибким шнуром, присоединенным к прибору.&
4.10, 4.11. (Измененная редакция, Изм. N 2).
4.12. &Если для комбинированных и нагревательных приборов указано, что прибор должен работать при потребляемой мощности, умноженной на коэффициент, то это положение относится только к нагревательным элементам без ощутимого положительного температурного коэффициента.
Для других нагревательных элементов, кроме нагревательных элементов с положительным температурным коэффициентом, это напряжение определяют, подавая сначала на прибор номинальное напряжение до достижения нагревательным элементом своей рабочей температуры. Затем напряжение питания быстро увеличивают до значения, необходимого для получения потребляемой мощности, требуемой для соответствующего испытания, и это значение напряжения питания поддерживают в течение всего испытания.&
Примечание. В общем случае температурный коэффициент считается ощутимым, если при номинальном напряжении потребляемая мощность прибора в холодном состоянии отличается более чем на 25% от потребляемой мощности при рабочей температуре.
4.13. &Испытания приборов с нагревательными элементами с положительным температурным коэффициентом проводят при напряжении, соответствующем указанной потребляемой мощности. Если эта потребляемая мощность больше номинального значения, то коэффициент, на который умножают значение напряжения, равен корню квадратному из значения коэффициента для потребляемой мощности.&
4.14. &Если приборы класса 0I или I имеют доступные металлические части, которые не заземлены и не отделены от токоведущих частей промежуточной заземленной металлической частью, то такие части проверяют на соответствие требованиям, предусмотренным для конструкции класса II.
Если приборы класса 0I или I имеют доступные неметаллические части, такие части проверяют на соответствие требованиям, указанным для конструкции класса II, если эти части не отделены от токоведущих частей промежуточной заземленной металлической частью.&
4.15. &Если приборы имеют части, работающие при безопасном сверхнизком напряжении, то такие части проверяют на соответствие требованиям, предусмотренным для конструкций класса III.
4.16. &При испытании электронных цепей необходимо, чтобы источники питания не подвергались таким внешним помехам, которые могут оказать влияние на результаты испытаний.&
4.17. &Приборы, питающиеся от перезаряжаемых батарей, испытывают в соответствии с
Приложением В.&
(Введен дополнительно, Изм. N 1).
6.1. По типу защиты от поражения электрическим током приборы классифицируют на классы 0; 0I; I; II; III.
&Проверку осуществляют осмотром и соответствующими испытаниями.&
6.2. Приборы должны иметь соответствующую степень защиты от вредного доступа воды.
&Проверку осуществляют осмотром и соответствующими испытаниями.&
Примечание. Степени защиты от вредного доступа воды - по
ГОСТ 14254.
7. Маркировка и инструкции
7.1. На приборах должны быть указаны следующие данные:
- номинальное напряжение или диапазон номинальных напряжений в вольтах;
- условное обозначение рода тока, если не указана номинальная частота;
- номинальная потребляемая мощность в ваттах или киловаттах или номинальный ток в амперах;
- наименование, торговая марка или товарный знак изготовителя или ответственного поставщика;
- наименование модели или тип;
- условное обозначение конструкции класса II (только для приборов класса II);
- IP - число, соответствующее степени защиты от доступа воды, кроме IPX0.
&Соответствие проверяют осмотром.&
Примечания. 1. Первую цифру индекса IP нет необходимости указывать на приборе.
2. Допускаются дополнительные маркировки при условии, что они не вызовут путаницы.
3. Если комплектующие маркированы отдельно, то маркировка прибора и маркировка комплектующих должна быть такой, чтобы не могло быть сомнений относительно маркировки самого прибора.
7.2. Стационарные приборы с многоканальным питанием должны иметь предупреждающую надпись следующего содержания:
"Внимание! Перед доступом к зажимным устройствам все цепи питания должны быть отключены".
Такая предупреждающая надпись должна располагаться поблизости от крышки зажимов.
&Соответствие проверяют осмотром.&
7.3. Приборы, которые рассчитаны на диапазон номинальных значений и которые могут работать без настройки внутри диапазона, должны быть маркированы нижним и верхним пределами диапазона, отделенными тире.
Примечание. 1. Пример: 115 - 230 В: Прибор рассчитан на любое значение в пределах маркированного диапазона (щипцы для завивки с нагревательными элементами с положительным температурным коэффициентом).
Приборы, рассчитанные на несколько номинальных значений, которые потребителю или установщику необходимо настраивать для применения при определенном значении, должны быть маркированы этими значениями, отделенными наклонной чертой.
Примечания. 2. Пример: 115/230 В: Прибор рассчитан только на указанные значения (бритва с селекторным переключателем).
3. Это требование также применимо к приборам, имеющим средства подключения как к однофазному, так и многофазному питанию.
Пример: 230/400 В: Прибор рассчитан только на указанные напряжения, причем 230 В - для однофазной работы, а 400 В - для трехфазной работы (посудомоечные машины с зажимами для обоих типов питания).
&Соответствие требованию проверяют осмотром.&
7.4. Если прибор может быть отрегулирован на различные номинальные напряжения, то напряжение, на которое настроен прибор, должно быть ясно различимо.
Примечание. Для приборов, не требующих частых изменений уставки напряжения, это требование считают выполненным, если номинальное напряжение, на которое настроен прибор, можно определить из схемы проводки, прикрепленной к прибору; схема проводки может находиться на внутренней стороне крышки, которую надо снять, чтобы присоединить питающие проводники. Схема проводки не должна находиться на этикетке, которая свободно прикреплена к прибору.
&Соответствие проверяют осмотром.&
7.5. На приборах, маркированных несколькими номинальными напряжениями или несколькими диапазонами номинальных напряжений, номинальная потребляемая мощность должна быть указана для каждого из этих напряжений или диапазонов напряжений. Если разница между пределами диапазона номинальных напряжений не превышает 10% среднего значения диапазона, допускается указывать номинальную мощность для среднего диапазона.
Верхний и нижний пределы номинальной потребляемой мощности должны быть обозначены на приборе так, чтобы ясно было видно соотношение между мощностью и напряжением.
&Соответствие проверяют осмотром.&
7.6. В маркировке используют следующие условные обозначения (русские, в скобках - международные):
В (V) - вольт;
А (А) - ампер;
Гц (Hz) - герц;
Вт (W) - ватт;
Ф (F) - фарад;
л (l) - литр;
г (g) - грамм;
бар (bar) - бар;
Па (Ра) - паскаль;
ч (h) - час;
мин (min) - минута;
с (s) - секунда;

или d.c. - постоянный ток;

или а.с. - переменный ток;

- двухфазный переменный ток;

- двухфазный переменный ток с нейтралью;

- трехфазный переменный ток;

- трехфазный переменный ток с нейтралью;

- миниатюрная плавкая вставка с выдержкой времени,
где Х - условное обозначение характеристики время/ток;

- номинальный ток соответствующей плавкой вставки в амперах;

- защитное заземление;

- прибор класса II;

- читайте инструкции;

- предостережение "Осторожно";
IPXX - IP-число.
Если первая цифра символа IP отсутствует, отсутствующую цифру заменяют буквой Х, например IPX3.
Условное обозначение рода тока следует помещать за обозначением номинального напряжения.
Размеры условного обозначения приборов класса II должны быть такими, чтобы длина сторон внешнего квадрата равнялась примерно двойной длине сторон внутреннего квадрата.
Условное обозначение прибора класса II должно быть расположено так, чтобы было ясно, что оно является частью технической информации, и чтобы его нельзя было принять за какое-либо другое обозначение.
При использовании других единиц единицы и их условные обозначения должны соответствовать Международной системе СИ.
&Соответствие проверяют осмотром и измерением.&
Примечания. 1. Допускается применение комбинированных и вспомогательных единиц.
2. Допускаются дополнительные условные обозначения при условии, что они не вызовут путаницы.
3. Единицу бар можно применять, но только с приведенным в скобках значением в паскалях.
(Измененная редакция, Изм. N 2).
7.7. Приборы, присоединяемые к более чем двум питающим проводам, и приборы с многоканальным питанием должны быть снабжены схемой соединений, прикрепленной к прибору, если правильный способ присоединения не является очевидным.
&Соответствие проверяют осмотром.&
Примечания. 1. Правильный способ присоединения считается очевидным, если зажимы для питающих проводов трехфазных приборов обозначены стрелками, направленными в сторону зажимов. Заземляющий провод не является питающим проводом.
2. Маркировка словами считается приемлемым способом указания правильного соединения.
3. Схемой соединения может быть схема проводки по
7.4.
7.8. Используют следующие обозначения зажимов для подключения к сети питания, за исключением приборов с креплением шнура типа Z:
- зажимы, предназначенные только для нейтрального провода, следует обозначать буквой "N";
- зажимы заземления следует обозначить условным знаком

.
Эти обозначения не должны помещаться на винтах, съемных шайбах или других частях, которые могут быть сняты при присоединении проводов.
Если у однофазных приборов класса I, предназначенных для постоянного присоединения к стационарной проводке, в фазовый провод внутри прибора вмонтировано однополюсное защитное устройство, то соответствующий зажим должен быть четко обозначен.
&Соответствие проверяют осмотром.&
7.9. Выключатели, функционирование которых может вызвать опасность, должны быть маркированы или расположены так, чтобы было ясно, для управления какой частью прибора они предназначены, за исключением тех случаев, когда в этом нет явной необходимости.
Обозначения, используемые для этой цели (там, где их применяют), должны быть понятны без знания языка или национальных стандартов.
&Соответствие проверяют осмотром.&
7.10. Различные положения переключателей на стационарных приборах и различные положения регулирующих устройств на всех приборах должны быть обозначены цифрами, буквами или другими видимыми средствами.
Примечание. 1. Это требование относится также и к переключателям, которые являются частью регулирующего устройства.
Если для обозначения различных положений используются цифры, то положение "Выключено" должно быть обозначено цифрой "0", а положения, соответствующие большей выходной мощности, потребляемой мощности, скорости, охлаждению и т.п., должны быть отмечены числами большей величины.
Цифру "0" не следует использовать для каких-либо других обозначений, если она не расположена и не объединена с другими цифрами так, что исключается ошибка в определении положения "Выключено".
&Соответствие проверяют осмотром.&
Примечание. 2. Цифра "0" может использоваться, например, на клавишах устройств числового программного управления.
7.11. На регулирующих устройствах, предназначенных для регулирования во время установки или при нормальной эксплуатации, должны быть указаны направления регулирования.
&Соответствие проверяют осмотром.&
Примечание. Обозначения "+" и "-" считают достаточными.
7.12. К прибору должна прилагаться инструкция по эксплуатации с целью безопасного использования прибора.
&Соответствие проверяют осмотром.&
Примечание. Указания по эксплуатации допускается маркировать на приборе, если он имеет такие размеры, что маркировка будет хорошо видна при нормальной эксплуатации.
7.12.1. Если при установке или текущем ремонте прибора потребителем необходимы специальные меры предосторожности, то их подробное описание должно быть также приложено к прибору.
&Соответствие проверяют осмотром.&
7.12.2. Если стационарный прибор не снабжен шнуром питания и штепсельной вилкой или другими средствами для отсоединения от источника питания с зазором между контактами не менее 3 мм на всех полюсах, то в инструкции должно быть указано, что средства для отсоединения должны быть встроены в закрепленную проводку в соответствии с правилами установки проводки.
&Соответствие проверяют осмотром.&
(Измененная редакция, Изм. N 2).
7.12.3. Если изоляция проводов питания прибора, предназначенного для постоянного подключения к фиксированной проводке, может соприкасаться с частями, у которых превышение температуры составляет более 50 К при испытании по
разделу 11, то в инструкции должно быть указано, что прибор должен присоединяться с помощью проводов с соответствующей маркировкой буквой Т.
&Соответствие проверяют осмотром и в процессе испытаний по
разделу 11.&
Примечание. Это ограничение станет применимым, как только появится стандарт на высокотемпературные шнуры и провода.
7.12.4. Инструкция для встраиваемых приборов должна содержать следующие четкие сведения:
- размеры пространства, необходимого для встраивания прибора;
- размеры и положение средств опоры и крепления прибора внутри указанного пространства;
- минимальные зазоры между различными частями прибора и окружающими его частями предметов обстановки;
- минимальные размеры вентиляционных отверстий и их правильное расположение;
- способ присоединения прибора к источнику питания и взаимосвязь отдельных комплектующих;
- указание о необходимости иметь вилку, доступную после установки прибора, если прибор не оснащен выключателем, соответствующим
24.3.
&Соответствие проверяют осмотром.&
7.12.5. Инструкции должны содержать следующую информацию:
- для приборов с креплением шнура типа X, имеющим специально подготовленный шнур:
"При повреждении шнура питания его следует заменить специальным шнуром или комплектом, получаемым у изготовителя или его агента";
- для приборов с креплением шнура типа Y:
"При повреждении шнура питания во избежание опасности его должен заменить изготовитель или его агент, или аналогичное квалифицированное лицо";
- для приборов с креплением шнура типа Z:
"Шнур питания замене не подлежит. Если шнур поврежден, то прибор следует снять с эксплуатации".
&Соответствие проверяют осмотром.&
7.13. Инструкции и другие тексты должны быть написаны на официальном языке той страны, в которую прибор должен быть поставлен.
&Соответствие проверяют осмотром.&
7.14. Маркировка, установленная настоящим стандартом, должна быть легкоразличима и долговечна.
&Соответствие проверяют осмотром и протиркой маркировки вручную в течение 15 с куском ткани, смоченной в воде, а затем в течение 15 с куском ткани, смоченной в бензине.
После проведения всех испытаний, предусмотренных настоящим стандартом, маркировка должна быть легкоразличима, таблички с маркировкой не должны легко сниматься и не должны деформироваться.&
Примечания. 1. При оценке долговечности маркировки учитывают условия нормальной эксплуатации. Так, например, маркировка, нанесенная краской или эмалью, за исключением стекловидной эмали, на корпусах, которые, вероятно, будут часто подвергаться чистке, не считается долговечной.
2. Бензин, используемый при испытаниях, представляет собой раствор гексана в алифатических соединениях; максимальное содержание ароматических соединений - 0,1% по объему, значение каурибутанола - 29; начальная точка кипения - около 65 °С, точка испарения - около 69 °С; удельная масса - около 0,66 кг/л.
7.15. Маркировка, указанная в
7.1 -
7.5, должна быть расположена на основной части прибора.
Маркировка на приборе должна быть легкоразличима с внешней стороны прибора, но, если это необходимо, после снятия крышки. Для портативных приборов должна быть возможность снимать или открывать эту крышку без помощи инструмента.
Для стационарных приборов, по меньшей мере, наименование или торговая марка, или товарный знак изготовителя или ответственного поставщика и модель или тип должны быть видимы, когда прибор установлен в положение, соответствующее условиям нормальной эксплуатации. Эта маркировка может располагаться под съемной крышкой. Другие обозначения могут располагаться под крышкой только в том случае, если они расположены около зажимов.
Для закрепленных приборов это требование применяется после того, как прибор установлен согласно инструкции изготовителя.
Указания для выключателей и устройств управления должны быть расположены на или около этих комплектующих, их нельзя помещать на частях, которые могут быть размещены или перемещены так, что маркировка введет в заблуждение.
&Соответствие проверяют осмотром.&
7.16. Если соответствие требованиям настоящего стандарта зависит от функционирования заменяемого термозвена или плавкого звена, то номер по каталогу или другие средства для обозначения звена должны быть маркированы на таком месте, где они четко видны, когда прибор демонтируют с целью замены звена.
Примечание. Допускается маркировать само звено, если после его срабатывания маркировка четко видна.
Настоящее требование не распространяется на звенья, которые можно заменить только вместе с частью прибора.
&Соответствие проверяют осмотром.&
8. Защита от контакта с токоведущими частями
8.1. Приборы должны быть сконструированы и закрыты так, чтобы была обеспечена достаточная защита от случайного контакта с токоведущими частями.
&Соответствие проверяют осмотром и испытаниями по
8.1.1 -
8.1.3 в зависимости от применимости и с учетом
8.1.4 -
8.1.5.&
8.1.1. &Требование
8.1 распространяется на все положения прибора, работающего так же, как и в условиях нормальной эксплуатации, даже после открытия крышек, дверей и удаления съемных частей.&
Примечание. Это требование исключает использование плавких винтов и миниатюрных прерывателей цепи винтового типа, доступных без применения инструмента.
&Лампы, размещенные за съемной крышкой, не снимают, если прибор может быть изолирован от источника питания с помощью штепсельной вилки или выключателя всех полюсов. Однако должна быть обеспечена защита от случайного прикосновения к частям цоколей ламп, находящихся под напряжением, при установке или удалении ламп, которые размещены за съемной крышкой.
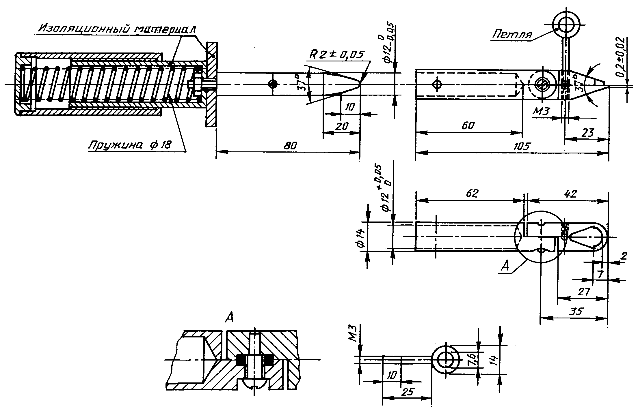
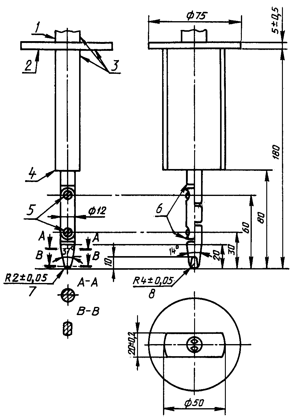
Испытательный палец (
рисунок 1) прикладывают без заметного усилия во всех возможных положениях, за исключением того, что приборы, используемые обычно на полу и имеющие массу свыше 40 кг, не наклоняют. Через отверстия предварительно изогнутый испытательный палец вводят на возможную глубину и вращают его. Если палец не входит в отверстие, то усилие ввода увеличивают до 20 Н. Если после этого палец входит в отверстие, то испытание повторяют пальцем в изогнутом положении.&
1 - ручка; 2 - ограждение; 3 - изоляционный материал;
4 - стопорная фаска; 5 - соединение;
6 - фаски (сняты на всех углах);
7 - цилиндрическая часть;
8 - сферическая часть
Материал: металл, если не указано иное.
Допуски:
на угловые размеры:

;
на линейные размеры:
до 25 мм включ.

мм;
св. 25 мм

мм.
Оба соединения должны допускать перемещение в одной плоскости и в одном направлении на 90° с допуском от 0 до +10°.
Рисунок 1. Испытательный палец
&Не допускается возможность прикасания испытательным пальцем к токоведущим частям или к токоведущим частям, защищенным только лаком, эмалью, обычной бумагой, хлопчатобумажной тканью, окисной пленкой, бусами или заливочной массой, кроме самозатвердевающей смолы.&
8.1.2. &Отверстия в приборах класса 0 и отверстия в приборах класса II и конструкциях класса II, кроме отверстий, открывающих доступ к цоколям ламп или к частям в приборных розетках, находящимся под напряжением, проверяют испытательным стержнем (рисунок 2), который прикладывают без заметного усилия.&
Рисунок 2. Испытательный стержень
&Испытательный стержень также прикладывают через отверстия к заземленным металлическим ограждениям, имеющим диэлектрическое покрытие, такое как эмаль или лак.
Не допускается возможность прикасания испытательным стержнем к токоведущим частям.&
Примечание. Приборный вывод не считают приборной розеткой.
(Измененная редакция, Изм. N 2).
8.1.3. &Для всех приборов, кроме приборов класса II, вместо испытательного пальца или стержня используют испытательный щуп (
рисунок 3), который прикладывают без заметного усилия к токоведущим частям нагревательных элементов с видимым свечением, все полюсы которых могут быть отключены одновременно. Его прикладывают также к частям, которые поддерживают эти элементы, при условии, что при внешнем осмотре прибора без снятия крышек и т.п. очевидно, что эти части находятся в контакте с нагревательными элементами.&
Рисунок 3. Испытательный щуп
&Не допускается возможность прикасания щупом к токоведущим частям.&
Примечание. Если приборы оснащены шнуром питания и не имеют выключающих устройств в цепи питания, то выведение вилки из фиксированной розетки рассматривают как единственное выключающее действие.
8.1.4. Доступные части не считают токоведущими частями, если:
- часть питается безопасным сверхнизким напряжением при условии, что:
- для переменного тока пиковое напряжение не превышает 42,4 В;
- для постоянного тока напряжение не превышает 42,4 В, или часть отделена от токоведущих частей защитным импедансом.
При наличии защитного импеданса ток между этой частью и источником питания не должен превышать 2 мА для постоянного тока и пиковое значение не должно превышать 0,7 мА для переменного тока, и, кроме того:
- для напряжений с пиковым значением более 42,4 до 450 В (включительно) емкость не превышает 0,1 мкФ;
- для напряжений с пиковым значением более 450 В до 15 кВ (включительно) разряд не превышает 45 мкКл.
&Соответствие требованию проверяют измерением при работе прибора при номинальном напряжении.
Напряжение и токи измеряют между рассматриваемой частью и каждым полюсом источника питания. Значения величин, характеризующих разряд, измеряют непосредственно после прекращения подачи питания.&
Примечание. Соответствующая цепь для измерения тока утечки описана в
Приложении G.
8.1.5. Токоведущие части встраиваемых приборов, закрепляемых приборов и приборов, поставляемых в виде отдельных единиц, должны быть защищены, по крайней мере, основной изоляцией до установки или сборки.
&Соответствие проверяют осмотром и испытанием по
8.1.1.&
(Измененная редакция, Изм. N 2).
8.2. Приборы класса II и конструкции класса II должны быть так сконструированы и закрыты, чтобы была обеспечена соответствующая защита от случайного контакта с основной изоляцией и с металлическими частями, отделенными от токоведущих частей только основной изоляцией.
Допускается прикасание только к частям, которые отделены от токоведущих частей двойной или усиленной изоляцией.
&Соответствие требованию проверяют осмотром и испытательным пальцем (
рисунок 1) по
8.1.1.&
Примечания. 1. Это требование распространяется на все положения прибора, работающего как в условиях нормальной эксплуатации даже после открытия крышек и дверей и удаления съемных частей.
2. Встраиваемые и закрепляемые приборы испытывают после их установки.
9. Пуск электромеханических приборов
Требования и методика испытаний должны быть, при необходимости, установлены в стандарте на конкретное изделие.
10. Потребляемая мощность и ток
10.1. Мощность, потребляемая прибором при номинальном напряжении и нормальной рабочей температуре, не должна отличаться от номинальной потребляемой мощности более, чем на указанное в таблице 1 отклонение.
Таблица 1
Отклонение потребляемой мощности от номинальной
Тип прибора | Номинальная потребляемая мощность, Вт | Отклонение |
Все приборы | <= 25 | +20% |
Нагревательные и комбинированные приборы | >25 и <= 200 | +/- 10% |
>200 | +5% или 20 Вт (в зависимости от того, что больше) -10% |
Электромеханиче- ские приборы | >25 и <= 300 | +20% |
>300 | +15% или 60 Вт (в зависимости от того, что больше) |
Для комбинированных приборов, у которых мощность, потребляемая двигателем, составляет более 50% общей потребляемой мощности, применяют требования, установленные для электромеханических приборов.
Примечание. 1. В случае сомнения мощность, потребляемую двигателем, измеряют отдельно.
&Соответствие требованию проверяют измерением мощности, потребляемой прибором, после ее стабилизации, при следующих условиях:
- все цепи, которые могут работать одновременно, должны быть включены;
- прибор должен питаться номинальным напряжением;
- прибор должен работать в соответствии с условиями нормальной эксплуатации.
Если потребляемая мощность изменяется в течение рабочего цикла, то потребляемую мощность определяют как среднее арифметическое значение потребляемой мощности за наиболее характерный период работы.&
Примечания. 2. Для приборов, на которых указан один или более диапазонов номинальных напряжений, испытание проводят как при верхнем, так и при нижнем значениях диапазона; если же маркированная номинальная потребляемая мощность соответствует среднему значению соответствующего диапазона, то испытания проводят при напряжении, равном среднему значению диапазона.
3. Для приборов, маркированных диапазоном номинальных напряжений, предельные значения которого отличаются более чем на 10% от среднего арифметического значения диапазона, допускаемое отклонение относится к обоим предельным значениям диапазона.
4. Для электромеханических приборов и всех приборов, имеющих номинальную мощность <= 25 Вт, отклонение в минусовую сторону не ограничено.
10.2. Если на приборе маркирован номинальный ток, то ток, потребляемый прибором при нормальной рабочей температуре, не должен отличаться от номинального более, чем на указанное в таблице 2.
Таблица 2
Отклонение потребляемого тока от номинального
Тип прибора | Номинальный ток, А | Отклонение |
Все приборы | <= 0,2 | +20% |
Нагревательные и комбинированные приборы | >0,2 и <= 1,0 | +/- 10% |
>1,0 | +5% или 0,10 А (в зависимости от того, что больше) -10% |
Электромеханиче- ские приборы | >0,2 и <= 1,5 | +20% |
>1,5 | +15% или 0,30 А (в зависи- мости от того, что больше) |
&Соответствие проверяют измерением тока прибора после его стабилизации при следующих условиях:
- все цепи, которые могут работать одновременно, должны быть включены;
- прибор должен питаться номинальным напряжением;
- прибор должен работать в соответствии с условиями нормальной эксплуатации.
Если ток изменяется в течение рабочего цикла, то ток определяют как среднее арифметическое значение тока за характерный период работы.&
Примечания. 1. Для приборов, маркированных одним или более диапазонами номинальных напряжений, испытания проводят как при верхнем, так и при нижнем значении диапазона, если маркированный номинальный ток не соответствует среднему арифметическому значению диапазона напряжений. В этом случае испытания проводят при напряжении, равном среднему арифметическому значению диапазона.
2. Для приборов, маркированных диапазоном номинальных напряжений, предельные значения которого отличаются более чем на 10% от среднего арифметического значения диапазона, допускаемое отклонение относится к обоим предельным значениям диапазона.
3. Отклонение в минусовую сторону для электромеханических приборов и всех приборов с номинальным током <= 0,2 А не ограничено.
| | Применение на добровольной основе раздела 11 обеспечивает соблюдение требований Федерального закона от 22.07.2008 N 123-ФЗ "Технический регламент о требованиях пожарной безопасности" (Приказ Ростехрегулирования от 30.04.2009 N 1573). | |
11.1. Приборы и окружающая их среда при нормальной эксплуатации не должны достигать чрезмерных температур.
&Соответствие требованию проверяют определением превышения температуры различных частей при условиях, указанных в
11.2 -
11.7; однако, если превышение температуры обмотки двигателя выше значений, указанных в
таблице 3, или возникают сомнения относительно классификации системы изоляции, примененной в двигателе, то соответствие проверяют дополнительным испытанием по
Приложению С.&
11.2. &Ручные приборы удерживают в нормальном эксплуатационном положении.
Встраиваемые приборы устанавливают в соответствии с указанием изготовителя.
Другие нагревательные приборы и другие комбинированные приборы устанавливают в испытательном углу следующим образом:
- приборы, обычно устанавливаемые для использования на полу или на столе, устанавливают на пол как можно ближе к стенам;
- приборы, которые обычно крепят к стене, монтируют на одной из стенок как можно ближе к другой стене и к полу или потолку, как при нормальной эксплуатации, если отсутствуют другие указания изготовителя относительно их установки;
- приборы, которые обычно крепят к потолку, крепят к потолку как можно ближе к стенам, как при нормальной эксплуатации, если отсутствуют другие указания изготовителя относительно их установки.
Другие электромеханические приборы устанавливают следующим образом:
- приборы, устанавливаемые обычно на полу или на столе, устанавливают на горизонтальную подставку;
- приборы, которые обычно крепят к стене, монтируют на вертикальной подставке;
- приборы, которые обычно крепят к потолку, крепят к нижней стороне горизонтальной опоры.
Для изготовления испытательного угла, подставок и приспособлений для встраивания используют фанеру толщиной около 20 мм, окрашенную в черный матовый цвет.
Для приборов, оснащенных устройством автоматической намотки шнура, разматывают 1/3 общей длины шнура. Превышение температуры оболочки шнура измеряют как можно ближе к втулке катушки и между двумя самыми верхними слоями шнура на катушке.
Для устройств хранения шнура, кроме устройств автоматической намотки, предназначенных для размещения части шнура во время работы прибора, отматывают 50 см шнура. Превышение температуры части, на которой хранится шнур, определяют в наиболее неблагоприятном месте.&
11.3. &Превышение температур, за исключением превышений температур обмоток, определяют тонкопроволочными термопарами, расположенными так, чтобы они оказывали минимальное влияние на температуру испытуемой части.&
Примечание. Термопары с проволокой диаметром не более 0,3 мм считают тонкопроволочными термопарами.
&Термопары, используемые для определения превышения температуры поверхности стенок, потолка и пола, заделывают в поверхность или прикрепляют к внутренней стороне небольших зачерненных дисков из меди или латуни диаметром 15 мм и толщиной 1 мм, которые находятся заподлицо с поверхностью доски.
По возможности прибор располагают так, чтобы термопары соприкасались с частями, имеющими наиболее высокие температуры.
Превышение температуры электрической изоляции, кроме изоляции обмоток, определяют на поверхности изоляции в местах, где повреждение может привести к короткому замыканию, контакту между токоведущими частями и доступными металлическими частями, образованию токоведущих мостиков на изоляции или уменьшению путей утечки или воздушных зазоров до значений, меньших, чем указано в
29.1.
Превышение температуры обмоток определяют методом сопротивления, за исключением тех случаев, когда обмотки неоднородные или возникают большие трудности при выполнении необходимых соединений; в таких случаях превышение температуры определяют с помощью термопар.&
Примечания. 1. Если для установки термопар необходимо разбирать прибор, то после повторной сборки прибора необходимо убедиться, что прибор собран правильно, и вновь измерить потребляемую мощность.
2. Точка разветвления жил многожильного шнура и точка ввода изолированных проводов в патроны ламп являются примерами мест, где следует располагать термопары.
11.4. &Нагревательные приборы работают как в условиях нормальной эксплуатации при 1,15 номинальной потребляемой мощности.&
11.5. &Электромеханические приборы работают в условиях нормальной эксплуатации при наиболее неблагоприятном напряжении от 0,94 до 1,06 номинального напряжения.&
11.6. &Комбинированные приборы работают в условиях нормальной эксплуатации и при наиболее неблагоприятном напряжении от 0,94 до 1,06 номинального напряжения.&
11.7. &Приборы должны работать в течение периода времени, соответствующего наиболее неблагоприятным условиям, возможным при нормальной эксплуатации.&
Примечание. Продолжительность испытания может составлять более одного цикла работы.
11.8. &Во время испытания превышения температуры следует контролировать непрерывно, и они не должны превышать значений, указанных в таблице 3, защитные устройства не должны срабатывать, а заливочная масса не должна вытекать.
Таблица 3
Максимальное нормальное превышение температуры
┌─────────────────────────────────────┬──────────────────────────┐
│ Часть прибора │Превышение температуры, °С│
├─────────────────────────────────────┼──────────────────────────┤
│ Обмотки
<1>, если изоляция выполнена│ │
│из материала: │ │
│ - класса А │75 (65) │
│ - класса Е │90 (80) │
│ - класса В │95 (85) │
│ - класса F │115 │
│ - класса Н │140 │
│ - класса 200 │160 │
│ - класса 220 │180 │
│ - класса 250 │210 │
│ Штыри приборных вводов: │ │
│ - для очень горячих условий │130 │
│ - для горячих условий │95 │
│ - для холодных условий │45 │
│ Зажимы, включая зажимы заземления, │60 │
│для внешних проводов стационарных │ │
│приборов, если они не снабжены шнуром│ │
│питания │ │
│ Окружающая среда выключателей, │ │
│терморегуляторов и термоограничителей│ │
│ - без маркировки Т │30 │
│ - с маркировкой Т │Т - 25 │
│ Резиновая или поливинилхлоридная │ │
│изоляция внутренних и внешних │ │
│проводов, включая шнуры питания: │ │
│ - без маркировки Т
<3> │50 │
│ - с маркировкой Т │Т - 25 │
│ Оболочки шнуров, используемые в │35 │
│качестве дополнительной изоляции │ │
│ Подвижные контакты катушек для │65 │
│намотки │ │
│ Резина, кроме синтетической, │ │
│применяемая для сальников и других │ │
│деталей, повреждение которых может │ │
│повлиять на безопасность: │ │
│ - применяемая в качестве │40 │
│дополнительной или усиленной изоляции│ │
│ - в других случаях │50 │
│ Патроны с маркировкой Т
<9>: │ │
│ - серий В15 и В22, маркированные Т1│140 │
│ - серий В15 и В22, маркированные Т2│185 │
│ - другие патроны │Т - 25 │
│ Патроны без маркировки Т
<9>: │ │
│ - серий Е14 и В15 │110 │
│ - серий В22, Е26 и Е27 │140 │
│ - другие патроны и держатели │55 │
│стартеров для флуоресцентных ламп │ │
│ Материалы, используемые в качестве │ │
│изоляции, кроме изоляции проводов │ │
│ - пропитанная или лакированная │70 │
│ткань, бумага или прессованный картон│ │
│ - слоистые материалы, пропитанные: │ │
│ - меламинформальдегидной, │85 (175) │
│фенолформальдегидной │ │
│или фенолфурольными смолами │ │
│ - карбамидформальдегидной смолой │65 (150) │
│ - печатные платы, пропитанные │120 │
│эпоксидной смолой │ │
│ - прессованные материалы из: │ │
│ - фенолформальдегида │85 (175) │
│с наполнителем из целлюлозы │ │
│ - фенолформальдегида с минеральным│100 (200) │
│наполнителем │ │
│ - меламинформальдегида │75 (150) │
│ - карбамидформальдегида │65 (150) │
│ - полиэстер, армированный │110 │
│стекловолокном │ │
│ - силиконовый каучук │145 │
│ - политетрафлуороэтилен │265 │
│ - чистая слюда и плотноспекаемый │400 │
│керамический материал, если они │ │
│используются как дополнительная │ │
│или усиленная изоляция │ │
│ - термопластические материалы
<5> │- │
│ Древесина, в общем
<6> │65 │
│ - деревянные опоры, стены, потолок │ │
│и пол испытательного угла │ │
│и деревянных шкафов: │ │
│ - для стационарных приборов, │60 │
│предназначенных для работы непрерывно│ │
│в течение длительного периода времени│ │
│ - для других приборов │65 │
│ Внешние поверхности конденсаторов │ │
│ - с маркировкой максимальной │Т - 25 │
│рабочей температуры Т
<8> │ │
│ - без маркировки максимальной │ │
│рабочей температуры: │ │
│ - небольшие керамические конденса- │50 │
│торы для подавления теле- и радиопо- │ │
│мех │ │
│ - конденсаторы, соответствующие │50 │
│ГОСТ МЭК 384-14 │ │
│ - другие конденсаторы │20 │
│ Внешний кожух электромеханических │60 │
│приборов, за исключение ручек, │ │
│которые при нормальной эксплуатации │ │
│держат в руке │ │
│ Рукоятки, кнопки, ручки и т.п., │ │
│которые при нормальной эксплуатации │ │
│постоянно держат в руке │ │
│(например, рукоятки паяльников): │ │
│ - из металла │30 │
│ - из фарфора или стекловидного │40 │
│материала │ │
│ - из прессованного материала, │50 │
│резины или древесины │ │
│ Рукоятки, кнопки, ручки и т.п., │ │
│которые при нормальной эксплуатации │ │
│держат в руках только кратковременно │ │
│(например, выключателей): │ │
│ - из металла │35 │
│ - из фарфора или стекловидного │45 │
│материала │ │
│ - из прессованного материала, │60 │
│резины или древесины │ │
│ Части, соприкасающиеся с маслом, │t - 50 │
│температура воспламенения │ │
│которого t °С │ │
│ Любая точка возможного контакта │ │
│изоляции проводов с частями коробки │ │
│для зажимов или отсека для │ │
│присоединения к фиксированной │ │
│проводке стационарных приборов, не │ │
│имеющих шнура питания: │ │
│ - если инструкция предусматривает │Т - 25 │
│применение проводов с маркировкой Т │ │
│ - в других случаях
<3> │50 │
├─────────────────────────────────────┴──────────────────────────┤
│ <1> Учитывая, что средняя температура обмоток универсальных │
│двигателей, реле, соленоидов и т.п. обычно выше температур в│
│точках обмоток, где расположены термопары, значения превышения│
│температур, приведенные без скобок, применимы, когда│
│используется метод сопротивления, а значения, приведенные в│
│скобках, - при использовании термопар. Для обмоток катушек│
│вибраторов и двигателей переменного тока в обоих случаях│
│применимы значения превышения температуры, приведенные без│
│скобок. │
│ Для двигателей, сконструированных так, что отсутствует│
│циркуляция воздуха между внутренним и внешним пространством│
│двигателя, но не закрытых до такой степени, что их можно считать│
│герметичными, предельные превышения температур можно увеличить│
│на 5 °С. │
│ <2> "Т" означает максимальную температуру окружающей среды,│
│при которой может работать комплектующее или его выключающая│
│головка. │
│ Под температурой окружающей среды понимают температуру│
│воздуха в наиболее нагретой точке на расстоянии 5 мм от│
│поверхности рассматриваемого комплектующего. Однако если│
│терморегулятор или ограничитель температуры установлен на│
│теплопроводящие части, заявленное допустимое превышение│
│температуры на этой поверхности (Т ) также подходит. Поэтому│
│ s │
│превышение температуры данной поверхности должно быть измерено. │
│ Для этого испытания выключатели и терморегуляторы, имеющие│
│индивидуальную маркировку номинальных данных, допускается│
│считать не имеющими маркировки максимальной рабочей температуры,│
│если на это есть указание изготовителя прибора. │
│ <3> Этот предел применим к шнурам и проводам, отвечающим│
│требованиям соответствующих стандартов; в других случаях он│
│может быть иным. │
│ <4> Значения в скобках действительны для материалов,│
│используемых для ручек, кнопок, рукояток и т.п. и находящихся в│
│контакте с горячим металлом. │
│ <5> Предел для термопластических материалов не установлен.│
│Однако необходимо определить превышение температуры для│
│возможности проведения испытаний по
30.1. │
│ <6> Указанный предел касается повреждения древесины;│
│повреждение ее покрытия не принимают во внимание. │
│ <7> Не нормировано предельное превышение температуры для│
│конденсаторов, которые замыкают накоротко при испытаниях по│
│ <8> Температурная маркировка для конденсаторов, монтируемых │
│на печатных платах, может быть дана в технических ведомостях. │
│ В случае применения указанные иди другие материалы не должны│
│подвергаться воздействию температур, превышающих их│
│нагревостойкость, определенную испытанием на старение,│
│проведенным на этих материалах. │
ИС МЕГАНОРМ: примечание.
Взамен ГОСТ Р МЭК 60598-1-99 Постановлением Госстандарта РФ от
07.02.2003 N 51-ст с 1 января 2004 года введен в действие
│ <9> Места измерения превышения температуры установлены в│
│таблице 12.1 ГОСТ Р МЭК 60598-1. │
└────────────────────────────────────────────────────────────────┘
Примечания. 1. Значения, указанные в
таблице 3, основаны на температуре окружающей среды, обычно не превышающей 25 °С, но временами она может повышаться до 35 °С. Однако указанные значения превышения температуры отнесены к температуре 25 °С.
2. Значение превышения температуры обмотки

рассчитывают по формуле

,
где

- сопротивление обмотки в начале испытания;

- сопротивление обмотки в конце испытания;
К = 234,5 °С для медной обмотки и 225 °С - для алюминиевой;

(

) - температура помещения в начале (конце) испытания.
В начале испытания температура обмотки должна быть равна температуре помещения. Рекомендуется измерить сопротивление обмотки в конце испытания как можно скорее после отключения прибора, а затем через короткие интервалы времени для того, чтобы построить кривую зависимости сопротивления от времени для экстраполяции значения сопротивления на момент отключения.
3. Предел превышения температуры для металла относится к частям, имеющим металлическую облицовку толщиной менее 0,1 мм, и к металлическим частям, имеющим пластиковое покрытие толщиной менее 3 мм.
4. Температуру клемм выключателей измеряют, если выключатель испытывают в соответствии с
Приложением S.
(Измененная редакция, Изм. N 2).
12. В стадии рассмотрения
13. Ток утечки и электрическая прочность
при рабочей температуре
13.1. При рабочей температуре ток утечки прибора не должен быть чрезмерным, а его электрическая прочность должна быть достаточной.
&Соответствие требованию проверяют испытаниями по
13.2 и
13.3.
Прибор работает в условиях нормальной эксплуатации в течение времени, указанного в
11.7.
Нагревательные приборы работают при 1,15 номинальной потребляемой мощности.
Электромеханические и комбинированные приборы работают при напряжении питания, равном 1,06 номинального напряжения.
Трехфазные приборы, которые в соответствии с указаниями изготовителя могут работать также от однофазной сети, испытывают как однофазные приборы с тремя параллельно соединенными секциями.
Перед проведением испытания защитный импеданс и фильтры радиопомех отключают.&
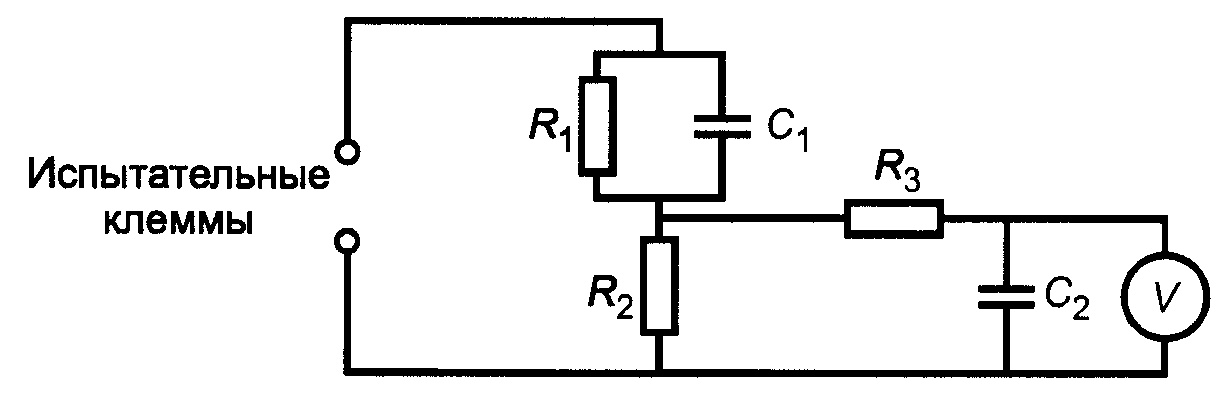
13.2. &Ток утечки измеряют с помощью цепи, описанной в
Приложении G, между любым полюсом источника питания и доступными металлическими частями, соединенными с металлической фольгой площадью не более 20 х 10 см, контактирующей с доступными поверхностями изоляционного материала.
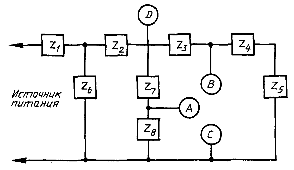
Для однофазных приборов схема измерения приведена на
рисунке 4 - для приборов класса II; на
рисунке 5 - для приборов других классов.&
4 - усиленная изоляция; 5 - дополнительная изоляция;
6 - основная изоляция;
7 - недоступная металлическая часть;
8 - доступная часть; 9 - двойная изоляция
Рисунок 4. Схема измерения тока утечки при рабочей
температуре для однофазных приборов класса II
1, 2 и 3 - см. рисунок 4
Рисунок 5. Схема измерения тока утечки
при рабочей температуре для однофазных приборов,
кроме приборов класса II
&Измерение тока утечки проводят с помощью селективного переключателя в каждом из положений 1 и 2.
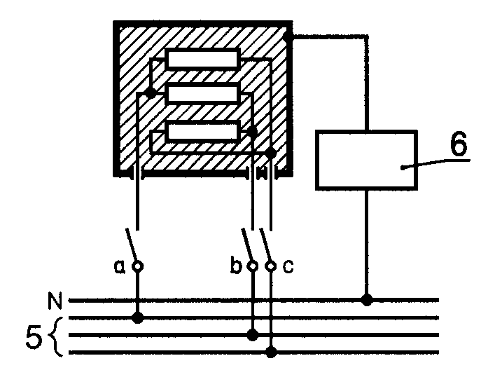
Для трехфазных приборов схема измерения приведена на
рисунке 6 - для приборов класса II; на
рисунке 7 - для приборов других классов.&
1 - доступная часть; 2 - недоступная металлическая часть;
3 - основная изоляция; 4 - дополнительная изоляция;
7 - двойная изоляция; N - нулевой провод
Рисунок 6. Схема измерения тока утечки
при рабочей температуре
для трехфазных приборов класса II
5, 6 - см. рисунок 6
Рисунок 7. Схема измерения тока утечки
при рабочей температуре для трехфазных приборов,
кроме приборов класса II
&Для трехфазных приборов ток утечки измеряют с помощью выключателей а, b и с, установленных в положение "Включено". Измерения повторяют при поочередном отключении выключателей а, b, с при включенных двух остальных выключателях. Для приборов, подключаемых только соединением "звезда", нейтральный провод не подключают.
После работы прибора в течение времени, указанного в
11.7, ток утечки не должен превышать следующих значений:
- для приборов классов 0, 0I, III - 0,5 мА;
- для переносных приборов класса I - 0,75 мА;
- для стационарных электромеханических приборов класса I - 3,5 мА;
- для стационарных нагревательных приборов класса I - 0,75 мА или 0,75 мА на 1 кВт номинальной потребляемой мощности приборов в зависимости от того, что больше, но не более 5 мА;
- для приборов класса II - 0,25 мА.
Для комбинированных приборов общий ток утечки может быть в пределах, установленных для нагревательных приборов или для электромеханических приборов, в зависимости от того, что больше, но не допускается суммировать оба предела.
Если прибор имеет конденсаторы и однополюсный выключатель, то измерения повторяют с выключателем, установленным в положение "Выключено".
Если в прибор встроено терморегулирующее устройство, которое срабатывает во время испытания по
разделу 11, ток утечки измеряют непосредственно перед тем, как регулирующее устройство разрывает цепь.&
Примечания. 1. Испытание с выключателем, установленным в положение "Выключено", проводят для того, чтобы убедиться в том, что конденсаторы, подсоединенные после однополюсного выключателя, не вызывают появления чрезмерного тока утечки.
2. Рекомендуется подавать питание на прибор через изолирующий трансформатор, в противном случае прибор должен быть изолирован от земли.
3. Металлическая фольга должна занимать по возможности наибольшую площадь на испытуемой поверхности без превышения установленных размеров. Если площадь металлической фольги меньше, чем испытуемая поверхность, то фольгу перемещают так, чтобы испытать все части поверхности. Металлическая фольга не должна влиять на теплорассеяние прибора.
13.3. &Изоляцию подвергают в течение одной минуты испытанию напряжением практически синусоидальной формы частотой 50 или 60 Гц. Для однофазных приборов схема соединений приведена на рисунке 8. Двигатели и трехфазные приборы испытывают сразу после отключения прибора от сети.&
1 - разделительный трансформатор;
2 - повышающий трансформатор
Рисунок 8. Схема для испытания
электрической прочности при рабочей температуре
&Испытательное напряжение прикладывают между токоведущими частями и доступными частями, неметаллические части покрывают металлической фольгой. Для конструкций класса II, имеющих промежуточный металл между токоведущими и доступными частями, напряжение прикладывают вдоль основной и дополнительной изоляции.
Значения испытательного напряжения должны составлять:
500 В - для основной изоляции, которая в нормальных условиях эксплуатации подвергается воздействию безопасного сверхнизкого напряжения;
1000 В - для другой основной изоляции;
2750 В - для дополнительной изоляции;
3750 В - для усиленной изоляции.
В начале испытания прикладывают не более половины испытательного напряжения, которое затем постепенно повышают до полного значения.
Во время испытания не должно возникать никакого пробоя.&
Примечания. 1. Тлеющие разряды без падения напряжения не принимают во внимание.
2. Источник высокого напряжения, используемый при испытании, должен выдерживать ток короткого замыкания (

), если выходные зажимы замкнуть накоротко после того, как выходное напряжение достигнет соответствующего испытательного значения U. Реле перегрузки цепи не должны срабатывать при любых токах менее тока срабатывания (

). Измерительный вольтметр для измерения среднего квадратического значения испытательного напряжения должен быть не ниже класса 2,5.
Значения величин

и

для источников разных типов должны соответствовать приведенным в таблице 4.
Таблица 4
Характеристика высоковольтного источника
┌────────────────────┬───────────────────────────────────────────┐
│ Испытательное │ Минимальный ток, мА │
│ напряжение U, В ├────────────────────┬──────────────────────┤
│ │ I │ I │
│ │ s │ r │
├────────────────────┼────────────────────┼──────────────────────┤
│U < 4000 │200 │100 │
│4000 <= U < 10000 │80 │40 │
│10000 <= U <= 20000 │40 │20 │
├────────────────────┴────────────────────┴──────────────────────┤
│ Примечания. 1. Значения токов вычислены для короткозамкнутой│
│цепи в условиях высвобожденной энергии 800 и 400 В х А при│
│верхнем значении диапазона напряжений. │
│ 2. Погрешность измерения высокого напряжения не должна│
│выходить за предел +/- 3% измеряемого напряжения для токов│
│утечки вплоть до 50% I . │
│ r │
│ 3. Если вторичная обмотка изолирующего трансформатора не│
│имеет отвода в средней точке, то выходная обмотка трансформатора│
│высокого напряжения может быть подключена к средней точке│
│потенциометра, общее сопротивление которого не превышает│
│2000 Ом, подключенного параллельно выходной обмотке изолирующего│
│трансформатора. │
│ 4. Следует избегать перегрузки комплектующих электронных│
│цепей. │
└────────────────────────────────────────────────────────────────┘
13.1 - 13.3. (Измененная редакция, Изм. N 2).
14. В стадии рассмотрения
15.1. Кожух приборов должен обеспечивать степень защиты от влаги в соответствии с классификацией прибора.
&Проверку осуществляют по
15.1.1 и
15.1.2 на приборе, не подключенном к сети питания.
Непосредственно после соответствующей обработки прибор должен выдержать испытание на электрическую прочность изоляции по
16.3, а осмотр должен показать, что на изоляции нет следов воды, что может повлечь за собой уменьшение путей утечки и воздушных зазоров ниже значений, установленных
29.1.&
Примечание. Наружное ограждение осторожно протирают, удаляя любые остатки воды перед осмотром. Внимание! Когда проводят разборку, следует избегать какого-либо попадания воды внутрь прибора.
15.1.1. &Приборы, кроме исполнения IPX0, подвергают испытаниям по
ГОСТ 14254:
IPX1 - по 14.2.1;
IPX2 - по 14.2.2;
IPX3 - по 14.2.3а;
IPX4 - по 14.2.4а;
IPX5 - по 14.2.5;
IPX6 - по 14.2.6;
IPX7 - по 14.2.7. Для этого испытания прибор погружают в воду, содержащую приблизительно 1% NaCl.&
Примечание. Сопло ручного разбрызгивателя может быть использовано для испытуемого прибора, который не может быть установлен под качающейся трубой, указанной в
ГОСТ 14254.
15.1.2. &Ручные приборы во время испытания разворачивают непрерывно во всех наиболее неблагоприятных положениях.
Встраиваемые приборы встраивают в соответствии с инструкциями изготовителя.
Приборы, обычно устанавливаемые на полу или столе, размещают на горизонтальной подставке, которая не должна иметь отверстий и диаметр которой равен удвоенному радиусу качающейся трубы минус 15 см.
Приборы, которые обычно крепят к стене, монтируют как при нормальной эксплуатации, в центре деревянной доски, размеры которой на (15 +/- 5) см больше размеров ортогональной проекции прибора на доску. Доску размещают в центре качающейся трубы.
Для IPX3 основание прибора для настенного монтажа располагают на одном уровне с точкой оси качающейся трубы.
Для IPX4 горизонтальная ось прибора должна совпадать с главной осью качающейся трубы. Однако для приборов, обычно используемых на полу или столе, перемещение ограничивают отклонениями на 90° в каждую сторону от вертикали в течение 5 мин, подставку размещают на уровне главной оси качающейся трубы.
Если изготовитель прибора для настенного монтажа указывает, что прибор должен размещаться близко к уровню пола, и определяет предельное расстояние, то доску размещают под прибором на этом расстоянии. Размеры доски должны быть на 15 см больше горизонтальной проекции прибора.
Приборы с креплением шнура типа Х, кроме имеющих специально подготовленный шнур, оснащают гибким шнуром самого легкого допустимого типа с наименьшей площадью поперечного сечения по
таблице 11.
Съемные части удаляют и подвергают, если это необходимо, соответствующей обработке вместе с основной частью прибора.
Однако если в инструкциях по эксплуатации установлено, что часть прибора должна быть снята для технического обслуживания и при этом необходим инструмент, эту часть не снимают.&
15.1 - 15.1.2. (Измененная редакция, Изм. N 2).
15.2. Приборы, в которых при нормальной эксплуатации возможен перелив жидкости, должны быть сконструированы так, чтобы этот перелив не оказывал вредного влияния на изоляцию.
&Соответствие требованию проверяют следующим испытанием.
Приборы с креплением шнура типа Х, кроме имеющих специально подготовленный шнур, оснащают гибким шнуром самого легкого допустимого типа с наименьшей площадью поперечного сечения по
таблице 11.
Приборы, оснащенные приборным вводом, испытывают с соединителем или без него в зависимости от того, что более неблагоприятно.
Съемные части удаляют.
Сосуд для жидкости прибора наполняют полностью водой, содержащей примерно 1% NaCl, а затем добавляют постепенно в течение одной минуты количество воды, равное 15% вместимости сосуда или 0,25 л в зависимости от того, что больше.
Непосредственно после такой обработки прибор должен выдержать испытание на электрическую прочность изоляции по
16.3, и осмотр должен показать отсутствие следов воды на изоляции, что может повлечь за собой уменьшение путей утечки и воздушных зазоров ниже значений, указанных в
29.1.
15.3. Приборы должны быть устойчивы к влажности, которая может иметь место при нормальных условиях эксплуатации.
Соответствие требованию проверяют следующей влажной обработкой.
Приборы, подвергнутые испытаниям по
15.1 и
15.2, выдерживают в течение 24 ч в нормальной атмосфере испытательного помещения.
Вводы кабелей, если они имеются, оставляют открытыми; если имеются заглушенные отверстия, то одно из них открывают.
Съемные части удаляют и подвергают, если это необходимо, влажной обработке вместе с основной частью прибора.
Испытание проводят в течение 48 ч в камере влажности, в которой воздух имеет относительную влажность (93 +/- 3)%. Температуру воздуха поддерживают с точностью 1 °С для любого значения t, находящегося в пределах между 20 и 30 °С. Перед помещением образца в камеру влажности его приводят в состояние, при котором температура его будет находиться в пределах

°С.
Сразу после такой обработки прибор должен выдержать испытание по
разделу 16, проводимое непосредственно в камере или помещении, в котором образец был приведен к требуемой температуре, после установки в него ранее удаленных съемных частей.&
Примечания. 1. В большинстве случаев образец может быть приведен к установленной температуре путем выдерживания его при этой температуре в течение, по меньшей мере, 4 ч перед влажной обработкой.
2. Относительная влажность (93 +/- 3)% может быть достигнута, если поместить в камеру влажности насыщенный раствор сернокислого натрия (

) или азотнокислого калия (

) в воде, имеющий достаточно большую поверхность соприкасания с воздухом.
3. Для достижения требуемых условий внутри камеры необходимо обеспечить постоянную циркуляцию воздуха внутри камеры с тепловой изоляцией.
(Измененная редакция, Изм. N 2).
16. Ток утечки и электрическая прочность
16.1. &Ток утечки прибора не должен быть чрезмерным, а электрическая прочность должна быть достаточной.
Соответствие требованию проверяют испытаниями по
16.2 и
16.3.
Защитный импеданс отсоединяют от токоведущих частей перед проведением испытаний.
Испытания проводят при комнатной температуре на приборе, не подключенном к сети питания.&
16.2. &Испытательное напряжение переменного тока прикладывают, как указано в
пунктах 1 и
3 таблицы 5, металлическую фольгу размером не более 20 х 10 см при необходимости перемещают так, чтобы испытать все части поверхности.
Испытательное напряжение должно быть равно:
1,06 номинального напряжения для однофазных приборов;
1,06 номинального напряжения, разделенного на

, - для трехфазных приборов.
Ток утечки измеряют в течение 5 с после приложения испытательного напряжения.
Ток утечки не должен превышать следующих значений:
- для приборов классов 0, 0I и III - 0,5 мА;
- для переносных приборов класса I - 0,75 мА;
- для стационарных электромеханических приборов класса I - 3,5 мА;
- для стационарных нагревательных приборов класса I - 0,75 мА или 0,75 мА на 1 кВт номинальной потребляемой мощности прибора в зависимости от того, что больше, но не более 5 мА;
- для приборов класса II - 0,25мА.
Указанные выше значения удваивают, если все устройства управления имеют положение "ВЫКЛ" во всех полюсах.
Указанные выше значения также удваивают, если:
- прибор не имеет устройств управления, кроме термовыключателя, или
- все терморегуляторы, термоограничители и регуляторы мощности не имеют положения "ВЫКЛ", или
- прибор имеет помехоподавляющие фильтры. В этом случае ток утечки при отключенном фильтре не должен быть более указанных значений.
Для комбинированных приборов общий ток утечки должен быть в пределах, установленных для нагревательных или для электромеханических приборов в зависимости от того, что больше.
16.3. Непосредственно после испытания по
16.2 к изоляции прикладывают в течение 1 мин напряжение практически синусоидальной формы частотой 50 или 60 Гц. Значение испытательного напряжения и точки его приложения указаны в таблице 5.&
Таблица 5
┌──────────────────────────────┬─────────────────────────────────┐
│ Точки приложения напряжения │ Испытательное напряжение, В │
│ ├────────────┬───────────┬────────┤
│ │ приборы │ приборы │другие │
│ │класса III и│класса II и│прибо- │
│ │конструкции │конструкции│ры │
│ │ класса III │ класса II │ │
├──────────────────────────────┼────────────┼───────────┼────────┤
│ 1. Между токоведущими частями│ │ │ │
│и доступными частями, которые │ │ │ │
│отделены от токоведущих │ │ │ │
│частей: │ │ │ │
│ - только основной изоляцией │500 │- │1250 │
│ - усиленной изоляцией │- │3750 │3750 │
│ 2. Для частей с двойной │ │ │ │
│изоляцией между металлическими│ │ │ │
│частями, отделенными от │ │ │ │
│токоведущих частей только │ │ │ │
│основной изоляцией, и: │ │ │ │
│ - токоведущими частями │- │1250 │1250 │
│ - доступными частями │- │2500 │2500 │
│ 3. Между металлическими кожу-│- │2500 │1250 │
│хами или крышками, покрытыми │ │ │ │
│изоляционным материалом и │ │ │ │
│металлической фольгой, сопри- │ │ │ │
│касающейся с внутренней сторо-│ │ │ │
│ной изоляционного покрытия, │ │ │ │
│если расстояние между токо- │ │ │ │
│ведущими частями и этими │ │ │ │
│металлическими кожухами или │ │ │ │
│крышками, измеренное через │ │ │ │
│покрытие, меньше требуемого │ │ │ │
│воздушного зазора, указанного │ │ │ │
│ 4. Между металлической │- │2500 │2500 │
│фольгой, соприкасающейся с │ │ │(1250) │
│ручками, кнопками, рукоятками │ │ │ │
│и т.п. и их осями, если эти │ │ │ │
│оси могут оказаться под напря-│ │ │ │
│жением в случае повреждения │ │ │ │
│ 5. Между доступными частями и│- │2500 │1250 │
│металлической фольгой, оберну-│ │ │ │
│той вокруг шнура питания, если│ │ │ │
│шнур имеет входную втулку из │ │ │ │
│изоляционного материала; │ │ │ │
│ограждением шнура; анкерным │ │ │ │
│креплением шнура и аналогич- │ │ │ │
│ными частями
<2>,
<3> │ │ │ │
│ 6. Между точкой соединения │ │ │ │
│обмотки и конденсатора, если │ │ │ │
│между этой точкой и любым из │ │ │ │
│зажимов для внешних проводов │ │ │ │
│возникает резонансное напряже-│ │ │ │
│ние U, и: │ │ │ │
│ - доступными частями │- │- │2 + 1000│
│ - металлическими частями, │- │2U + 1000 │ │
│отделенными от токоведущих │ │ │ │
│частей только основной │ │ │ │
├──────────────────────────────┴────────────┴───────────┴────────┤
│ <1> Значение, указанное в скобках, относится к приборам│
│класса 0. │
│ <2> Наружную поверхность устройства ограждения шнура фольгой│
│не покрывают. │
│ <3> Крутящий момент, приложенный к зажимным винтам узла│
│анкерного крепления шнура, составляет 2/3 крутящего момента,│
│ <4> Испытание между точкой соединения обмотки и конденсатора│
│и металлическими или доступными частями проводят только там, где│
│на изоляцию в нормальных условиях эксплуатации воздействует│
│резонансное напряжение. Другие части отсоединяют, а конденсатор│
│замыкают накоротко. │
└────────────────────────────────────────────────────────────────┘
&Доступные части из изоляционного материала покрывают металлической фольгой.
Для приборов с номинальным напряжением до 130 В значение 1250 В уменьшают до 1000 В.
Первоначально прикладывают не более половины испытательного напряжения, которое затем постепенно повышают до полного значения.
Во время испытания не должно быть пробоя.&
Примечания. 1. Металлическая фольга должна быть расположена так, чтобы на краях изоляции не возникали перекрытия.
2. Высоковольтный источник для испытаний описан в
примечании 2 к 13.3.
3. Для конструкций класса II, имеющих как усиленную, так и двойную изоляцию, необходимо следить за тем, чтобы напряжение, прикладываемое к усиленной изоляции, не перегрузило основную или дополнительную изоляцию.
4. В конструкциях, где основная и дополнительная изоляции не могут быть испытаны раздельно, каждую изоляцию подвергают испытанию напряжением, указанным для усиленной изоляции.
5. При испытании изоляционных покрытий металлическая фольга может быть прижата к изоляции мешком с песком такого размера, чтобы давление составляло 0,5 Н/см2 (5 кПа). Испытание может быть ограничено только теми местами, где предполагается слабая изоляция, например там, где под изоляцией находятся острые металлические кромки.
6. Если это практически возможно, то изоляционные прокладки испытывают отдельно.
7. Необходимо избегать перегрузки компонентов электронных цепей.
(Измененная редакция, Изм. N 2).
17. Защита от перегрузки трансформаторов
и соединенных с ними цепей
Приборы, которые содержат цепи, питающиеся от трансформаторов, должны быть сконструированы так, чтобы в случае короткого замыкания цепей, которое может возникнуть при нормальной эксплуатации, не происходил чрезмерный нагрев трансформатора или связанных с ним цепей.
&Соответствие требованию проверяют путем создания самого неблагоприятного короткого замыкания или перегрузки, которые возможны при нормальной эксплуатации, при этом прибор должен работать при напряжении, равном 1,06 или 0,94 номинального напряжения, в зависимости от того, какое из них является более неблагоприятным.
Превышение температуры изоляции проводов цепей безопасного сверхнизкого напряжения не должно быть более чем на 15 °С выше значений, указанных в
таблице 3.
Температура обмотки не должна превышать значений, указанных в
таблице 6.
Однако эти значения не применяют к безопасным трансформаторам, соответствующим требованиям 15.5 МЭК 61558-1
[1].&
Примечания. 1. Примерами коротких замыканий, которые могут произойти при нормальной эксплуатации, являются короткие замыкания оголенных или недостаточно изолированных проводов доступных цепей с безопасным сверхнизким напряжением.
2. Считают маловероятным повреждение основной изоляции при нормальной эксплуатации.
3. Защита обмоток трансформатора может быть обеспечена полным собственным сопротивлением обмоток или с помощью плавких предохранителей, устройств автоматического управления, термовыключателей или подобных устройств, встроенных в трансформатор или расположенных внутри прибора, при условии, что эти устройства доступны только с помощью инструмента.
(Измененная редакция, Изм. N 2).
Требования и методики испытаний, при необходимости, излагают в стандарте на конкретное изделие.
| | Применение на добровольной основе раздела 19 обеспечивает соблюдение требований Федерального закона от 22.07.2008 N 123-ФЗ "Технический регламент о требованиях пожарной безопасности" (Приказ Ростехрегулирования от 30.04.2009 N 1573). | |
19.1. Приборы должны быть сконструированы так, чтобы опасность возникновения пожара, механического повреждения, которые снижают безопасность или степень защиты от поражения электрическим током в результате ненормальной или небрежной работы, была минимальной.
Электронные цепи должны быть спроектированы и применены так, чтобы их повреждение не привело к тому, что прибор станет опасным с точки зрения поражения электрическим током, возгорания, механической опасности или опасного неправильного функционирования.
&Приборы с нагревательными элементами подвергают испытаниям по
19.2 и
19.3. Кроме того, такие приборы, оснащенные устройствами, ограничивающими температуру в процессе испытаний по
разделу 11, подвергают испытаниям по
19.4 и, если применимо, - по
19.5. Приборы с нагревательными элементами с положительным температурным коэффициентом также испытывают по
19.6.
Приборы, оснащенные двигателями, подвергают испытаниям по
19.7 -
19.10 в зависимости от применимости.
Приборы, оснащенные электронными цепями, кроме того, подвергают испытаниям по
19.11 и
19.12 в зависимости от их применимости.
Если нет других указаний, испытания проводят до срабатывания выключателей без самовозврата или до достижения установившегося состояния. Если нагревательный элемент или преднамеренно ослабленная часть разорвут цепь, соответствующее испытание повторяют на втором образце. Это второе испытание проводят в течение такого же периода времени, если цепь не прорвется по другой причине.
Каждый раз имитируют только одно ненормальное условие.
Соответствие требованиям настоящего раздела проверяют по
19.13, если нет других указаний.&
Примечания. 1. Преднамеренно ослабленная часть - часть, спроектированная так, чтобы она разрушалась в условиях ненормальной работы для предотвращения возникновения условий, которые небезопасны с точки зрения настоящего стандарта. Такой частью может быть заменяемый элемент, например резистор, конденсатор, или часть элемента, которая должна быть заменена, как, например, недоступное термозвено, встроенное в двигатель.
2. Предохранители, термовыключатели, защитные устройства от сверхтоков и аналогичные устройства, встроенные в прибор, могут использоваться для обеспечения соответствующей защиты. Защитное устройство в фиксированной проводке не обеспечивает необходимой защиты.
3. Если один и тот же прибор должен подвергаться нескольким испытаниям, то эти испытания проводят последовательно после охлаждения прибора до комнатной температуры.
4. Для комбинированных приборов испытания проводят при одновременной работе в ненормальных условиях двигателей и нагревательных элементов; соответствующее испытание двигателя или нагревательных элементов проводят последовательно.
5. Когда установлено, что управляющее устройство коротко замкнуто, оно может быть представлено как бездействующее.
(Измененная редакция, Изм. N 2).
19.2. &Приборы с нагревательными элементами испытывают в условиях, указанных в
разделе 11, но с ограниченным теплорассеянием. Напряжение питания, определенное перед испытанием, должно быть таким, чтобы обеспечивалась потребляемая мощность, соответствующая 0,85 номинальной потребляемой мощности при нормальной работе при стабилизированной мощности. Это напряжение поддерживают в течение всего испытания.&
19.3. &Испытание по
19.2 повторяют, но при этом напряжение питания, значение которого определяют перед испытанием, должно быть таким, чтобы потребляемая мощность составила 1,24 номинальной потребляемой мощности при нормальной работе и стабилизированной мощности. Это напряжение поддерживают в течение всего испытания.&
19.4. &Прибор испытывают в условиях, указанных в
разделе 11, при потребляемой мощности, равной 1,15 номинальной потребляемой мощности. Любое устройство, ограничивающее температуру при испытаниях по
разделу 11, должно быть замкнуто накоротко.&
Примечание. Если прибор оснащен несколькими регулирующими устройствами, то их замыкают накоротко поочередно.
19.5. &Испытание по
19.4 повторяют на приборах классов 0I и I, оборудованных нагревательными элементами с трубчатой оболочкой или заформованными нагревательными элементами. Однако устройства регулирования не замыкают накоротко, а один конец элемента подключают к оболочке нагревательного элемента.
Испытание повторяют, изменив полярность питания прибора и подключив к оболочке другой конец нагревательного элемента.
Испытанию не подвергают приборы, предназначенные для постоянного подключения к фиксированной проводке, и приборы, в которых при испытании по
19.4 отключают все полюса.&
Примечания. 1. Прибор с нейтралью испытывают, подключив к оболочке нейтраль.
2. Для заформованных нагревательных элементов оболочкой считают металлический кожух.
19.6. &Приборы с нагревательными элементами с положительным температурным коэффициентом питают номинальным напряжением до достижения установившегося состояния, которое определяется стабилизацией потребляемой мощности и температуры.
Рабочее напряжение нагревательных элементов с положительным температурным коэффициентом повышают на 5%, и прибор снова работает до достижения установившегося состояния. Напряжение затем повышают небольшими дозами до тех пор, пока рабочее напряжение не увеличится в 1,5 раза или пока не произойдет пробоя нагревательных элементов с положительным температурным коэффициентом, независимо от того, что произойдет раньше.&
19.7. &Прибор работает в условиях торможения, обеспечиваемых:
- блокированием ротора, если тормозной момент меньше, чем момент при полной нагрузке;
- блокированием движущихся частей для других приборов.&
Примечания. 1. Если прибор имеет более одного двигателя, испытание каждого двигателя проводят отдельно.
2. Варианты испытаний для двигателей с защитными устройствами приведены в
Приложении D.
&Приборы с двигателями, во вспомогательную обмотку которых включены конденсаторы, работают с блокированным ротором, при этом конденсаторы поочередно размыкают, если они не соответствуют классу Р2 по ГОСТ МЭК 252.
Испытание повторяют, замыкая конденсаторы поочередно.&
Примечание 3. Данное испытание проводят с блокированным ротором, так как отдельные двигатели с конденсаторами могут запускаться или не запускаться, вследствие чего могут быть получены разные результаты.
&При каждом испытании приборы, оснащенные таймером или программным контроллером, работают при номинальном напряжении в течение периода, равного максимальному периоду, допускаемому таймером или программным контроллером.
Другие приборы работают при номинальном напряжении в течение:
30 с для:
- ручных приборов;
- приборов, которые поддерживают во включенном состоянии рукой или ногой;
- приборов, нагрузка которых создается при постоянном воздействии рукой;
5 мин для других приборов, которые работают под надзором;
времени, необходимого для достижения установившегося состояния, - для других приборов.&
Примечание 4. В стандарте на конкретное изделие указывают, какие приборы испытывают в течение 5 мин.
&В процессе испытания температура обмоток не должна превышать значений, указанных в таблице 6.&
Таблица 6
Максимальная температура обмоток
┌────────────────┬───────────────────────────────────────────────┐
│ Тип прибора │ Предельная температура, °С │
│ ├─────┬─────┬─────┬─────┬─────┬─────┬─────┬─────┤
│ │класс│класс│класс│класс│класс│класс│класс│класс│
│ │ А │ Е │ В │ F │ Н │ 200 │ 220 │ 250 │
├────────────────┼─────┼─────┼─────┼─────┼─────┼─────┼─────┼─────┤
│ Приборы, кроме │200 │215 │225 │240 │260 │280 │300 │330 │
│тех, которые │ │ │ │ │ │ │ │ │
│работают до │ │ │ │ │ │ │ │ │
│достижения │ │ │ │ │ │ │ │ │
│установившегося │ │ │ │ │ │ │ │ │
│состояния │ │ │ │ │ │ │ │ │
│ Приборы, │ │ │ │ │ │ │ │ │
│работающие │ │ │ │ │ │ │ │ │
│до достижения │ │ │ │ │ │ │ │ │
│установившегося │ │ │ │ │ │ │ │ │
│состояния: │ │ │ │ │ │ │ │ │
│ - с защитным │150 │165 │175 │190 │210 │230 │250 │280 │
│импедансом │ │ │ │ │ │ │ │ │
│ - с защитой │ │ │ │ │ │ │ │ │
│с помощью защит-│ │ │ │ │ │ │ │ │
│ного устройства:│ │ │ │ │ │ │ │ │
│ - в течение │200 │215 │225 │240 │260 │280 │300 │330 │
│первого часа, │ │ │ │ │ │ │ │ │
│максимальное │ │ │ │ │ │ │ │ │
│значение │ │ │ │ │ │ │ │ │
│ - после │175 │190 │200 │215 │235 │255 │275 │305 │
│первого часа, │ │ │ │ │ │ │ │ │
│максимальное │ │ │ │ │ │ │ │ │
│значение │ │ │ │ │ │ │ │ │
│ - после пер- │150 │165 │175 │190 │210 │230 │250 │280 │
│вого часа, сред-│ │ │ │ │ │ │ │ │
│нее арифметичес-│ │ │ │ │ │ │ │ │
│кое значение │ │ │ │ │ │ │ │ │
└────────────────┴─────┴─────┴─────┴─────┴─────┴─────┴─────┴─────┘
19.6, 19.7. (Измененная редакция, Изм. N 2).
19.8. &В приборах с трехфазными двигателями одну фазу размыкают. Затем приборы работают в условиях нормальной эксплуатации при номинальном напряжении в течение времени, указанного в
19.7.&
19.9. &Испытание на перегрузку проводят на приборах с двигателями, которые предназначены для работы при дистанционном или автоматическом управлении или которые, вероятно, будут работать непрерывно.
Прибор работает в условиях нормальной эксплуатации при номинальном напряжении до достижения установившегося состояния. Затем нагрузку увеличивают так, чтобы возрос на 10% ток в обмотках двигателя, и прибор снова работает до достижения установившегося состояния; напряжение питания поддерживают на первоначальном уровне. Нагрузку снова увеличивают, повторяют испытание до срабатывания защитного устройства или до остановки двигателя.
В процессе испытания значение температуры обмотки не должно превышать:
140 °С - для класса А;
155 °С - для класса Е;
165 °С - для класса В;
180 °С - для класса F;
200 °С - для класса Н;
220 °С - для класса 200;
240 °С - для класса 220;
270 °С - для класса 250.&
Примечания. 1. Если нагрузку прибора нельзя увеличивать ступенями, то необходимо снять двигатель с прибора и испытать его отдельно.
2. Варианты испытаний двигателей с защитными устройствами приведены в
Приложении D.
19.10. &Приборы с двигателями последовательного возбуждения испытывают при напряжении, равном 1,3 номинального, в течение 1 мин при наименьшей возможной нагрузке.
В течение испытания части не должны выскакивать из прибора.&
19.11. &Соответствие электронных цепей требованиям проверяют, оценивая каждую цепь или каждую часть цепи по повреждениям, указанным в
19.2, если они не соответствуют условиям, указанным в
19.11.1.
Если безопасность прибора при любом повреждении зависит от срабатывания миниатюрной плавкой вставки, проводят испытание по
19.12.
В процессе и после каждого испытания температура обмоток не должна превышать значений, указанных в
таблице 6. Однако это не относится к безопасным трансформаторам, соответствующим требованиям 15.5 МЭК 61558-1
[1]. Прибор должен соответствовать условиям, установленным в
19.13. Любой ток, протекающий через защитный импеданс, не должен превышать значений, указанных в
8.1.4.
Если проводник на печатной плате размыкается, прибор считают выдержавшим определенное испытание при условии одновременного выполнения всех трех указанных ниже условий;
- материал печатной схемы выдерживает испытание на горение по
ГОСТ 12.2.006;
- любое ослабление проводника не приводит к снижению путей утечки и воздушных зазоров между токоведущими и доступными металлическими частями по сравнению со значениями, указанными в
разделе 29;
- прибор выдерживает испытание по
19.11.2 при размыкании проводника мостовой схемы.&
Примечания. 1. Если не возникает необходимость в замене компонентов после любого испытания, то проверку электрической прочности изоляции по
19.13 проводят только после окончания всех испытаний электронной цепи.
2. Обычно изучение и анализ прибора и его принципиальной схемы позволяют заранее определить те повреждения, которые нужно имитировать, чтобы при испытаниях ограничиться случаями, дающими наиболее неблагоприятный результат.
19.10, 19.11. (Измененная редакция, Изм. N 2).
19.11.1. &Повреждения, указанные в
19.11.2, не применяют для схем или частей схем, если в них выполняются одновременно следующие условия:
- электронная цепь является маломощной, как это описано ниже;
- защита от поражения электрическим током, возникновение пожара, появление механической опасности или неправильное срабатывание в других частях прибора, приводящее к опасным ситуациям, не зависят от нормального функционирования электронной цепи.
Маломощная цепь выявляется следующим образом; пример дан на
рисунке 9.&
D - наиболее удаленная от источника питания точка,
в которой максимальная мощность,
подаваемая на внешнюю нагрузку, превышает 15 Вт;
А и В - наиболее близкие к источнику питания точки,
в которых максимальная мощность,
подаваемая на внешнюю нагрузку, не превышает 15 Вт.
Это маломощные точки. Точки А и В раздельно накоротко
соединяют с точкой С. Условия повреждения по
19.11.2
рассматривают по очереди в цепях

,

,

,

и

в зависимости от их применяемости
Рисунок 9. Пример электронной цепи с маломощными точками
&Прибор работает при номинальном напряжении, а переменный резистор, установленный в положение, соответствующее максимальному сопротивлению, подключают между исследуемой точкой и противоположным полюсом источника питания.
Затем сопротивление резистора уменьшают до тех пор, пока мощность, потребляемая резистором, не достигнет своего максимального значения. Любая наиболее близкая к источнику питания точка, в которой потребляемая мощность по отношению к этому резистору не превышает 15 Вт к концу периода в 5 с, называется маломощной точкой. Часть цепи, расположенная от источника питания дальше маломощной точки, считается маломощной цепью.&
Примечания. 1. Измерения проводят только от одного полюса источника питания, причем предпочитают тот, у которого наименьшее количество маломощных точек.
2. При определении маломощных точек рекомендуется начинать с точек, расположенных наиболее близко к источнику питания.
3. Мощность, потребляемую переменным резистором, измеряют ваттметром.
19.11.2. &При испытании рассматривают возможные повреждения, приведенные ниже, и, при необходимости, последовательно их создают:
а) закорачивание путей утечки и воздушных зазоров между токоведущими частями различной полярности, если они меньше значений, установленных в 29/1, и если эти части соответствующим образом не загерметизированы;
b) размыкание зажимов любого элемента;
с) короткое замыкание конденсаторов, кроме соответствующих ГОСТ МЭК 384-14;
d) короткое замыкание любых двух выводов электронных элементов, кроме интегральных схем. Это повреждение не применяется между двумя цепями оптических соединителей;
е) повреждение симметричных триодных тиристоров в диодной цепи;
f) повреждение интегральных схем. В этом случае возможные условия повреждения прибора создают таким образом, чтобы быть уверенным в том, что безопасность не зависит от правильного функционирования такого компонента.
Все возможные выходные сигналы внутри интегральной схемы при работе в условиях повреждения тщательно изучают. Если возможно показать, что определенный выходной сигнал маловероятен, то соответствующее повреждение не рассматривают.&
Примечания. 1. Такие комплектующие, как тиристоры и симметричные триодные тиристоры, подвергают испытаниям по
b) и
d).
2. Микропроцессоры испытывают как интегральные схемы.
&Кроме того, каждую маломощную цепь замыкают накоротко путем подключения маломощной точки к тому полюсу источника питания, от которого проводилось измерение.
Для имитации повреждений прибор включают в работу в условиях, указанных в
разделе 11, но при номинальном напряжении.
Когда любое повреждение возникает, продолжительность испытания будет равна:
- указанной в
11.7, но только в течение одного рабочего цикла и только в том случае, если повреждение не может быть определено потребителем, например изменение в температуре;
- указанной в
19.7, если повреждение может быть определено потребителем, например, когда останавливается двигатель кухонной машины;
- до достижения установившегося состояния для цепей, постоянно подключенных к сети питания, например для резервных цепей.
Во всех случаях испытание считают законченным, если внутри прибора происходит прекращение питания.
Если прибор оборудован электронной цепью, которая работает, обеспечивая соответствие
разделу 19, соответствующее испытание повторяют, имитируя одно повреждение из перечисленных выше.
Повреждение по
f) применяют к компонентам, заключенным в капсулу и аналогичным, если цепь не может быть оценена другими методами.
Резисторы с положительным температурным коэффициентом, отрицательным температурным коэффициентом и резисторы с сопротивлением, зависящим от напряжения, не замыкают накоротко, если они использованы в соответствии с характеристиками, указанными изготовителем этих компонентов.&
19.12. &Если при любом повреждении, указанном в
19.11.2, безопасность прибора зависит от срабатывания миниатюрной плавкой вставки, испытание повторяют, заменив миниатюрную плавкую вставку амперметром.
Если измеренный ток не превысит минимальный ток плавкой вставки в 2,1 раза, цепь не считают достаточно защищенной и испытание повторяют с закороченной плавкой вставкой.
Если измеренный ток составляет не менее чем 2,75 номинального тока плавкой вставки, цепь считают достаточно защищенной.
Если измеренный ток более 2,1, но менее 2,75 номинального тока плавкой вставки, плавкую вставку закорачивают, а испытание проводят:
- для быстродействующих плавких вставок - в течение указанного периода или 30 мин в зависимости от того, что короче;
- для плавких вставок с выдержкой времени - в течение указанного периода или 2 мин в зависимости от того, что короче.&
Примечания. 1. В случае сомнения следует учитывать максимальное сопротивление плавкой вставки при определении значения тока.
2. Проверка, осуществляемая с целью определения, является ли плавкая вставка защитным устройством, основана на характеристиках плавления.
3. Другие плавкие предохранители считают преднамеренно ослабленной частью в соответствии с
19.1.
19.13. &Во время испытаний из прибора не должны появляться пламя, расплавленный металл, вредные или воспламеняющиеся газы в опасных количествах, а превышения температуры не должны быть более значений, приведенных в таблице 7.&
Таблица 7
Максимальное ненормальное превышение температуры
┌────────────────────────────────┬───────────────────────────────┐
│ Часть прибора │ Превышение температуры, °С │
├────────────────────────────────┼───────────────────────────────┤
│ Деревянные подставки, стены, │150 │
│потолок и пол испытательного │ │
│угла и деревянные отделения <*> │ │
│ Изоляция шнура питания <*> │150 │
│ Дополнительная и усиленная │1,5 соответствующего значения, │
│изоляции, за исключением │указанного в
таблице 3 <**> │
│изоляции из термопластических │ │
│материалов <***> │ │
├────────────────────────────────┴───────────────────────────────┤
│ <*> Для электромеханических приборов эти превышения│
│температуры не определяют. │
│ <**> Эти значения в настоящее время рассматриваются. │
│ <***> Не установлены предельные значения для дополнительной│
│и усиленной изоляции из термопластических материалов. Однако│
│необходимо определить превышение температуры для возможности│
│проведения испытаний по
30.1. │
└────────────────────────────────────────────────────────────────┘
&После испытаний и охлаждения прибора примерно до комнатной температуры кожухи не должны быть деформированы до такой степени, чтобы нарушилось соответствие требованиям
раздела 8, а если прибор еще работоспособен, он должен соответствовать требованиям
20.2.
После испытаний изоляция приборов, кроме приборов класса III, в результате охлаждения приблизительно до комнатной температуры, должна выдержать испытание на электрическую прочность по
16.3, причем испытательное напряжение должно быть равно:
1000 В - для основной изоляции;
2750 В - для дополнительной изоляции;
3750 В - для усиленной изоляции.
Для приборов, которые при нормальной эксплуатации погружают в токопроводящую жидкость или заполняют ею, образец погружают в воду или заполняют водой за 24 ч до проведения испытания на электрическую прочность изоляции.&
Примечание. Перед испытанием на электрическую прочность влажная обработка по
15.3 не производится.
19.11.2, 19.13. (Измененная редакция, Изм. N 2).
20. Устойчивость и механические опасности
20.1. Приборы, кроме закрепленных и ручных, предназначенные для использования на поверхности, например пола или стола, должны быть достаточно устойчивыми.
&Соответствие требованию проверяют следующим испытанием, причем приборы с приборным вводом снабжают соответствующим соединителем и гибким шнуром.
Приборы устанавливают в любом нормальном эксплуатационном положении на плоскости, наклоненной под углом 10° к горизонтали, шнур питания располагают на наклонной плоскости в наиболее неблагоприятном положении. Однако, если часть прибора контактирует с горизонтальной плоскостью опоры, когда прибор наклонен на угол 10°, прибор устанавливают на горизонтальную опору и наклоняют в наиболее неблагоприятном направлении на угол 10°.&
Примечания. 1. Прибор не подключают к сети питания.
2. Испытание на горизонтальной опоре может быть необходимо для приборов с роликами, колесиками или ножками.
&Приборы с дверцами испытывают с открытыми или закрытыми дверцами в зависимости от того, что более неблагоприятно.
Приборы, предназначенные для заполнения потребителем жидкостью при нормальной эксплуатации, испытывают пустыми или заполняют наиболее неблагоприятным количеством воды в пределах вместимости, указанной изготовителем.
Прибор не должен опрокидываться.
Для приборов с нагревательными элементами испытание повторяют затем с углом наклона, увеличенным до 15°. Если такой прибор опрокидывается в одном или более положениях, то его подвергают испытанию по
разделу 11 во всех этих опрокинутых положениях.
Во время этого испытания превышения температуры не должны быть больше значений, приведенных в
таблице 7.&
Примечание. 3. Колесики или ролики блокируют, чтобы прибор не катился.
20.2. Движущиеся части приборов должны быть, насколько это совместимо с применением и работой прибора, расположены или ограждены так, чтобы при нормальной эксплуатации была обеспечена достаточная защита персонала от травм.
Защитные кожухи, ограждения и другие подобные элементы должны быть несъемными частями и должны иметь достаточную механическую прочность.
Неожиданное повторное замыкание термовыключателей с самовозвратом и сверхтоковых защитных устройств не должно представлять опасность.
&Соответствие требованию проверяют осмотром, испытанием по
разделу 21 и испытанием силой не более 5 Н испытательным пальцем, аналогичным изображенному на
рисунке 1, но имеющим круглый стопорный торец диаметром 50 мм вместо некруглого.
Приборы, снабженные подвижными устройствами, такими, например, как устройства для изменения натяжения ремней, испытывают испытательным пальцем с этими устройствами, установленными в наиболее неблагоприятное положение в пределах диапазона их регулирования, причем, в случае необходимости, ремни снимают.
Испытательный палец не должен касаться движущихся частей, представляющих опасность.&
Примечания. 1. Примерами приборов, в которых полная защита практически невозможна, являются швейные машины, пищевые миксеры и электроножи.
2. Примерами приборов, в которых термовыключатели с самовозвратом и сверхтоковые защитные устройства могут быть причиной опасности, являются пищевые миксеры и механизированные отжимные валки.
3. Ограждения, которые могут быть открыты, несмотря на блокировку, применяемым испытательным пальцем, рассматривают как съемные части.
20.1, 20.2. (Измененная редакция, Изм. N 2).
21. Механическая прочность
Приборы должны иметь достаточную механическую прочность и быть сконструированы так, чтобы они выдерживали грубое обращение с ними, которое возможно при нормальной эксплуатации.
&Соответствие требованию проверяют путем нанесения ударов по прибору пружинным устройством для испытания на удар, описанным в
Приложении 1 настоящего стандарта.
Прибор жестко крепят и наносят по три удара с энергией (0,5 +/- 0,04) Дж в каждую точку корпуса, которую считают слабой.
В случае необходимости удары наносят также по ручкам, рукояткам, кнопкам и другим подобным элементам, а также по сигнальным лампам и их предохранительным колпачкам, когда они выступают из кожуха более чем на 10 мм, или если площадь их поверхности превышает 4 см2. Лампы, находящиеся внутри прибора, и их предохранительные колпачки испытывают только в том случае, если имеется вероятность их повреждения при нормальной эксплуатации.
После испытания образец не должен иметь повреждений в соответствии с настоящим стандартом, в частности, не должно быть нарушено соответствие требованиям
8.1,
15.1 и
29.1. В сомнительных случаях дополнительную или усиленную изоляцию подвергают испытанию на электрическую прочность по
16.3.
Если возникли сомнения относительно того, что на появление дефекта в испытуемом месте оказали влияние ранее нанесенные удары, то этот дефект не учитывают, а испытание повторяют на новом образце, по которому наносят три удара в месте, где возник дефект; новый образец должен выдерживать это испытание.&
Примечания. 1. Когда спусковой конус прикладывают к защитному ограждению нагревательного элемента, обладающего видимым свечением в условиях нормальной эксплуатации, необходимо следить за тем, чтобы головка молотка, проходя через ограждение, не наносила удар по нагревательному элементу.
2. Повреждение покрытия, небольшие вмятины, не приводящие к уменьшению путей утечки и воздушных зазоров до значений, меньших чем указано в
29.1, а также небольшие сколы, которые не оказывают влияния на защиту от поражения электрическим током или влагостойкость, не учитывают.
3. Трещины, невидимые невооруженным глазом, и поверхностные трещины в прессованных материалах, армированных волокном, и т.п. не учитывают.
4. Если под декоративным кожухом имеется еще внутренний кожух, то появление трещин на декоративном кожухе не учитывают при условии, что внутренний кожух после снятия декоративного кожуха выдержит испытание.
5. Для того чтобы обеспечить жесткую опору для прибора, может возникнуть необходимость в установке его напротив твердой стены из кирпича, бетона или другого аналогичного материала, покрытой листом полиамида, который прочно прикреплен к стене; при этом между листом и стеной не должно быть заметного воздушного зазора. Лист полиамида должен иметь твердость по Роквеллу 100 R, толщину не менее 8 мм и такую площадь поверхности, чтобы ни одна из частей прибора не была механически перегружена из-за недостаточной площади опорной поверхности.
(Измененная редакция, Изм. N 2).
22.1. Если прибор маркирован первыми цифрами в IP-системе, то должны выполняться соответствующие требования
ГОСТ 14254.
&Соответствие требованию проверяют проведением соответствующих испытаний.&
22.2. Для стационарных приборов средства подключения к сети должны обеспечивать гарантированное отключение всех полюсов от сети питания. Такие средства должны быть одними из следующих:
- шнур питания, оснащенный вилкой, или
- выключатель, соответствующий требованиям
24.3, или
- указание в инструкции об обеспечении разъединителем, вмонтированным в фиксированную проводку, или
- приборный соединитель.
Если однофазный прибор класса I с нагревательными элементами, предназначенный для постоянного соединения со стационарной проводкой, оснащен однополюсными выключателями или однополюсными защитными устройствами, служащими для отключения нагревательного элемента от сети, они должны быть подключены внутри прибора в фазный проводник.
&Соответствие требованию проверяют осмотром.&
22.3. Приборы со штырями, предназначенными для введения в контактные гнезда закрепленных розеток, не должны создавать чрезмерные механические нагрузки на эти розетки.
&Соответствие требованию проверяют путем введения штырей прибора, как при нормальной эксплуатации, в закрепленную розетку без контакта заземления. Розетка должна иметь возможность поворачиваться вокруг горизонтальной оси, проходящей через осевые линии контактных гнезд на расстоянии 8 мм от лицевой поверхности розетки.
Дополнительный вращающий момент, который должен быть приложен к розетке для удержания ее лицевой поверхности в вертикальной плоскости, не должен превышать 0,25 Н х м.&
Примечание. Крутящий момент, который необходимо приложить к розетке без прибора, не включен в это значение.
22.4. Приборы для нагревания жидкостей и приборы, вызывающие чрезмерную вибрацию, не должны иметь штырей для введения в контактные гнезда фиксированных розеток.
&Соответствие требованию проверяют осмотром.&
22.5. Приборы, предназначенные для подключения к сети питания с помощью вилки, должны быть сконструированы так, чтобы при нормальном использовании не возникало опасности поражения электрическим током от заряженных конденсаторов при прикасании к штырям вилки.
&Соответствие требованиям проверяют следующим испытанием, проводимым 10 раз.
Прибор питают номинальным напряжением. Затем любой выключатель устанавливают в положение "ВЫКЛ" и прибор отключают от сети. Через 1 с после отключения измеряют напряжение между штырями вилки прибором, не оказывающим заметного влияния на измеряемую величину.
Напряжение не должно превышать 34 В.&
Примечание. Конденсаторы с номинальной емкостью менее или равной 0,1 мкФ не считают вызывающими опасность поражения электрическим током.
22.6. Приборы должны быть сконструированы так, чтобы на их электрическую изоляцию не влияла вода, которая может конденсироваться на холодных поверхностях, или жидкость, которая может вытекать из сосудов, шлангов, соединений и т.п., которые являются частью прибора. Кроме того, электрическая изоляция приборов и конструкций класса II не должна повреждаться даже в случае разрушения шланга или повреждения герметичного уплотнения.
&Соответствие требованию проверяют осмотром, а в случае сомнения следующим испытанием.
Окрашенную жидкость с помощью шприца капают на те части внутри прибора, где возможны утечка жидкости и воздействие ее на электрическую изоляцию. Прибор включают в работу, или он не работает в зависимости от того, что более неблагоприятно.
После этого испытания осмотр должен показать отсутствие следов жидкости на обмотках или изоляции, которые могут уменьшить пути утечки ниже значений, указанных в
29.1.&
22.7. Приборы, которые содержат жидкость или газ при нормальной эксплуатации или имеют устройство, вырабатывающее пар, должны иметь соответствующие предохранительные устройства для предотвращения опасности возникновения чрезмерно высокого давления.
&Соответствие требованию проверяют осмотром и, при необходимости, соответствующим испытанием.&
22.8. В приборах, имеющих отсеки, доступные без применения инструмента, и которые в условиях нормальной эксплуатации подлежат чистке, электрические соединения должны быть выполнены так, чтобы они не подвергались тяговому усилию при чистке.
&Соответствие требованию проверяют осмотром и испытанием вручную.&
22.9. Приборы должны быть сконструированы так, чтобы такие части, как изоляция, внутренняя проводка, обмотки, коллекторы и контактные кольца, не подвергались воздействию масла, смазки и других подобных веществ.
Если конструкция такова, что изоляция подвержена воздействию таких веществ, как масло, густая смазка, то эти вещества должны обладать соответствующими изоляционными свойствами, чтобы не нарушалось соответствие требованиям настоящего стандарта.
&Соответствие требованию проверяют осмотром и испытаниями по настоящему стандарту.&
22.10. Кнопки возврата органов управления (регулирования) без самовозврата должны быть расположены или защищены так, чтобы возможность случайного возврата их в исходное состояние была маловероятной, если это может привести к опасности.
&Соответствие требованию проверяют осмотром.&
Примечание. Это требование исключает, например, применение кнопок возврата, расположенных на задней стенке прибора так, что возврат их в исходное состояние может произойти при прижатии прибора к стене.
22.11. Несъемные части, которые обеспечивают необходимую степень защиты от поражения электрическим током, от влаги или от контакта с движущимися частями, должны быть соответствующим образом зафиксированы и должны выдерживать механические удары, возможные при нормальной эксплуатации.
Защелкивающиеся устройства, используемые для фиксации несъемных частей, должны иметь очевидную запирающую позицию. Фиксирующие свойства защелкивающихся устройств, используемых для частей, которые, вероятно, снимают при монтаже или техническом обслуживании, при эксплуатации не должны ухудшаться.
&Соответствие требованию проверяют следующим испытанием.
Части, которые, вероятно, будут сняты при монтаже или техническом обслуживании, разбирают и собирают 10 раз перед проведением испытания.&
Примечание. Под техническим обслуживанием понимают также замену шнура питания.
&Прибор находится при комнатной температуре. Однако в тех случаях, когда на результат испытания может повлиять температура, испытание проводят сразу после того, как прибор проработал в условиях, указанных в
разделе 11.
Испытанию подвергают все части, которые, вероятно, будут снимать независимо от того, зафиксированы они винтами, заклепками и т.п.
Силу прикладывают в течение 10 с в наиболее неблагоприятном направлении без рывков к тем поверхностям крышки или части, которые, вероятно, ослабятся. Значение силы указано ниже.
Толкающая сила - 50 Н.
Растягивающая сила:
а) если форма части такова, что кончики пальцев не могут легко соскользнуть, - 50 Н;
b) если захватываемая часть выступает в направлении перемещения менее чем на 10 мм, - 30 Н.
Толкающую силу прикладывают с помощью жесткого испытательного пальца, аналогичного по размерам стандартному испытательному пальцу (
рисунок 1).
Растягивающую силу прикладывают с помощью любого подходящего средства (например, присоски) таким образом, чтобы оборудование не влияло на результат испытания.
Испытания по
а) или b) проводят с испытательным подпружиненным пальцем, показанным на рисунке 10, вводя его в любое отверстие или место соединения с усилием 10 Н. Затем испытательный подпружиненный палец смещают вбок с усилием 10 Н, причем он не должен разворачиваться или служить рычагом.&
Рисунок 10. Испытательный подпружиненный палец
&Если форма части такова, что осевое растягивающее усилие маловероятно, растягивающую силу не прикладывают, но испытательный подпружиненный палец, показанный на рисунке 10, вводят в любое отверстие или место соединения с усилием 10 Н и затем тянут в течение 10 с с помощью петли с усилием 30 Н в направлении смещения.
Если крышка или часть прибора будет подвергаться скручивающему усилию, то во время приложения растягивающей или толкающей силы создают вращающий момент, как указано ниже.&
Основной размер крышки или части прибора, мм | Вращающий момент, Н х м |
До 50 включ. Св. 50 | 2 4 |
&Кручение применяют также, когда испытательный подпружиненный палец тянут петлей.
Если захватываемая часть выступает менее чем на 10 мм, вращающий момент снижают до 50% значений, указанных выше.
После испытания части не должны сниматься и должны оставаться в явно заблокированном состоянии.&
(Измененная редакция, Изм. N 2).
22.12. Рукоятки, кнопки, рычаги и т.п. должны быть надежно закреплены так, чтобы они не ослаблялись при нормальной эксплуатации, если это может привести к опасности.
Если ручки, кнопки и т.п. используются для указания положения выключателей или аналогичных элементов, то должна быть исключена возможность установки их в неправильное положение, если это может привести к опасности.
&Соответствие требованию проверяют осмотром, испытанием вручную и путем попытки снять рукоятку, кнопку, ручку или рычаг приложением нижеуказанного осевого усилия в течение 1 мин:
- если форма этих частей такова, что возможность приложения к ним осевого усилия при нормальной эксплуатации маловероятна, то осевое усилие должно составлять 15 Н;
- если форма этих частей такова, что возможность приложения осевого усилия вполне вероятна, то осевое усилие должно составлять 30 Н.&
Примечание. Заливочная масса и другие подобные вещества, за исключением самозатвердевающих смол, не считают достаточными для предотвращения ослабления креплений.
22.13. Ручки должны быть сконструированы так, чтобы при их захвате во время нормальной эксплуатации исключалась вероятность прикасания руки оператора к частям, превышение температуры которых более значения, допускаемого для ручек, которые при нормальной эксплуатации держат в руке только в течение короткого периода времени.
&Соответствие требованию проверяют осмотром и, при необходимости, определением превышения температуры.&
22.14. Приборы не должны иметь зазубренных или острых углов, кроме необходимых для функционирования прибора или приставки, которые могут создать опасность для потребителя при нормальной эксплуатации или в процессе обслуживания потребителем.
Не должно быть острых выступающих углов самонарезающих винтов или других крепежных деталей, с которыми может контактировать потребитель при нормальной эксплуатации или в процессе обслуживания.
&Соответствие требованию проверяют осмотром.&
22.15. Крюки и другие подобные приспособления для укладки гибких шнуров должны быть гладкими и хорошо закругленными.
&Соответствие требованию проверяют осмотром.&
22.16. Катушки для автоматической намотки шнуров должны быть так сконструированы, чтобы не вызывать:
- чрезмерное истирание или повреждение оболочки гибкого шнура;
- поломки жил проводов;
- чрезмерный износ контактов.
&Соответствие требованию проверяют следующим испытанием, которое проводят с обесточенным гибким шнуром.
Разматывают 2/3 общей длины шнура. Затем разматывают дополнительно еще 75 см шнура и этот отрезок 6000 раз разматывают и сматывают с частотой примерно 30 разматываний и сматываний в 1 мин или с максимальной частотой разматывания и сматывания, которая возможна с учетом конструкции катушки, если получающаяся частота меньше.
Шнур вытягивают в таком направлении, при котором имеет место наибольшее истирание оболочки, учитывая нормальное положение прибора при эксплуатации. Вместе выхода шнура из прибора угол между осью шнура при испытании и осью шнура при разматывании без существенного усилия составляет около 60°.&
Примечания. 1. Если шнур не сматывается обратно под углом 60°, то угол регулируют до тех пор, пока не произойдет обратное сматывание шнура.
2. Может появиться необходимость прерывания испытания для охлаждения шнура.
&Если общая длина вытягиваемой части шнура меньше чем 225 см, то шнур сначала разматывают настолько, чтобы на катушке оставалось 75 см шнура. Этот участок испытывают, как указано выше.
После этого испытания шнур и катушку осматривают. При сомнении шнур подвергают испытанию на электрическую прочность по
16.3, причем испытательное напряжение 1000 В прикладывают между соединенными вместе проводами шнура и металлической фольгой, обернутой вокруг шнура.&
22.17. Прокладки (распорки), предназначенные для защиты прибора от перегретых стен, должны быть закреплены так, чтобы их невозможно было снять с внешней стороны прибора вручную или с помощью отвертки или гаечного ключа.
&Соответствие требованию проверяют осмотром и испытанием вручную.&
22.18. Токопроводящие и другие металлические части, коррозия которых может привести к опасности, должны быть устойчивы к коррозии при нормальных условиях эксплуатации.
&Соответствие требованию проверяют осмотром соответствующих частей, которые после испытания по
разделу 19 не должны иметь следов коррозии.&
Примечания. 1. Следует обращать внимание на совместимость материалов зажимов и окончаний и на влияние нагрева.
2. Нержавеющую сталь и подобные сплавы, стойкие к коррозии, а также плакированную сталь считают удовлетворяющими настоящему требованию.
22.19. Приводные ремни не должны рассматриваться как обеспечивающие соответствующую электрическую изоляцию.
Это требование не распространяется на приборы со специальной конструкцией ремня, которая исключает возможность его неправильной замены.
&Соответствие требованию проверяют осмотром.&
22.20. Не допускается прямой контакт между токоведущими частями и термоизоляцией, если материал изоляции является коррозионным, гигроскопичным и воспламеняющимся.
&Соответствие требованию проверяют осмотром и, при необходимости, соответствующими испытаниями.&
Примечания. 1. Стекловата является примером термоизоляции, которая удовлетворяет настоящему требованию.
2. Непропитанная шлаковая вата является примером коррозионной термоизоляции.
22.21. Дерево, хлопчатобумажная ткань, шелк, обычная бумага и аналогичные волокнистые или гигроскопические материалы не должны использоваться в качестве изоляции, если они не пропитаны.
Примечания. 1. Изоляционный материал считают пропитанным, если промежутки между волокнами заполнены соответствующим изоляционным материалом.
2. Окись магния и минеральные керамические волокна (нити), используемые для электрической изоляции нагревательных элементов, не рассматривают как гигроскопические материалы.
&Соответствие требованию проверяют осмотром.&
22.22. Приборы не должны содержать асбест.
&Соответствие требованию проверяют осмотром.
22.20 - 22.22. (Измененная редакция, Изм. N 2).
22.23. Масла, содержащие многохлористый бифенил, не должны использоваться в приборах.
&Соответствие требованию проверяют осмотром.&
22.24. Неизолированные нагревательные элементы должны удерживаться так, чтобы в случае разрыва нагревательного провода было маловероятным его соприкасание с заземленными металлическими или доступными металлическими частями.
&Соответствие требованию проверяют осмотром после разрезания нагревательного провода в наиболее неблагоприятном месте.&
Примечания. 1. После разрезания к проводнику не прикладывают никакой силы.
2. Это испытание проводят после испытания по
разделу 29.
22.25. Приборы, кроме приборов класса III, должны быть сконструированы так, чтобы провисающие нагревательные провода не могли контактировать с доступными металлическими частями.
&Соответствие требованию проверяют осмотром.&
Примечание. Это требование может быть выполнено, например, путем применения дополнительной изоляции или сердечника, которые надежно предохраняют нагревательный провод от провисания.
22.26. Приборы класса II, содержащие части, представляющие конструкции класса III, должны быть сконструированы так, чтобы изоляция между частями, работающими при безопасном сверхнизком напряжении, и другими токоведущими частями соответствовала требованиям к двойной или усиленной изоляции.
&Соответствие требованию проверяют испытаниями, установленными для двойной или усиленной изоляции.&
22.27. Части, соединенные с защитным импедансом, должны быть отделены двойной или усиленной изоляцией.
&Соответствие требованию проверяют испытаниями, установленными для двойной или усиленной изоляции.&
22.28. Для приборов класса II, подключенных при нормальном использовании к газовой или водопроводной сети, металлические части, электрически соединенные с газовыми трубами или находящиеся в контакте с водой, должны быть отделены от токоведущих частей двойной или усиленной изоляцией.
&Соответствие требованию проверяют осмотром.&
22.29. Приборы класса II, предназначенные для постоянного подключения к фиксированной проводке, должны быть сконструированы так, чтобы необходимая степень защиты от поражения электрическим током сохранялась после установки прибора.
&Соответствие требованию проверяют осмотром.&
Примечание. Защита от поражения электрическим током может быть обеспечена, например, установкой металлических трубопроводов или кабелей с металлической оболочкой.
22.30. Части конструкций класса II, которые служат как дополнительная или усиленная изоляция и которые могут быть забыты при повторной сборке прибора после эксплуатационного обслуживания, должны быть:
- или закреплены так, чтобы их нельзя было снять без серьезного повреждения;
- или сконструированы так, чтобы их нельзя было установить в неправильное положение, а если они забыты, то прибор должен быть неработоспособен или должно быть совершенно очевидно, что прибор не полностью укомплектован.
&Соответствие требованию проверяют осмотром и испытанием вручную.&
Примечание. Эксплуатационное обслуживание включает в себя замену комплектующих, например, шнуров питания, выключателей.
22.31. Пути утечки и воздушные зазоры по дополнительной и усиленной изоляции в результате износа не должны стать меньше значений, указанных в
29.1. Если возможно ослабление крепления или выпадение из нормального положения провода, винта, гайки, шайбы, пружины или других подобных деталей, пути утечки и воздушные зазоры по дополнительной или усиленной изоляции не должны уменьшиться до значений менее 50% значений, указанных в
29.1.
&Соответствие требованию проверяют осмотром, измерением и испытанием вручную.&
Примечание. Для целей настоящего требования:
- принимается во внимание только нормальное положение прибора;
- предполагается, что два независимых крепления не ослабнут одновременно;
- части, закрепленные винтами или гайками с пружинными шайбами, не считают склонными к ослаблению, если не возникает необходимость в снятии этих винтов или гаек при замене шнура питания или при эксплуатационном обслуживании;
- провода, соединенные пайкой, не считают достаточно закрепленными, если не обеспечено дополнительное, независимо от пайки, крепление рядом с зажимом;
- провода, подсоединенные к зажимам, не считают надежно закрепленными, если отсутствует дополнительное крепление рядом с зажимом; причем в случае многожильных проводников крепление должно зажимать как изоляцию, так и проводник;
- считают маловероятным выпадение коротких жестких проводов из зажима, если они остаются на месте при ослаблении винта зажима.
22.32. Дополнительная и усиленная изоляции должны быть спроектированы или защищены так, чтобы они не могли быть повреждены загрязнением от оседающей пыли или пыли, появляющейся в результате износа внутренних частей прибора, до такой степени, что пути утечки и воздушные зазоры станут меньше указанных в
29.1.
Неплотно спеченные керамические и тому подобные материалы, а также одни лишь изоляционные бусы не должны использоваться в качестве дополнительной или усиленной изоляции.
Детали из натуральной или синтетической резины, используемые в качестве дополнительной изоляции, должны быть устойчивыми к старению или расположены так и иметь такие размеры, чтобы пути утечки не были меньше значений, указанных в
29.1, даже при появлении трещин.
Примечание. 1. Изоляционные материалы, в которые вмонтированы нагревательные проводники, считают основной, а не усиленной изоляцией.
&Соответствие требованию проверяют осмотром, измерением, а для резины следующим испытанием.
Части из резины подвергают старению в атмосфере кислорода под давлением. Образцы свободно подвешивают в кислородном баллоне, полезная вместимость которого равна, по крайней мере, 10-кратному объему образцов. Баллон заполняют техническим кислородом чистотой не менее 97% с давлением (2,1 +/- 0,07) МПа.
Образцы выдерживают в баллоне при температуре (70 +/- 1) °С в течение 96 ч. Непосредственно после этого образцы вынимают из баллона и не менее 16 ч выдерживают при комнатной температуре, избегая попадания на них прямого солнечного света.
После испытания проводят осмотр образцов; они не должны иметь трещин, видимых невооруженным глазом.&
Примечания. 2. В случае сомнения в отношении материала, за исключением резины, могут быть проведены специальные испытания.
3. В связи с тем, что использование баллона с кислородом представляет некоторую опасность при неосторожном с ним обращении, следует принять все меры, чтобы избежать взрыва из-за внезапного окисления.
4. В случае сомнения в отношении керамического материала, если он сильно оплавлен, проводят следующие испытания.
Керамический материал разрушают в местах, которые были погружены в раствор, содержащий 1 г фуксина (краска) на каждые 100 г метилового спирта. В растворе поддерживают давление не менее 15 МПа в течение периода, когда изделие испытывают в течение 1 ч и испытательное давление составляет не менее 180 МПа.
Образцы вынимают из раствора, промывают, сушат и разламывают на меньшие куски (части).
Только что разломанные поверхности исследуют. На них не должно быть видно любых следов краски.
22.33. Токопроводящие жидкости, которые являются или могут стать доступными при нормальной эксплуатации, не должны непосредственно контактировать с токоведущими частями. Электроды не должны использоваться для нагревания жидкостей.
В конструкциях класса II токопроводящие жидкости, которые являются или могут стать доступными при нормальной эксплуатации, не должны непосредственно контактировать с основной или усиленной изоляцией.
В конструкциях класса II токопроводящие жидкости, которые контактируют с токоведущими частями, не должны непосредственно контактировать с усиленной изоляцией.
Примечания. 1. Жидкости, которые контактируют с извлекаемыми доступными металлическими частями, должны рассматриваться как доступные.
2. Любой слой воздуха нельзя считать одним из слоев двойной изоляции, если имеется вероятность образования мостика из вытекающей жидкости.
&Соответствие требованию проверяют осмотром.&
22.32, 22.33. (Измененная редакция, Изм. N 2).
22.34. Оси рабочих кнопок, ручек, рукояток и т.п. не должны быть токоведущими, если только ось недоступна, когда кнопку, рукоятку, ручку и т.п. удаляют.
&Соответствие требованию проверяют осмотром и с помощью испытательного пальца по
8.1 после удаления кнопки, ручки, рукоятки и т.п., даже если для этого необходим инструмент.&
22.35. В конструкциях, кроме класса III, ручки, рукоятки и кнопки, которые берут в руки или нажимают при нормальной эксплуатации, не должны стать токоведущими при повреждении изоляции. Если эти ручки, рукоятки, кнопки металлические или если их оси и крепежные детали могут стать токоведущими при повреждении изоляции, то они должны быть соответствующим образом покрыты изоляционным материалом или их доступные части должны быть отделены от их осей или крепежных деталей дополнительной изоляцией.
Примечание. Изоляция считается соответствующей требованиям настоящего стандарта, если она выдерживает испытание по
16.3.
У стационарных приборов это требование не применяют к ручкам, рукояткам, кнопкам, кроме ручек, рукояток, кнопок электрических комплектующих, при условии, что они подключены к защитному зажиму или контакту или отделены от токоведущих частей заземленным металлом.
&Соответствие требованию проверяют осмотром и, при необходимости, соответствующими испытаниями.&
22.36. В приборах, кроме приборов класса III, ручки, которые при нормальной эксплуатации непрерывно держат в руке, должны быть сконструированы так, чтобы при их захвате во время нормальной эксплуатации было маловероятным прикасание руки оператора к металлическим частям, которые не отделены от токоведущих частей двойной или усиленной изоляцией.
&Соответствие требованию проверяют осмотром.&
22.37. У приборов класса II конденсаторы не должны быть соединены с доступными металлическими частями, а их кожухи, если они металлические, должны быть отделены от доступных металлических частей дополнительной изоляцией.
Это требование не распространяется на конденсаторы, соответствующие требованиям к защитному импедансу по
22.42.
&Соответствие требованию проверяют осмотром, соответствующими испытаниями.&
22.38. Конденсаторы не должны подключаться между контактами термовыключателя.
&Соответствие требованию проверяют осмотром.&
22.39. Патроны ламп должны использоваться только для подключения ламп.
&Соответствие требованию проверяют осмотром.&
22.40. Электромеханические и комбинированные приборы, которые предназначены для перемещения при работе или которые имеют доступные подвижные части, должны иметь выключатель в цепи управления двигателем. Исполнительный элемент конструкции такого выключателя должен быть легко наблюдаем и доступен.
&Соответствие требованию проверяют осмотром.&
(Измененная редакция, Изм. N 2).
22.41. Ртутные выключатели должны быть смонтированы так, чтобы ртутная капсула не могла выпасть из предназначенного места или быть поврежденной зажимными устройствами, и должны быть ограждены так, чтобы при повреждении капсулы жидкая или газообразная ртуть не могла вызвать заражения окружающей среды.
&Соответствие требованию проверяют осмотром.&
22.42. Защитный импеданс должен состоять не менее чем из двух отдельных компонентов, изменение полного сопротивления которых в течение срока службы прибора маловероятно. Если один из компонентов замыкается накоротко или размыкается, не должно быть превышения значений параметров, указанных в
8.1.4.
&Соответствие требованию проверяют осмотром и измерением.&
Примечания. 1. Резисторы, соответствующие правилам испытания, приведенным в 14.1а МЭК 60065
[2], и конденсаторы, соответствующие ГОСТ МЭК 384-14, рассматривают как составляющие (компоненты), имеющие достаточно стабильный импеданс.
2. Конденсаторы класса Х по ГОСТ МЭК 384-14 не рассматривают как подходящие компоненты для использования в качестве защитного импеданса.
(Измененная редакция, Изм. N 2).
22.43. Приборы, которые могут быть переключены на разные напряжения, должны быть сконструированы так, чтобы случайное изменение уставки было маловероятным.
&Соответствие требованию проверяют испытанием вручную.&
22.44. Приборы не должны иметь ограждение, которое оформлено так, что прибор становится похожим на игрушку для детей.
&Соответствие требованию проверяют осмотром.&
Примечание. Примерами являются ограждения, изображающие животных или людей или имеющие сходство с моделями в масштабе.
(Введен дополнительно, Изм. N 2).
23.1. Канавки для проводов должны быть гладкими и без острых кромок.
Провода должны быть защищены так, чтобы они не соприкасались с заусенцами, охлаждающими ребрами и т.п., которые могут вызвать повреждение их изоляции.
Отверстия в металле, через которые проходят изолированные провода, должны иметь гладкие, хорошо закругленные поверхности или должны быть снабжены втулками.
Провода должны быть надежно защищены от соприкасания с движущимися частями.
&Соответствие требованиям проверяют осмотром.&
23.2. Изолирующие бусы и аналогичные керамические изоляторы на токоведущих проводах должны быть закреплены или поддерживаться так, чтобы они не могли изменить свое положение; они не должны опираться на острые кромки или острые углы. Если изолирующие бусы находятся внутри гибких металлических трубок, то они должны быть покрыты изоляционной трубкой, за исключением тех случаев, когда гибкая металлическая трубка при нормальной эксплуатации не перемещается.
&Соответствие требованию проверяют осмотром и испытанием вручную.&
23.3. Различные части прибора, которые при нормальной эксплуатации и техническом обслуживании потребителем могут перемещаться друг относительно друга, не должны вызывать чрезмерно большие напряжения электрических соединений и внутренней проводки, включая проводники, обеспечивающие непрерывность заземления. Гибкие металлические трубки не должны повреждать изоляцию находящихся в них проводов.
Спиральные пружины, витки которых не соприкасаются друг с другом, не должны использоваться для защиты электропроводки. Если для защиты проводов используются спиральные пружины, витки которых соприкасаются друг с другом, то помимо изоляции проводов должно быть предусмотрено дополнительное изоляционное покрытие.
&Соответствие требованию проверяют осмотром и следующим испытанием.
Если при нормальной эксплуатации прибора имеет место изгиб, то прибор должен быть установлен в нормальное рабочее положение и работать при нормальном напряжении в нормальных условиях работы.
Подвижную часть перемещают вперед и назад так, чтобы провод изгибался под максимальным углом, допускаемым конструкцией прибора. Число изгибов провода, который подвергается изгибу при нормальной эксплуатации, равно 10000, а частота изгибов - 30 в минуту; для проводников, изгибающихся при выполнении потребителем текущего ремонта, число изгибов - 100 с той же частотой.
После этого испытания прибор не должен иметь повреждений, нарушающих соответствие требованиям настоящего стандарта и препятствующих его дальнейшему использованию. В частности, проводка и ее соединения должны выдержать испытание на электрическую прочность изоляции по
16.3, при этом испытание проводят только между токоведущими частями и другими металлическими частями испытательным напряжением, уменьшенным до 1000 В.&
Примечания. 1. Под изгибом понимают одно движение вперед или назад.
2. Оболочка гибкого шнура, соответствующая
ГОСТ 7399, считается достаточным изоляционным покрытием.
(Измененная редакция, Изм. N 2).
23.4. Оголенная внутренняя проводка должна быть настолько жесткой и закрепленной, чтобы при нормальной эксплуатации пути утечки и воздушные зазоры не могли стать меньше значений, указанных в
29.1.
&Соответствие требованию проверяют при испытаниях по
29.1.&
23.5. Изоляция внутренней проводки должна выдерживать электрические напряжения, возможные при нормальной эксплуатации.
&Соответствие требованию проверяют следующим образом.
Изоляция должна быть электрически эквивалентна основной изоляции шнуров по
ГОСТ 7399 или выдерживать следующую проверку электрической прочности основной изоляции.
Напряжение 2000 В прикладывают в течение 15 мин между проводником и металлической фольгой, обернутой вокруг изоляции. Не должно быть пробоя.&
Примечания. 1. Если основная изоляция проводника не удовлетворяет одному из приведенных выше условий, то проводник считают оголенным.
2. Испытанию подвергают только проводку, которая находится под напряжением сети.
3. Для конструкций класса II применимы требования для дополнительной изоляции и усиленной изоляции, кроме оболочек шнура, выполненных в соответствии с
ГОСТ 7399, которые могут быть снабжены дополнительной изоляцией.
(Измененная редакция, Изм. N 2).
23.6. Если в качестве дополнительной изоляции на внутренней проводке использована трубка, она должна быть прочно закреплена.
&Соответствие требованию проверяют осмотром и испытанием вручную.&
Примечание. Трубку считают надежно закрепленной, если ее можно снять, только поломав или разрезав, или если она закреплена с обоих концов.
23.7. Провода, обозначенные комбинацией желто-зеленого цвета, должны использоваться только как заземляющий проводник.
&Соответствие требованию проверяют осмотром.&
23.8. Алюминиевые провода не должны использоваться для внутренней проводки.
&Соответствие требованию проверяют осмотром.&
Примечание. Обмотки двигателей не считают внутренней проводкой.
23.9. Многопроволочные проводники не должны соединяться свинцово-оловянным припоем в местах, где они подвергаются контактному давлению, если зажимные устройства сконструированы так, что возможен плохой контакт из-за хладотекучести припоя.
&Соответствие требованию проверяют осмотром.&
Примечания. 1. Требование может быть выполнено путем использования пружинных зажимов. Закрепление только зажимным винтом не считается достаточным.
2. Допускается пропайка концов многопроволочных проводников.
24. Комплектующие изделия
24.1. Комплектующие изделия должны соответствовать по безопасности требованиям соответствующих стандартов в такой мере, насколько это целесообразно.
&Соответствие проверяют осмотром и испытаниями по
24.1.1 -
24.1.5.&
Примечания. 1. Соответствие стандарту на определенное комплектующее необязательно обозначает его соответствие требованиям настоящего стандарта.
2. Если нет иных указаний, требования
раздела 29 применимы между токоведущими частями деталей и доступными частями прибора.
24.1.1. &Конденсаторы, постоянно находящиеся под подводимым сетевым напряжением и используемые для подавления радиопомех или напряжения возбуждения, должны соответствовать
Приложению Q.&
Примечание. Примерами конденсаторов, постоянно находящихся под подводимым сетевым напряжением, являются конденсаторы, входящие в приборы, для которых:
- применимы требования
30.2.3;
- применимы требования
30.2.2, если конденсатор не отключают от электроснабжения двухполюсным выключателем.
&Малые патроны, аналогичные патронам серии Е10, должны соответствовать требованиям к патронам Е10: они необязательно должны быть пригодны для ламп с цоколем Е10.
Безопасные изолирующие трансформаторы, которые не должны испытываться отдельно и соответствие которых требованиям МЭК 61558-2-6
[3] не установлено, должны соответствовать
Приложению R.
Приборные соединители для приборов исполнения IPX0 должны соответствовать
ГОСТ Р 51325.1. Другие приборные соединители должны соответствовать
ГОСТ Р 51323.1.
Устройства автоматического регулирования должны соответствовать
ГОСТ МЭК 730-1, если их не испытывают вместе с прибором.
Выключатели должны соответствовать
ГОСТ Р МЭК 61058.1, если их не испытывают вместе с прибором.
24.1.2. Устройства автоматического регулирования, которые не были испытаны отдельно, но было установлено их соответствие
ГОСТ МЭК 730-1, должны быть испытаны по настоящему стандарту и дополнительно по
ГОСТ МЭК 730-1 для типа действия 1.
Испытания по
ГОСТ МЭК 730-1 проводят при условиях, возникающих в приборе.
- для терморегуляторов - 10000;
- для термоограничителей - 1000;
- для термовыключателей с самовозвратом - 300;
- для термовыключателей без самовозврата - 30;
- для таймеров - 3000;
- для регуляторов мощности - 10000.&
2. Испытаниям по
ГОСТ МЭК 730-1 не подвергают устройства автоматического регулирования, которые срабатывают при испытаниях по
разделу 11, если прибор соответствует требованиям настоящего стандарта при закорачивании этих устройств.
3. Устройства автоматического контроля (регулирования) допускается испытывать вне прибора.
24.1.3. &Выключатели, которые не должны испытываться отдельно и соответствие которых требованиям
ГОСТ Р МЭК 61058.1 не установлено, в условиях их закрытого расположения в приборе должны соответствовать
Приложению S.
Испытание по
17.2.7 ГОСТ Р МЭК 61058.1 выполняют в течение 10000 рабочих циклов.
Выключатели, предназначенные для работы без нагрузки, и которые могут работать только при применении инструмента, не подвергают испытаниям по
разделу 17 ГОСТ Р МЭК 61058.1. Этим испытаниям не подвергают также выключатели, включаемые рукой, если имеется блокировка, препятствующая включению под нагрузкой. Однако выключатели, которые не имеют блокировки, испытывают по
17.2.7 ГОСТ Р МЭК 61058.1 в течение 100 рабочих циклов.&
Примечание. Испытание по
17.2.7 ГОСТ Р МЭК 61058.1 выполняют только на выключателях, соответствующих требованиям настоящего стандарта.
24.1 - 24.1.3. (Измененная редакция, Изм. N 2).
24.1.4. Если комплектующее изделие имеет маркировку рабочих характеристик, то условия использования его в приборе должны соответствовать этой маркировке, если нет других указаний.
Примечание. Для устройств автоматического регулирования термин "маркировка" включает в себя документацию и декларацию по
ГОСТ МЭК 730-1.
&Испытание комплектующих, которые должны соответствовать требованиям других стандартов, обычно проводят отдельно по соответствующему стандарту.
Если комплектующее изделие используется в соответствии с маркировкой, то изделие испытывают в соответствии с условиями его эксплуатации в приборе. Число образцов для испытания выбирают так, как указано в соответствующем стандарте.
Если нет стандарта на определенное комплектующее изделие, если на комплектующем изделии не указаны номинальные данные или если комплектующее изделие в приборе использовано не в соответствии с маркировкой, то комплектующее изделие испытывают в соответствии с условиями его эксплуатации в приборе. Число образцов выбирают обычно, как указано в соответствующем стандарте.
Комплектующие, не перечисленные в
таблице 3, испытывают как часть прибора, принимая во внимание их маркировку буквой Т, при ее наличии
24.1.5. &Для конденсаторов, включенных последовательно с обмоткой двигателя, при работе прибора с напряжением, равным 1,1 номинального напряжения, и минимальной нагрузкой напряжение на конденсаторе не должно быть более 1,1 номинального напряжения конденсатора.
Конденсаторы в приборах, для которых применимы требования
30.2.3, постоянно последовательно соединенные с электропроводкой двигателя, должны быть классов Р1 и Р2 по ГОСТ МЭК 252.&
Примечание. Конденсаторы во вспомогательной обмотке двигателя должны иметь маркировку их номинального напряжения и номинальной емкости.
24.2. Приборы не должны иметь:
- выключателей или устройств автоматического регулирования в гибких шнурах;
- устройств, которые приводят к срабатыванию защитных устройств в фиксированной проводке в случае повреждений в приборе;
- термовыключателей, которые могут быть возвращены в исходное состояние посредством пайки.
Примечание. Разрешается использование припоя, имеющего точку плавления по крайней мере 230 °С.
&Соответствие требованию проверяют осмотром&.
(Измененная редакция, Изм. N 2).
24.3. Выключатели, предназначенные для отключения всех полюсов стационарного прибора, как указано в
22.2, должны быть подключены непосредственно к зажимам питания и иметь зазор между контактами не менее 3 мм во всех полюсах.
&Соответствие требованию проверяют осмотром и измерениями.&
24.4. Штепсельные вилки и розетки, используемые для присоединения нагревательных элементов, и штепсельные вилки и розетки для цепей сверхнизкого напряжения не должны быть взаимозаменяемыми со штепсельными вилками и розетками, перечисленными в
ГОСТ 7396.1 или МЭК 60906-1
[4], или с соединителями и приборными вводами, соответствующими
ГОСТ Р 51325.1.
&Соответствие требованию проверяют осмотром.&
24.5. Штепсельные вилки, розетки и другие соединительные устройства на шнурах, используемых для промежуточного соединения, не должны быть взаимозаменяемыми со штепсельными вилками и розетками, перечисленными в
ГОСТ 7396.1 или МЭК 60906-1
[4], с соединителями и приборными вводами, соответствующими
ГОСТ Р 51325.1, если непосредственная подача питания на эти части прибора от сети может вызвать опасность.
&Соответствие требованию проверяют осмотром и испытанием вручную&.
24.4, 24.5. (Измененная редакция, Изм. N 2).
24.6. Двигатели, подключаемые к сети питания и имеющие основную изоляцию, не рассчитанную на номинальное напряжение прибора, должны соответствовать требованиям
Приложения F.
&Соответствие требованию проверяют испытаниями по
Приложению F.&
25. Присоединение к источнику питания
и внешние гибкие шнуры
25.1. Приборы, не предназначенные для постоянного соединения со стационарной проводкой, должны быть снабжены одним из следующих средств присоединения к сети питания:
- шнуром питания, оснащенным вилкой;
- приборным вводом, имеющим, по крайней мере, ту же степень защиты от влаги, что и прибор;
- штырями, предназначенными для непосредственного введения в фиксированные розетки.
&Соответствие требованию проверяют осмотром.&
25.2. Приборы, кроме стационарных с многоканальным питанием, не должны иметь более одного средства присоединения к сети питания. Стационарные приборы с многоканальным питанием могут быть снабжены более чем одним средством присоединения при условии, что соответствующие цепи изолированы одна от другой надлежащим образом.
&Соответствие требованию проверяют осмотром и следующим испытанием.
Напряжение 1250 В практически синусоидальной формы частотой 50 или 60 Гц прикладывают в течение 1 мин между каждым средством присоединения к сети, причем все выключатели в цепи должны находиться в самом неблагоприятном положении.
Во время этого испытания не должно быть пробоя.&
Примечания. 1. Многоканальное питание необходимо, например, при дневном и ночном питании с различными тарифами.
2. Это испытание может быть совмещено с испытанием по
16.3.
25.3. Приборы, предназначенные для постоянного присоединения к стационарной проводке, должны допускать присоединение проводов питания после крепления прибора к его опоре и должны быть снабжены:
- комплектом зажимов, позволяющих присоединение кабелей к стационарной проводке с номинальным поперечным сечением, указанным в
26.3;
- комплектом зажимов, позволяющих подсоединить гибкий шнур;
Примечание. 1. В этом случае допускается подсоединение шнура питания до закрепления прибора на подставке. Прибор может быть оснащен гибким шнуром.
- комплектом проводов питания, расположенных в соответствующем отсеке, или
- комплектом зажимов и вводами кабелей, вводами трубопроводов, заглушками или сальниками, позволяющими присоединение соответствующих типов кабелей или трубопроводов.
Примечание. 2. Если закрепленный прибор сконструирован с таким расчетом, чтобы определенные части прибора можно было временно снять для облегчения его установки, то требование считается выполненным, если провода питания можно без затруднений присоединить после крепления части прибора к его опоре. При этом съемные части должны иметь конструкцию, позволяющую вновь легко соединить их с закрепленной частью прибора без риска неправильной установки или повреждения проводов и так, чтобы провода в процессе установки не подвергались напряжениям, которые могут привести к повреждению зажимов или изоляции проводов.
&Соответствие требованиям проверяют осмотром и, при необходимости, осуществляют соответствующие соединения.&
25.4. Для приборов с номинальным током не более 16 А ввод для кабеля и трубопровода должен иметь размеры, позволяющие вводить кабели или трубопроводы с максимальным наружным диаметром, указанным в таблице 8.
Таблица 8
Диаметр кабеля и трубопровода
Число проводов, включая заземляющий провод | Максимальный наружный диаметр, мм |
кабеля | трубопровода |
2 3 4 5 | 13,0 14,0 14,5 15,5 | 16,0 16,0 20,0 20,0 |
Вводы трубопроводов, кабелей и заглушки должны быть сконструированы или расположены так, чтобы введение трубопровода или кабеля не нарушало защиту от поражения электрическим током или не снижало пути утечки и воздушные зазоры ниже значений, указанных в
29.1.
&Соответствие требованию проверяют осмотром и измерениями.&
25.5. Способы крепления шнуров питания к прибору должны соответствовать одному из следующих типов:
- крепление типа Х;
- крепление типа Y;
- крепление типа Z, если допускается в соответствующем стандарте на конкретное изделие.
Крепление типа Х, кроме используемого для специально подготовленных шнуров, не должно применяться для плоских двойных мишурных шнуров.
&Соответствие требованию проверяют осмотром.&
25.6. Штепсельные вилки не должны быть снабжены более чем одним гибким шнуром.
&Соответствие требованию проверяют осмотром.&
25.7. Шнуры питания не должны быть легче, чем:
- обычный прочный шнур в резиновой оболочке (типа ПРС по
ГОСТ 7399);
- плоский двойной мишурный шнур (типа ШОГ по
ГОСТ 7399);
- легкий шнур в поливинилхлоридной оболочке (типа ШВВП по
ГОСТ 7399) для приборов массой, не превышающей 3 кг;
- обычный шнур в поливинилхлоридной оболочке (типа ПВС по
ГОСТ 7399) для приборов массой, превышающей 3 кг.
Примечание. 1. Оплетенный и плоский двойной мишурный шнуры используют только в случае, если это допускается в стандарте на конкретное изделие.
Шнуры с поливинилхлоридной оболочкой не должны использоваться для приборов, имеющих внешние металлические части, превышение температуры которых во время испытания по
разделу 11 больше 75 °С. Их допускается использовать:
- когда конструкция прибора такова, что возможность прикасания шнура питания к таким металлическим частям в условиях нормальной эксплуатации маловероятна;
- когда шнур питания устойчив к воздействию более высоких температур. В этом случае должно использоваться крепление типа Y или Z.
&Соответствие требованию проверяют осмотром и измерением.&
Примечание. 2. Меньшее число в обозначении указанных типов шнуров по
ГОСТ 7399 определяет более легкий тип (например, шнуры ШРО 245; 51 и ПРС 245; 53).
(Измененная редакция, Изм. N 2).
25.8. Номинальное поперечное сечение жил шнуров питания не должно быть меньше значений, указанных в таблице 9.
Таблица 9
Минимальное поперечное сечение жил шнуров питания
┌────────────────────────────┬───────────────────────────────────┐
│ Номинальный ток прибора, А │Номинальное поперечное сечение, мм2│
├────────────────────────────┼───────────────────────────────────┤
│<= 0,2 │Мишурный шнур
<*> │
│>0,2 и <= 3,0 │0,5
<*> │
│>3,0 и <= 6,0 │0,75 │
│>6,0 и <= 10,0 │1,0 │
│>10,0 и <= 16,0 │1,5 │
│>16,0 и <= 25,0 │2,5 │
│>25,0 и <= 32,0 │4,0 │
│>32,0 и <= 40,0 │6,0 │
│>40,0 и <= 63,0 │10,0 │
├────────────────────────────┴───────────────────────────────────┤
│ <*> Этот тип шнура допускается применять, если длина шнура│
│питания, измеренная от точки, где шнур или его защитное│
│устройство входит в прибор, до ввода в вилку не превышает 2 м. │
└────────────────────────────────────────────────────────────────┘
&Соответствие требованию проверяют измерением.&
25.9. Шнуры питания не должны соприкасаться с острыми выступами или режущими кромками прибора.
&Соответствие требованию проверяют осмотром.&
25.10. Для приборов класса I шнур питания должен иметь желто-зеленую жилу, которая соединена с зажимом заземления прибора и с контактом заземления штепсельной вилки.
&Соответствие требованию проверяют осмотром.&
25.11. Жилы шнуров питания не должны скрепляться пайкой припоем, содержащим олово и свинец, в тех местах, где на них действует контактное давление, если зажимные устройства не сконструированы так, что не возникает опасность плохого контакта в результате хладотекучести припоя.
&Соответствие требованию проверяют осмотром.&
Примечания. 1. Требование может быть выполнено путем использования пружинных зажимов. Закрепление только зажимными винтами считается недостаточным.
2. Допускается пропайка концов многожильных проводов.
25.12. Изоляция шнура не должна повреждаться при опрессовке шнура к части корпуса.
&Соответствие требованию проверяют осмотром.&
25.13. Вводные отверстия должны быть снабжены такими входными втулками или должны быть сконструированы так, чтобы оболочка шнура питания могла быть введена без риска повреждения.
&Соответствие требованию проверяют осмотром и испытанием вручную.&
25.13.1. Входные втулки должны:
- иметь такую форму, чтобы было предотвращено повреждение шнура питания;
- не быть съемной частью.
&Соответствие требованиям проверяют осмотром и испытанием вручную.&
25.13.2. Во вводных отверстиях изоляция между проводом шнура питания и кожухом прибора должна состоять из изоляции провода и дополнительно:
- по крайней мере одной отдельной изоляции для приборов класса 0;
- по крайней мере двух отдельных изоляций для других приборов.
Только одна отдельная изоляция требуется, если кожух во входном отверстии изготовлен из изоляционного материала.
Отдельная изоляция должна состоять из:
- оболочки шнура питания, которая, по крайней мере, эквивалентна оболочке шнура, соответствующего
ГОСТ 7399, или
- обкладки или втулки из изоляционного материала, удовлетворяющей требованиям
29.2 к дополнительной изоляции.
&Соответствие требованию проверяют осмотром.&
25.14. Приборы, оснащенные шнуром питания, которые перемещают во время работы, должны быть сконструированы так, чтобы шнур был защищен соответствующим образом от чрезмерного изгиба в месте ввода его в прибор.
Примечание. 1. Это требование не применяют к приборам с катушкой для автоматической намотки шнура, которые испытывают по
22.16.
&Соответствие требованию проверяют следующим испытанием, которое проводят на устройстве, имеющем качающийся элемент, аналогичный изображенному на рисунке 11.&
1 - образец; 2 - регулируемая несущая плата;
3 - регулируемый кронштейн; 4 - противовес;
5 - качающаяся рама; 6 - ось качания; 7 - груз
Рисунок 11. Качающийся элемент
устройства испытания на изгиб
&Часть прибора, в которой имеется вход для шнура, снабженную защитным устройством, если оно имеется, и шнуром питания, крепят к качающемуся элементу так, чтобы когда качающийся элемент находится в середине пути его перемещения, ось шнура в том месте, где шнур входит в защитное устройство или во ввод прибора, была вертикальной и проходила через ось качания. Образцы с плоскими шнурами монтируют так, чтобы главные оси сечения шнура были параллельны оси качания.
Шнур нагружают так, чтобы прикладываемое к нему усилие было равно:
10 Н - для шнуров, номинальная площадь поперечного сечения которых превышает 0,75 мм2;
5 Н - для других шнуров.
Расстояние А (
рисунок 11) между осью качания и точкой, в которой шнур или защитное устройство шнура входит в прибор, регулируют так, чтобы при полном ходе качающегося элемента боковое смещение шнура и груза было минимальным.
Качающийся элемент перемещается вперед и назад на 90° (45° в каждую сторону от вертикали) так, чтобы количество изгибов для крепления типа Z было равно 20000, для других способов крепления - 10000. Частота - 60 изгибов в минуту.&
Примечание. 2. Под изгибом понимают одно движение на 90°.
&После проведения половины общего количества изгибов образцы, кроме плоских шнуров, разворачивают на 90°.
Через провода пропускают ток, равный номинальному току прибора при номинальном напряжении.&
Примечание. 3. Через провод заземления, если он имеется, ток не пропускают.
&Испытание не должно привести к:
- короткому замыканию между проводами;
- разрыву более 10% проволочек в любом проводе;
- отделению провода от зажима;
- ослаблению любой защиты шнура;
- повреждениям шнура или защиты шнура, нарушающим соответствие требованиям настоящего стандарта;
- прокалыванию изоляции сломанными проволочками проводов до такой степени, что они становятся доступными.&
Примечания. 4. В понятие "провод" входят заземляющие провода.
5. Считается, что между проводами возникло короткое замыкание, если значение тока в проводе увеличивается до двукратного значения номинального тока прибора.
25.15. Приборы, снабженные шнуром питания, должны иметь крепление шнура, выполненное так, чтобы оно разгружало проводники от напряжений, в том числе от скручивания, в месте присоединения шнура внутри прибора, а также защищало изоляцию проводов от истирания. Это требование применимо также к приборам, подключаемым к фиксированной проводке с помощью гибкого шнура.
Не допускается возможность проталкивания шнура внутрь прибора до такой степени, что это может вызвать повреждение шнура или внутренних частей прибора.
&Соответствие требованию проверяют осмотром, испытанием вручную и следующим испытанием.
На шнуре при приложении к нему силы натяжения, указанной в таблице 10, на расстоянии примерно 2 см от крепления или другой подходящей точки, делают отметку.&
Таблица 10
Сила натяжения и крутящий момент
Масса прибора, кг | Натяжение, Н | Крутящий момент, Н х м |
<= 1,0 >1,0 и <= 4,0 >4,0 | 30 60 100 | 0,10 0,25 0,35 |
&Затем шнур подвергают 25 натяжениям с тем же усилием. Натяжение проводят в наиболее неблагоприятном направлении без рывков; каждое натяжение должно длиться 1 с.
Непосредственно после этого шнур, кроме шнуров с автоматической намоткой, подвергают кручению, прикладываемому как можно ближе к прибору. Крутящий момент, значение которого указано в
таблице 10, прикладывают в течение 1 мин.
Во время испытания шнур не должен быть поврежден.
После испытания шнур не должен быть смещен в продольном направлении более чем на 2 мм, а провода не должны быть смещены в зажимах более чем на 1 мм. В местах соединения не должно быть заметного натяжения, а пути утечки и воздушные зазоры не должны быть меньше значений, указанных в
29.1.&
Примечание. После испытаний измеряют смещение отметки на шнуре, находящемся в натянутом состоянии, относительно крепления шнура или другой выбранной удобной точки.
25.16. Для крепления типа Х крепление шнура должно быть сконструировано и расположено так, чтобы:
- замена шнура была легко осуществима;
- было ясно, как достигается разгрузка шнура от натяжения и предотвращение скручивания;
- оно подходило для различных типов шнура, которые могут быть присоединены, если не используется специально подготовленный шнур;
- шнур не мог прикоснуться к зажимным винтам узла крепления шнура, если эти винты доступны и если они не отделены от доступных металлических частей дополнительной изоляцией;
- шнур не закреплялся металлическими винтами, которые опираются непосредственно на шнур;
- по крайней мере одна часть крепления шнура была надежно закреплена на приборе, если она не является частью специально подготовленного шнура;
- винты, которыми необходимо манипулировать при замене шнура, не служили для крепления других элементов. При этом указанное требование не применяется:
- когда прибор становится неработоспособным или явно не полностью укомплектован, если эти винты были забыты или элементы неправильно установлены;
- когда части, которые надо подтягивать этими винтами, не могут быть сняты без применения инструмента во время замены шнура;
- если лабиринт может быть обойден, испытание по
25.15 было бы выполнено;
- для приборов классов 0, 0I и I крепление шнура было выполнено из изоляционного материала или было снабжено изоляционной прокладкой, если при повреждении изоляции шнура доступные металлические части могут оказаться под напряжением;
- для приборов класса II оно было выполнено из изоляционного материала, а если оно выполнено из металла, то изолировано от доступных металлических частей изоляцией, соответствующей требованиям к дополнительной изоляции.
Примечания. 1. Если для присоединения типа Х узел крепления шнура содержит один или более зажимных элементов, давление к которым прикладывается посредством гаек, находящихся в зацеплении со шпильками, которые жестко прикреплены к прибору, то считается, что крепление шнура имеет одну часть, которая надежно прикреплена к прибору, даже в том случае, если зажимные элементы могут быть сняты со шпилек.
2. Если давление к зажимным элементам прикладывается посредством одного или более винтов, находящихся в зацеплении либо с отдельными гайками, либо с резьбой в части, которая составляет единое целое с прибором, то считается, что такое крепление шнура не имеет одной части, которая надежно прикреплена к прибору. Это требование не применяется, когда один из зажимных элементов сам прикреплен к прибору или поверхность прибора выполнена из изоляционного материала и имеет такую форму, что очевидно, что эта поверхность является одним из зажимных элементов.
3. Примеры допустимых и недопустимых конструкций узла крепления приведены на
рисунке 12.
а) Допустимые конструкции
Шпильки жестко закреплены на приборе
Прижимные винты могут входить в резьбовые отверстия
на приборе или в отверстия без резьбы,
в этих случаях их крепят гайками
Рисунок 12. Примеры выполнения крепления шнура. Лист 1
b) Недопустимые конструкции
Винты,
проходящие через резьбовые отверстия на приборе,
и винты,
проходящие через отверстия без резьбы на приборе,
закрепленные гайками,
в одинаковой степени неприемлемы
Рисунок 12. Примеры выполнения крепления шнура. Лист 2
&Соответствие требованию проверяют осмотром и испытанием по
25.15 при следующих условиях.
Испытание проводят вначале с наиболее легким из допустимых типов шнура с наименьшей площадью поперечного сечения, указанной в таблице 11, а затем с ближайшим более тяжелым типом шнура с наибольшей установленной площадью поперечного сечения. Однако если прибор оснащен специально подготовленным шнуром, испытание проводят с этим шнуром.&
Таблица 11
Номинальное поперечное сечение провода
┌────────────────┬───────────────────────────────────────────────┐
│Номинальный ток │ Номинальная площадь поперечного сечения, мм2 │
│ прибора, А ├─────────────┬─────────────────────────────────┤
│ │гибких шнуров│кабелей для стационарной проводки│
├────────────────┼─────────────┼─────────────────────────────────┤
│<= 3,0 │0,5 и 0,75 │От 1,0 до 2,5 │
│>3,0 и <= 6,0 │0,75 и 1,0 │ " 1,0 " 2,5 │
│>6,0 и <= 10,0 │1,0 и 1,5 │ " 1,0 " 2,5 │
│>10,0 и <= 16,0 │1,5 и 2,5 │ " 1,5 " 4,0 │
│>16,0 и <= 25,0 │2,5 и 4,0 │ " 2,5 " 6,0 │
│>25,0 и <= 32,0 │4,0 и 6,0 │ " 4,0 " 10,0 │
│>32,0 и <= 40,0 │6,0 и 10,0 │ " 6,0 " 16,0 │
│>40,0 и <= 63,0 │10,0 и 16,0 │ " 10,0 " 25,0 │
└────────────────┴─────────────┴─────────────────────────────────┘
&Провода вводят в зажимы и винты затягивают настолько, чтобы провода не могли легко изменить свое положение. Зажимные винты узла крепления затягивают крутящим моментом, равным 2/3 момента, указанного в
28.1.
Винты из изоляционного материала, которые опираются непосредственно на шнур, затягивают крутящим моментом, равным 2/3 момента, указанного в
колонке 1 таблицы 12, причем длина шлица в головке принимается равной номинальному диаметру винта.&
Таблица 12
Крутящий момент для испытания винтов и гаек
Номинальный диаметр винта (наружный диаметр резьбы), мм | Крутящий момент, Н х м |
| 2 | 3 |
<= 2,8 >2,8 и <= 3,0 >3,0 и <= 3,2 >3,2 и <= 3,6 >3,6 и <= 4,1 >4,1 и <= 4,7 >4,7 и <= 5,3 >5,3 | 0,2 0,25 0,3 0,4 0,7 0,8 0,8 - | 0,4 0,5 0,6 0,8 1,2 1,8 2,0 2,5 | 0,4 0,5 0,5 0,6 0,6 0,9 1,0 1,25 |
25.17. Для креплений типов Y и Z узел крепления должен быть выполнен соответствующим образом.
&Соответствие требованию проверяют испытанием по
25.15.&
Примечание. Испытание проводят со шнуром, поставляемым с прибором.
25.18. Узел крепления должен быть так огражден, чтобы он был доступен только с применением инструмента, или он должен быть так сконструирован, чтобы шнур мог быть установлен только с применением инструмента.
&Соответствие требованию проверяют осмотром.&
25.19. Для крепления типа Х в переносных приборах сальники не должны использоваться для крепления шнура. Не допускаются такие технологические приемы, как завязывание шнура узлом и связывание концов бечевкой.
&Соответствие требованию проверяют осмотром.&
25.20. Для креплений типов Y и Z изолированные жилы шнура питания должны быть дополнительно изолированы от доступных металлических частей основной изоляцией для приборов классов 0, 0I и I и дополнительной изоляцией для приборов класса II. Эта изоляция может быть осуществлена с помощью оболочки шнура или другими способами.
&Соответствие требованию проверяют осмотром и соответствующими испытаниями.&
25.21. Отсек для подсоединения питающего кабеля к фиксированной проводке или подсоединения шнура питания, прикрепленного креплением типа Х, должен быть так сконструирован, чтобы:
- перед установкой любой крышки можно было проверить правильность подсоединения и расположения проводов;
- любые крышки можно было установить без риска повреждения проводников или их изоляции;
- для переносных приборов неизолированный конец провода в случае выпадения его из зажима не мог касаться доступных металлических частей, если только шнур не снабжен окончаниями, исключающими выскальзывание провода.
&Соответствие требованию проверяют осмотром и пробным монтажом с кабелями или гибкими шнурами с наибольшей площадью поперечного сечения, указанной в
таблице 11.
Переносные приборы подвергают следующему дополнительному испытанию.
Для зажимов колонкового типа, в которых шнур питания не закреплен дополнительно на расстоянии 30 мм или менее от зажима, и для других винтовых зажимов ослабляют поочередно винты или гайки. К проводнику прикладывают усилие 2 Н в произвольном направлении вблизи зажима. Неизолированный конец провода не должен касаться доступных металлических частей.&
Примечания. 1. Испытание не проводят на приборах с зажимами колонкового типа, в которых шнур питания зажат на расстоянии 30 мм или менее от зажима.
2. Шнур питания может быть зажат путем использования узла крепления.
25.22. Приборные вводы:
- должны быть расположены или закрыты так, чтобы токоведущие части не были доступными при введении или удалении соединителя;
- должны быть расположены так, чтобы соединитель мог быть введен без затруднений;
- должны быть расположены так, чтобы после введения соединителя прибор не опирался на соединитель в любом положении, возможном при нормальной эксплуатации на плоской поверхности;
- не должны быть в исполнении для холодного состояния, если превышение температуры внешних металлических частей во время испытания по
разделу 11 превышает 75 °С, за исключением тех случаев, когда конструкция прибора такова, что возможность прикасания шнура питания к таким металлическим частям в условиях нормальной эксплуатации маловероятна.
&Соответствие требованиям проверяют осмотром.&
Примечание. Приборы, снабженные приборными вводами, соответствующими требованиям
ГОСТ Р 51325.1, считают приборами, которые удовлетворяют первому требованию настоящего подпункта.
25.23. Шнуры для промежуточных соединений должны соответствовать требованиям, предъявляемым к шнурам питания, за исключением того, что:
- площадь поперечного сечения проводов шнуров для промежуточных соединений определяют по максимальному току, проходящему через провод при испытании по
разделу 11, а не по номинальному току прибора;
- толщина изоляции отдельных жил может быть меньше требуемой, если напряжение в данном проводнике меньше номинального напряжения.
&Соответствие требованию проверяют осмотром, измерениями, а при необходимости - испытаниями, например такими, как испытание электрической прочности изоляции по
16.3.&
25.24. Съемные шнуры, применяемые для промежуточного соединения, должны быть оснащены такими соединительными устройствами, чтобы доступные металлические части не оказались под напряжением в случае разъединения одного из соединительных устройств.
&Соответствие требованию проверяют осмотром и, при необходимости, испытательным пальцем, изображенным на
рисунке 1.&
25.25. Промежуточные шнуры не должны быть доступны без применения инструмента, если при их рассоединении нарушается соответствие требованиям настоящего стандарта.
&Проверку проводят осмотром, а при необходимости - соответствующими испытаниями.&
26. Зажимы внешних проводов
26.1.1. Приборы с креплением типа Х и предназначенные для подсоединения к фиксированной проводке должны иметь зажимы, в которых соединение осуществляется с помощью винтов, гаек и аналогичных по эффективности средств. Эти требования не применяют к приборам, оснащенным проводами питания или с креплением типа Х, использующим специально подготовленный шнур.
Винты и гайки не должны служить для крепления других элементов, за исключением внутренних проводов, если эти провода ограждены так, что их смещение при подсоединении проводов питания маловероятно.
&Соответствие требованию проверяют осмотром.&
| | ИС МЕГАНОРМ: примечание. ГОСТ Р 50043.3-2000 утратил силу с 1 января 2014 года в связи с введением в действие ГОСТ 31195.2.2-2012 (Приказ Росстандарта от 15.11.2012 N 854-ст). | |
Примечания. 1. Требования безопасности для винтовых и безвинтовых зажимных устройств для электрических медных проводов находятся на рассмотрении. Безвинтовые типы зажимных средств по 2.10 ГОСТ Р 50043.3, оснащенные подвижными элементами, считают полностью надежными устройствами.
2. Требования к безвинтовым зажимам даны в ГОСТ Р 50043.3.
(Измененная редакция, Изм. N 2).
26.1.2. В приборах с креплением типа Х для присоединения внешних проводов могут быть использованы соединения пайкой при условии, что провод расположен или закреплен так, что фиксация его в определенном положении зависит не только от одной пайки. Однако можно использовать только пайку, если перегородки выполнены так, чтобы при отсоединении провода в месте пайки пути утечки и воздушные зазоры между токоведущими частями и другими металлическими частями не могли стать меньше 50% значений, указанных в
29.1.
В креплениях типов Y и Z для присоединения внешних проводов могут быть использованы соединения пайкой, сваркой, обжимные и т.п. У приборов класса II провод должен быть, кроме того, расположен или закреплен так, чтобы фиксация его в определенном положении зависела не только от пайки, сварки или обжима. Однако если перегородки выполнены так, что при отсоединении провода в месте пайки или сварки или выскальзывании его из обжимного соединения пути утечки и воздушные зазоры между токоведущими частями и другими металлическими частями не могут стать меньше 50% значений, указанных в
29.1, могут быть использованы только пайка, сварка или обжим.
&Соответствие требованию проверяют осмотром и измерением.&
Примечания. 1. Не предполагается одновременное ослабление двух независимых креплений.
2. Провода, присоединенные только пайкой, не считаются достаточно закрепленными, если они не поддерживаются вблизи зажима, независимо от пайки. Однако закрепление "скобой" перед местом пайки рассматривается как подходящий способ поддержания проводов (кроме многожильного шнура) в необходимом положении при условии, что отверстие, через которое проходит провод, не является чрезмерно большим.
3. Провода, присоединенные к зажиму другими средствами, не считаются достаточно закрепленными, если рядом с зажимом нет дополнительного крепления. Это дополнительное крепление должно прижимать как изоляцию, так и провод гибких шнуров.
4. Зажимы комплектующего изделия (например, выключателя) могут быть использованы как зажимы для внешних проводов при условии, что они удовлетворяют требованиям настоящего раздела.
26.2. Зажимы для крепления типа Х и зажимы для присоединения к фиксированной проводке должны допускать присоединение проводов с номинальным поперечным сечением в соответствии с
таблицей 11. Однако если крепление типа Х оборудовано специально подготовленным шнуром, зажимы должны быть пригодны для подсоединения этого шнура.
&Соответствие требованию проверяют осмотром, измерением и подсоединением кабелей или шнуров с наименьшей и наибольшей из указанных площадями поперечного сечения.&
26.3. Зажимы для шнуров питания должны соответствовать своему назначению. Зажимы с винтовыми креплениями и безвинтовые зажимы не допускается использовать для соединения проводов плоского двойного мишурного шнура, если концы такого шнура не оснащены устройствами, подходящими для использования с винтовыми зажимами.
&Соответствие требованию проверяют осмотром и натяжением соединения с усилием 5 Н.
После испытания соединения не должны иметь повреждений, нарушающих соответствие требованиям настоящего стандарта.&
26.4. Для приборов с креплением типа Х и предназначенных для присоединения к фиксированной проводке зажимы должны быть закреплены так, чтобы во время затягивания или ослабления зажимного устройства:
- зажим не ослабевал;
- внутренняя проводка не подвергалась натяжению;
- пути утечки и воздушные зазоры не уменьшались до значений, меньших, чем указано в
29.1.
| | ИС МЕГАНОРМ: примечание. ГОСТ Р 51686.1-2000 утратил силу с 1 января 2014 года в связи с введением в действие ГОСТ 31602.1-2012 (Приказ Росстандарта от 15.11.2012 N 857-ст). | |
&Соответствие требованию проверяют осмотром и испытанием по 9.6 ГОСТ Р 51686.1 путем приложения крутящего момента, равного 2/3 момента, указанного в таблице 4 ГОСТ Р 51686.1.&
Примечания. 1. Предотвратить ослабление зажимов можно, закрепив их двумя винтами; одним винтом в углублении так, чтобы не было заметного смещения, или другими подходящими способами.
2. Покрытие заливочной массой без других фиксирующих средств считается недостаточным. Допускается использование для фиксации зажимов самотвердеющих смол, если зажимы при нормальной эксплуатации не подвергаются кручению.
(Измененная редакция, Изм. N 2).
26.5. Для приборов, предназначенных для соединения со стационарной проводкой, и приборов с креплением типа Х зажимы должны быть сконструированы так, чтобы провод был зажат между металлическими поверхностями с достаточным контактным давлением, но без повреждения провода.
&Соответствие требованию проверяют осмотром зажимов и проводов после испытания по
26.4.&
26.6. Для приборов с креплением типа Х, кроме использующих специально подготовленный шнур, и приборов, предназначенных для соединения со стационарной проводкой, зажимы не должны требовать специальной подготовки провода. Они должны быть сконструированы или расположены так, чтобы провод не мог выскользнуть при затягивании зажимных винтов или гаек.
&Соответствие требованию проверяют осмотром зажимов и проводов после испытания по
26.4.&
Примечания. 1. Под термином "специальная подготовка провода" подразумевают пропайку проволок многожильного провода, использование кабельных наконечников, образование петель на конце провода и т.п., но не изменение формы провода перед введением его в зажим и не скручивание многожильного провода для укрепления его конца.
2. Провода считают поврежденными, если на них имеются глубокие или острые вмятины и зазубрины.
26.7. Зажимы колонкового типа должны быть сконструированы и расположены так, чтобы конец провода, введенного в отверстие, был виден или мог проходить за пределы отверстия с резьбой на расстояние, равное, по крайней мере, половине номинального диаметра винта, или на расстояние 2,5 мм в зависимости от того, что больше.
&Соответствие требованию проверяют осмотром и измерением.&
26.8. Зажимы, включая зажимы заземления, для подсоединения к фиксированной проводке должны быть расположены близко друг к другу.
&Соответствие требованию проверяют осмотром.&
26.9. Зажимы для крепления типа Х должны быть доступны после удаления крышки или части кожуха.
&Соответствие требованию проверяют осмотром.&
26.10. Зажимы должны быть доступны только после удаления несъемных частей.
&Соответствие требованию проверяют осмотром и испытанием вручную.&
(Измененная редакция, Изм. N 2).
26.11. Зажимы приборов с креплением типа Х должны быть расположены или защищены так, чтобы, если при присоединении многожильного провода к зажиму одна из проволок его остается свободной, не возникла опасность случайного контакта между токоведущими частями и доступными металлическими частями, а для конструкций класса II - между токоведущими частями и металлическими частями, отделенными от доступных металлических частей только дополнительной изоляцией.
&Соответствие требованию проверяют осмотром и следующим испытанием.
С конца гибкого провода, имеющего номинальную площадь поперечного сечения, указанную в
таблице 9, удаляют изоляцию на длине 8 мм.
Одну проволоку многожильного провода оставляют свободной, а остальные проволоки вводят в зажим и зажимают.
Свободную проволоку изгибают, не задирая назад изоляцию, во всех возможных направлениях, но без резких изгибов вокруг перегородок.&
Примечание. Указанному испытанию также подвергают заземляющие провода.
27.1. Доступные металлические части приборов классов 0I и I, которые могут оказаться под напряжением в случае повреждения изоляции, должны быть постоянно и надежно соединены с зажимом заземления внутри прибора или с контактом заземления приборного ввода.
Зажимы заземления и контакты заземления не должны быть соединены с зажимом для нейтрального провода.
Приборы классов 0, II и III не должны иметь устройств для заземления.
&Соответствие требованию проверяют осмотром.&
Примечания. 1. Если доступные металлические части экранированы от токоведущих частей металлическими частями, которые соединены с зажимом заземления или с контактом заземления, то считается, что они не могут оказаться под напряжением в случае повреждения изоляции.
2. Металлические части, расположенные за декоративной крышкой, которая не выдерживает испытание по
разделу 21, считаются доступными металлическими частями.
27.2. Зажимы для присоединения внешних проводов, предназначенных для выравнивания потенциала, должны допускать присоединение проводов с номинальным поперечным сечением от 2,5 до 6 мм2 и не должны использоваться для обеспечения непрерывности заземления между различными частями прибора. Не должно быть возможности ослабления проводов без применения инструмента.
Зажимные устройства зажимов заземления должны быть в достаточной степени зафиксированы от случайного ослабления.
&Соответствие требованию проверяют осмотром и испытанием вручную.&
Примечания. 1. Провод заземления шнура питания не считается проводом, предназначенным для выравнивания потенциала.
2. Конструкция обычно используемых токоведущих зажимов, кроме некоторых зажимов колонкового типа, обеспечивает достаточную упругость для удовлетворения последнего требования. Для других конструкций могут быть необходимы дополнительные меры, такие как использование достаточно упругих частей, которые не могут быть сняты случайно.
(Измененная редакция, Изм. N 2).
27.3. Если съемные части введены вилкой в другие части прибора и имеют заземление, то заземление должно предшествовать соединению с токоведущими частями при установке таких частей на место и, напротив, при снятии таких частей рассоединение токоведущих соединений должно предшествовать разрыву цепи заземления.
Для приборов с шнурами питания расположение зажимов, а также длина проводов между креплением шнура и зажимами должны быть такими, чтобы в случае выскальзывания шнура из крепления шнура натяжение токонесущих проводов происходило раньше, чем натяжение провода заземления.
&Соответствие требованию проверяют осмотром и испытанием вручную.&
27.4. Все части зажима заземления, предназначенные для подсоединения внешних проводов, должны быть такими, чтобы не возникла опасность коррозии из-за контакта между этими частями и медью провода заземления или другим металлом, находящимся в контакте с этими частями.
Части, предназначенные для непрерывности заземления, кроме частей металлической рамы или кожуха, должны быть изготовлены из плакированного или неплакированного металла, обладающего соответствующей стойкостью к коррозии. Если такие части изготовлены из стали, они должны иметь значительную площадь с гальваническим покрытием, имеющим толщину не менее 5 мкм.
Части из плакированной или неплакированной стали, которые предназначены только для обеспечения или передачи контактного давления, должны обладать соответствующей стойкостью к коррозии.
Если корпус зажима заземления является частью рамы или кожуха, выполненных из алюминия или алюминиевых сплавов, то должны быть приняты меры для избежания коррозии из-за контакта между медью и алюминием или его сплавами.
&Соответствие требованиям проверяют осмотром и измерением.&
Примечания. 1. Части из меди или медных сплавов, содержащих не менее 58% меди для частей, работающих в холодных условиях, и не менее 50% меди - для других частей, и части из нержавеющей стали, содержащей не менее 13% хрома, считают обладающими соответствующей стойкостью к коррозии.
2. Части, подвергнутые такой обработке, как, например, хромирование, обычно не считают защищенными соответствующим образом от коррозии, однако их допускается использовать для обеспечения или передачи контактного давления.
3. Примеры частей, обеспечивающих непрерывность заземления, и частей, которые предназначены только для обеспечения или передачи контактного давления, приведены на рисунке 13.
1 - токонесущая часть;
2 - часть,
обеспечивающая или передающая контактное давление
Рисунок 13. Примеры частей заземляющих зажимов
4. Соответствующая поверхность стальной пластины определяется, в частности, возможными дефектами при передаче тока. При определении этой поверхности следует принимать во внимание отношение толщины покрытия к форме части. В сомнительных случаях толщину покрытия измеряют по
ГОСТ 9.302.
27.5. Соединение между зажимом заземления или контактом заземления и заземленными металлическими частями должно иметь небольшое сопротивление.
&Соответствие требованию проверяют следующим испытанием.
Ток, равный 1,5 номинального тока прибора или 25 А, в зависимости от того, что больше, получаемый от источника постоянного или переменного тока, напряжение холостого хода которого не превышает 12 В, пропускают поочередно между зажимом заземления или контактом заземления и каждой из доступных металлических частей.
Измеряют падение напряжения между зажимом заземления прибора или контактом заземления приборного ввода и доступной металлической частью. Сопротивление, рассчитанное по значению падения напряжения и току, не должно превышать 0,1 Ом.&
Примечания. 1. В случае возникновения сомнения испытание проводят до достижения установившегося состояния.
2. Сопротивление шнура питания не учитывают в измеренном сопротивлении.
3. Обращают внимание на то, что необходимо обеспечить, чтобы переходное сопротивление между концом измерительного щупа и испытуемой металлической частью не оказывало влияния на результат испытания.
2.7.4, 2.7.5. (Измененная редакция, Изм. N 2).
27.6. Проводники в печатной плате не должны использоваться в качестве заземляющего проводника в ручных приборах. Они могут быть использованы в качестве заземляющего проводника в других приборах, если:
- по крайней мере два проводника используются с независимыми припойными точками и прибор соответствует требованиям
27.5 для каждого типа схемы;
- материал проводника в печатной плате выполнен в соответствии с ГОСТ 26246.4 или ГОСТ 26246.5.
&Соответствие требованию проверяют осмотром и соответствующими испытаниями.&
(Введен дополнительно, Изм. N 2).
28.1. Крепежные соединения, повреждение которых может привести к нарушению соответствия требованиям настоящего стандарта, электрические соединения и соединения, применяемые в качестве заземляющего проводника, должны выдерживать механические нагрузки, которые возникают при нормальной эксплуатации.
Винты, используемые для этих целей, не должны быть изготовлены из мягкого металла или металла, склонного к текучести, такого как цинк или алюминий. Если такие винты изготовлены из изоляционного материала, они должны иметь номинальный диаметр не менее 3 мм и не должны использоваться для любого электрического соединения или соединения, применяемого в качестве заземляющего проводника.
Винты, используемые для электрических соединений или соединений, применяемых в качестве заземляющего проводника, должны ввинчиваться в металл.
Винты не должны быть изготовлены из изоляционного материала, если их замена металлическими винтами может повредить дополнительную или усиленную изоляцию. Винты, которые могут быть удалены при замене шнура питания, соединенного креплением типа Х, или при проведении текущего ремонта потребителем, не должны быть изготовлены из изоляционного материала, если их замена металлическими винтами может повредить основную изоляцию.
&Соответствие требованию проверяют осмотром и следующим испытанием.
Винты и гайки испытывают, если они:
- используются в электрических соединениях;
- используются для соединений, применяемых в качестве заземляющего проводника (если использованы по крайне мере два винта или гайки);
- достаточно затянуты:
- при эксплуатации потребителем;
- когда заменяемый шнур питания имеет присоединение типа Х;
- при установке.
Винты или гайки завинчивают и отвинчивают без рывков:
10 раз - для винтов, завинчиваемых в резьбу из изоляционного материала;
5 раз - для гаек и других винтов.
Винты, завинчиваемые в резьбу из изоляционного материала, каждый раз полностью вывинчивают и завинчивают вновь.
При испытании гаек и винтов для зажимов в зажим вводят кабель или гибкий шнур с наибольшей площадью поперечного сечения, указанного в
таблице 11. Перед каждым затягиванием изменяют его положение в зажиме.
Испытание проводят с помощью соответствующей отвертки, гаечного ключа с приложением крутящего момента, указанного в
таблице 12.
Графу 1 применяют для металлических винтов без головки, если они не выступают из отверстия после завинчивания.
Графу 2 применяют для:
- других металлических винтов и гаек;
- для винтов из изоляционного материала;
- с шестигранной головкой, расстояние между противоположными гранями которой превышает наружный диаметр резьбы;
- с цилиндрической головкой и гнездом под ключ, расстояние между противоположными вершинами которого превышает наружный диаметр резьбы;
- с головкой, имеющей прямой или крестообразный шлиц, длина которого в 1,5 раза превышает наружный диаметр резьбы.
Графу 3 применяют для других винтов из изоляционного материала.
Во время испытания не должно быть повреждений, которые могли бы воспрепятствовать дальнейшему использованию крепления или соединения.&
Примечания. 1. Винты с крупной резьбой (листовой металл) с номинальным диаметром 2,9 мм считают эквивалентными винтам с метрической резьбой диаметром 3 мм.
2. Форма лезвия отвертки должна соответствовать головке винта.
28.2. Электрические соединения и соединения, применяемые в качестве заземляющего проводника, должны быть сконструированы так, чтобы контактное давление не передавалось через изоляционный материал, который имеет тенденцию к усадке и деформации, кроме тех случаев, когда металлические части обладают достаточной упругостью, чтобы скомпенсировать возможную усадку или деформацию изоляционного материала.
Настоящее требование не применяют к электрическим соединениям в цепях, где ток не превышает 0,5 А.
&Соответствие требованию проверяют осмотром.&
Примечание. Керамический материал не имеет тенденции к усадке и деформации.
28.3. Винты с крупной резьбой (листовой металл) не должны использоваться для электрических соединений, если они не прижимают эти части плотно друг к другу.
Самонарезающие винты не должны использоваться для электрических соединений, если они не образуют полную резьбу стандартного крепежного винта. Такие винты (кроме винтов, резьба которых образуется высадкой в штампе) не допускается использовать, если предполагается, что потребитель или сборщик будет ими манипулировать.
Самонарезающие винты и винты с крупной резьбой могут быть использованы для соединений, обеспечивающих непрерывность заземления, при условии, что нет необходимости нарушать данное соединение при нормальной эксплуатации и для каждого соединения использовано не менее двух винтов.
&Соответствие требованию проверяют осмотром.&
28.4. Винты и гайки, предназначенные для механического соединения различных частей прибора, должны быть фиксированы против ослабления, если это соединение является одновременно электрическим или соединением, обеспечивающим непрерывность заземления.
Примечания. 1. Это требование не относится к винтам в цепи заземления, если для соединения использовано не менее двух винтов и если имеется дополнительная цепь заземления.
2. Пружинные шайбы, блокирующие шайбы или блокировка "корончатого" типа, являющаяся частью головки винта, могут обеспечить достаточную гарантию.
3. Заливочные массы, которые размягчаются при нагревании, обеспечивают удовлетворительную фиксацию только для тех винтовых соединений, которые не подвергаются крутящему моменту при нормальной эксплуатации.
Заклепки, используемые для электрических соединений или соединений, применяемых в качестве заземляющего проводника, должны быть фиксированы против ослабления, если эти соединения подвергаются крутящему моменту при нормальной эксплуатации.
Примечания. 4. Это требование не означает, что требуется более одной заклепки для обеспечения непрерывности заземления.
5. Некруглая форма стержня или соответствующий паз могут оказаться достаточными.
&Соответствие требованию проверяют осмотром и испытанием вручную.&
28.1 - 28.4. (Измененная редакция, Изм. N 2).
29. Пути утечки тока, воздушные зазоры
и расстояния по изоляции
29.1. Пути утечки тока и воздушные зазоры не должны быть меньше значений, указанных в таблице 13.
Таблица 13
Минимальные пути утечки тока и воздушные зазоры
┌───────────────────────────┬────────────────────────────────────┐
│ Расстояние │ Значение путей утечки тока (П) │
│ │ и воздушных зазоров (В), мм, для │
│ ├────────┬───────────────────────────┤
│ │приборов│ других приборов │
│ │и конст-├───────────────────────────┤
│ │рукций │ рабочее напряжение, В │
│ │класса ├────────┬─────────┬────────┤
│ │III │ <= 130 │ >130 и │>250 и │
│ │ │ │ <= 250 │ <= 480 │
│ ├───┬────┼────┬───┼────┬────┼────┬───┤
│ │ П │ В │ П │ В │ П │ В │ П │ В │
├───────────────────────────┼───┼────┼────┼───┼────┼────┼────┼───┤
│ Между токоведущими │ │ │ │ │ │ │ │ │
│частями различной │ │ │ │ │ │ │ │ │
│полярности
<1>: │ │ │ │ │ │ │ │ │
│ - защищенными от осажде- │1,0│1,0 │1,0 │1,0│2,0 │2,0 │2,0 │2,0│
│ния грязи │ │ │ │ │ │ │ │ │
│ - не защищенными от │2,0│1,5 │2,0 │1,5│3,0 │2,5 │4,0 │3,0│
│осаждения грязи │ │ │ │ │ │ │ │ │
│ - если обмотки покрыты │1,0│1,0 │1,5 │1,5│2,0 │2,0 │3,0 │3,0│
│лаком или эмалью │ │ │ │ │ │ │ │ │
│ - для резисторов с │- │- │1,0 │1,0│1,0 │1,0 │- │- │
│положительным температурным│ │ │ │ │ │ │ │ │
│коэффициентом, включая их │ │ │ │ │ │ │ │ │
│соединительную проволоку, │ │ │ │ │ │ │ │ │
│если они защищены от │ │ │ │ │ │ │ │ │
│осаждения влаги и грязи
<2>│ │ │ │ │ │ │ │ │
│ Между токоведущими и дру- │ │ │ │ │ │ │ │ │
│гими металлическими частями│ │ │ │ │ │ │ │ │
│по основной изоляции: │ │ │ │ │ │ │ │ │
│ - защищенной от осаждения│1,0│1,0 │1,0 │1,0│2,5 │2,5 │- │- │
│грязи
<2> и выполненной │ │ │ │ │
<3> │
<3> │ │ │
│из керамики, чистой слюды │ │ │ │ │ │ │ │ │
│и т.п. │ │ │ │ │ │ │ │ │
│ - выполненной из других │1,5│1,0 │1,5 │1,0│3,0 │2,5 │- │- │
│материалов │ │ │ │ │ │
<3> │ │ │
│ - не защищенной │2,0│1,5 │2,0 │1,5│4,0 │3,0 │- │- │
│от осаждения грязи │ │ │ │ │ │ │ │ │
│ - если токоведущими │1,0│1,0 │1,5 │1,5│2,0 │2,0 │- │- │
│частями являются обмотки, │ │ │ │ │ │ │ │ │
│покрытые лаком или эмалью │ │ │ │ │ │ │ │ │
│ - на конце трубчатых │- │- │1,0 │1,0│1,0 │1,04│- │- │
│нагревательных элементов │ │ │ │ │
<5> │
<4> │ │ │
│ Между токоведущими частями│ │ │ │ │ │ │ │ │
│и другими частями │ │ │ │ │ │ │ │ │
│по усиленной изоляции: │ │ │ │ │ │ │ │ │
│ - если токоведущими │- │- │6,0 │6,0│6,0 │6,0 │- │- │
│частями являются обмотки, │ │ │ │ │ │ │ │ │
│покрытые лаком или эмалью │ │ │ │ │ │ │ │ │
│ - для других токоведущих │- │- │8,0 │8,0│8,0 │8,0 │- │- │
│частей │ │ │ │ │ │ │ │ │
│ Между металлическими │- │- │4,0 │4,0│4,0 │4,0 │- │- │
│частями, разделенными │ │ │ │ │ │ │ │ │
│дополнительной изоляцией │ │ │ │ │ │ │ │ │
│ Между токоведущими │2,0│2,0 │6,0 │6,0│6,0 │6,0 │- │- │
│частями, расположенными │ │ │ │ │ │ │ │ │
│в углублении со стороны │ │ │ │ │ │ │ │ │
│установочной поверхности │ │ │ │ │ │ │ │ │
│прибора, и поверхностью, │ │ │ │ │ │ │ │ │
│к которой он крепится │ │ │ │ │ │ │ │ │
├───────────────────────────┴───┴────┴────┴───┴────┴────┴────┴───┤
│ <1> Указанные расстояния не распространяются на воздушные│
│зазоры между контактами устройств автоматического регулирования,│
│микровыключателей и подобных элементов или на воздушные зазоры│
│между токоведущими элементами таких устройств, воздушные зазоры│
│которых изменяются при перемещении контактов. │
│ <2> Обычно внутренняя часть прибора, имеющего достаточно│
│пылезащитный кожух, считается защищенной от осаждения грязи при│
│условии, что при работе прибора в нем самом не образуется пыли;│
│герметичное уплотнение не требуется. │
│ <3> Если части являются жесткими и запрессованными или если│
│конструкция исключает возможность уменьшения расстояния│
│вследствие деформации или перемещения этих частей, указанное│
│значение может быть уменьшено до 2,0 мм. │
│ <4> Для защищенных от осаждения грязи. │
│ <5> По керамике, чистой слюде и другим подобным материалам,│
│защищенным от осаждения грязи. │
└────────────────────────────────────────────────────────────────┘
Если между точкой, в которой соединены обмотка и конденсатор, и металлическими частями, отделенными от токоведущих частей только основной изоляцией, возникает резонансное напряжение, то пути утечки тока и воздушные зазоры должны быть не меньше значений, соответствующих резонансному напряжению; в случае усиленной изоляции эти значения должны быть увеличены на 4 мм.
&Соответствие требованию проверяют измерением.
Для приборов, снабженных приборным вводом, измерения проводят с вмонтированным в приборный ввод соответствующим соединителем. Для приборов с креплением типа Х, кроме использующих специально подготовленный шнур, измерения проводят с питающими проводами с наибольшей площадью поперечного сечения, указанной в
таблице 11, а также без проводов. Для других приборов измерения проводят в состоянии их поставки.
Для приборов, снабженных ремнями, измерения проводят при установленных на место ремнях и с устройствами для изменения натяжения ремней, установленными в наиболее неблагоприятное положение в пределах диапазона их регулирования; измерения проводят также при снятых ремнях.
Подвижные части помещают в наиболее неблагоприятное положение. Гайки и винты с некруглой головкой затягивают так, чтобы они занимали наиболее неблагоприятное положение.
Воздушные зазоры между зажимами и доступными металлическими частями измеряют также при вывинченных, насколько возможно, винтах или гайках; воздушные зазоры должны быть при этом не менее 50% значений, указанных в
таблице 13.
Расстояние через щели или отверстия в наружных частях изоляционного материала измеряют до металлической фольги, соприкасающейся с доступной поверхностью. Фольга вталкивается в углы и другие подобные места испытательным пальцем, показанным на
рисунке 1, но не вдавливается в отверстия.
При необходимости во время измерения прикладывают силу к любой точке оголенных проводов (кроме нагревательных элементов), неизолированных металлических капиллярных трубок терморегуляторов и аналогичных устройств и к внешней поверхности металлических кожухов, пытаясь уменьшить пути утечки и воздушные зазоры.
Усилие прикладывают посредством испытательного пальца, показанного на
рисунке 1, а значение этого усилия должно составлять:
2 Н - для оголенных проводов и неизолированных капиллярных трубок терморегуляторов и аналогичных устройств, токопроводящих шлангов, металлической фольги внутри прибора и т.п.;
30 Н - для кожухов.&
Примечания. 1. Способы измерения путей утечки тока и воздушных зазоров указаны в
Приложении Е.
2. При наличии промежуточной перегородки воздушный зазор измеряют через перегородку. Если перегородка состоит из двух частей, не склеенных между собой, пути утечки тока и воздушные зазоры измеряют через соединение этих частей.
3. Для приборов с двойной изоляцией в тех местах, где между основной изоляцией и дополнительной изоляцией отсутствуют металлические части, измерение проводят так, как будто между двумя изоляциями находится металлическая фольга.
4. При определении путей утечки тока и воздушных зазоров учитывают влияние внутренних изоляционных покрытий на металлических кожухах или крышках.
5. Средства, предназначенные для крепления прибора к опоре, считают доступными.
6. Значения, указанные в
таблице 13, не относятся к точкам пересечения обмоток двигателя.
&Для проводящих схем на печатной плате, за исключением углов, значения, указанные в
таблице 13 между частями различной полярности, могут быть уменьшены, если пиковое значение напряжения не превышает:
150 В на 1 мм при минимальном расстоянии 0,2 мм, если они защищены от осаждения грязи;
100 В на 1 мм при минимальном расстоянии 0,5 мм, если они не защищены от осаждения грязи.
Для пиковых напряжений, превышающих 50 В, уменьшение путей утечки допускается только в том случае, если контрольный индекс трекингостойкости (КИТ) печатной платы, измеренный, как указано в
Приложении N, больше 175.
Эти расстояния еще могут быть уменьшены, если прибор соответствует требованиям
раздела 19 при поочередном закорачивании этих расстояний.&
Примечание. 7. Если указанные выше пределы приближаются к более высоким значениям по сравнению с указанными в
таблице 13, то применяют табличные значения.
&Пути утечки тока и воздушные зазоры внутри оптических соединений не измеряют.
Для токоведущих частей различной полярности, отделенных только основной изоляцией, допускаются меньшие по сравнению с указанными в
таблице 13 значениями пути утечки тока и воздушные зазоры, если выполняются требования
раздела 19 при поочередном закорачивании этих путей.&
29.2. Расстояние через изоляцию между металлическими частями при рабочих напряжениях до 250 В включительно должно быть не менее 1,0 мм, если эти части разделены дополнительной изоляцией, и должно быть не менее 2,0 мм, если эти части разделены усиленной изоляцией.
&Соответствие требованию проверяют осмотром и измерением.&
Примечания. 1. Это требование не означает, что указанное расстояние через изоляцию должно быть образовано толщиной только твердого материала. Изоляция может состоять из твердого материала и одного или нескольких воздушных промежутков.
2. Для приборов с двойной изоляцией в тех местах, где между основной и дополнительной изоляцией отсутствуют металлические части, измерение проводят так, как будто между основной и дополнительной изоляцией находится металлическая фольга.
29.2.1. Это требование не распространяется на изоляцию, за исключением слюды и аналогичного чешуйчатого материала, которая имеет вид тонкого листа и состоит:
- в случае дополнительной изоляции - по крайней мере из двух слоев, когда каждый слой выдерживает испытание на электрическую прочность по
16.3, установленное для дополнительной изоляции;
- в случае усиленной изоляции - по крайней мере из трех слоев, когда любые из них два, приложенные друг к другу, выдерживают испытание на электрическую прочность по
16.3, установленное для усиленной изоляции.
&Соответствие требованию проверяют осмотром.&
29.2.2. Это требование также не распространяется на недоступную дополнительную и усиленную изоляции, если при этом выполняются следующие условия:
- максимальное превышение температуры в процессе испытаний по
разделу 19 не более значений, указанных в
11.8;
- изоляция после выдержки в течение 168 ч в печи при температуре на 50 °С выше максимального превышения температуры, измеренного при испытании по
разделу 19, выдерживает испытание на электрическую прочность изоляции по
16.3 как при температуре, поддерживаемой в печи, так и после охлаждения до комнатной температуры.
&Соответствие требованию проверяют осмотром и испытаниями.
Для оптических соединителей процедуру кондиционирования проводят при температуре на 50 °С выше максимального превышения температуры, измеренного на оптическом соединителе при испытаниях по
разделу 11 или
19 при работе оптических соединителей в наиболее неблагоприятных условиях, возникающих при этих испытаниях.&
| | Применение на добровольной основе раздела 30 обеспечивает соблюдение требований Федерального закона от 22.07.2008 N 123-ФЗ "Технический регламент о требованиях пожарной безопасности" (Приказ Ростехрегулирования от 30.04.2009 N 1573). | |
30. Теплостойкость, огнестойкость и стойкость
к образованию токоведущих мостиков
Примечание. Испытания по этому разделу основаны на действующих стандартах, относящихся к данному вопросу. Другие предложения по определению огнестойкости, как, например, предварительные отборочные испытания, находятся на рассмотрении.
В
Приложении Н указано, как выбирать и в каком порядке проводить испытания по настоящему разделу.
30.1. Наружные части из неметаллических материалов, части из изоляционных материалов, поддерживающие токоведущие части, включая соединения, и части из термоэлектрических материалов, используемых как дополнительная или усиленная изоляция, повреждение которых может привести к несоответствию прибора требованиям настоящего стандарта, должны быть достаточно теплостойкими.
&Соответствие требованию проверяют, подвергая соответствующие части воздействию давлением шарика с помощью устройства, приведенного на рисунке 14.&
1 - сферическая часть; 2 - образец
Рисунок 14. Устройство для вдавливания шарика
&Перед началом проведения испытаний образец выдерживают в течение 24 ч в атмосфере, имеющей температуру от 15 до 35 °С и относительную влажность от 45 до 75%.
Часть размещают на подставке таким образом, чтобы ее верхняя поверхность расположилась горизонтально, и давят на эту поверхность силой 20 Н сферической частью испытательного устройства. Часть, подвергаемая испытанию, должна быть толщиной не менее 2,5 мм.&
Примечание. 1. При необходимости для достижения требуемой толщины используют две или несколько секций части.
&Испытания проводят в термокамере при температуре (40 +/- 2) °С плюс максимальное превышение температуры, достигнутое при испытании по
разделу 11, но не менее:
(75 +/- 2) °С - для наружных частей;
(125 +/- 2) °С - для частей, поддерживающих токоведущие части.
Для частей из термопластических материалов, используемых в качестве дополнительной или усиленной изоляции, испытания проводят при температуре (25,2) °С плюс максимальное значение превышения температуры, полученное при испытании по
разделу 19, если в этом случае получаются большие значения по сравнению с указанными выше. Превышения температуры, достигнутые при испытании по
19.4, во внимание не принимают, если испытание было прервано срабатыванием защитного устройства без самовозврата и была необходимость снять крышку или использовать инструмент для его повторного включения.
Перед началом испытания испытательное устройство доводят до указанной выше температуры.
Через 1 ч устройство удаляют, а часть охлаждают приблизительно до температуры помещения путем немедленного погружения ее на 10 с в холодную воду. Диаметр отпечатка не должен превышать 2 мм.&
Примечания. 2. У сердечников обмоток испытанию подвергают только те части, которые служат подставкой или поддерживают в определенном положении зажимы.
3. Части из керамических материалов испытанию не подвергают.
30.2. Части из неметаллических материалов должны обладать достаточной сопротивляемостью к воспламенению и к распространению огня.
Это требование неприменимо к декоративным украшениям, кнопкам и другим частям, воспламенение которых маловероятно или по которым не может быть распространено пламя, возникшее внутри прибора.
&Соответствие требованию проверяют испытаниями по
30.2.1,
30.2.4 и, в зависимости от применимости, по
30.2.2 или
30.2.3.
30.2.1. Отдельно отформованные образцы соответствующих частей подвергают испытанию горением согласно
Приложению I. Однако вместо испытания горением проводят испытание раскаленной проволокой по
Приложению К при температуре 550 °С на соответствующих частях прибора, если:
- отсутствуют специально отформованные образцы или
- нет доказательств, что материал выдерживает испытание на горение, или
- отдельно отформованные образцы не выдержали испытание горением.
30.2.2. В приборах, предназначенных для работы под надзором, части из изоляционных материалов, поддерживающие соединения, по которым при нормальной эксплуатации проходит ток более 0,5 А, подвергают испытанию раскаленной проволокой по
Приложению К при температуре 650 °С. Испытывают также части, контактирующие или находящиеся в непосредственной близости к таким соединениям.
Этому испытанию не подвергают ручные приборы, приборы, которые удерживают во включенном состоянии рукой или ногой, и приборы, которые непрерывно нагружают рукой.&
Примечания. 1. Испытанию не подвергают части, поддерживающие сварные соединения.
2. Понятие "в непосредственной близости" обычно означает, что это расстояние не более 3 мм.
&30.2.3. В других приборах соединения, поддерживаемые частями из изоляционных материалов и проводящие ток в условиях нормальной работы более 0,5 А, подвергают испытанию на дефектное соединение по
Приложению L. При невозможности проведения указанного испытания из-за конструкции соединения части из изоляционных материалов, поддерживающие это соединение, подвергают испытанию раскаленной проволокой по
Приложению К при температуре 750 °С. В этом случае испытанию подвергают также части, находящиеся в контакте или в непосредственной близости от соединения.&
Примечания. 1. Испытанию не подвергают части, поддерживающие сварные соединения.
2. Понятие "в непосредственной близости" обычно означает, что это расстояние не более 3 мм.
&Во время испытания раскаленной проволокой измеряют высоту пламени и продолжительность горения.
Кроме того, для частей, выдержавших испытание раскаленной проволокой, но у которых возникало пламя в процессе приложения раскаленной проволоки, окружающие части подвергают испытанию игольчатым пламенем по
Приложению М с целью измерения продолжительности горения, если:
- эти части расположены на расстоянии, равном высоте пламени, и
- они, вероятно, будут охвачены пламенем.
Однако части, отделенные отдельной перегородкой, которая выдерживает испытание игольчатым пламенем, испытанию не подвергают.
Испытание игольчатым пламенем не проводят на частях, материал которых в соответствии с
ГОСТ 28779 классифицирован как FV-0 или FV-1. Образцы материала, испытанные по
ГОСТ 28779, не должны быть толще соответствующих частей.&
Примечание. 3. Частями, которые, вероятно, будут охвачены пламенем, считают части, которые находятся внутри вертикального цилиндра, имеющего радиус 10 мм и высоту, равную высоте пламени, над точкой приложения раскаленной проволоки.
30.2.4. &Если части не выдержат испытание по
30.2.2 или
30.2.3, проводят испытание игольчатым пламенем по
Приложению М на всех других частях из неметаллических материалов, которые расположены на расстоянии <= 50 мм. При этом части, отделенные отдельной перегородкой, которая выдерживает испытание игольчатым пламенем, испытанию не подвергают.
Испытание игольчатым пламенем не проводят на частях, изготовленных из материала, который в соответствии с
ГОСТ 28779 классифицирован как FV-0 или FV-1. Образцы материала, испытанные по
ГОСТ 28779, не должны быть толще соответствующих частей.&
30.3. Изоляционные материалы, через которые возможно образование токоведущих мостиков, должны быть трекингостойкими с учетом жесткости условий эксплуатации этих материалов.
Токоведущие мостики могут образоваться:
- между токоведущими частями различной полярности;
- между токоведущими и заземленными металлическими частями;
- через изоляционные материалы коллекторов и щеткодержателей.
&Соответствие требованию проверяют испытанием на образование токоведущих мостиков в соответствии с
Приложением N.
Части из изоляционных материалов, работающие в нормальных условиях, и части из керамических материалов испытанию не подвергают.
Части из изоляционных материалов, работающие в жестких условиях, испытывают при напряжении 175 В. Если материал не выдерживает это испытание, но нет другой опасности, кроме опасности возгорания, окружающие части прибора подвергают испытанию игольчатым пламенем по
Приложению М.
Части из изоляционных материалов, работающие в сверхжестких условиях, испытывают при напряжении 250 В. Если материал не выдержит это испытание, но выдержит испытание при напряжении 175 В и не возникает никакой другой опасности, кроме опасности возгорания, окружающие части подвергают испытанию игольчатым пламенем по
Приложению М.
Испытание игольчатым пламенем не проводят на частях, изготовленных из материалов, которые в соответствии с
ГОСТ 28779 классифицированы как FV-0 или FV-1. Образцы материала, испытанные по
ГОСТ 28779, не должны быть толще соответствующих частей.&
Примечания. 1. Испытанию игольчатым пламенем подвергают все части из неметаллических материалов, расположенные на расстоянии не более 50 мм от мест, где возможно образование токоведущих мостиков. При этом если эти части отделены отдельной перегородкой, которая выдерживает испытание игольчатым пламенем, их испытанию не подвергают.
2. Жесткость условий эксплуатации изоляционных материалов определена в
Приложении Р.
Части из черных металлов, коррозия которых может привести к несоответствию приборов требованиям настоящего стандарта, должны иметь достаточную защиту от коррозии.
Примечание. Методику испытаний, при необходимости, приводят в стандарте на конкретное изделие.
32. Радиация, токсичность и подобные опасности
Приборы не должны испускать вредные излучения или быть источником токсичности или других подобных видов опасности.
Примечание. Методы испытаний, при необходимости, приводят в стандарте на конкретное изделие.
(справочное)
В настоящем стандарте использованы ссылки на следующие стандарты:
ГОСТ 9.302-88 (ИСО 1463-82, ИСО 2064-80, ИСО 2106-82, ИСО 2128-76, ИСО 2177-85, ИСО 2178-82, ИСО 2360-82, ИСО 2361-82, ИСО 2819-80, ИСО 3497-76, ИСО 3543-81, ИСО 3613-80, ИСО 3882-86, ИСО 3892-80, ИСО 4516-80, ИСО 4518-80, ИСО 4522-1-85, ИСО 4522-2-85, ИСО 4524-1-85, ИСО 4524-3-85, ИСО 4524-5-85, ИСО 8401-86). Единая система защиты от коррозии и старения. Покрытия металлические и неметаллические неорганические. Методы контроля
ГОСТ 12.2.006-87 (МЭК 65-85). Безопасность аппаратуры электронной сетевой и сходных с ней устройств, предназначенных для бытового и аналогичного общего применения. Общие требования и методы испытаний
ГОСТ 12.2.013.0-91 (МЭК 745-1-82). Система стандартов безопасности труда. Машины ручные электрические. Общие требования безопасности и методы испытаний
ГОСТ МЭК 252-95/ГОСТ Р МЭК 252-94. Конденсаторы для двигателей переменного тока
ГОСТ МЭК 384-14-95/ГОСТ Р МЭК 384-14-94. Конденсаторы постоянной емкости для электронной аппаратуры. Часть 14. Групповые технические условия на конденсаторы постоянной емкости для подавления электромагнитных помех и соединения с питающими магистралями
ГОСТ 7396.1-89 (МЭК 83-75). Соединители электрические штепсельные бытового и аналогичного назначения. Основные размеры
ГОСТ 7399-97. Провода и шнуры на номинальное напряжение до 450/750 В. Технические условия
ГОСТ 14254-96 (МЭК 529-89). Степени защиты, обеспечиваемые оболочками (Код IP)
ГОСТ 26246.4-89 (МЭК 249-2-4-87). Материал электроизоляционный фольгированный общего назначения для печатных плат на основе стеклоткани, пропитанной эпоксидным связующим. Технические условия
ГОСТ 26246.5-89 (МЭК 249-2-5-87). Материал электроизоляционный фольгированный нормированной горючести для печатных плат на основе стеклоткани, пропитанной эпоксидным связующим. Технические условия
ГОСТ 27473-87 (МЭК 112-79). Материалы электроизоляционные твердые. Метод определения сравнительного и контрольного индексов трекингостойкости во влажной среде
ГОСТ 27483-87 (МЭК 695-2-1-80). Испытания на пожароопасность. Методы испытаний. Испытания нагретой проволокой
ГОСТ 27484-87 (МЭК 695-2-2-80). Испытание на пожароопасность. Методы испытаний. Испытания горелкой с игольчатым пламенем
ГОСТ 27924-88 (МЭК 695-2-3-84). Испытания на пожароопасность. Методы испытаний. Испытания на плохой контакт при помощи накальных элементов
ГОСТ 28218-89 (МЭК 68-2-32-75). Основные методы испытаний на воздействие внешних факторов. Часть 2. Испытания. Испытание Ed: Свободное падение
ГОСТ 28779-90 (МЭК 707-81). Материалы электроизоляционные твердые. Методы определения воспламеняемости под воздействием источника зажигания
| | ИС МЕГАНОРМ: примечание. ГОСТ Р 50043.3-2000 утратил силу с 1 января 2014 года в связи с введением в действие ГОСТ 31195.2.2-2012 (Приказ Росстандарта от 15.11.2012 N 854-ст). | |
ГОСТ Р 50043.3-2000 (МЭК 60998-2-2-91). Соединительные устройства для низковольтных цепей бытового и аналогичного назначения. Часть 2-2. Дополнительные требования к безвинтовым контактным зажимам для присоединения медных проводников
ГОСТ Р 51323-1-99 (МЭК 60309-1-99). Вилки, штепсельные розетки и соединительные устройства промышленного назначения. Часть 1. Общие требования
ГОСТ Р 51325.1-99 (МЭК 60320-1-94). Соединители электрические бытового и аналогичного назначения. Часть 1. Общие требования и методы испытаний
| | ИС МЕГАНОРМ: примечание. ГОСТ Р 51686.1-2000 утратил силу с 1 января 2014 года в связи с введением в действие ГОСТ 31602.1-2012 (Приказ Росстандарта от 15.11.2012 N 857-ст). | |
ГОСТ Р 51686.1-2000 (МЭК 60999-1-99). Соединительные устройства. Требования безопасности к контактным зажимам. Часть 1. Требования к винтовым и безвинтовым контактным зажимам для соединения медных проводников с номинальным сечением от 0,2 до 35 мм2
ГОСТ Р МЭК 60335-2-29-98. Безопасность бытовых и аналогичных электрических приборов. Дополнительные требования к зарядным устройствам батарей и методы испытаний
| | ИС МЕГАНОРМ: примечание. Взамен ГОСТ Р МЭК 60598-1-99 Постановлением Госстандарта РФ от 07.02.2003 N 51-ст с 1 января 2004 года введен в действие ГОСТ Р МЭК 60598-1-2003. | |
ГОСТ Р МЭК 60598-1-99. Светильники. Часть 1. Общие требования и методы испытаний
Приложение А. (Измененная редакция, Изм. N 2).
(обязательное)
ПИТАЮЩИЕСЯ ОТ ПЕРЕЗАРЯЖАЕМЫХ БАТАРЕЙ
В.1. Область применения
Настоящее приложение применяют к приборам, питающимся от перезаряжаемых батарей, которые заряжают в приборе.
Примечание. Настоящее приложение не распространяется на зарядные устройства батарей по ГОСТ Р МЭК 60335-2-29.
Все требования настоящего стандарта распространяются на приборы, питающиеся от перезаряжаемых батарей, с уточнениями, приведенными ниже.
В.2. Определения
В.2.2.9. Нормальная работа - приборы работают при следующих условиях:
- прибор снабжен полным зарядным устройством батарей, работающих, как описано в стандартах на конкретные изделия;
- прибор заряжен, батарею в исходном положении разряжают до такой степени, что прибор не может работать;
- если возможно, прибор поставляют с полным запасом зарядных устройств батарей; батарею в исходном положении разряжают до такой степени, что прибор не может работать. Прибор работает, как установлено в стандартах на конкретное изделие.
В.2.7.2.
Примечание. Если какую-то часть необходимо снять с целью удаления батареи перед чисткой прибора, эту часть не считают съемной, даже если в инструкциях указано, что она должна быть удалена.
В.4. Общие условия испытаний
В.4.101. &Если иное не установлено, то когда приборы питаются от электросети, их испытывают, как установлено для приборов с двигателем.&
В.7. Маркировка и инструкции
В.7.1. Отделение для батарей прибора, содержащее батареи, которые предназначены для установления пользователем, должно быть маркировано напряжением батареи и полярностью концов.
Примечания. 1. Если для маркирования используют цвета, то позиция конца должна быть окрашена в красный цвет, и противоположный конец - в черный.
2. Цвет не используют только для обозначения полярности.
В.7.12. Инструкции должны содержать информацию о заряде.
Инструкции для приборов, содержащих батареи, которые предназначены для установления пользователем, должны включать в себя следующее:
- рекомендуемый тип батареи;
- ориентирование батареи относительно полярности;
- метод замены батарей;
- подробности относительно безопасности расположения используемых батарей;
- предупреждение о повторном использовании неперезаряжаемых батарей;
- как поступать с батареями, имеющими течь электролита.
Инструкции для приборов, имеющих батарею, содержащую материалы, которые представляют опасность для окружающей среды, должны содержать подробности по удалению батареи и устанавливать, что:
- батарея должна быть удалена из прибора перед его чисткой;
- батарея должна быть безопасно расположена;
- прибор должен быть выключен из сети при удалении батареи.
В.7.15. Маркировки, отличные от относящихся к батареям, должны быть указаны на части прибора, которую подсоединяют к электрической сети.
В.8. Защита от контакта с токоведущими частями
В.8.2. Приборы, оснащенные батареями, которые заменяются пользователем в соответствии с инструкцией, должны иметь только основную изоляцию между токоведущими частями и внутренней поверхностью отделения для батареи. Если прибор может работать без батарей, то требуется двойная или усиленная изоляция.
В.11. Нагрев
В.11.7. &Батарею заряжают на период времени, указанный в инструкции по эксплуатации, или на 24 ч, в зависимости от того, какой период времени длиннее.&
В.19. Ненормальная работа
В.19.1. &Приборы испытывают также в соответствии с В.19.101, В.19.102 и
В.19.103.&
В.19.10. Не применяют.
В.19.101. &Приборы работают при номинальном напряжении и заряжаются на 168 ч.&
В.19.102. &В приборах, имеющих батареи, вынимаемые без помощи инструмента, и клеммы которых могут быть замкнуты тонкой прямой полоской металла, клеммы батареи проверяют при коротком замыкании, при этом батарея должна быть полностью заряжена.&
В.19.103. &Приборы, оснащенные батареями, заменяемыми пользователем, работают при номинальном напряжении и испытываются в стандартных условиях, но с вынутой батареей, либо с батареей, установленной в любое положение, допускаемое конструкцией.&
В.21. Механическая прочность
В.21.101. Приборы со штифтами, вставляемыми в розетки, должны обладать соответствующей механической прочностью.
&Соответствие требованию проверяют, испытывая часть прибора со штифтами на свободное падение по
ГОСТ 28218.
Число падений должно быть равно:
100 - если масса указанной части не превышает 250 г;
50 - если масса указанной части превышает 250 г.
После проведения указанного испытания применяют требования
8.1,
15.1.1,
16.3 и
29.1.&
В.22. Конструкция
В.22.3.
Примечание. Приборы со штифтами, вставляемыми в розетки, испытывают собранными наиболее полно.
В.25. Присоединение к источнику питания и внешние гибкие шнуры
В.25.13.2.
Примечание. Требование не применяют к внутренним шнурам, находящимся под безопасным сверхнизким напряжением.
В.30. Теплостойкость, огнестойкость и стойкость к образованию токоведущих мостиков
В.30.2. &К частям прибора, подсоединяемым к основному источнику питания во время зарядки, применяют требования по
30.2.3; к остальным частям - по
30.2.2.&
Приложение В. (Измененная редакция, Изм. N 1, 2).
(обязательное)
ИСПЫТАНИЕ ДВИГАТЕЛЕЙ НА СТАРЕНИЕ
&Это испытание может быть проведено, когда имеется сомнение относительно классификации системы изоляции, применяемой в двигателе, например:
- когда общеизвестные изоляционные материалы использованы нетрадиционным способом;
- когда использованы комбинации материалов различных температурных классов при температуре более высокой, чем допускается самым низким классом использованного материала;
- когда использованы материалы, для которых нет достаточных экспериментальных данных, например в двигателях, где изоляция и сердечник составляют единое целое.
Испытание проводят на шести образцах двигателей.
Ротор каждого из двигателей затормаживают и отдельно через каждую обмотку ротора и статора пропускают ток такой величины, чтобы температура соответствующей обмотки была равна максимальному превышению температуры, измеренному в условиях, указанных в
разделе 11, увеличенному на 25 °С. Это значение температуры повышают еще на одно из значений, указанных в приведенной ниже таблице. Общее время, в течение которого пропускают ток через обмотки, для выбранного значения повышения температуры указано ниже в таблице.&
┌────────────────────────────────┬───────────────────────────────┐
│ Повышение температуры, °С │ Общее время, ч │
├────────────────────────────────┼───────────────────────────────┤
│0 +/- 3 │р <*> │
│10 +/- 3 │0,5р │
│20 +/- 3 │0,25р │
│30 +/- 3 │0,125р │
├────────────────────────────────┴───────────────────────────────┤
│ <*> р = 8000 ч, если иное не указано в стандарте на│
│конкретное изделие. │
└────────────────────────────────────────────────────────────────┘
Примечание. 1. Выбор повышения температуры согласовывают с изготовителем.
&Общее время разделяют на четыре одинаковых периода, после каждого из которых двигатель подвергается в течение 48 ч влажной обработке, как указано в
15.3. После последней влажной обработки изоляция должна выдерживать испытание на электрическую прочность, как указано в
16.3, при этом испытательное напряжение снижают до 50% значений, указанных в
таблице 5 настоящего стандарта.
После каждого из четырех периодов и перед последующей влажной обработкой измеряют ток утечки системы изоляции, как указано в
13.2, причем все компоненты, не образующие часть системы изоляции, подвергаемой испытанию, перед измерением отсоединяют.
Ток утечки не должен превышать 0,5 мА.
Повреждение только одного из шести двигателей в течение первого из четырех периодов испытания не принимается во внимание.
Если один из шести двигателей повреждается в течение второго, третьего или четвертого периодов испытания, то остальные пять двигателей подвергают дополнительному испытанию в пятом периоде и влажной обработке, за которыми следует испытание на электрическую прочность изоляции, как указано выше.
Остальные пять двигателей должны полностью пройти испытание.&
Примечание. 2. Если необходимо доказать, что система изоляции относится к классу нагревостойкости, заявленному изготовителем, то температура обмотки при испытании должна быть равна пределу температуры заявленного класса, увеличенной на значение повышения температуры, выбранное из
таблицы.
(обязательное)
ТРЕБОВАНИЙ ДЛЯ ДВИГАТЕЛЕЙ С ЗАЩИТНЫМИ УСТРОЙСТВАМИ
Варианты приборов, предназначенных для работы без надзора, имеющих защитные устройства, должны выдерживать следующие испытания.
Защитное устройство, которое может быть возвращено в исходное состояние вручную, должно иметь выключающий механизм со свободным расцеплением.
&Испытание по
19.7 проводят на отдельном образце, либо встроенном в прибор, либо с двигателем, установленным на стенде. При этом продолжительность испытания должна составлять:
- двигатель с защитным устройством с самовозвратом должен работать в циклическом режиме с заторможенным ротором в течение 72 ч - для приборов, находящихся под напряжением непродолжительное время, и в течение 432 ч - для приборов, находящихся под напряжением длительное время;
- двигатель с защитным устройством с ручным возвратом должен работать 60 циклов при заторможенном роторе, причем после каждого срабатывания защитного устройства его возвращают в исходное состояние настолько быстро, насколько возможно, чтобы защитное устройство включилось, но не менее чем через 30 с.
Температура регистрируется через определенные промежутки времени в течение первых 72 ч для двигателей, снабженных защитным устройством с самовозвратом, и в течение первых десяти срабатываний для двигателей, снабженных защитным устройством с ручным возвратом. Температура не должна превышать значений, указанных в
19.7.
Во время испытания защитное устройство должно работать надежно и удовлетворять требованиям
раздела 8. Не должно быть возгорания.
После периода времени, установленного для измерения температуры, двигатель должен выдерживать испытание на электрическую прочность по
16.3, но при испытательном напряжении, указанном в
19.13.&
(обязательное)
ИЗМЕРЕНИЕ ПУТЕЙ УТЕЧКИ ТОКА И ВОЗДУШНЫХ ЗАЗОРОВ
В настоящем приложении (см. примеры от
1 до
10) указаны способы измерения путей утечки тока и воздушных зазоров, которыми следует руководствоваться при испытании по
29.1.
Эти примеры не учитывают различия между зазорами и пазами или видами изоляции.
&Предполагаются следующие допущения:
- паз может иметь параллельные, сходящиеся или расходящиеся стенки;
- любой паз с расходящимися стенками, имеющий минимальную ширину больше 0,25 мм, глубину больше 1,5 мм и ширину у дна 1 мм или более, считают воздушным зазором, вдоль которого нет пути утечки (см.
пример 8);
- любой угол с внутренним углом менее 80° считают шунтированным деталью из изоляционного материала шириной 1 мм (0,25 мм в местах, защищенных от осаждения грязи), помещенной в самое неблагоприятное положение (см.
пример 3);
- если расстояние между верхними кромками паза равно 1 мм (в местах, защищенных от осаждения грязи, 0,25 мм) или больше, то расстояние по воздуху между этими кромками не считают путем утечки (см.
пример 2);
- пути утечки и воздушные зазоры, подлежащие измерению между частями, перемещающимися друг относительно друга, измеряют тогда, когда эти части находятся в самом неблагоприятном стационарном положении;
- при расчете суммарного воздушного зазора любой воздушный зазор шириной менее 1 мм (0,25 мм для мест, защищенных от осаждения грязи) не учитывают.&
Условие. Рассматриваемый путь включает в себя паз с параллельными или сходящимися боковыми стенками любой глубины, шириной менее 1 мм.
Правило. Путь утечки тока и воздушный зазор измеряют непосредственно через паз, как указано на рисунке.
Условие. Рассматриваемый путь включает в себя паз с параллельными боковыми стенками любой глубины, шириной 1 мм и более.
Правило. Воздушным зазором считают длину "прицельной прямой". Путь утечки проходит по контуру паза.
Условие. Рассматриваемый путь включает в себя V-образный паз с внутренним углом менее 80° шириной более 1 мм.
Правило. Воздушным зазором считают длину "прицельной прямой". Путь утечки проходит по контуру паза, однако "шунтируют" дно паза элементом длиной 1 мм (0,25 мм в местах, защищенных от осаждения грязи).
Условие. Рассматриваемый путь включает в себя ребро.
Правило. Воздушным зазором считают наикратчайшее расстояние по воздуху через ребро. Путь утечки проходит по контуру ребра.
Пример 4
Условие. Рассматриваемый путь включает в себя несклеенное соединение с пазами шириной менее 1 мм (0,25 мм в местах, защищенных от осаждения грязи) с каждой стороны.
Правило. Путем утечки тока и воздушным зазором считают длину "прицельной прямой", как указано на рисунке.
Пример 5
Условие. Рассматриваемый путь включает в себя несклеенное соединение с пазами шириной 1 мм или более на каждой стороне.
Правило. Воздушным зазором считают длину "прицельной прямой". Путь утечки проходит по контурам пазов.
Пример 6
Условие. Рассматриваемый путь включает в себя несклеенное соединение с пазом на одной стороне, который уже 1 мм, и с пазом на другой стороне 1 мм и более.
Правило. Воздушный зазор и путь утечки тока измеряют, как указано на рисунке.
Пример 7
Условие. Рассматриваемый путь включает в себя паз с расходящимися боковыми стенками глубиной 1,5 мм или более, шириной в самом узком месте более 0,25 мм и шириной у дна 1 мм или более.
Правило. Воздушным зазором считают длину "прицельной прямой". Путь утечки проходит по контуру паза.
Зазор между головкой винта и стенкой впадины слишком мал и не принимается во внимание.
Пример 9
Зазор между головкой винта и стенкой впадины достаточно велик и принимается во внимание.
(обязательное)
НЕ ИЗОЛИРОВАННЫЕ ОТ СЕТИ ПИТАНИЯ
И ИМЕЮЩИЕ ОСНОВНУЮ ИЗОЛЯЦИЮ,
КОТОРАЯ НЕ РАССЧИТАНА НА НОМИНАЛЬНОЕ НАПРЯЖЕНИЕ ПРИБОРА
F.1. Область применения
F.1.1. Настоящее приложение распространяется на двигатели, рабочее напряжение которых не превышает 42 В и которые не изолированы от сети питания, а основная изоляция которых не рассчитана на номинальное напряжение прибора.
Все требования настоящего стандарта распространяются на эти двигатели с уточнениями, приведенными ниже.
F.8. Защита от контакта с токоведущими частями
F.8.1.
Примечание. Металлические части двигателя считают оголенными токоведущими частями.
F.11. &Нагрев
F.11.3. &Определяют температуру перегрева корпуса двигателя; температуру перегрева обмоток не определяют.&
F.11.8. &Температура перегрева корпуса двигателя в тех местах, где он контактирует с изоляционными материалами, не должна быть выше указанной в
таблице 3 настоящего стандарта для соответствующего изоляционного материала.&
F.16. Ток утечки и электрическая прочность
F.16.3. &Изоляцию между токоведущими частями двигателя и другими его металлическими частями этому испытанию не подвергают.&
F.19. Ненормальная работа
F.19.1. &Испытания по
19.7 -
19.9 не проводят.
Приборы подвергают испытанию по
F.19.101.&
F.19.101. &Прибор работает при номинальном напряжении и при имитации каждого из следующих дефектов:
- короткое замыкание зажимов двигателя, включая любой конденсатор, встроенный в цепь двигателя;
- короткое замыкание каждого диода выпрямителя;
- размыкание цепи питания двигателя;
- размыкание цепи любого шунтирующего резистора во время работы двигателя.
Единовременно воспроизводится только один дефект, а испытания проводятся последовательно.&
Примечание. Имитации неисправностей приведены на
рисунке F.1.
F.22. Конструкция
F.22.101. Для приборов класса I, оборудованных двигателем, питающимся от цепи выпрямителя, цепь постоянного тока должна быть изолирована от доступных частей прибора двойной или усиленной изоляцией.
&Соответствие проверяют испытаниями, указанными для двойной или усиленной изоляции.&
F.29. Пути утечки тока, воздушные зазоры и расстояния по изоляции
F.29.1.
Примечание. Указанные в
таблице 13 настоящего стандарта значения не распространяются на расстояния между токоведущими частями двигателя и другими металлическими частями.
Параллельная цепь
Последовательная цепь

- первоначальные соединения;

- короткое замыкание;

- размыкание цепи.
А - короткое замыкание клемм двигателя;
В - короткое замыкание одного из диодов;
С - размыкание цепи питания двигателя;
D - размыкание цепи шунтирующего сопротивления
Рисунок F.1. Схема имитации неисправностей
Приложение F. (Измененная редакция, Изм. N 2).
(обязательное)
ЦЕПИ ДЛЯ ИЗМЕРЕНИЯ ТОКА УТЕЧКИ
Токи утечки измеряют, применяя следующую схему.

= 1500 Ом +/- 0,1%;

= 500 Ом +/- 0,1%;

= 10 кОм +/- 0,1%;

= 0,22 мкФ +/- 1,0%;

= 0,22 мкФ +/- 1,0%.
Ток утечки рассчитывают по показанию вольтметра, деленному на 500 Ом.
Примечания. 1. Эта схема воспроизводит импеданс тела человека и составлена в соответствии с физиологической реакцией как функцией частоты.
2. Вольтметр должен обеспечивать измерение точного среднего квадратического значения от 0 до 1 МГц.
Приложение G. (Измененная редакция, Изм. N 2).
(справочное)
Теплостойкость, огнестойкость
Все приборы
┌───────────────────┬────────────────┬──────────────┐
│ │ │ │
┌───────┴────────┐ ┌────────┴──────┐ ┌───────┴─────┐ ┌──────┴─────┐
│Наружные части │ │Части из изоля-│ │Части из изо-│ │Другие части│
│из неметалличес-│ │ционных матери-│ │ляционного │ │из неметал- │
│ких материалов │ │алов, удержива-│ │материала, │ │лических │
│
30.1;
30.2 │ │ющие токоведу- │ │поддерживаю- │ │материалов │
└───────┬────────┘ │щие части (кро-│ │щие соедине- │ │
30.2 │
│ │ме соединений) │ │ния в опреде-│ └─────┬──────┘
│ │в определенном │ │ленном поло- │ │
│ │положении │ │жении │ │
│ └─────┬─────────┘ └─────┬───────┘ │
│ │ │ │
┌───────┴──────┐ ┌───────┴──────┐ ┌────────┴─────┐ ┌───────┴──────┐
│Испытание дав-│ │Испытание дав-│ │Испытание дав-│ │Испытание дав-│
│лением шарика │ │лением шарика │ │лением шарика │ │лением шарика │
└──────┬───────┘ └──────┬───────┘ └──────┬───────┘ └──────┬───────┘
Нор- │Альтер- Нор- │Альтер- Нор- │Альтер- Нор- │Альтер-
мальный│нативный мальный│нативный мальный│нативный мальный│нативный
┌─────┐│┌───────┐┌─────┐│┌───────┐┌─────┐│┌───────┐┌─────┐│┌───────┐
│Испы-│││Испы- ││Испы-│││Испы- ││Испы-│││Испы- ││Испы-│││Испы- │
│тание│││тание ││тание│││тание ││тание│││тание ││тание│││тание │
│горе-│││рас- ││горе-│││рас- ││горе-│││рас- ││горе-│││рас- │
│нием.├┴┤кален- ││нием.├┴┤кален- ││нием.├┴┤кален- ││нием.├┴┤кален- │
│При- │ │ной ││При- │ │ной ││При- │ │ной ││При- │ │ной │
│ложе-│ │петлей ││ложе-│ │петлей ││ложе-│ │петлей ││ложе-│ │петлей │
│ние J│ │550 °С.││ние J│ │550 °С.││ние J│ │550 °С.││ние J│ │550 °С.│
└───────┘ └───────┘/ │ └───┬───┘ └───────┘
──────────────── │ │ \
/ │ │ \
/ │ │ \
┌──────────────┐ ┌──────────────────┴────────┴──┐ ┌──────────────┐
│До 0,5 А вклю-│ │Свыше 0,5 А на частях: │ │До 0,5 А │
│чительно. │ │1) поддерживающих соединения; │ │включительно. │
│Дальнейшее │ │2) контактных соединений и │ │Дальнейшее │
│испытание │ │3) в непосредственной близости│ │испытание │
│не проводят │ │ от соединений │ │не проводят │
└──────────────┘ └───────────────┬──────────────┘ └──────────────┘
/ │ \
/ │ \
┌───────────────────┐ ┌───────────┴───────────┐ ┌─────────────────┐
│Приборы, удерживае-│ │Другие приборы, которые│ │Приборы, предназ-│
│мые в руках, выклю-│ │работают под надзором │ │наченные для ра- │
│чатель которых │ │
30.2.2 │ │боты без надзора │
│удерживается рукой │ └───────────┬───────────┘ └─────┬───────────┘
│или ногой, нагрузка│ ┌───────────┴─────────┐ Нормаль-│ Альтерна-
│которых создается │ │Испытание раскаленной│ ный │ тивный
│вручную непрерывно │ │петлей при 650 °С. │ ┌───────┐│┌─────────┐
│ └───────────┬─────────┘ │ние на │││раскален-│
│ │ │дефект-│││ной пет- │
┌─────────┴────────┐ │ │ное со-├┴┤лей при │
│Дальнейшее испыта-│ │ │едине- │ │750 °С. │
│ние не проводят │ │ │ние. │ │
Приложе- │
│ └───┬───┘ │
Воспламенение │ Повреждение │ Воспламе- │
│ │ нение │
┌───┴───────────────┴───────────┘
Альтернативный │ Нормальный
┌─────────────────────────┐ │ ┌───────────────────────────────┐
│Материал классифицирован ├───┴───┤Испытание игольчатым пламенем │
│как FV-0, FV-1 │ │окружающих частей. │
└───────────────────────────────┘
Стойкость к образованию токоведущих мостиков
Все приборы
┌─────────────────────┬────────────────────────┐
┌─────────┴─────────┐ ┌─────────┴────────┐ ┌────────────┴───────┐
│Нормальные условия │ │Жесткие условия │ │Сверхжесткие условия│
│эксплуатации │ │эксплуатации │ │эксплуатации │
└────────┬──────────┘ └─────────┬────────┘ └────────────┬───────┘
│ │ │
┌────────┴──────────┐ ┌─────────┴────────┐ ┌────────────┴───────┐
│Испытания │ │Испытания проводят│ │Испытания проводят │
│не проводят │ │при напряжении │ │при напряжении │
└───────────────────┘ │175 В. │ │250 В. │
└───────┬──────────┘ └────────┬───────────┘
│ │Повреждение
│ ┌────────┴───────────┐
│ │Испытания при │
│ │напряжении 175 В. │
│ └────────┬───────────┘
└──────────┬───────────┘
Альтернативный │ Нормальный
┌─────────────────┐ │ ┌─────────────────────┐
│Материал │ │ │Испытание игольчатым │
│классифицирован ├─┴─┤пламенем окружающих │
│как FV-0 или FV-1│ │частей. │
└─────────────────────┘
(обязательное)
&Испытание горением проводят в соответствии с
ГОСТ 28779.
В настоящем стандарте использован метод воспламенения горизонтально расположенного образца (метод FH).
Для оценки результатов испытания материала используют класс FH3, максимальная скорость распространения пламени равна 40 мм/мин.
Если более одного образца не выдерживает испытание, материал бракуют.
Если только один образец не выдержал испытание, то испытывают новую партию из пяти образцов, все образцы должны выдержать испытание.&
(обязательное)
ИСПЫТАНИЕ РАСКАЛЕННОЙ ПРОВОЛОКОЙ
&Испытание раскаленной проволокой проводят по
ГОСТ 27483 со следующим изменением.&
4. Описание испытательной аппаратуры
Последний абзац перед примечанием заменить новым:
&"В тех случаях, когда горящие или раскаленные частицы, падающие с образца, могут попасть наружу под прибор, испытания проводят с использованием белой сосновой доски толщиной около 10 мм, покрытой одним слоем папиросной бумаги, которую располагают на расстоянии (200 +/- 5) мм ниже места, где вершина петли проникает в образец. Если испытательный образец представляет собой прибор в сборе, то его в нормальном эксплуатационном положении размещают над сосновой доской, покрытой одним слоем папиросной бумаги. Перед началом испытаний доску подвергают кондиционированию, как и образец, по
ГОСТ 27483".&
5. Параметры испытания
Последний абзац заменить новым:
&"Продолжительность приложения петли к образцу равна (30 +/- 1) с".&
10. Наблюдения и измерения
Подпункт с) не применяют.
(обязательное)
ДЕФЕКТНЫХ СОЕДИНЕНИЙ С ПОМОЩЬЮ НАГРЕВАТЕЛЕЙ
&Испытание проводят по
ГОСТ 27924 со следующим изменением.&
3. Общие положения
Раздел дополнить абзацами:
&"Опрессованные соединения не подвергают данному испытанию, если:
- дефект соединения не может вызвать опасность возникновения огня;
- длительный ток не превышает 0,5 А;
- провода подобраны в соответствии со следующей таблицей и применяются вместе с правильно выбранными соединителями:&
┌─────────────────────────┬──────────────────────────────────────┐
│ Длительный ток, А │ Площадь поперечного сечения, мм2 │
│ ├──────────────────┬───────────────────┤
│ │луженого много- │другого много- │
│ │жильного провода │жильного провода │
├─────────────────────────┼──────────────────┼───────────────────┤
│Св. 0,5 до 4,0 включ. │- │0,5 │
│ " 4,0 " 6,0 " │0,75 │1,0 │
│ " 6,0 " 10,0 " │1,0 │1,5 │
│ " 10,0 " 16,0 " │1,5 │2,5 │
│ " 16,0 " 25,0 " │2,5 │4,0 │
└─────────────────────────┴──────────────────┴───────────────────┘
&Опрессованные соединения считают непожароопасными, если части из изоляционных материалов, поддерживающие соединения, выдержали испытание раскаленной проволокой согласно
Приложению К настоящего стандарта при температуре, установленной в
30.2 или
30.3 настоящего стандарта.
Обжимающие трубки на концах свитых проводов, предназначенные для введения в винтовые зажимы, не считают опрессованными соединениями с точки зрения настоящего приложения.
При определении значения длительного тока пусковой ток не учитывают".&
4. Аппаратура
Одиннадцатый абзац изложить в новой редакции:
&"В тех случаях, когда горящие или раскаленные частицы, падающие с образца при нормальной эксплуатации, могут попасть наружу под прибор, испытания проводят с использованием сосновой доски толщиной около 10 мм, покрытой одним слоем папиросной бумаги. Доску располагают под образцом на расстоянии (200 +/- 5) мм ниже места, где испытательный нагревательный элемент прикладывается к образцу. Если в качестве образца используют прибор в сборе, то его размещают над этой доской, покрытой одним слоем бумаги, в нормальном эксплуатационном положении. Перед началом испытаний сосновую доску кондиционируют, как и образец, по
ГОСТ 27924".&
5. Параметры испытаний
Изменение
Третий абзац. Заменить значение: "30 мин" на "(30 +/- 1) мин".
8. Проведение испытаний
Пункт 8.6 изложить в новой редакции:
"8.6. &Испытание проводят на одном образце. Если образец не выдержит испытания, то испытание повторяют на двух новых образцах, которые должны выдержать испытание".&
11. Данные для проведения испытаний
Подпункт з) не применяют.
(обязательное)
ИСПЫТАНИЕ ИГОЛЬЧАТЫМ ПЛАМЕНЕМ
&Испытание игольчатым пламенем проводят по
ГОСТ 27484 со следующим изменением.&
4. Аппаратура
Шестой абзац изложить в новой редакции:
&"Если горящие или раскаленные частицы, отделяющиеся от образца, могут попасть наружу под прибор, при проведении испытаний используют белую сосновую доску толщиной около 10 мм, покрытую одним слоем папиросной бумаги. Доску располагают под образцом на расстоянии (200 +/- 5) мм ниже места, где испытательный нагревательный элемент прикладывают к образцу. Если испытательный образец представляет собой прибор в сборе, то сам прибор в нормальном эксплуатационном положении размещают над сосновой доской, покрытой одним слоем папиросной бумаги. Перед началом испытаний доску подвергают кондиционированию, как и образец, по
ГОСТ 27484.&
5. Параметры испытания
Изменение пункта:
&"Время воздействия пламенем составляет (30 +/- 1) с".&
8. Порядок проведения испытания
Пункты 8.4 и 8.5 изложить в новой редакции:
"8.4. &Пламя горелки прикладывают к той части образца, которая может быть подвержена воздействию огня, возникшего в результате неисправности или в результате нормальных условий эксплуатации.
В ходе проведения испытания допускается сгибать трубку горелки. Точка приложения и продолжительность воздействия пламени горелки должны быть специально оговорены.
В начале испытания пламенем горелки воздействуют таким образом, чтобы с поверхностью образца контактировал самый кончик пламени.
В процессе воздействия пламени смещение горелки недопустимо. По истечении установленного времени пламя горелки сразу же отводят от образца. Примеры расположения горелки при испытании представлены на рисунках 2, 3 указанного стандарта.&
8.5. &Испытание проводят на одном образце. Если образец не выдержит испытание, то испытание повторяют на двух новых образцах, которые должны выдержать испытание".&
10. Оценка результатов
Дополнить абзацем:
&"Если при испытании используют слой папиросной бумаги, то не должно быть возгорания этой бумаги или прогорания сосновой доски. Незначительное изменение цвета доски во внимание не принимают".&
(обязательное)
НА ОБРАЗОВАНИЕ ТОКОВЕДУЩИХ МОСТИКОВ
&Испытание проводят по
ГОСТ 27473 со следующим изменением.&
3. Испытуемый образец
Изменение пункта
Первый абзац. Исключить слова: "толщина образца должна быть не менее 3 мм; ее записывают в протоколе испытаний".
5. Испытательная аппаратура
Изменение пункта
Примечание к 5.1 не применяют.
Примечание 4 к 5.3 не применяют. &Испытание проводят с использованием раствора А по 5.4.&
6. Методика
6.1. Пункт дополнить абзацем:
&"Напряжение выбирают по 30.3 настоящего стандарта".&
Пункт 6.2 не применяют.
&Испытание проводят 5 раз по 6.3. Для 5-го раза, кроме того, применяют
примечания 2,
3 раздела 3 ГОСТ 27473.&
(обязательное)
УСЛОВИЙ ЭКСПЛУАТАЦИИ ИЗОЛЯЦИОННЫХ МАТЕРИАЛОВ
ОТНОСИТЕЛЬНО ОПАСНОСТИ ТРЕКИНГА
Степень жесткости условий эксплуатации изоляционных материалов относительно опасности трекинга зависит от скорости накопления любого проводящего осадка и от времени, в течение которого изоляция подвергается воздействию электрического напряжения.
Установлены следующие степени жесткости:
1) Нормальные условия эксплуатации - условия, когда практически нет осаждения проводящего материала, а продолжительность воздействия электрического напряжения велика, или когда возможно незначительное осаждение проводящего материала, а продолжительность воздействия невелика.
Изоляционные материалы в большинстве бытовых приборов обычно не подвергаются осаждению проводящего материала.
В двигателях, испускающих собственную угольную пыль, или в выключающих устройствах, которые подвергаются осаждению проводящего материала, используемые изоляционные материалы при условии, что после испытаний на износостойкость они выдерживают испытание на электрическую прочность изоляции, рассматриваются как материалы, подверженные незначительному осаждению проводящего материала.
В нормальных условиях эксплуатации могут быть применены материалы, имеющие контрольный индекс трекингостойкости ниже 175.
2) Жесткие условия эксплуатации - условия, когда возможно незначительное осаждение проводящего материала, а продолжительность воздействия электрического напряжения велика, или когда возможно значительное осаждение проводящего материала, а продолжительность электрического воздействия невелика.
Изоляционные материалы, используемые в нагревательных приборах, в которых воздух из жилого помещения обдувает эти материалы (например, в тепловентиляторах), считаются подверженными незначительному осаждению проводящего материала и воздействию электрического напряжения в течение длительного промежутка времени.
3) Сверхжесткие условия эксплуатации - условия, при которых возможно осаждение большого количества проводящего материала, а изоляция подвергается воздействию электрического напряжения в течение длительного промежутка времени, или осаждается очень большое количество проводящего материала, а время воздействия напряжения мало.
Примеры изоляционных материалов, работающих в сверхжестких условиях эксплуатации:
Изоляционные материалы, используемые в тех частях холодильника, на которых осаждается конденсат или большое количество проводящего материала; холодильник включен непрерывно в течение длительного времени.
Изоляционные материалы, используемые в тех частях стиральных или посудомоечных машин, которые подвержены загрязнению детергентом, а время воздействия электрического напряжения мало.
Примечание. Время воздействия электрического напряжения между токоведущими частями различной полярности и между токоведущими и заземленными частями считается длительным в следующих случаях:
- прибор предназначен для продолжительной работы;
- на входе сетевых выключателей приборов, не предназначенных для непрерывной работы;
- в приборах, оснащенных однополюсным выключателем или аналогичным устройством и подключаемых к сети с помощью реверсивной или подобной ей вилки.
Если отсутствует однополюсный выключатель, то предполагается, что у приборов, не предназначенных для продолжительной работы, отключение от сети питания проводится во всех полюсах с помощью выключателя в фиксированной проводке или с помощью вилки и что не возникает возможность продолжительного подвержения электрическому напряжению.
(обязательное)
Приведенные ниже пункты ГОСТ МЭК 384-14 применяют к конденсаторам, находящимся постоянно под напряжением и используемым для подавления радиопомех или напряжения возбуждения, с учетом следующих изменений.
Глава первая. Общие требования
1.5. Терминология
1.5.3. Применяют со следующим дополнением.
Конденсаторы класса Х испытывают и как конденсаторы подкласса Х2.
1.5.4. Применяют.
1.6. Маркировка
Применяют перечисления а) и b).
Глава третья. Качественная оценка метода испытаний
4.1. Внешний осмотр и проверка измерений
Применяют.
4.2. Электрические испытания
4.2.1. Применяют.
4.2.5. Применяют.
4.2.5.2. Применяют только таблицу IX. Значения для испытания А применимы, однако для конденсаторов в нагревательных приборах применяют значения для испытаний В и С.
4.12. Применяют со следующим дополнением:
Примечание. Проверяют только сопротивление изоляции и испытательное напряжение (см. таблицу XIII).
4.13. Применяют.
4.14. Этот пункт применяют совместно с 4.14.1, 4.14.3, 4.14.4 и 4.14.7.
4.14.7. Применяют со следующим дополнением.
Примечание. Проверяют только сопротивление изоляции и испытательное напряжение (см. таблицу XIII) одновременно с проверкой (осмотром) на отсутствие видимых повреждений.
4.17. Применяют.
4.18. Применяют.
(обязательное)
БЕЗОПАСНЫЕ ИЗОЛИРУЮЩИЕ ТРАНСФОРМАТОРЫ
Безопасные изолирующие трансформаторы, которые испытывают с прибором, должны соответствовать требованиям настоящего стандарта и следующим требованиям, уточняющим пункты настоящего стандарта.
R.7. Маркировка и инструкции
R.7.1. Трансформаторы для специального использования должны иметь следующую маркировку:
- наименование, торговую марку или идентификационную марку производителя или ответственного продавца;
- модель или тип изделия.
Примечание. Определение трансформаторов для специального использования приведено в МЭК 61558-1
[1].
R.17. Защита от перегрузки трансформаторов и соединенных с ними цепей
Безопасные трансформаторы должны быть выполнены в соответствии с 15.5 МЭК 61558-1
[1].
Примечание. Настоящее испытание проводят на трех трансформаторах.
R.22. Конструкция
Применяют 19.1 и 19.1.2 МЭК 61558-2-6
[3].
R.29. Пути утечки тока, воздушные зазоры и расстояния по изоляции
R.29.1. Применяют расстояния, указанные в перечислениях 2а, 2b и 3 таблицы 13 МЭК 61558-1
[1].
Примечание. Применяют значения, установленные для нормального загрязнения.
(обязательное)
Выключатели, которые испытывают с прибором, должны быть выполнены в соответствии с настоящим стандартом и указанными ниже разделами
ГОСТ Р МЭК 61058-1 с учетом следующих изменений.
Перед началом испытаний выключатели в течение 20 рабочих циклов работают без нагрузки.
8. Маркировка и документация
Выключатели, для которых маркировка не требуется, за исключением объединенных выключателей, должны иметь наименование изготовителя или его торговую марку и тип изделия.
Примечание. Объединенный выключатель - это выключатель, который может быть испытан отдельно от прибора.
13. Механизм
Применяют раздел со следующим дополнением:
Примечание. Испытания могут быть проведены на отдельном образце.
15. Сопротивление изоляции и электрическая прочность
15.1. и 15.2. Не применяют.
15.3. Применяют для полного отключения или микроотключения.
Примечание. Настоящее испытание проводят сразу после испытания на влагостойкость по
15.3 настоящего стандарта.
17. Износостойкость
Применяют со следующими дополнениями.
Соответствие требованию проверяют на трех отдельных приборах или выключателях.
В конце испытания превышение температуры клемм не должно более чем на 30 °С превышать значения, указанные в разделе 11 ГОСТ Р МЭК 61058-1.
Примечание. Пункт 17.3. Третий абзац, начинающийся со слов "превышение температуры на зажимах не превышает 55 К", не применяют.
20. Воздушные зазоры, пути утечки тока и расстояния по изоляции
Настоящий раздел применяют для путей утечки тока, воздушных зазоров токоведущих частей только для различных напряжений, таких как в таблице 18 указанного стандарта для рабочей изоляции и через полное отключение или микроотключение.
(обязательное)
ДЛЯ ИСПЫТАНИЙ НА УДАР И ЕГО КАЛИБРОВКА
1а. Устройство для испытания на удар
Устройство состоит из трех основных частей: корпуса, ударного элемента и спускового конуса с пружиной (рисунок 1.1а).
Устройство для испытания на удар
1 - спусковой конус; 2 - пружина конуса;
3 - стержень спускового механизма;
4 - пружина спускового механизма;
5 - головка молотка; 6 - пружина молотка;
7 - стержень молотка; 8 - спусковой зажим;
9 - взводная рукоятка
Рисунок 1.1а. Устройство для испытания на удар
Корпус состоит из кожуха, направляющей ударного элемента, спускового механизма и остальных частей, жестко связанных с ним. Масса корпуса (1250 +/- 10) г.
Ударный элемент состоит из головки молотка и взводной рукоятки. Масса ударного элемента (250 +/- 1) г.
Головка молотка имеет переднюю часть из полиамида твердостью по Роквеллу R100, радиусом 10 мм; она должна быть прикреплена к стержню молотка так, чтобы расстояние между ее вершиной и плоскостью, проходящей через торец конуса непосредственно перед спуском ударного элемента, было равно 20 мм.
Масса конуса 60 г, пружина конуса непосредственно перед спуском ударного элемента должна создавать усилие 20 Н.
Пружина молотка должна быть отрегулирована так, чтобы произведение длины сжатия в миллиметрах и создаваемого усилия в ньютонах было равно 1000, причем длина сжатия пружины должна быть равна примерно 20 мм. При таком регулировании энергия удара должна составлять (0,50 +/- 0,05) Н х м.
Пружины спускового механизма должны быть отрегулированы так, чтобы давление, создаваемое ими, было достаточно для удержания зажимов спускового механизма в состоянии зацепления.
Устройство вводят оттягиванием взводной рукоятки до тех пор, пока зажимы спускового механизма не войдут в зацепление с пазами стержня молотка.
Удары наносят путем прижатия спускового конуса к образцу в направлении, перпендикулярном к поверхности, в точке, подвергаемой испытанию.
Давление постепенно увеличивают так, чтобы конус перемещался назад до тех пор, пока он не коснется стержней спускового механизма, которые при перемещении назад приведут в действие спусковой механизм и позволят молотку нанести удар.
1. Конструкция калибрующего устройства
Основной частью устройства является маятник (рисунок 1.1), к нижнему концу которого прикреплена стальная пружина (
рисунок 1.2). Пружина изготовлена из пружинной стали (в закалке нет необходимости) и жестко прикреплена к маятнику.
1 - сталь; 2 - пружина
Рисунок 1.1
Рисунок 1.2. Стальная пружина
Калибрующее устройство в сборе представлено на рисунке 1.3. Кроме рамы, основными частями устройства являются: подшипник 1, тормозящий указатель 2, спусковое основание 3 и спусковой механизм 4. Эти части в увеличенном масштабе показаны на
рисунке 1.4.
Рисунок 1.3. Калибрующее устройство
1
2
3
4
Рисунок 1.4. Детали калибрующего устройства
Для получения соответствующих характеристик торможения указателя между металлическими поверхностями подшипника помещают войлок, а рояльную струну изгибают так, чтобы сила, удерживающая войлок, была незначительной.
Так как спусковой механизм необходимо удалять при настройке калибрующего устройства, спусковой механизм крепится к основанию винтами.
2. Методика настройки калибрующего устройства
Настройку калибрующего устройства проводят с использованием отдельного ударного элемента 1, извлеченного из пружинного испытательного устройства, как показано на рисунке 1.5.
Рисунок 1.5. Установка для настройки
калибрующего устройства
Ударный элемент подвешивают на четырех льняных нитях 2, закрепленных в точках, расположенных в горизонтальной плоскости на 2000 мм выше точки соприкасания пружины 3 и ударного элемента, когда последний находится в состоянии покоя. Ударный элемент отводят от пружины 3 и ударяют им о пружину. При этом точка соприкасания ударного элемента с пружиной (в динамических условиях) не должна быть ниже точки соприкасания ударного элемента с пружиной в положении покоя более чем на 1 мм. Точки подвеса затем поднимают на расстояние, равное расстоянию между обеими точками соприкасания.
При отрегулированной системе подвески ось ударного элемента должна быть перпендикулярна к воспринимающей удар поверхности пружины, а сам ударный элемент в момент удара должен располагаться горизонтально.
Когда ударный элемент находится в положении покоя, калибрующее устройство располагают так, чтобы точка, в которую будет нанесен удар в процессе калибровки пружинного устройства, находилась точно по центру головки молотка (см.
рисунок 1.4 настоящего стандарта).
На
рисунке 1.5 изображен лишь маятник калибрующего устройства. Разница в 1 мм по вертикали приводит к погрешности настройки примерно 0,8%.
Перед настройкой с калибрующего устройства снимают спусковой механизм.
Допускается применять другой способ подвески ударного элемента с использованием двух льняных нитей. Чтобы при этом способе подвески ось ударного элемента была перпендикулярна к поверхности пружины маятника, система подвески должна быть отрегулирована так, чтобы ударный элемент после удара о пружину перемещался по тому же самому пути, что и перед ударом. Кроме того, необходимо следить, чтобы нить, ближайшая к головке молотка, располагалась на достаточном расстоянии от конца ударного элемента, чтобы она не служила помехой для маятника и указателя.
Для получения достоверных результатов калибрующее устройство жестко прикрепляют к опоре, например к конструкционным частям здания.
Калибровку осуществляют, создавая энергию удара 1 Дж, которая достигается при высоте падения (408 +/- 1) мм.
Высоту падения измеряют от центра тяжести ударного элемента: для удобства измерения могут быть использованы две стеклянные трубки 4 (
рисунок 1.5), соединенные между собой гибким шлангом. Одну стеклянную трубку закрепляют и снабжают шкалой 5.
Для удержания ударного элемента в верхнем положении может быть использована тонкая нить 6, которая при разрыве отпускает ударный элемент.
Для градуировки шкалы на шкальной пластине вычерчивают окружность с центром, совпадающим с точкой крепления маятника, а радиус должен быть таким, чтобы окружность касалась тормоза указателя. На этой окружности в точке, где тормоз указателя соприкасается с маятником, находящимся в состоянии покоя, отмечают нулевую точку (0 Дж - см. рисунок 1.6).
Рисунок 1.6. Градуировка шкалы
Точку на шкале, соответствующую энергии удара 1 Дж, получают, отпуская ударный элемент с высоты (408 +/- 1) мм для удара о пружину маятника. Операцию повторяют не менее 10 раз и окончательно точку "1 Дж" получают по среднему показанию тормозного указателя.
Другие точки шкалы получают следующим образом. Через центр окружности и точку "0 Дж" проводят прямую линию. Ортогональная проекция точки "1 Дж" на эту прямую обозначена буквой Р. Промежуток между "0 Дж" и Р делят на 10 равных частей. Через каждую точку деления проводят перпендикуляры к прямой "0 Дж - Р". Точки пересечения перпендикуляров с окружностью соответствуют значениям энергии удара 0,1; 0,2; 0,3,..., 0,9 Дж. Этот же принцип может быть использован для нанесения делений на шкалу за точкой "1 Дж".
3. Эксплуатация калибрующего устройства
Для получения достоверных результатов калибрующее устройство необходимо жестко прикрепить к опоре, например к конструкционным частям здания.
Пружинный прибор для испытаний на удар, который необходимо настроить, размещают на спусковом основании, а затем приводят три раза в действие с помощью спускового механизма калибрующего устройства; эту операцию не допускается проводить вручную.
После каждого срабатывания ударный элемент испытательного прибора разворачивают в другое положение. Среднее арифметическое трех значений энергии, полученных по шкале калибрующего устройства, принимают за фактическое значение энергии удара пружинного прибора.
(справочное)
БИБЛИОГРАФИЯ <*>
--------------------------------
<*> Оригиналы международных стандартов МЭК - во ВНИИКИ Госстандарта России.
[1] МЭК 61558-1-97. Безопасность силовых трансформаторов, силовых питающих элементов и аналогичных изделий. Часть 1. Общие требования и испытания
[2] МЭК 60065-98. Аудио-, видео- и аналогичное электронное оборудование. Требования безопасности
[3] МЭК 61558-2-6-97. Безопасность силовых трансформаторов, силовых питающих элементов и аналогичных изделий. Часть 2-6. Дополнительные требования для безопасных изолирующих трансформаторов для общего пользования
[4] МЭК 60906-1-86. Система МЭК вилок и штепсельных розеток для бытового и аналогичного применения. Часть 1. Вилки и штепсельные розетки на 16 А 250 В переменного тока.
Приложение 2. (Введено дополнительно, Изм. N 2).