Главная // Актуальные документы // ГОСТ Р (Государственный стандарт)СПРАВКА
Источник публикации
В данном виде документ опубликован не был.
Первоначальный текст документа опубликован в издании
М.: ИПК Издательство стандартов, 1996.
Информацию о публикации документов, создающих данную редакцию, см. в справке к этим документам.
Примечание к документу
Документ утратил силу с 1 января 2017 года в связи с изданием
Приказа Росстандарта от 20.07.2016 N 870-ст. Взамен введен в действие
ГОСТ Р 8.915-2016.
С 1 июля 2003 года до вступления в силу технических регламентов акты федеральных органов исполнительной власти в сфере технического регулирования носят рекомендательный характер и подлежат обязательному исполнению только в части, соответствующей целям, указанным в
пункте 1 статьи 46 Федерального закона от 27.12.2002 N 184-ФЗ.
Изменение N 1, принятое Постановлением Госстандарта России от 27.10.1998 N 380, введено в действие с 1 июля 1999 года.
Название документа
"ГОСТ Р 50818-95. Государственный стандарт Российской Федерации. Счетчики газа объемные диафрагменные. Общие технические требования и методы испытаний"
(утв. и введен в действие Постановлением Госстандарта России от 26.09.1995 N 487)
(ред. от 27.10.1998)
"ГОСТ Р 50818-95. Государственный стандарт Российской Федерации. Счетчики газа объемные диафрагменные. Общие технические требования и методы испытаний"
(утв. и введен в действие Постановлением Госстандарта России от 26.09.1995 N 487)
(ред. от 27.10.1998)
Утвержден и введен в действие
Постановлением Госстандарта
России
от 26 сентября 1995 г. N 487
ГОСУДАРСТВЕННЫЙ СТАНДАРТ РОССИЙСКОЙ ФЕДЕРАЦИИ
СЧЕТЧИКИ ГАЗА ОБЪЕМНЫЕ ДИАФРАГМЕННЫЕ
ОБЩИЕ ТЕХНИЧЕСКИЕ ТРЕБОВАНИЯ И МЕТОДЫ ИСПЫТАНИЙ
Diaphragm volumetric gas meters.
General technical requirements and test methods
ГОСТ Р 50818-95
| | Список изменяющих документов Госстандарта России от 27.10.1998 N 380) | |
Группа П15
ОКС 17.060
ОКП 42 1312
Дата введения
1 января 1997 года
1. Разработан и внесен Техническим комитетом по стандартизации ТК 286 "Приборы промышленного контроля и регулирования".
2. Утвержден и введен в действие Постановлением Госстандарта России от 26.09.95 N 487.
3. Введен впервые.
Настоящий стандарт распространяется на счетчики газа объемные диафрагменные (далее - счетчики) с номинальным расходом до 10 м3/ч, без и с температурной компенсацией, предназначенные для измерения количества израсходованного газа, применяемого в бытовых и производственных целях.
Требования
разделов 4 (кроме требований к допускаемой потере давления при номинальном расходе газа

, циклическому объему и
4.3),
5 (кроме
5.4.3,
5.4.4),
6,
7,
пунктов 8.1,
8.1.1 настоящего стандарта являются обязательными; требования к

, циклическому объему,
4.3,
5.4.3,
5.4.4 и других пунктов - рекомендуемыми.
(в ред.
Изменения N 1, принятого Постановлением Госстандарта СССР от 27.10.1998 N 380)
Абзац исключен с 1 июля 1999 года. -
Изменение N 1, принятое Постановлением Госстандарта СССР от 27.10.1998 N 380.
В настоящем стандарте использованы ссылки на следующие стандарты:
(абзац введен
Изменением N 1, принятым Постановлением Госстандарта СССР от 27.10.1998 N 380)
ГОСТ 12.1.036-81 ССБТ. Шум. Допустимые уровни шума в жилых и общественных зданиях
(абзац введен
Изменением N 1, принятым Постановлением Госстандарта СССР от 27.10.1998 N 380)
ГОСТ 12.2.003-91 ССБТ. Оборудование производственное. Общие требования безопасности
ГОСТ 2405-88 Манометры, вакуумметры, мановакуумметры, напоромеры, тягомеры и тягонапоромеры. Общие технические условия
(абзац введен
Изменением N 1, принятым Постановлением Госстандарта СССР от 27.10.1998 N 380)
ГОСТ 6357-81 Основные нормы взаимозаменяемости. Резьба трубная цилиндрическая
ГОСТ 18140-84 Манометры дифференциальные ГСП. Общие технические условия
(абзац введен
Изменением N 1, принятым Постановлением Госстандарта СССР от 27.10.1998 N 380)
ГОСТ 26349-84 Соединения трубопроводов и арматура. Давления номинальные (условные). Ряды
ГОСТ Р 50460-92 Знак соответствия при обязательной сертификации. Форма, размеры и технические требования
ПР 50.2.009-94 ГСИ. Порядок проведения испытаний и утверждения типа средств измерений
Ссылка исключена с 1 июля 1999 года. -
Изменение N 1, принятое Постановлением Госстандарта СССР от 27.10.1998 N 380.
3. ОПРЕДЕЛЕНИЯ И ОБОЗНАЧЕНИЯ
В настоящем стандарте применяют следующие термины и обозначения:
циклический объем | - | объем газа, соответствующий рабочему циклу первичного преобразователя, т.е. совокупному перемещению подвижных частей счетчика, в конце которого все части, кроме отсчетного устройства и передаточного механизма, возвращаются в исходное положение |
потеря давления | - | разность давлений на входе и выходе счетчика при протекании газа через него |
номинальный расход | - | максимально возможное значение расхода газа с относительной плотностью по воздуху 0,6 при нормальных условиях (20 °С и 0,1013 МПа), которое можно пропустить через счетчик при поддержании на счетчике определенной, наперед заданной для данного типоразмера счетчика, потери давления. |
Примечание. Для конкретного типоразмера допускается диапазон значений номинального расхода, нижний предел которого используют для обозначения типоразмера счетчика. Определенный указанным образом расход реального счетчика при отнесении его к конкретному типоразмеру должен равняться или превышать обозначение типоразмера, но быть меньше следующего, более высшего, типоразмера. |
относительная погрешность счетчика  | - | выраженное в процентах отношение разности между регистрируемым счетчиком и эталонным (действительным) объемами газа к эталонному объему. |
Примечание. Допускается оценка погрешности счетчика величиной выраженного в процентах отношения эталонного объема к объему газа, зарегистрированного счетчиком, называемой "погрешностью учета  " и позволяющей определять, какое действительное количество газа прошло через счетчик по сравнению с зарегистрированным счетчиком объемом. Так, например, если погрешность учета составляет 101%, то это означает, что на каждые 100 м3 газа, зарегистрированных счетчиком, в действительности через счетчик прошло потребителю 101 м3 газа. Связь между относительной погрешностью счетчика  и погрешностью учета  выражается формулой |
|
Погрешности определяют при измерении объемов воздуха с нормальной плотностью 1,2 кг/м3 (плотность воздуха при нормальных атмосферных условиях); |
| - | номинальный расход газа, м3/ч; |
| - | допускаемая потеря давления при  |
| - | минимальный расход газа, м3/ч; |
| - | максимальный расход газа, м3/ч; |
| - | допускаемая потеря давления при  |
4. ОСНОВНЫЕ ПАРАМЕТРЫ И РАЗМЕРЫ
4.1. Значения расходов, допускаемой потери давления и циклического объема счетчиков в зависимости от их типоразмера должны соответствовать указанным в таблице 1.
Типоразмер | |  , не более |  , не более |  , не менее |  , не более | Циклический объем, дм3/об, не менее |
1,6 | 1,6 | 80 | 0,016 | 2,5 | 200 | 0,7 |
2,5 | 2,5 | 80 | 0,025 | 4,0 | 200 | 1,2 |
4 | 4,0 | 80 | 0,040 | 6,0 | 200 | 2,0 |
6 | 6,0 | 125 | 0,060 | 10,0 | 250 | 3,5 |
10 | 10,0 | 125 | 0,100 | 16,0 | 300 | 6,0 |
4.2. Наибольшее избыточное рабочее давление газа, на которое рассчитывают счетчик, следует выбирать из ряда по
ГОСТ 26349 и устанавливать в технических условиях на счетчики конкретного типа.
4.3. Присоединительные размеры счетчиков с верхним расположением соединительных элементов в зависимости от их типоразмера должны соответствовать указанным в таблице 2.
Таблица 2
Типоразмер | Обозначение размера трубной резьбы по ГОСТ 6357 | Расстояние между осями штуцеров двухштуцерных счетчиков, мм |
входных и выходных штуцеров, накидных гаек | соединительных (с подводящим газопроводом) штуцеров |
1,6 | 1;  | 1/2; 3/4; 1 | 100; 110; 130 (+/-5) |
2,5; | 1;  | 3/4; 1 | 110; 130; 150; 200 (+/- 5) |
4; |
6 |
10 |  ;  | 1;  | 150; 200; 250 (+/- 10) |
Примечание. Допускается изготовлять счетчики с другой, отличной от указанной в таблице, резьбой входных и выходных штуцеров при условии комплектования счетчиков переходными соединительными штуцерами с трубной резьбой в соответствии с таблицей 2. |
(примечание введено Изменением N 1, принятым Постановлением Госстандарта СССР от 27.10.1998 N 380) |
(в ред.
Изменения N 1, принятого Постановлением Госстандарта СССР от 27.10.1998 N 380)
5. ОБЩИЕ ТЕХНИЧЕСКИЕ ТРЕБОВАНИЯ
5.1. Счетчики должны быть изготовлены в соответствии с требованиями настоящего стандарта и технических условий на счетчики конкретного типа по рабочим чертежам, утвержденным в установленном порядке.
5.2. Характеристики
5.2.1. Пределы допускаемой относительной погрешности счетчика при нормальных условиях при выпуске из производства и после ремонта не должны превышать: +/- 3% - в диапазоне расходов от

до

; +/- 1,5% - в диапазоне расходов от

до

включительно.
5.2.2. Пределы допускаемой относительной погрешности для счетчика в процессе эксплуатации (в обращении) не должны превышать: +/- 5% - в диапазоне расходов от

до

; +/- 3% - в диапазоне расходов от

до

включительно.
5.2.3. Изменение относительной погрешности счетчика без температурного компенсатора, вызванное отклонением температуры измеряемого газа от нормальной, по сравнению с допускаемой не должно превышать 0,45% при изменении температуры на 1 °C, а для счетчиков с температурным компенсатором - 0,1%.
5.2.4. Порог чувствительности счетчика не должен превышать

.
5.3. По устойчивости и прочности к воздействию температуры и влажности окружающего воздуха счетчики должны соответствовать группам исполнения B4, C3, C4 по
ГОСТ 12997. Конкретные значения температуры и влажности должны быть установлены в технических условиях на счетчики конкретного типа.
5.4. Требования к конструкции
5.4.1. Конструкцией счетчиков должна быть обеспечена возможность их опломбирования, исключающего доступ к измерительной камере и счетному механизму без повреждения пломбы.
5.4.2. Требования к отсчетному устройству
5.4.2.1. Счетчики должны иметь отсчетное устройство, обеспечивающее индикацию измеренного объема газа в кубических метрах. Обозначение "м3" должно быть нанесено вблизи цифровых роликов.
5.4.2.2. Для типоразмеров счетчиков 4, 6, 10 емкость отсчетного устройства должна обеспечивать учет измеренного количества газа не менее 99999 м3. Для типоразмеров 1,6 и 2,5 - не менее 9999 м3.
5.4.2.3. Цифры, показывающие дробные части числа кубических метров, должны отличаться по цвету от цифр, показывающих целые части числа кубических метров, и быть отделены запятой.
5.4.2.4. Счетный механизм должен быть снабжен контрольным элементом, который может быть использован при оценке порога чувствительности счетчика и поверке. Цена деления шкалы контрольного элемента для типоразмеров от 1,6 до 6 не должна превышать 0,2 дм3, а для типоразмера 10 - 2 дм3.
5.4.3. Направление потока газа должно быть обозначено стрелкой на входном патрубке или корпусе счетчика.
5.4.4. Дополнительные требования к счетчикам со встроенным температурным компенсатором - по техническим условиям на счетчики конкретного типа.
5.5. Требования надежности
Полный ресурс счетчика - не менее 10 лет.
Критерий предельного состояния - несоответствие счетчика требованиям
5.2.2 и(или)
раздела 6 настоящего стандарта.
Межповерочный интервал счетчика - не менее 8 лет.
5.6. Требования к материалам
5.6.1. Детали счетчика и уплотнительные прокладки штуцеров должны быть изготовлены из материалов, устойчивых к коррозии и химическим воздействиям измеряемого газа и его конденсатов.
5.6.2. Корпус счетчика и внешние элементы конструкции (соединительные штуцера, отсчетное устройство, пластинка, закрывающая отсчетные ролики, табличка фирмы-изготовителя) должны быть изготовлены (или защищены покрытиями) из материалов, стойких к атмосферным воздействиям, солнечному свету и реагентам, используемым при чистке счетчиков.
Требования к механической прочности материала пластинки, закрывающей отсчетные ролики счетчика, должны быть установлены в технических условиях на счетчики конкретного типа.
(абзац введен
Изменением N 1, принятым Постановлением Госстандарта СССР от 27.10.1998 N 380)
Маркировка счетчиков должна быть отчетливой и содержать следующие данные:
обозначение типоразмера счетчика;
товарный знак предприятия-изготовителя;
порядковый номер счетчика по системе нумерации предприятия-изготовителя;
год изготовления;
наибольшее избыточное рабочее давление в килопаскалях.
Для сертифицированных счетчиков отечественного производства маркировка дополнительно должна содержать знак соответствия сертификату безопасности по
ГОСТ Р 50460, знак утверждения типа по
ПР 50.2.009, значения

и

, наносимые на счетчик или в эксплуатационную документацию.
Место расположения и способ маркировки - по техническим условиям на счетчики конкретного типа;
5.8. Требования к счетчикам газа в транспортной таре - по
ГОСТ 12997.
6. ТРЕБОВАНИЯ БЕЗОПАСНОСТИ
6.1. Общие требования безопасности к конструкции счетчиков - по
ГОСТ 12.2.003.
6.2. Счетчики должны быть герметичными при наибольшем избыточном рабочем давлении.
6.3. Конструкция соединительных элементов счетчика должна обеспечивать прочность и герметичность при присоединении счетчика к подводящему газопроводу при совместном воздействии на соединительный элемент внутреннего давления в 1,5 раза превышающего наибольшее избыточное рабочее давление и поочередно изгибающего и крутящего моментов, указанных в таблице 3.
(в ред.
Изменения N 1, принятого Постановлением Госстандарта СССР от 27.10.1998 N 380)
| Изгибающий момент, Нм | Крутящий момент, Н · м |
Штампованный корпус | Литой корпус |
3/4; 1 | 80 | 110 | 270 |
| 110 | 140 | 340 |
| 170 | 140 | 340 |
6.4. Значения допускаемого уровня шума счетчиков не должны превышать значений, установленных в
ГОСТ 12.1.003 (для счетчиков, расположенных вблизи постоянных рабочих мест в производственных помещениях и на территории предприятий) или в
ГОСТ 12.1.036 (для счетчиков, расположенных в помещениях жилых и общественных зданий), и должны быть установлены в технических условиях на счетчики конкретного типа.
(п. 6.4 введен
Изменением N 1, принятым Постановлением Госстандарта СССР от 27.10.1998 N 380)
7.1. Для проверки соответствия счетчиков требованиям настоящего стандарта проводят испытания для целей утверждения типа счетчика и подтверждения соответствия утвержденному типу, приемосдаточные, периодические и испытания на надежность.
(в ред.
Изменения N 1, принятого Постановлением Госстандарта СССР от 27.10.1998 N 380)
7.2. Порядок проведения испытаний для целей утверждения типа счетчика и подтверждения соответствия утвержденному типу - по
ПР 50.2.009.
(в ред.
Изменения N 1, принятого Постановлением Госстандарта СССР от 27.10.1998 N 380)
7.3. При приемо-сдаточных испытаниях каждый счетчик проверяют на соответствие требованиям к допускаемой потере давления при максимальном расходе газа
(4.1),
5.2.1,
5.4.1,
5.4.2,
6.2 настоящего стандарта.
(в ред.
Изменения N 1, принятого Постановлением Госстандарта СССР от 27.10.1998 N 380)
Перед приемо-сдаточными испытаниями каждый счетчик должен проходить технологическую приработку, объем и продолжительность которой устанавливают в технических условиях на счетчики конкретного типа.
Счетчики, не выдержавшие приемо-сдаточные испытания, после устранения неисправностей подвергают повторным испытаниям по пунктам несоответствия и пунктам, по которым испытания не проводились. Результаты повторных испытаний являются окончательными. Счетчики, не выдержавшие проверку хотя бы одного требования, бракуют.
7.4. Периодическим испытаниям следует подвергать не реже одного раза в год не менее трех счетчиков - каждого типоразмера, прошедших приемо-сдаточные испытания, на соответствие всем требованиям настоящего стандарта, кроме
5.5.
(в ред.
Изменения N 1, принятого Постановлением Госстандарта СССР от 27.10.1998 N 380)
Объем и последовательность периодических испытаний устанавливают в технических условиях на счетчики конкретного типа.
При несоответствии хотя бы одного счетчика конкретного типоразмера хотя бы одному из требований проводят повторные испытания удвоенного числа таких счетчиков.
(в ред.
Изменения N 1, принятого Постановлением Госстандарта СССР от 27.10.1998 N 380)
При повторных испытаниях допускается проводить проверку в сокращенном объеме, но обязательно по пунктам несоответствия. Результаты повторных испытаний являются окончательными.
Результаты испытаний считают удовлетворительными, если все образцы соответствуют всем проверяемым требованиям.
7.5. Испытаниям на надежность следует подвергать один раз в год не менее пяти счетчиков - каждого типоразмера - на соответствие требованиям
5.5.
(в ред.
Изменения N 1, принятого Постановлением Госстандарта СССР от 27.10.1998 N 380)
Счетчики, отобранные для проведения испытаний на надежность, другим видам испытаний, входящим в объем периодических, не подвергают.
Результаты испытаний считают удовлетворительными, если все образцы соответствуют требованиям надежности.
8.1. Испытания счетчиков газа и принятие решений по результатам испытаний осуществляют в соответствии с требованиями настоящего стандарта и технических условий на счетчики конкретного типа.
Методы и средства испытаний, указанные в настоящем стандарте, могут быть заменены другими при обеспечении требуемых точности и условий измерений, согласованными в установленном порядке.
(в ред.
Изменения N 1, принятого Постановлением Госстандарта СССР от 27.10.1998 N 380)
Все используемые средства измерений должны быть поверены, а испытательное оборудование аттестовано в установленном порядке.
(в ред.
Изменения N 1, принятого Постановлением Госстандарта СССР от 27.10.1998 N 380)
8.1.1. При проведении испытаний следует соблюдать следующие условия, если иные условия не установлены в технических условиях на счетчики конкретного типа или в настоящем стандарте:
- поверочной средой является воздух;
- температура окружающего воздуха (20 +/- 3) °C;
- относительная влажность от 30 до 80%;
- атмосферное давление от 86 до 106,7 кПа;
- разность температур поверочной среды в поверочной установке, испытуемом счетчике и окружающей среды не должна превышать 1 °C.
(п. 8.1.1 введен
Изменением N 1, принятым Постановлением Госстандарта СССР от 27.10.1998 N 380)
8.2. Метод определения номинального расхода газа, протекающего через счетчик
(4.1)
8.2.1. Расход воздуха, который является поверочной средой при проведении испытаний, при температуре и барометрическом давлении в месте проведения испытаний

в кубических метрах за час определяют по формуле
где V - объем воздуха, прошедшего через счетчик, определенный по показаниям поверочной установки, м3;
t - интервал времени прохождения воздуха через счетчик, измеренный по секундомеру, с.
Приводят полученное значение

к нормальным условиям:
Госстандарта СССР от 27.10.1998 N 380)
где коэффициенты E - фактор места расположения и D - температурный коэффициент - определяют по формулам:
где B - среднее барометрическое давление в месте проведения испытаний, мм рт. ст.;

- температура воздуха, измеренная на установке, °C.
Номинальный расход по газу

в кубических метрах за час определяют по формуле
8.2.2. При определении номинального расхода применяют следующие оборудование и средства измерений:
установка для поверки счетчиков с относительной погрешностью в пределах +/- 0,5%, с колокольным газовым мерником (колокольная установка) или с образцовыми звуковыми соплами;
(в ред.
Изменения N 1, принятого Постановлением Госстандарта СССР от 27.10.1998 N 380)
манометры образцовые типа МО класса точности 0,15;
барометр с ценой деления шкалы не более 50 Па;
(в ред.
Изменения N 1, принятого Постановлением Госстандарта СССР от 27.10.1998 N 380)
лабораторные ртутные термометры с ценой деления шкалы не более 0,1 °C;
(в ред.
Изменения N 1, принятого Постановлением Госстандарта СССР от 27.10.1998 N 380)
жидкостные микроманометры типа ММН класса точности 1;
тягонапоромер класса точности 1,5 по
ГОСТ 2405 или дифманометр класса точности 1,5 по
ГОСТ 18140;
(в ред.
Изменения N 1, принятого Постановлением Госстандарта СССР от 27.10.1998 N 380)
секундомер класса точности 2 или 3.
(в ред.
Изменения N 1, принятого Постановлением Госстандарта СССР от 27.10.1998 N 380)
8.2.3. Исключен с 1 июля 1999 года. -
Изменение N 1, принятое Постановлением Госстандарта СССР от 27.10.1998 N 380.
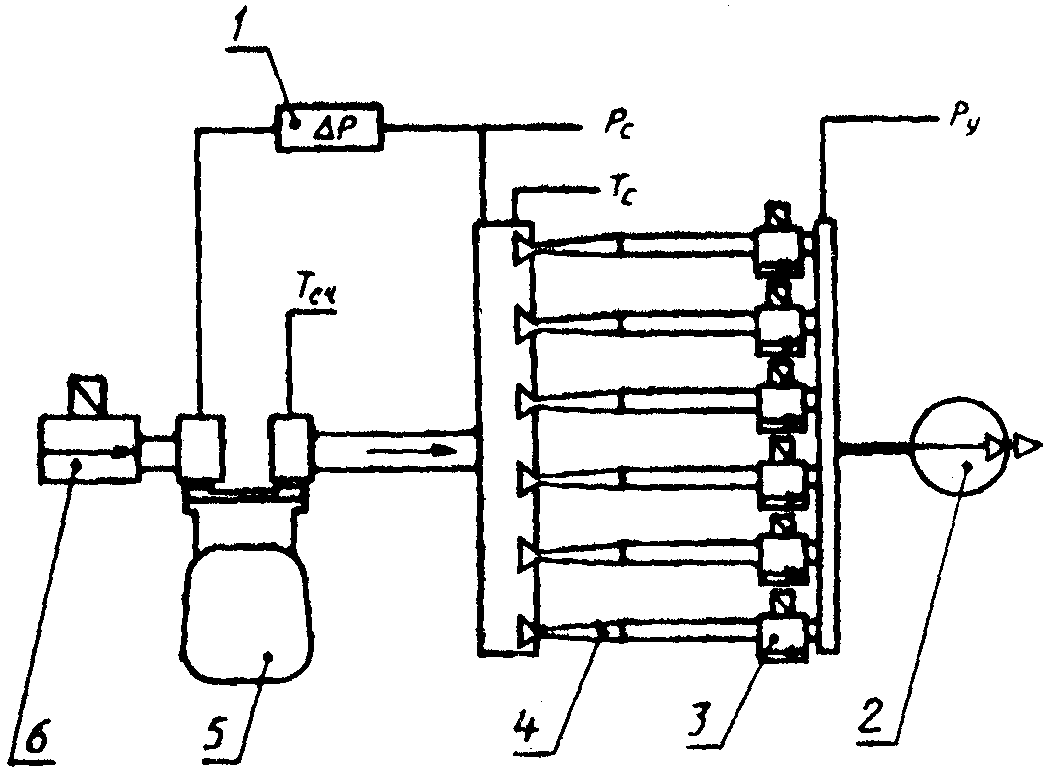
8.2.4. Метод определения номинального расхода на колокольной установке
(рисунок 1)
1 - колокольная установка; 2 - кран испытания; 3 - кран подачи воздуха для опробования; 4 - дифманометр; 5 - регулировочный кран расхода через счетчик; 6 - регулировочный кран потери давления на счетчике; 7 - испытуемый сметчик; 8 - регулятор давления воздуха; 9 - воздух от компрессора; 10 - кран включения установки; 11 - кран наполнения установки
Рисунок 1. Схема испытаний с колокольной установкой
8.2.4.1. Требования к испытательной аппаратуре, оборудованию, средствам измерения
Поверочную колокольную установку используют для подачи воздуха, пропускаемого через испытуемый счетчик, а шкалу установки - как отсчетное устройство для определения объема прошедшего через счетчик воздуха.
Размер колокола установки должен обеспечивать не менее чем 30-секундную работу испытуемого счетчика.
Для регулирования расхода установка должна быть снабжена на конце выходного трубопровода сменными насадками различного диаметра или регулировочным краном расхода, имеющим градуированную шкалу.
8.2.4.2. Требования к подготовке и проведению испытаний
Испытуемый счетчик 7 устанавливают на стенде поверочной установки и зажимным устройством обеспечивают герметичность его подсоединения.
Проверяют герметичность присоединения счетчика, подавая на него воздух от компрессора 9 через кран опробования 3, по отсутствию падения давления на дифманометре 4.
Открывают кран опробования 3 и регулировочный кран потери давления 6 и после начала работы контрольного устройства счетчика устанавливают краном 6 по показаниям дифманометра 4 потерю давления на испытуемом счетчике, равную допускаемой при

в соответствии с типоразмером счетчика по
таблице 1 настоящего стандарта.
Закрывают кран опробования 3, а регулировочный кран потери давления 6 оставляют в установленном положении. Заполняют воздухом колокол установки 1 через кран наполнения 11.
Открывают кран испытания 2 постепенно, чтобы не перегрузить счетчик, но так, чтобы достичь заданной потери давления на счетчике, и включают секундомер.
Фиксируют объем V прошедшего через счетчик воздуха по шкале установки при допускаемой потере давления при

на счетчике, соответствующей его типоразмеру, а время t прохождения воздуха через счетчик, соответствующее зафиксированному объему, - по секундомеру. Испытание повторяют не менее 3 раз, при этом интервалы времени t прохождения воздуха через счетчик должны быть равны друг другу.
8.2.4.3. Требования к обработке и оценке результатов испытаний
Для вычисления значения номинального расхода используют средние значения V и t, полученные по
8.2.4.2. Вычисления проводят по формулам
8.2.1.
Счетчик считают выдержавшим испытание, если полученное значение номинального расхода газа, протекающего через счетчик, равно или больше указанного в
таблице 1 для типоразмера испытуемого счетчика, но не превышает номинального значения расхода следующего типоразмера счетчика.
8.2.5. Метод определения номинального расхода на установке с образцовыми звуковыми соплами
(рисунок 2)
1 - дифманометр измерения потери давления

на счетчике; 2 - вакуумный насос, 3 - выходные краны сопел; 4 - образцовое звуковое сопло; 5 - испытуемый счетчик; 6 - входной кран установки;

- температура на выходе испытуемого счетчика;

- температура на входе сопла;

- давление на входе сопла;

- давление на выходе сопла
Рисунок 2. Схема установки с образцовыми звуковыми соплами
8.2.5.1 Требования к испытательной аппаратуре, оборудованию, средствам измерения
В установке со звуковыми соплами поток воздуха через последовательно соединенные испытуемый счетчик и образцовое звуковое сопло создают вакуумным насосом, обеспечивающим вакуум не менее 14 кПа.
Потерю давления на счетчике следует измерять с погрешностью не более 1%.
Каждое звуковое сопло должно иметь паспорт с указанием постоянной времени сопла

- времени прохождения через сопло 1 м3 сухого воздуха, и базовых условий по давлению и температуре

, при которых определялась постоянная времени.
Примечание. Если условия испытаний отличаются от базовых по давлению и температуре, а сопло калибровано на колокольной установке с наддувом, то постоянную времени сопла корректируют до значения

введением поправочного коэффициента, являющегося функцией температуры и показателя адиабаты воздуха, зависящего от давления и температуры.
Если сопло калибровано на колокольной установке с вакуумированием, то влиянием изменения давления по сравнению с калибровочным (базовым) на постоянную времени сопла можно пренебречь.
8.2.5.2. Требования к подготовке и проведению испытаний
Образцовые звуковые сопла 4 устанавливают в держателях, испытуемый счетчик 5 устанавливают на стенде установки и зажимным устройством обеспечивают герметичность его соединения с установкой.
Открывают входной кран 6 установки и выходной кран 3 одного из звуковых сопел, ближайшего по пропускной способности к предполагаемому номинальному расходу

для предполагаемого типоразмера счетчика. Включают вакуумный насос 2 и проверяют герметичность соединений установки по отсутствию падения давления на дифманометре 1.
Последовательно подключают выходными кранами 3 образцовые сопла 4 до тех пор, пока показания дифманометра

не станут равными допускаемой потере давления при

для типоразмера испытуемого счетчика по
таблице 1 настоящего стандарта, и включают секундомер.
После стабилизации температуры установки, о чем судят по сохранению равенства температур на выходе счетчика

и входе сопла

, измеряют не менее 3 раз температуру

и определяют среднюю, при этом результаты измерений не должны отличаться друг от друга более чем на 0,5 °C. Отличие полученных результатов более чем на 0,5 °C свидетельствует о недостаточной стабилизации температуры.
Проводят, если это необходимо, корректировку постоянных времени сопел, задействованных в испытании, до значений

.
Если при испытании было использовано несколько (n) параллельно включенных сопел, то постоянную времени

для группы сопел определяют по формуле
Определяют по секундомеру время испытаний t (не менее 30 с с момента включения секундомера) и вычисляют объем V воздуха в кубических метрах, прошедшего через сопло (сопла), по формуле
8.2.5.3. Требования к обработке и оценке результатов испытаний
Вычисление значения номинального расхода газа, прошедшего через счетчик, проводят по формулам
8.2.1, исходя из полученных по
8.2.5.2 результатов испытаний.
Оценка результатов испытаний - по
8.2.4.3.
8.3. Метод определения относительной погрешности счетчика (
5.2.1,
5.2.2) и потери давления при
(4.1)
8.3.1. Относительную погрешность счетчика

в процентах определяют методом сличения показаний поверочной установки V и испытуемого счетчика

и вычисляют по формулам:
для счетчиков без температурного компенсатора
для счетчиков с температурным компенсатором
где

- поправочный коэффициент приведения к базовой температуре

, при которой настраивался температурный компенсатор счетчика
(в ред.
Изменения N 1, принятого Постановлением Госстандарта СССР от 27.10.1998 N 380)
где

- температура окружающего воздуха в условиях испытаний, °C.
8.3.2. Относительную погрешность счетчика определяют в специальных точках диапазона работы счетчика:

;

;

в которых погрешность не должна превышать значений, указанных в
5.2.1 или
5.2.2.
При проведении испытаний следует применять оборудование и средства измерений по
8.2.2. Погрешность поверочных установок по
8.2.2 не должна превышать 1/3 допускаемой погрешности проверяемого счетчика.
(в ред.
Изменения N 1, принятого Постановлением Госстандарта СССР от 27.10.1998 N 380)
8.3.3. Метод определения относительной погрешности на колокольной установке
(рисунок 1)
8.3.3.1. Требования к испытательной аппаратуре, оборудованию, средствам измерения - по
8.2.4.1.
8.3.3.2. Требования к подготовке и проведению испытаний
Установка счетчика на стенде и проверка герметичности установки - по
8.2.4.2.
Сменными насадками или регулировочным краном расхода 5 устанавливают последовательно расходы воздуха, протекающего через счетчик, по шкале колокольной установки и секундомеру согласно
8.3.2.
В каждой контролируемой точке фиксируют начальные и конечные значения объемов по шкале установки и по регистратору счетчика, определяют объемы прошедшего воздуха, проводя испытания не менее 3 раз в каждой точке, измеряя

, и

, где i = 1, 2, ..., n - число измерений.
Регистрируют потерю давления на счетчике при максимальном расходе.
8.3.3.3. Требования к обработке и оценке результатов испытаний
Относительную погрешность в каждой контролируемой точке определяют по формулам
8.3.1.
Счетчик следует считать выдержавшим испытания, если ни одно из вычисленных значений относительной погрешности в каждой точке не превышает значений, указанных в
5.2.1,
5.2.2, а потеря давления при максимальном расходе не превышает значений по
таблице 1 настоящего стандарта для типоразмера испытуемого счетчика.
8.3.4. Метод определения относительной погрешности на установке с образцовыми звуковыми соплами
(рисунок 2)
8.3.4.1. Требования к испытательной аппаратуре, оборудованию, средствам измерения - по
8.2.5.1.
8.3.4.2. Требования к подготовке и проведению испытаний
Установку образцовых сопел и счетчика на стенде проводят в соответствии с требованиями
8.2.5.2. Проверяют герметичность соединения счетчика с установкой, создав в нем вакуум и наблюдая за его сохранением по тягонапоромеру в течение не менее 15 с.
Включают вакуумный насос и пропускают воздух через счетчик и соответствующий поверяемой точке набор образцовых сопел, пока температура

не стабилизируется. Проводят в течение испытаний не менее 3 измерений температуры и вычисляют среднее значение. Измеренные значения не должны отличаться между собой более чем на 0,5 °C.
Используя секундомер, определяют время испытаний t, как интервал, в течение которого определенный объем

с дискретностью, соответствующей цене младшего разряда счетного механизма, будет зафиксирован счетчиком. Объем

должен быть таким, чтобы время испытаний t было не менее 100 с. Испытание проводят не менее 2 раз.
(в ред.
Изменения N 1, принятого Постановлением Госстандарта СССР от 27.10.1998 N 380)
Определяют постоянную времени сопла (или сопел)

при измеренной температуре

и объем воздуха V, прошедший через включенное сопло (сопла), по формулам
8.2.5.2.
Регистрируют потерю давления на счетчике при максимальном расходе.
8.3.4.3. Требования к обработке и оценке результатов испытаний
Определение относительной погрешности в каждой контролируемой точке и оценку результатов проводят в соответствии с требованиями
8.3.3.3.
8.4. Порог чувствительности счетчика
(5.2.4) определяют в процессе испытаний счетчика на соответствие допускаемой относительной погрешности при опробовании счетчика на колокольной установке или установке с образцовыми звуковыми соплами как наименьшее значение расхода воздуха, при котором счетчик регистрирует непрерывные показания.
Счетчик считают выдержавшим испытания, если указанное значение расхода не превышает

.
(в ред.
Изменения N 1, принятого Постановлением Госстандарта СССР от 27.10.1998 N 380)
8.5. Метод определения изменения погрешности счетчика, вызванного отклонением температуры измеряемого газа от нормальной
(5.2.3)
8.5.1 Изменение погрешности счетчика

в процентах на градус Цельсия определяют по формуле
где

- допускаемая относительная погрешность счетчика при нормальных условиях;

- относительная погрешность счетчика, определенная по формулам
8.3.1 настоящего стандарта при крайних значениях температурного диапазона работы счетчика;

- температура воздуха в условиях испытаний;
T - температура в нормальных условиях.
8.5.2. Требования к испытательной аппаратуре, оборудованию, средствам измерения, условиям проведения испытаний
(в ред.
Изменения N 1, принятого Постановлением Госстандарта СССР от 27.10.1998 N 380)
При проведении испытаний следует применять оборудование и средства измерений по
8.2.2, а также камеру тепла (холода).
Требования к испытательной аппаратуре, оборудованию, средствам измерения - по
8.2.4.1,
8.2.5.1 и
8.3.2.
Камера тепла и холода для испытания счетчика на воздействие температур, отличных от нормальной, должна обеспечивать установку необходимой температуры окружающей среды счетчика и потока измеряемого сухого воздуха. Камера должна быть оснащена средствами измерения температуры на входе счетчика и внутри камеры, дистанционно управляемым краном на входе счетчика, байпасной линией подачи воздуха через счетчик, минуя поверочную установку.
Испытания проводят при крайних значениях допустимых температур работы счетчика, установленных в технических условиях на счетчики конкретного типа; остальные условия проведения испытаний - по
8.1.1.
(абзац введен
Изменением N 1, принятым Постановлением Госстандарта СССР от 27.10.1998 N 380)
8.5.3. Требования к подготовке и проведению испытаний
Испытанный на соответствие допускаемой относительной погрешности в нормальных условиях счетчик устанавливают в камеру и выдерживают там при крайних значениях допустимых температур, указанных в документации на счетчик, в течение времени, необходимого для достижения равенства температур измеряемой среды на входе счетчика и в камере при подаче воздуха в этот период по байпасной линии поверочной установки.
Шлейф подачи воздуха в счетчик переключают на подачу воздуха через поверочную установку и определяют относительную погрешность счетчика в соответствии с требованиями
8.3.3 или
8.3.4 для каждой из крайних точек температурного диапазона, допустимых для данного счетчика температур, при двух значениях расхода:

и

.
8.5.4. Требования к обработке и оценке результатов испытаний
По полученным в результате испытаний по
8.5.3 данным вычисляют наибольшее значение изменения погрешности по формуле
8.5.1.
Счетчик считают выдержавшим испытание, если вычисленное значение изменения погрешности не превышает значений, указанных в
5.2.3.
8.6. Метод испытания счетчика на надежность
(5.5)
8.6.1. Полный ресурс работы счетчика и межповерочный интервал определяют методом ускоренных испытаний, который состоит в непрерывном функционировании и регистрации проходящего через счетчик воздуха (газа) в течение всего периода испытаний.
(в ред.
Изменения N 1, принятого Постановлением Госстандарта СССР от 27.10.1998 N 380)
После ускоренных испытаний счетчик должен пройти испытания на соответствие требованиям
5.2.2 и
раздела 6.
8.6.2. Требования к оборудованию и средствам измерения
Испытания проводят на стенде, к которому либо подводят газ низкого давления, либо оснащают компрессором воздуха (производительностью не менее 20 м3/ч для обеспечения необходимого режима работы). Стенд должен быть также оснащен самопишущим прибором для регистрации времени работы счетчика.
8.6.3. Требования к подготовке и проведению испытаний
Испытаниям подвергают счетчик, прошедший приемо-сдаточные испытания.
Счетчик устанавливают на испытательный стенд и пропускают через него газ с максимальным для данного типоразмера расходом.
После того, как счетный механизм счетчика при непрерывном его функционировании зарегистрирует объем в 4000 раз превышающий значение номинального для типоразмера испытуемого счетчика расхода счетчик подвергают испытаниям на соответствие требованиям
5.2.2 и
раздела 6.
8.6.4. Требования к обработке и оценке результатов испытаний
Счетчик считают выдержавшим испытания на надежность, если значения относительной погрешности счетчика не превышают значений, указанных в
5.2.2, а по безопасности счетчик соответствует требованиям
раздела 6.
8.7. Испытание счетчика на герметичность
(6.2) проводят на установке, позволяющей создать давление внутри испытуемого счетчика не менее чем в 1,5 раза превышающее наибольшее избыточное рабочее давление.
Испытания на герметичность проводят на счетчике, погруженном в воду.
В процессе испытаний счетчик постепенно заполняют воздухом до давления не менее чем в 1,5 раза превышающего наибольшее избыточное рабочее. По мере заполнения и в течение не менее 1 мин после достижения максимального давления утечки не допускаются. Наличие утечки определяют по подключенному к счетчику микроманометру и наличию пузырьков воздуха.
8.8. Метод испытания на прочность и герметичность соединительных элементов счетчика
(6.3)
8.8.1. Требования к испытательному оборудованию
Устройство для определения прочности и герметичности соединительных элементов счетчика должно:
обеспечивать создание крутящего и изгибающего моментов в соответствии с
таблицей 3 настоящего стандарта при помощи рычага, к которому в перпендикулярной плоскости прикладывают усилие;
быть укомплектовано манометром или датчиком давления для измерения давления воздуха, подаваемого через соединительные узлы в счетчик.
8.8.2. Требования к подготовке и проведению испытаний
Подают в счетчик воздух под давлением в 1,5 раза превышающем наибольшее избыточное рабочее давление.
Подвергают воздействию поочередно изгибающего и крутящего моментов в соответствии с
таблицей 3 и наблюдают за давлением внутри счетчика. Продолжительность воздействия должна быть установлена в технических условиях на счетчики конкретного типа.
(в ред.
Изменения N 1, принятого Постановлением Госстандарта СССР от 27.10.1998 N 380)
8.8.3. Обработка и оценка результатов испытаний
Счетчик считают выдержавшим испытания на соответствие требованиям
6.3, если при испытаниях сохраняется герметичность счетчика.
8.9. Испытания счетчика на соответствие требованиям по устойчивости и прочности к воздействию температуры и влажности
(5.3) проводят по
ГОСТ 12997.
8.10. Испытания на химическую стойкость к веществам, которые применяют при чистке счетчиков
(5.6.2), проводят погружением счетчика в моющий раствор не менее чем на 30 мин.
(в ред.
Изменения N 1, принятого Постановлением Госстандарта СССР от 27.10.1998 N 380)
Счетчик считают выдержавшим испытания, если на нем не обнаружено никаких изменений в окраске.
8.11. Испытания счетчиков в транспортной таре - по
ГОСТ 12997.
8.12. Исключен с 1 июля 1999 года. -
Изменение N 1, принятое Постановлением Госстандарта СССР от 27.10.1998 N 380.
8.13. Проверка

,

, циклического объема
(4.1), присоединительных размеров
(4.3), материалов счетчика на устойчивость к коррозии, химическим воздействиям газа и его конденсатов
(5.6.1), на устойчивость к воздействиям атмосферы, солнечного света, на механическую прочность
(5.6.2) - по методикам, установленным в технических условиях на счетчики конкретного типа.
(в ред.
Изменения N 1, принятого Постановлением Госстандарта СССР от 27.10.1998 N 380)
8.14. Требования к конструкции
(5.4), маркировке
(5.7), а также общие требования безопасности к конструкции
(6.1) проверяют визуальным осмотром, опробованием, сличением с технической документацией на счетчики конкретного типа.
8.15. Дополнительные требования к счетчикам со встроенным температурным компенсатором
(5.4.4) проверяют по методикам, установленным в технических условиях на счетчики конкретного типа.
(в ред.
Изменения N 1, принятого Постановлением Госстандарта СССР от 27.10.1998 N 380)
(п. 8.16 введен
Изменением N 1, принятым Постановлением Госстандарта СССР от 27.10.1998 N 380)