Главная // Актуальные документы // ГОСТ Р (Государственный стандарт)СПРАВКА
Источник публикации
М.: ИПК Издательство стандартов, 2000
Примечание к документу
Документ утратил силу с 1 июля 2012 года в связи с изданием
Приказа Росстандарта от 30.06.2011 N 163-ст. Взамен введен в действие
ГОСТ Р 12.4.255-2011.
Документ включен в
Перечень национальных стандартов, содержащих правила и методы исследований (испытаний) и измерений, в том числе правила отбора образцов, необходимые для применения и исполнения технического
регламента о безопасности средств индивидуальной защиты и осуществления оценки соответствия (
Распоряжение Правительства РФ от 15.02.2011 N 222-р).
Документ
введен в действие с 1 января 2002 года.
Название документа
"ГОСТ Р 12.4.208-99. Государственный стандарт Российской Федерации. Система стандартов безопасности труда. Средства индивидуальной защиты органа слуха. Наушники. Общие технические требования. Методы испытаний"
(принят и введен в действие Постановлением Госстандарта России от 28.12.1999 N 764-ст)
"ГОСТ Р 12.4.208-99. Государственный стандарт Российской Федерации. Система стандартов безопасности труда. Средства индивидуальной защиты органа слуха. Наушники. Общие технические требования. Методы испытаний"
(принят и введен в действие Постановлением Госстандарта России от 28.12.1999 N 764-ст)
Принят и введен в действие
Постановлением Госстандарта России
от 28 декабря 1999 г. N 764-ст
ГОСУДАРСТВЕННЫЙ СТАНДАРТ РОССИЙСКОЙ ФЕДЕРАЦИИ
СИСТЕМА СТАНДАРТОВ БЕЗОПАСНОСТИ ТРУДА
СРЕДСТВА ИНДИВИДУАЛЬНОЙ ЗАЩИТЫ ОРГАНА СЛУХА. НАУШНИКИ
ОБЩИЕ ТЕХНИЧЕСКИЕ ТРЕБОВАНИЯ
МЕТОДЫ ИСПЫТАНИЙ
Occupational safety standards system.
Hearing protectors. Ear-muffs. General technical
requirements. Methods of testing
ГОСТ Р 12.4.208-99
Группа Т58
ОКС 13.340.20
ОКП 25 6800
Дата введения
1 января 2002 года
1. Разработан Научным центром социально-производственных проблем охраны труда.
Внесен Техническим комитетом по стандартизации средств индивидуальной защиты ТК 320 "СИЗ".
2. Принят и введен в действие Постановлением Госстандарта России от 28 декабря 1999 г. N 764-ст.
3. Настоящий стандарт представляет собой аутентичный текст регионального стандарта ЕН 352-1-93 "Средства индивидуальной защиты от шума. Часть 1. Наушники. Общие технические требования" и содержит дополнительные требования, отражающие потребности экономики страны.
4. Введен впервые.
Настоящий стандарт распространяется на средства индивидуальной защиты органов слуха от шума - противошумные наушники и устанавливает общие технические требования и методы испытаний.
Дополнительные требования, отражающие потребности экономики страны, выделены курсивом.
В настоящем стандарте использованы ссылки на следующие стандарты:
ГОСТ Р 12.4.211-99 (ИСО 4869-1-89) Система стандартов безопасности труда. Средства индивидуальной защиты органа слуха. Противошумы. Субъективный метод измерения поглощения шума
ГОСТ Р 12.4.212-99 (ИСО 4869-2-94) Система стандартов безопасности труда. Средства индивидуальной защиты органа слуха. Противошумы. Оценка результирующего значения А-корректированного уровня звукового давления
ГОСТ Р 12.4.213-99 (ИСО 4869-3-89) Система стандартов безопасности труда. Средства индивидуальной защиты органа слуха. Противошумы. Упрощенный метод измерения акустической эффективности противошумных наушников для оценки качества
В настоящем стандарте применяют следующие термины с соответствующими определениями:
3.1. Установка для проведения акустических испытаний: устройство, ориентированное на средние размеры головы взрослого человека и использующееся для измерения акустической эффективности наушников.
3.2. Чашка: полый корпус, укрепленный на прижимном устройстве, который обычно имеет звукопоглощающий вкладыш и амортизатор (уплотнительную прокладку) по периметру.
3.3. Амортизатор (уплотнительная прокладка): упругая кольцеобразная конструкция, обычно заполненная пенопластом или вязкой жидкостью и обеспечивающая удобное и плотное прилегание наушника к голове.
3.4. Противошумный наушник: противошум, состоящий из двух звукоизолирующих чашек, прикрывающих ушные раковины и соединенных между собой жестким или мягким прижимным устройством (оголовьем).
3.5. Держатель наушников: жесткое или мягкое оголовье, предназначенное для крепления противошума на голове с помощью усилия прижатия держателя.
3.6. Мягкое оголовье: эластичная лента для крепления чашек наушников в определенном положении на голове.
3.7. Шлем: устройство, которое может включать в себя противошум и закрывать соответствующую часть головы.
3.8. Акустическая эффективность (заглушающая способность): разность уровней звукового давления, измеренных микрофоном или акустическим тестовым прибором в определенном звуковом поле и определенных условиях без противошума и с противошумом, в децибелах.
3.9. Вкладыш: звукопоглощающий материал, располагающийся в чашке наушника, предназначенный для усиления поглощения звука наушником.
3.10. Поглощение шума: для данного тестового сигнала разница в децибелах между уровнем порога слышимости с противошумом и без него.
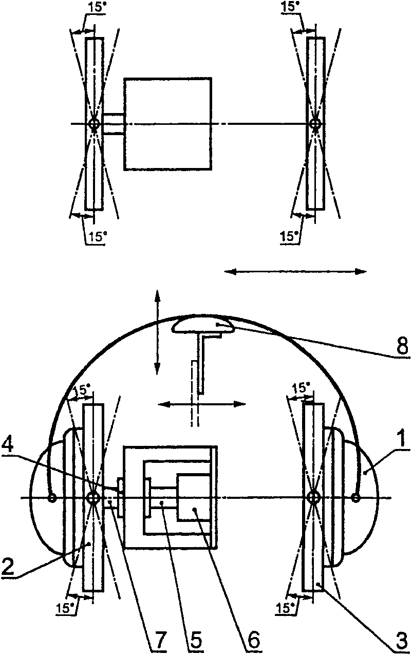
3.11. Тестовая глубина: вертикальное расстояние между осью, проведенной через центры отверстий моделей уха, и верхом опоры оголовья согласно рисунку 1. Модель уха прикреплена таким образом, чтобы ее короткая ось была вертикальна.
1 - наушник; 2 - опорная пластина; 3 - регулируемая
пластина; 4 - втулка; 5 - соединительный штифт;
6 - датчик силы; 7 - стержень; 8 - опорный вкладыш
Рисунок 1. Измерительная установка для оценки
вращения чашек и для тестирования силы давления оголовья
и амортизаторов, а также регулируемости
3.12. Тестовая высота: вертикальное расстояние между осью, проведенной через центры отверстий моделей уха, и верхом опоры оголовья согласно
рисунку 1. Модель уха прикреплена таким образом, чтобы ее длинная ось была вертикальна.
3.13. Тестовая ширина: расстояние между двумя центрами отверстий для модели уха на каркасе.
Требования
6.2 предусматривают классификацию наушников на типы: среднего размера и малого/большого размера.
Средний размер наушников - размер, регулировка которого отвечает требованиям
6.2.1.1 и
6.2.1.2.
Малый размер наушников - размер, регулировка которого отвечает требованиям
6.2.2.1 и
6.2.2.2.
Большой размер наушников - размер, регулировка которого отвечает требованиям
6.2.3.1 и
6.2.3.2.
Наушники малого/большого размера следует сопровождать информацией, указанной в
8.1, перечисление ж).
5. Материалы и конструкции
5.1. Материалы
5.1.1. Все части наушника, которые соприкасаются с кожей, должны быть мягкими, неметаллическими, гибкими и не должны вызывать раздражение, аллергические реакции и другие отрицательные реакции, влияющие на здоровье.
Конструкции и материалы противошумов должны допускать гигиеническую обработку.
5.2. Конструкция
5.2.1. Все части наушника должны быть скруглены, отполированы и не должны иметь колющих, острых углов.
5.2.2. Наушники со сменными вкладышами и уплотнителями, которые могут быть заменены потребителем, не должны требовать применения специальных инструментов для замены.
5.2.3. Все универсальные наушники должны быть снабжены оголовьем.
Модели наушников, предназначенные для ношения на затылке или под подбородком и имеющие массу, превышающую 150 г, должны быть снабжены жестким оголовьем.
6. Общие технические требования
6.1. Общие положения
Должны быть соблюдены требования, указанные в 6.2 и
6.12. Образцы наушников следует испытывать и хранить как указано в
7.1.1 и
7.1.2. Схема испытания должна быть определена в
7.1.3.
Регулирование при испытании - в соответствии с
7.2.
6.2.1. Наушники средних размеров N
6.2.1.1. Наушники с оголовьем, располагающимся поверх головы
Для каждой комбинации тестовых размеров в таблице 1 регулирование чашек/оголовья и ширины между уплотнителями должно позволять крепить наушники на испытательной установке.
Таблица 1
Тестовые размеры (наушники с оголовьем,
располагающимся поверх головы)
Размеры в миллиметрах
┌────────────────────────────┬──────────────┬────────────────────┐
│ Тип наушников │ Высота │ Ширина │
├────────────────────────────┼──────────────┼────────────────────┤
│ Наушники малых размеров S │ 115 │ 125 │
├────────────────────────────┼──────────────┼────────────────────┤
│ Наушники средних размеров N│ 115 │ 145 │
│ ├──────────────┼────────────────────┤
│ │ 130 │ 125, 145, 155 │
│ ├──────────────┼────────────────────┤
│ │ 140 │ 145 │
├────────────────────────────┼──────────────┼────────────────────┤
│ Наушники больших размеров L│ 140 │ 155 │
├────────────────────────────┴──────────────┴────────────────────┤
│ Примечание. Размеры даны для представления соответствующих│
│комбинаций ширины и высоты головы для 5, 50 и 95-ти процентов│
│взрослого населения. │
└────────────────────────────────────────────────────────────────┘
6.2.1.2. Наушники с оголовьем, располагающимся на затылке или под подбородком
Для каждой комбинации тестовых размеров, отмеченных буквой N в таблице 2, регулирование чашек/оголовья и ширины между уплотнителями должно позволять крепить наушники на испытательной установке.
Таблица 2
Тестовые размеры (наушники с оголовьем,
располагающимся сзади головы и под подбородком)
Размеры в миллиметрах
┌────────────────────────────┬──────────────┬────────────────────┐
│ Тип наушников │ Глубина │ Ширина │
├────────────────────────────┼──────────────┼────────────────────┤
│ Наушники малых размеров S │ 75 │ 125 │
├────────────────────────────┼──────────────┼────────────────────┤
│ Наушники средних размеров N│ 75 │ 145 │
│ ├──────────────┼────────────────────┤
│ │ 90 │ 125, 145, 155 │
│ ├──────────────┼────────────────────┤
│ │ 105 │ 145 │
├────────────────────────────┼──────────────┼────────────────────┤
│ Наушники больших размеров L│ 105 │ 155 │
├────────────────────────────┴──────────────┴────────────────────┤
│ Примечание. Размеры даны для представления соответствующих│
│комбинаций ширины и глубины головы для 5, 50 и 95-ти процентов│
│взрослого населения. │
└────────────────────────────────────────────────────────────────┘
6.2.2. Наушники малых размеров S
6.2.2.1. Наушники с оголовьем, располагающимся поверх головы
Для каждой комбинации тестовых размеров в
таблице 1 регулирование чашек/оголовья и ширины между уплотнителями должно позволять крепить наушники на испытательной установке.
6.2.2.2. Наушники с оголовьем, располагающимся на затылке или под подбородком
Для каждой комбинации тестовых размеров, отмеченных буквой S в
таблице 2, регулирование чашек/оголовья и ширины между уплотнителями должно позволять крепить наушники на испытательной установке.
6.2.3. Наушники больших размеров L
6.2.3.1. Наушники с оголовьем, располагающимся поверх головы
Для каждой комбинации тестовых размеров, отмеченных буквой L в
таблице 1, регулирование чашек/оголовья и ширины между уплотнителями должно позволять крепить наушники на испытательной установке.
6.2.3.2. Наушники с оголовьем, располагающимся на затылке или под подбородком
Для каждой комбинации тестовых размеров, отмеченных буквой L в
таблице 2, регулирование чашек/оголовья и ширины между уплотнителями должно позволять крепить наушники на испытательной установке.
При испытании в соответствии с
7.3 контакт между уплотнителями и пластинами устройства должен быть постоянным, так как это обеспечивает ненарушаемый барьер между внутренним и внешним периметрами уплотнителей.
При испытании в соответствии с
7.4 усилие прижатия не должно превышать 14 Н.
6.5. Давление уплотнительных прокладок
При испытании в соответствии с
7.5 давление уплотнительных прокладок не должно превышать 4500 Па.
6.6. Устойчивость к удару
За исключением условий, указанных в 6.7, наушники (за исключением заменяемых уплотнителей) не должны трескаться. А также не должны откалываться какие-либо из частей таким образом, чтобы восстановление наушника требовало применения специального инструмента или замены детали.
6.7. Устойчивость по отношению к низким температурам (необязательно)
При испытании в соответствии с
7.7 наушники (за исключением заменяемых уплотнителей) не должны трескаться. А также не должны откалываться какие-либо из частей таким образом, чтобы восстановление наушника требовало применения специального инструмента или замены детали.
6.8. Изменение усилия прижатия (включая устойчивость по отношению к низким температурам)
Усилие прижатия не должно меняться более чем на 20% от усилия, измеряемого в соответствии с
7.4, после того как наушники оказались в соответствующих условиях и испытаны по
7.1.3.1 -
7.1.3.12.
6.9. Акустическая эффективность (заглушающая способность)
Отклонения, упомянутые в
7.11.4, не должны превышать 4 дБ в четырех и более смежных третьоктавных полосах и не должны быть более 7 дБ в любой индивидуальной третьоктавной полосе.
6.10. Устойчивость амортизатора к протечкам
Если уплотнительные прокладки имеют жидкий наполнитель, то они не должны протекать при испытании наушников в соответствии с
7.12.
При испытании в соответствии с
7.13 никакая из частей наушника не должна гореть или тлеть после извлечения нагретого стержня.
6.12. Минимальное поглощение шума
При испытании в соответствии с
7.14 значения

наушника не должны быть меньше данных, указанных в таблице 3.
Таблица 3
| | ИС МЕГАНОРМ: примечание. Текст в шапке таблицы дан в соответствии с официальным текстом документа. | |
┌────────┬───────────────────────────────────────────────────────┐
│ Группа │ Значение минимального поглощения шума для наушников │
│наушника│ (M - s )
<1>, дБ, при частоте, Гц │
│ │ s f │
│ ├───────┬───────┬───────┬───────┬───────┬───────┬───────┤
│ │ 125 │ 250 │ 500 │ 1000 │ 2000 │ 4000 │ 8000 │
├────────┼───────┼───────┼───────┼───────┼───────┼───────┼───────┤
│ А │ 5 │ 8 │ 10 │ 12 │ 12 │ 12 │ 12 │
├────────┼───────┼───────┼───────┼───────┼───────┼───────┼───────┤
│ Б │ - │ 5 │ 7 │ 9 │ 9 │ 9 │ 9 │
├────────┴───────┴───────┴───────┴───────┴───────┴───────┴───────┤
│ <1> M - среднее значение поглощения шума; │
│ f │
│ s - стандартные отклонения в соответствии с│
│ f │
└────────────────────────────────────────────────────────────────┘
7.1. Образцы, условия и схема испытаний
Испытания следует проводить на наушниках, не отличающихся от тех, что предлагают для продажи. Испытания проводят на десяти наушниках, пронумерованных от 1 до 10.
Все образцы следует испытывать при температуре (22 +/- 5) °C и относительной влажности не более 85%, если это не оговорено иным образом.
Примечание. Испытание может быть прервано, если образец не отвечает соответствующим требованиям.
Схема испытания десяти образцов следующая (см. также рисунок 2):
Рисунок 2. Схема последовательности испытаний
7.1.3.1. Полностью распакуйте наушники.
7.1.3.2. Не менее 4 ч наушники должны находиться в условиях, указанных в
7.1.2.
7.1.3.3. Взвесьте каждый наушник и вычислите среднюю массу наушников до граммов.
Схема испытания образцов с 1-го по 6-й номер следующая:
7.1.3.4. Убедитесь, что каждый образец отвечает требованиям
6.2,
6.3,
6.4 и
6.5.
7.1.3.5. Если не предполагается испытывать наушники на устойчивость к низким температурам согласно
6.7, то проверьте наушники в соответствии с
6.6 на устойчивость к удару.
7.1.3.6. Проверьте каждый образец на устойчивость к низким температурам согласно
6.7 (необязательно).
7.1.3.7. Проверьте каждый образец на гибкость оголовья согласно
7.8.
7.1.3.8. Снимите чашки (если возможно) или уплотнители, или вкладыши с каждой чашки каждого образца, предварительно пометив чашки или уплотнители для обеспечения соответствующей обратной сборки.
Если чашки или уплотнители, или вкладыши не предназначены для снятия и/или замены, то во время испытания уплотнители и вкладыши должны быть защищены от попадания воды.
7.1.3.9. Если не проверяется устойчивость к высоким температурам согласно 7.1.3.10, то проверьте каждый образец на влагоустойчивость согласно
7.9.
7.1.3.10. Проверьте каждый образец на устойчивость к высоким температурам согласно
7.10 (необязательно).
7.1.3.11. Извлеките каждый образец из емкости с водой, заметив время извлечения, и верните уплотнители на место (если они были предварительно вынуты). Удалите излишки воды. Если вкладыши были вынуты, то верните их на место, и для всех образцов с заменяемыми уплотнителями поставьте новые уплотнители на каждую чашку в соответствии с инструкцией изготовителя.
7.1.3.12. На (60 +/- 5) мин от момента извлечения образцов из воды согласно
7.1.3.11 поместите каждый образец в условия, указанные в
7.1.2, и затем немедленно измерьте усилие прижатия в соответствии с
7.4.
7.1.3.13. Поместите каждый образец в условия, указанные в
7.1.2, не менее чем на 16 ч.
Продолжайте испытание всех десяти образцов следующим образом:
7.1.3.14. Измерьте акустическую эффективность каждой чашки, каждого образца в соответствии с
7.11.
7.1.3.15. Подсчитайте стандартное отклонение акустической эффективности для всех двадцати образцов, используя (N - 1) схему для образцов.
Продолжайте испытание образцов 5-го и 6-го номеров следующим образом:
7.1.2.16. Если требуется, то проверьте оба образца на соответствие требованиям
6.10.
7.1.3.17. Проверьте оба образца на соответствие требованиям
раздела 5.
7.1.3.18. Проверьте оба образца на соответствие требованиям
6.11.
Продолжайте испытание образцов с 1-го по 4-номер следующим образом:
7.1.3.19. Измерьте поглощение шума образцами в соответствии с
7.14.
7.2.1. Принцип
Возможность регулировать наушники, чтобы они отвечали по размерам требованиям тестирования, достигается благодаря использованию соответствующей испытательной установки.
7.2.2. Аппаратура
7.2.2.1. Измерительная установка. Схема измерительной установки изображена на
рисунке 1.
7.2.2.2. Модель ушной раковины. Требуемые размеры показаны на рисунке 3.
Рисунок 3. Макет ушной раковины для испытания соответствия
размеров (только для физических измерений)
7.2.2.3. Адаптер неплоских амортизаторов. Для наушников с неплоскими уплотнителями изготовитель должен поставлять соответствующие адаптеры, которые закрепляются на испытательной установке.
7.2.3. Испытания
7.2.3.1. Наушники с оголовьем, располагающимся поверх головы
7.2.3.1.1. Укрепите модели ушной раковины на пластинах таким образом, чтобы их длинные оси были вертикальны, и отрегулируйте оголовье, чтобы оно находилось посередине между пластинами.
7.2.3.1.2. Отрегулируйте чашки/оголовье на их наибольшее расстояние.
7.2.3.1.3. Расположите наушники на испытательной установке таким образом, чтобы оголовье располагалось вертикально и модели ушной раковины прилегали к уплотнителям.
7.2.3.1.4. Отрегулируйте расстояние между пластинами и высоту опоры оголовья каждой комбинации размеров ширины и высоты соответственно
таблице 1. Проверьте, чтобы регулировка чашек/оголовья и расстояния между уплотнителями позволяла установить наушники следующим образом:
а) внутренняя верхушка оголовья касается опоры оголовья;
б) контакт между уплотнителями и пластинами испытательной установки постоянен, так как это обеспечивает ненарушаемый барьер между внутренним и наружным параметрами уплотнителей.
7.2.3.2. Наушники с оголовьем, располагающимся на затылке или под подбородком
7.2.3.2.1. Укрепите модели ушной раковины к пластинам таким образом, чтобы их короткие оси располагались вертикально, и отрегулируйте опору оголовья так, чтобы она располагалась в середине расстояния между пластинами.
7.2.3.2.2. Отрегулируйте чашки/оголовье на их длинную позицию.
7.2.3.2.3. Расположите наушники на испытательной установке так, чтобы оголовье располагалось вертикально и модели ушной раковины соприкасались с уплотнителями.
7.2.3.2.4. Тестовые размеры противошумных наушников с оголовьем, располагающимся на затылке или под подбородком, представлены в
таблице 2.
7.2.3.2.5. Отрегулируйте расстояние между пластинами и высоту опоры оголовья соответственно каждой комбинации размеров ширины и глубины соответственно
таблице 2. Проверьте, чтобы регулировка чашек/оголовья и расстояния между уплотнителями позволяла установить наушники следующим образом:
а) внутренняя вершина оголовья либо касается, либо лежит за опорой оголовья;
б) контакт между уплотнителями и пластинами испытательной установки постоянен, так как это обеспечивает ненарушаемый барьер между внутренним и наружным параметрами уплотнителей.
7.2.4. Регистрация результатов
7.3.1. Принцип
После установления определенного режима регулирования наушников на соответствующей испытательной установке проверяется возможность выполнения необходимых угловых поворотов чашек наушников.
7.3.2. Аппаратура
7.3.2.1. Измерительная установка. Примерная схема измерительной установки представлена на
рисунке 1.
7.3.2.2. Макеты ушных раковин. Требуемые размеры макетов ушных раковин показаны на
рисунке 3.
7.3.2.3. Адаптер неплоских амортизаторов. Для наушников с неплоскими уплотнителями изготовитель должен поставлять соответствующие адаптеры, закрепляемые на испытательной установке.
7.3.3. Испытания
7.3.3.1. Установите макеты ушных раковин на пластинах установки таким образом, чтобы длинная ось ушной раковины была вертикальна для позиции наушников "с оголовьем над головой" и "с оголовьем под подбородком" или же короткая ось была вертикальна для позиции наушников "с оголовьем на затылке".
7.3.3.2. Отрегулируйте положение пластин так, чтобы их верхний край находился под углом 5°, а расстояние между ними по горизонтальной средней линии составляло 145 мм.
7.3.3.3. Поместите наушники на испытательную установку так, чтобы оголовье находилось в вертикальном положении, а макеты ушных раковин были накрыты амортизаторами. Установите комплекс чашки/оголовье на средней точке их регулировки.
7.3.3.4. Проводите одновременный поворот пластин на +/- 5° через центр вокруг горизонтальной оси в плоскости пластин и на +/- 5° вокруг второй оси, тоже лежащей в плоскости пластин, но перпендикулярной к горизонтальной оси.
7.3.3.5. Проследите, сохраняется ли при этом повороте контакт между амортизаторами и пластинами на всем его протяжении.
7.3.4. Регистрация результатов
Запишите данные наблюдений
7.3.3.5.
7.4. Усилие прижатия оголовья
7.4.1. Принцип
После установления определенного режима регулирования наушников проводят измерение усилия прижатия оголовья через амортизаторы на пластины, причем во время этого процесса расстояние между пластинами должно сохраняться практически постоянным.
7.4.2. Аппаратура
7.4.2.1. Испытательная установка
Примерная схема испытательной установки представлена на
рисунке 1. Для измерения силы используют электронной датчик. Макеты ушных раковин для этого теста не нужны.
7.4.2.2. Адаптер неплоских амортизаторов
Для наушников с неплоскими амортизаторами изготовитель должен поставлять соответствующие адаптеры, закрепляемые на испытательной установке.
7.4.3. Испытания
Примечание. Эти испытания рекомендуется проводить одновременно с измерением давления амортизаторов, как описано в
7.5.
7.4.3.1. Отрегулируйте пластины так, чтобы они были параллельны и расстояние между их внешними поверхностями составляло 145 мм.
7.4.3.2. Поместите наушники на испытательную установку так, чтобы оголовье располагалось вертикально. Амортизаторы должны накладываться их открытой частью на пластину так, чтобы центр открытой части амортизатора совпал с отверстием пластин, в котором закрепляют макеты ушных раковин, в соответствии с
рисунком 1.
При испытании наушников "средних" размеров установите высоту комплекса чашки/оголовье 130 мм для позиций наушников "оголовье над головой" и "оголовье под подбородком", а для позиции "оголовье на затылке" возьмите среднюю точку регулировки.
При испытании наушников "малых/больших размеров" устанавливают среднюю точку регулировки комплекса чашки/оголовье.
Оголовье нигде не должно соприкасаться с испытательной установкой.
7.4.3.3. Считывание показателя датчика силы проводят спустя 2 мин +/- 5 с после выполнения требований
7.4.3.2.
7.4.4. Регистрация результатов
Запишите показания силы в ньютонах из
7.4.3.3. Вычислите и запишите среднее значение усилия прижатия оголовья после тестирования с 1-го по 6-й образец наушников.
7.5. Давление амортизаторов
7.5.1. Принцип
После установления определенного режима регулирования наушников проведите измерение силы давления через амортизаторы на поддерживающие их пластины, причем во время этого процесса расстояние между пластинами должно сохраняться практически постоянным. Измерьте также площадь контакта между одним из амортизаторов и пластиной.
Примечание. Требование постоянного контакта необходимо, поскольку сила давления, оказываемого оголовьем, не обязательно распределяется по поверхности амортизатора равномерно, а площадь реального контакта между амортизатором и пластиной почти всегда меньше, чем площадь поверхности амортизатора. Чтобы выполнить требование постоянного контакта, приходится применять специальные приспособления: либо особые крепления для чашек, либо просто прижимать чашки рукой к поверхности пластин.
7.5.2. Аппаратура
7.5.2.1. Измерительная установка
Схема измерительной установки показана на
рисунке 1. Для измерения силы используют электронный датчик. Макеты ушных раковин для этого теста не нужны.
7.5.2.2. Маркировочное средство, например разбавленные литографские чернила, белый вазелин или эмульсионная краска.
7.5.2.3. Прибор для измерения площади контакта, например планиметр.
7.5.2.4. Адаптер неплоских амортизаторов.
Для наушников с неплоскими амортизаторами изготовитель должен поставлять соответствующие адаптеры, закрепляемые на испытательной установке.
7.5.3. Испытания
Примечание. Рекомендуется выполнять эти испытания одновременно с измерением усилия прижатия оголовья согласно
7.4.
7.5.3.1. Отрегулируйте пластины так, чтобы они были параллельны и расстояние между их внешними поверхностями составляло 145 мм. На внешнюю поверхность одной из пластин прикрепите лист бумаги размером немного больше наружной поверхности амортизатора.
7.5.3.2. Нанесите на один из амортизаторов маркировочное средство.
7.5.3.3. Поместите наушники на испытательную установку так, чтобы оголовье располагалось вертикально. Центр открытой части амортизаторов должен совпадать с монтажным отверстием пластин, в котором закрепляют макеты ушных раковин согласно
рисунку 1.
При испытании наушников "средних" размеров установите высоту комплекса чашки/оголовье на уровне 130 мм для позиций наушников "оголовье над головой" и "оголовье под подбородком", а для позиции "оголовье на затылке" возьмите среднюю точку регулировки.
При испытании наушников "малых/больших размеров" устанавливают среднюю точку регулировки комплекса чашки/оголовье.
Получите на бумаге отпечаток амортизатора, покрытого маркировочным средством.
При испытании обеспечьте отсутствие контакта чашек, оголовья и других деталей наушников с любой частью испытательной установки, иначе показания силы окажутся искаженными.
7.5.3.4. Запишите показания датчика силы спустя 2 мин +/- 5 с после выполнения требований
7.5.3.3 и снимите наушники с конструкции.
7.5.3.5. Снимите с установки лист бумаги и измерьте площадь отпечатка амортизатора. При измерении включите области контакта амортизатора, случайно оставшиеся незакрашенными.
7.5.3.6. Вычислите давление амортизатора в паскалях.
7.5.4. Регистрация результатов
Запишите давление амортизатора в паскалях.
7.6. Устойчивость к повреждению при падении
7.6.1. Принцип
Наушники роняют с определенной высоты на стальную пластину.
7.6.2. Аппаратура
7.6.2.1. Гладкая стальная пластина толщиной не менее одного сантиметра, размерами 50 x 50 см.
7.6.2.2. Приспособление для подвешивания наушников над пластиной на высоте примерно 1,5 м.
7.6.3. Испытания
7.6.3.1. Положите стальную пластину на ровный пол.
7.6.3.2. Установите среднюю точку регулировки комплекса чашки/оголовье.
7.6.3.3. Подвесьте наушники за центральную часть оголовья с чашками, опрокинутыми вниз, так чтобы самая нижняя точка наушников находилась на высоте (150 +/- 1) см над стальной пластиной.
7.6.3.4. Уроните наушники на пластину и проверьте, не появились ли на них трещины, не отделились ли какие-то части (не считая сменных амортизаторов).
7.6.4. Регистрация результатов
Запишите, возникли ли трещины, отделились ли какие-то части наушников.
7.7. Устойчивость к низким температурам (необязательно)
7.7.1. Принцип
Наушники подвергают предварительному выдерживанию (кондиционированию) при минус 20 °C, а затем их роняют с определенной высоты на стальную пластину.
7.7.2. Аппаратура
7.7.2.1. Холодильная камера с постоянной температурой (минус 20 +/- 3) °C.
7.7.2.2. Гладкая стальная пластина толщиной не менее 1 см, размером 50 x 50 см.
7.7.2.3. Приспособление для подвешивания наушников над пластиной на высоте примерно 1,5 м.
7.7.3. Испытания
7.7.3.1. Положите стальную пластину на ровный пол.
7.7.3.2. Установите среднюю точку регулировки комплекса чашки/оголовье.
7.7.3.3. Выдержите наушники в холодильной камере по крайней мере 4 ч.
7.7.3.4. Выньте наушники из холодильной камеры и в течение 10 с выполните требования 7.7.3.5 и
7.7.3.6.
7.7.3.5. Подвесьте наушники за центральную часть оголовья наушниками, обращенными вниз, так чтобы самая нижняя точка наушников находилась на высоте (150 +/- 1) см над стальной пластиной.
7.7.3.6. Уроните наушники на пластину и проверьте, не появились ли на них трещины, не отделились ли какие-то части (не считая сменных амортизаторов).
Примечание. Если какая-то часть наушников отделилась, то ее следует вернуть на место и продолжить тестирование по схеме, причем восстановление целостности наушников должно осуществляться без применения инструментов или запасных частей.
7.7.4. Регистрация результатов
Запишите, возникли ли трещины, отделились ли какие-нибудь части наушников.
7.8.1. Принцип
После установления определенного режима регулирования наушников проведите установленное число стандартных сгибаний оголовья.
7.8.2. Аппаратура
Сгибающее устройство, которое обеспечивает синусоидальные движения между двумя параллельными пластинами. Примерная схема показана на рисунке 4.
1 - основание; 2 - фиксированные монтажные рычаги;
3 - фиксированная монтажная платформа; 4 - зажим
для наушников; 5 - качающиеся рычаги с параллельным
движением; 6 - движущаяся платформа; 7 - подвижный
держатель; 8 - мотор; 9 - коленчатый рычаг;
10 - соединительный стержень; 11 - счетчик
Рисунок 4. Устройство для сгибания оголовья
7.8.3. Испытания
7.8.3.1. Установите среднюю точку регулировки комплекса чашки/оголовье. Если положение комплекса чашки/оголовье неустойчиво, следует закрепить постоянное положение, например с помощью клейкой ленты. Это не должно мешать нормальным колебаниям чашек на оголовье.
7.8.3.2. Поместите наушники на устройство и прикрепите чашки к пластинам, например с помощью эластичного бинта.
7.8.3.3. Установите минимальное расстояние между пластинами, равное расстоянию между амортизаторами наушников при их свободном положении либо равное 25 мм (выберите

расстояние из двух).
7.8.3.4. Установите максимальное расстояние между пластинами (200 +/- 5) мм.
7.8.3.5. Совершайте циклические движения наушников, так чтобы расстояние попеременно было то минимальным, то максимальным; скорость 10 - 12 циклов в минуту, всего 1000 циклов.
Примечание. В процессе испытания ни одна часть оголовья не должна касаться какого-либо объекта; это создаст механические помехи.
7.9.1. Принцип
Удалив все сменные детали, выдержите наушники в воде.
7.9.2. Аппаратура
7.9.2.1. Водяная баня. Температуру воды постоянно поддерживают (50 +/- 2) °C.
7.9.2.2. Приспособление для удерживания наушников под водой.
7.9.3. Испытания
После снятия чашек (если это возможно) или удаления из них амортизаторов и вкладышей погрузите оставшиеся компоненты наушников в водяную баню на (24 +/- 1) ч. Если чашки неснимаемые, а амортизаторы или вкладыши неснимаемые или незаменяемые, то во время испытания их необходимо предохранять от воды.
7.10. Выдерживание (кондиционирование) при высокой температуре (50 °C)
7.10.1. Принцип
После удаления вкладышей наушники погружают в воду и выдерживают, поставив между амортизаторами горизонтальную распорку.
7.10.2. Аппаратура
7.10.2.1. Водяная баня. Температуру воды постоянно поддерживают (50 +/- 2) °C.
7.10.2.2. Приспособление для удерживания наушников под водой.
7.10.2.3. Горизонтальная распорка, обеспечивающая между наушниками расстояние 145 мм.
7.10.3. Испытания
После удаления вкладышей (но без снятия амортизаторов) наушники помещают на распорку. Положение комплекса чашки/оголовье определяют по
7.4.3.2. Наушники вместе с распоркой погружают в водяную баню на (24 +/- 1) ч. Если амортизаторы несменяемые, то их следует во время теста предохранять от воды.
7.11. Акустическая эффективность (заглушающая способность)
7.11.1. Принцип
Акустическую эффективность каждой чашки наушников измеряют на среднегеометрической частоте третьоктавной полосы.
7.11.2. Аппаратура
Необходимое оборудование, включая соответствующую испытательную установку для проведения испытания, определяют по
ГОСТ Р 12.4.213.
7.11.3. Испытания
7.11.3.1. Можно применять случайно падающее звуковое поле либо плоскую бегущую волну. Однако если в случае плоской поступательной волны не соблюдается требование
6.9, то испытание повторяют с применением случайно падающего звукового поля.
7.11.3.2. Акустическую эффективность измеряют на всех третьоктавных полосах частот от 250 до 8000 Гц.
7.11.3.3. Акустическую эффективность каждой чашки измеряют три раза и по результатам трех измерений вычисляют среднее значение.
7.11.3.4. Регистрируют согласно
7.11.3.3 среднее значение и стандартное отклонение результатов, полученных для образцов чашек с 1-го по 20-й номер.
7.11.3.5. Для универсальных наушников акустическую эффективность измеряют только в одной позиции, предпочтительно "над головой".
7.11.4. Регистрация результатов
На каждой частоте и для каждой чашки запишите индивидуальное среднее значение акустической эффективности, а для всех чашек - среднее значение и стандартное отклонение регистрируйте согласно
7.11.3.3 и
7.11.3.4.
7.12. Устойчивость к протечкам
7.12.1. Принцип
Амортизаторы, заполненные жидкостью, подвергают нагрузке и проверяют на наличие протечки.
7.12.2. Аппаратура
7.12.2.1. Гладкая стальная пластина толщиной не менее 10 мм и площадью, достаточной для того, чтобы поместился амортизатор после его деформации.
7.12.2.2. Приспособления для создания нагрузки на амортизатор.
7.12.3. Испытания
7.12.3.1. Положите пластину горизонтально на твердую поверхность.
7.12.3.2. Положите одну из чашек на пластину так, чтобы ее амортизатор контактировал с пластиной на всем протяжении его окружности.
7.12.3.3. Приложите к чашке вертикальную нагрузку 28 Н в течение (15 +/- 1) мин.
7.12.3.4. Снимите нагрузку и проверьте, не произошло ли утечки жидкости из амортизатора.
7.12.3.5. Повторите указания
7.12.3.2 и
7.12.3.4 для других образцов чашка/амортизатор.
7.12.4. Регистрация результатов
Запишите, произошла ли протечка какого-либо из амортизаторов.
7.13.1. Принцип
К наушнику прикладывают стальной стержень, нагретый до определенной температуры.
7.13.2. Аппаратура
7.13.2.1. Стальной стержень длиной 300 мм, диаметром 6 мм, с плоскими концами.
7.13.2.2. Источник нагрева.
7.13.2.3. Термопара для измерения температуры.
7.13.3. Испытания
7.13.3.1. Нагрейте один конец стержня на длину примерно 50 мм до температуры (650 +/- 20) °C.
7.13.3.2. Стержень держат вертикально и, убедившись, что температура его конца составляет (650 +/- 20) °C, прикладывают плоскую часть конца стержня к поверхности наушника с силой, создаваемой собственной массой стержня, на период (5 +/- 0,5) с.
7.13.3.3. Снова нагрейте стержень и повторите испытание столько раз, сколько нужно для проверки на возгорание всех материалов, входящих в состав деталей наушников.
7.13.4. Регистрация результатов
Запишите, не произошло ли возгорание какой-либо части наушников либо тление после удаления стержня.
Поглощение шума образцами с 1-го по 4-й номер измеряют и данные представляют согласно
ГОСТ 12.4.211 (регистрируют средние значения и стандартные отклонения).
Для универсальных наушников поглощение шума измеряют при каждом положении, в котором предполагается использовать наушники.
8. Информация изготовителя
Инструкция, соответствующая 8.1 и
8.2, должна быть предоставлена на официальном языке (языках) европейской страны-заказчика.
8.1. Инструкция для пользователя
Наушники должны быть снабжены следующей информацией пользователя:
а) номер настоящего стандарта;
б) торговая марка либо другие средства идентификации изготовителя, импортера или дистрибьютора;
в) предназначение модели;
г) указания (выбрать нужные):
Данная модель наушников отвечает требованиям испытания при температуре плюс 50 °C.
Данная модель наушников отвечает требованиям испытания при температуре минус 20 °C.
Примечание. Возможно сочетание этих указаний;
д) описание типа оголовья и амортизаторов;
е) метод подгонки/регулирования;
ж) для наушников "малых/больших размеров" указывают (выбрать нужное):
На упаковочной коробке:
"Предупреждение: наушники "малых/больших размеров". Смотри инструкцию для пользователя".
В инструкции для пользователя:
"Предупреждение: наушники "малых/больших размеров". Наушники, удовлетворяющие ГОСТ Р 12.4.208-99, бывают "средних размеров" либо "малых/больших размеров". Наушники "среднего размера" подходят для большинства пользователей. Наушники "малых/больших размеров" предназначены для тех потребителей, которым не годятся наушники "среднего размера";
и) для каждого способа ношения наушников существуют следующие показатели ослабления звука:
1) среднее значение и стандартное отклонение при каждой частоте испытания,
2) показатель APV при каждой частоте испытания согласно ГОСТ Р 12.4.212 при параметре

,
3) показатели H, M и L согласно ГОСТ Р 12.4.212 при параметре

,
4) показатель SNR согласно ГОСТ Р 12.4.212 при параметре

.
Все показатели одинаково важны;
к) рекомендации для потребителя предусматривают:
1) соответствие подгонки, регулировки и условий хранения наушников инструкциям изготовителя,
2) обязательное ношение наушников в условиях шума,
3) регулярную проверку эксплуатационной надежности наушников;
л) предупреждение, что в случае несоблюдения требований
8.1, перечисление к) защитная способность наушников будет существенно нарушена;
м) метод очистки и дезинфекции наушников, который предусматривает конкретные чистящие средства и требует использования средств, известных в качестве безвредных для человека;
н) указание: "На данный продукт могут неблагоприятно влиять определенные химические вещества. Подробную информацию следует запросить у изготовителя";
п) указание: "Наушники и, в частности, амортизаторы могут повреждаться при использовании и должны подвергаться регулярной частой проверке, например, на возникновение трещин или протечек";
р) рекомендуемые условия хранения до и после использования;
с) предназначение/ссылки и другая информация, необходимая при заказе сменных амортизаторов;
т) метод смены амортизаторов (при необходимости);
у) масса наушников;
ф) адрес для запроса дополнительной информации.
8.2. Дополнительная информация
Изготовитель предоставляет по требованию следующую информацию:
а) диапазон размеров головы, для которых пригодны наушники;
б) информацию, указанную в
8.1;
в) результаты испытаний, выполненных в соответствии с настоящим стандартом;
г) название лаборатории, проводившей испытания, указанные в
8.2, перечисление в), страну, где проводили испытания, и дату испытаний.
Наушники должны быть снабжены маркировкой, которая содержит следующее:
а) название, торговую марку или другие идентификационные признаки изготовителя;
б) предназначение модели;
в) указания на чашках "ПЕРЕД" и/или "ВЕРХ", а также "ЛЕВАЯ" и "ПРАВАЯ", если изготовитель предусматривает ношение модели конкретно ориентированным образом;
г) номер настоящего стандарта.