Главная // Актуальные документы // ГОСТ Р (Государственный стандарт)СПРАВКА
Источник публикации
М.: Стандартинформ, 2008
Примечание к документу
Документ утратил силу с 1 января 2013 года в связи с изданием
Приказа Росстандарта от 13.12.2011 N 1324-ст. Взамен введен в действие
ГОСТ ISO 9919-2011.
Документ
введен в действие с 1 июля 2008 года.
Взамен ГОСТ Р ИСО 9919-99.
Название документа
"ГОСТ Р ИСО 9919-2007. Национальный стандарт Российской Федерации. Изделия медицинские электрические. Частные требования безопасности и основные характеристики пульсовых оксиметров"
(утв. и введен в действие Приказом Ростехрегулирования от 25.12.2007 N 411-ст)
"ГОСТ Р ИСО 9919-2007. Национальный стандарт Российской Федерации. Изделия медицинские электрические. Частные требования безопасности и основные характеристики пульсовых оксиметров"
(утв. и введен в действие Приказом Ростехрегулирования от 25.12.2007 N 411-ст)
Утвержден и введен в действие
по техническому регулированию
и метрологии
от 25 декабря 2007 г. N 411-ст
НАЦИОНАЛЬНЫЙ СТАНДАРТ РОССИЙСКОЙ ФЕДЕРАЦИИ
ИЗДЕЛИЯ МЕДИЦИНСКИЕ ЭЛЕКТРИЧЕСКИЕ
ЧАСТНЫЕ ТРЕБОВАНИЯ БЕЗОПАСНОСТИ И ОСНОВНЫЕ ХАРАКТЕРИСТИКИ
ПУЛЬСОВЫХ ОКСИМЕТРОВ
Medical electrical equipment. Particular requirements
for basic safety and essential performance
of pulse oximeters
ИSO 9919:2005
Medical electrical equipment - Particular requirements
for basic safety and essential performance of pulse
oximeters equipment for medical use
(IDT)
ГОСТ Р ИСО 9919-2007
Группа Р22
ОКС 11.040.10
ОКСТУ 9441
Дата введения
1 июля 2008 года
Цели и принципы стандартизации в Российской Федерации установлены Федеральным
законом от 27 декабря 2002 г. N 184-ФЗ "О техническом регулировании", а правила применения национальных стандартов Российской Федерации -
ГОСТ Р 1.0-2004 "Стандартизация в Российской Федерации. Основные положения".
1. Подготовлен Закрытым акционерным обществом "ВНИИМП-ВИТА" на основе аутентичного перевода стандарта, указанного в пункте 4.
2. Внесен Техническим комитетом по стандартизации ТК 11 "Медицинские приборы и аппараты".
3. Утвержден и введен в действие
Приказом Федерального агентства по техническому регулированию и метрологии N 411-ст от 25 декабря 2007 г.
4. Настоящий стандарт идентичен международному стандарту ИСО 9919:2005 "Изделия медицинские электрические. Частные требования безопасности и основные характеристики пульсовых оксиметров медицинского назначения" (ISO 9919:2005 "Medical electrical equipment - Particular requirements for basic safety and essential performance of pulse oximeters equipment for medical use").
Наименование настоящего стандарта изменено относительно наименования указанного международного стандарта для приведения в соответствие с ГОСТ Р 1.5-2004
(подраздел 3.5).
При применении настоящего стандарта рекомендуется использовать вместо ссылочных международных стандартов соответствующие им национальные стандарты, сведения о которых приведены в дополнительном
Приложении KK.
5. Взамен ГОСТ Р ИСО 9919-99.
Информация об изменениях к настоящему стандарту публикуется в ежегодно издаваемом информационном указателе "Национальные стандарты", а текст изменений и поправок - в ежемесячно издаваемых информационных указателях "Национальные стандарты". В случае пересмотра (замены) или отмены настоящего стандарта соответствующее уведомление будет опубликовано в ежемесячно издаваемом информационном указателе "Национальные стандарты". Соответствующая информация, уведомление и тексты размещаются также в информационной системе общего пользования на официальном сайте Федерального агентства по техническому регулированию и метрологии в сети Интернет.
Сопоставление степени насыщения гемоглобина артериальной крови кислородом и частоты пульса методом пульсовой оксиметрии стало обычной практикой во многих областях медицины. Настоящий стандарт устанавливает основные требования к безопасности и существенным характеристикам, которые можно выполнять в рамках имеющейся методики.
Приложение AA содержит обоснование некоторых требований.
Приложение AA включено в настоящий стандарт для более глубокой оценки причин, которые привели к разработке требований и определений опасностей, к которым предъявляются эти требования.
Приложение BB представляет собой литературный обзор, касающийся определения максимально безопасной температуры границы раздела между датчиком пульсового оксиметра и тканью пациента.
В
Приложении CC обсуждается как формула, которая используется для оценки точности измерения

пульсовым оксиметром, так и термины, используемые в этой формуле.
Приложение DD представляет собой руководство о том, когда необходимо проведение калибровки пульсового оксиметра по крови in vitro.
Приложение EE содержит руководящие указания по контролируемому исследованию десатурации для калибровки пульсового оксиметра.
Приложение FF служит вводным руководством к некоторым видам тестеров, используемых в пульсовом оксиметре.
Приложение GG дает общее представление о времени отклика пульсового оксиметра.
Настоящий стандарт является частным стандартом и разработан на основе стандарта МЭК 60601-1:1988, включая Изменения 1 (1991) и 2 (1995), здесь и далее именуемый как общий стандарт. Общий стандарт - это основополагающий стандарт на безопасность всего медицинского электрооборудования, применяемого непосредственно или под наблюдением квалифицированного персонала в лечебных учреждениях или среде, окружающей пациента; он также содержит ряд требований к надежной работе, обеспечивающей безопасность.
Общий стандарт объединяет дополнительные и частные стандарты. Дополнительные стандарты включают требования к конкретным методам и/или опасностям и применяются ко всему используемому оборудованию, например к медицинским системам, методам электромагнитной совместимости, радиационной защиты в диагностическом рентгеновском оборудовании, к программным средствам и т.д. Частные стандарты применяются к специальным видам оборудования, таким как медицинские электронные ускорители, хирургическое оборудование высокой частоты, больничные кровати и т.д.
Примечание. Определения дополнительных стандартов и частных стандартов можно найти в стандарте МЭК 60601-1:1988, 1.5 и A.2, соответственно.
Чтобы облегчить применение настоящего стандарта на стадии проекта, были приняты следующие условные обозначения.
Изменения к тексту МЭК 60601-1:1988, общий стандарт, дополненный дополнительными стандартами, обозначаются следующими словами:
- "Замена" означает, что указанный раздел или подраздел общего стандарта полностью заменен текстом настоящего частного стандарта.
- "Дополнение" означает, что соответствующий текст настоящего частного стандарта является новым элементом (например, подраздел, перечень, примечание, таблица, рисунок), дополняющим общий стандарт.
- "Изменение" означает, что имеющийся текст общего стандарта частично изменен путем отмены и/или дополнения, как указано в тексте частного стандарта.
Чтобы не путать с любыми изменениями к общему стандарту, вводится специальная нумерация элементов, дополняемых настоящим стандартом: разделы, подразделы, таблицы и рисунки пронумерованы, начиная с цифры 101; дополнительный перечень вопросов обозначен буквами aa), bb) и т.д., а дополнительные Приложения - буквами AA), BB) и т.д.
В настоящем стандарте использованы следующие шрифты:
- требования, соответствие с которыми должно быть установлено, и определения: прямой шрифт;
| | ИС МЕГАНОРМ: примечание. Описание вида изменения документа и условия испытаний, выделенные курсивом в официальном тексте документа, в электронной версии документа отмечены знаком "#"; термины, выделенные полужирным шрифтом в официальном тексте документа, в электронной версии документа отмечены знаком "&"; примечания и примеры, выделенные шрифтом 10 пт в официальном тексте документа, в электронной версии документа отмечены знаком "@". | |
- примечания и примеры: прямой шрифт 10 пт;
- описание вида изменения документа и условия испытаний: курсив;
- термины, определяемые в разделе 2 общего стандарта МЭК 60601-1:1988 или в настоящем частном стандарте: полужирный шрифт.
Текст настоящего частного стандарта, к которому дается обоснование в
Приложении AA, помечен звездочкой (*).
1. ОБЛАСТЬ РАСПРОСТРАНЕНИЯ И ЦЕЛЬ
Применяют пункт общего стандарта, за исключением:
1.1. Область распространения
Дополнение:
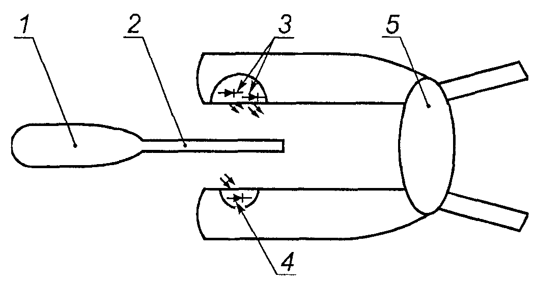
Настоящий стандарт устанавливает частные требования безопасности и основные характеристики &пульсовых оксиметров&, предназначенных для применения на человеке. Настоящий стандарт включает в себя любую их часть, необходимую для &нормальной эксплуатации&, например &монитор пульсового оксиметра, датчик пульсового оксиметра, удлинительный кабель для датчика&.
Эти требования также применимы к &пульсовым оксиметрам&, включая &мониторы пульсового оксиметра, датчики пульсового оксиметра и удлинительные кабели для датчика&, которые были &подвергнуты повторной обработке&.
Предполагаемое использование &пульсового оксиметра& включает, но не ограничивается только этим, оценку влияния насыщенности кислородом гемоглобина артериальной крови и частоты пульса на пациента в лечебных учреждениях, а также на пациентов, находящихся под домашним уходом.
*Настоящий стандарт не распространяется на &пульсовые оксиметры&, предназначенные для лабораторных исследований, на оксиметры, для которых требуется взятие пробы крови у &пациента& для анализа.
Настоящий стандарт не применяют к &пульсовым оксиметрам&, предназначенным только для внутриутробного применения.
Настоящий стандарт не применяют к дистанционным или управляемым (вторичным) приборам, которые показывают насыщения &

& и расположены вне &среды, окружающей пациента&.
Предполагается, что требования настоящего стандарта, которые заменяют или изменяют требования общего стандарта, преобладают над соответствующими общими требованиями.
В настоящем стандарте использованы нормативные ссылки на следующие стандарты:
ИСО 7000/МЭК 60417 Графические символы, наносимые на оборудование. Перечень и сводная таблица
ИСО 14155-1:2003 Испытания клинические медицинских изделий для людей. Часть 1. Общие требования
ИСО 14155-2:2003 Испытания клинические медицинских изделий для людей. Часть 2. Схемы клинических испытаний
ИСО 14937:2000 Стерилизация медицинской продукции. Общие требования для определения характеристик стерилизующего вещества и для разработки, валидации и текущего контроля процессов стерилизации медицинских изделий
ИСО 15223:2000 Изделия медицинские. Символы, используемые на этикетках и ярлыках медицинских изделий и предлагаемая информация
МЭК 60068-2-6:1995 Испытания на воздействия внешних факторов. Часть 2. Испытания. Испытание Fc: Вибрация (синусоидальная)
МЭК 60068-2-27:1987 Испытания на воздействия внешних факторов. Часть 2. Испытания. Испытание Ea и руководство: Удар
МЭК 60068-2-32:1975 Испытания на воздействия внешних факторов. Часть 2. Испытания. Испытание Ed: Свободное падение
МЭК 60068-2-64:1993 Испытания на воздействие внешних факторов. Часть 2. Испытания. Испытание Fh: Широкополосная случайная вибрация (цифровое управление) и руководство
МЭК 60079-4:1975 Оборудование электрическое для взрывоопасных газовых сред. Часть 4. Метод определения температуры воспламенения
МЭК 60529:2001 Степени защиты, обеспечиваемые корпусами (Код IP)
МЭК 60601-1:1988 Изделия медицинские электрические. Часть 1. Общие требования безопасности
МЭК 60601-1-1:2000 Изделия медицинские электрические. Часть 1-1. Общие требования к безопасности. Дополнительный стандарт. Требования к безопасности медицинских электрических систем
МЭК 60601-1-2:2001 Изделия медицинские электрические. Часть 1-2. Общие требования к безопасности. Дополнительный стандарт. Электромагнитная совместимость. Требования и испытания
МЭК 60601-1-4:1996 Изделия медицинские электрические. Часть 1. Общие требования к безопасности. 4. Дополнительный стандарт. Программируемые медицинские электрические системы
МЭК 60601-1-6:2004 Изделия медицинские электрические. Часть 1-6. Общие требования безопасности. Дополнительный стандарт. Возможность использования
МЭК 60601-1-8:2000 Изделия медицинские электрические. Часть 1-8. Общие требования безопасности. Дополнительный стандарт. Общие требования, испытания и руководство по системам тревожной сигнализации в электрической медицинской аппаратуре и системах
МЭК 60825-1:2001 Безопасность лазерных устройств. Часть 1. Классификация аппаратуры, требования и руководство пользователя
МЭК 60825-2:2000 Безопасность лазерных устройств. Часть 2. Безопасность волоконно-оптических систем связи
МЭК 61000-4-2:2001 Электромагнитная совместимость (ЭМС). Часть 4-2. Методики измерений и испытаний. Испытание на невосприимчивость к электростатическому разряду
МЭК 61000-4-5:2005 Электромагнитная совместимость (ЭМС). Часть 4-5. Методики измерений и испытаний. Испытание на невосприимчивость к выбросу напряжения
МЭК 61000-4-11:2004 Электромагнитная совместимость (ЭМС). Часть 4-11. Методики измерений и испытаний. Испытание на помехоустойчивость к провалам напряжения, краткосрочным нарушениям и колебаниям подачи напряжения
Применяют термины и определения общего стандарта, измененные в соответствии с дополнительными стандартами, а также следующие.
Примечание. @Для удобства источники всех терминов с определениями, которые используются в настоящем стандарте, даны в
Приложении JJ@.
3.1. &Точность&: степень близости результата измерений к принятому опорному значению.
Примечания
@1. Метод расчета &точности измерения

пульсовым оксиметром& см.
50.101.2.2.
3.2. &Контролируемое исследование десатурации&: гипоксемия, вызываемая у человека в лабораторных условиях.
Примечание. @Это также можно назвать контролируемым исследованием гипоксемии (угнетение дыхания). См. также
Приложение EE@.
3.3. &CO-оксиметр&: Многоволновой оптический анализатор крови, который измеряет &общую концентрацию гемоглобина& и концентрации различных производных гемоглобина.
Примечание. @Значимым показателем CO-оксиметрии является функциональное насыщение артериальной крови &

&, которое оценивает &пульсовой оксиметр& и сообщает как &

&@.
3.4. &Период обновления данных&: интервал, в котором алгоритм &пульсового оксиметра& выдает новые достоверные данные на дисплей или &порт выхода сигнала&.
Примечание. @Это определение не относится к регулярному периоду обновления изображения на дисплее, который обычно составляет 1 с, оно скорее относится к (обычно более длительному) интервалу, указанному выше@.
3.5. &Заявленный диапазон&: часть воспроизводимого на дисплее диапазона значений (см. 3.7) &

& и частоты пульса, на которую распространяется заданная &точность&.
3.6. &Демонстрационный режим&: режим, при котором на дисплей выводятся номера и формы волны имитаторов &пациентов&.
Примечание. @Изображение на дисплее в демонстрационном режиме может быть принято по ошибке за данные пациента в реальном режиме времени, если это четко не обозначено@.
3.7. &Диапазон, воспроизводимый на экране дисплея&: диапазон значений &

& и частоты пульса, который может быть воспроизведен на дисплее &пульсового оксиметра&.
Примечание. @Этот диапазон может быть расширен за пределы заявленного диапазона (см.
3.5)@.
3.8. &Фракционный оксигемоглобин&; фракционное насыщение (устаревший); &

&: концентрация оксигемоглобина

, деленная на &общую концентрацию гемоглобина ctHb&.
Примечания
1. @Математически выражается как:
где

- концентрация оксигемоглобина;
ctHb - концентрация общего гемоглобина.
Иногда она выражается в процентах (умножением доли на 100).
2. &Фракционный оксигемоглобин& - термин, используемый для этого соотношения Национальным комитетом по клиническим лабораторным исследованиям (NCCLS).
3. NCCLS обозначает "концентрацию" с буквенной приставкой с, тогда как в прошлом для обозначения применялись квадратные скобки, например

.
4. NCCLS
[5] использует следующие условные обозначения:
-

- оксигемоглобин;
- (HHb) - дезоксигемоглобин;
- (COHb) - карбоксигемоглобин;
- (MetHb) - метгемоглобин;
- (SuHb) - сульфгемоглобин и
- (tHb) - общий гемоглобин@.
3.9. &Функциональное насыщение кислородом, %&: насыщение, полученное от деления концентрации оксигемоглобина

на сумму концентрации оксигемоглобина и дезоксигемоглобина (cHHb).
Примечания
1. @Математически выражается следующим образом:
2. NCCLS
[5] использует для этого соотношения термин "кислородное насыщение гемоглобина" и обозначает его как

@.
3.10. &Функциональный тестер&: контрольный прибор, который представляет собой &пульсовой оксиметр& с сигналом, выдающим прогнозируемое значение &коэффициента& (см.
3.22), чтобы &оператор& мог видеть результирующее значение &

& на дисплее и сравнивать его с ожидаемым значением, выведенным из калибровочной кривой &изготовителя& для данного конкретного &пульсового оксиметра&.
Примечание. @Точность значения &

&, выдаваемого &пульсовым оксиметром&, частично зависит от того, правильно ли отражает калибровочная кривая &монитора пульсового оксиметра& оптические характеристики &датчика пульсового оксиметра& и взаимодействие &датчика& и ткани. &Функциональные тестеры& не способны подтверждать &точность

& по калибровочной кривой или оценивать в полном объеме оптические характеристики &датчиков пульсовых оксиметров&, чтобы определять правильность их калибровки. См. также
FF.4@.
3.11. &Локальная систематическая погрешность b&: разность между математическим ожиданием результатов измерения &

& и принятым эталонным значением &

&.
Примечания
1. @Для &пульсового оксиметра& при заданном эталонном значении насыщения кислородом - это разность между y-значением линии регрессии на этой координате и y-значением линии идентичности, построенных на графике зависимости

от

, или заданная формулой:
где

- значение кривой, построенной по экспериментальным точкам, соответствующее i-му эталонному значению насыщения кислородом,

.
3. Соответствует ИСО 3534-1@.
3.12. &Изготовитель&: физическое или юридическое лицо, которое отвечает за конструирование, изготовление, упаковку, повторную обработку, маркировку или &эксплуатационные документы& для &пульсовых оксиметров, мониторов, датчиков, удлинителей для датчиков пульсовых оксиметров&, а также адаптацию этих частей независимо от того, выполняется ли эта работа самим лицом или от его имени третьей стороной.
Примечание. @Взято из МЭК/CDV2 60601-1:2004, статья 3.54@.
3.13. &Средняя систематическая погрешность B&: средняя разность между измеренным и эталонным значениями, при сохранении знака.
Примечания
1. @Для &пульсового оксиметра& средняя систематическая погрешность математически может быть представлена следующим образом:
где n - число пар данных в пробе в пределах исследуемого диапазона,

- i-я заданная величина

;

- i-е эталонное значение насыщения кислородом.
3. Для этого определения &средняя систематическая погрешность& - среднее всех значений локальной систематической погрешности

@.
3.14. &Нормированное&: значение, воспроизводимое с постоянной амплитудой независимо от фактического отображаемого сигнала.
3.15. &Параметры, устанавливаемые оператором&: текущее состояние любых средств управления на &мониторе&, включая &установку параметров сигналов опасности&.
3.16. &Прецизионность&: степень близости друг к другу независимых результатов измерений, полученных в конкретных регламентированных условиях.
Примечания
1. @Для &пульсовых оксиметров& выражается как стандартное отклонение разностей

, математически представлена следующим образом:
где n - число пар данных в пробе в пределах исследуемого диапазона,

- разность между i-м заданным значением &

& и значением кривой, построенной по экспериментальным точкам, соответствующее i-му эталонному значению насыщения кислородом

.
3.17. &Удлинительный кабель для датчика&: кабель, который подсоединяет &монитор к датчику пульсового оксиметра&.
Примечания
1. @Не для каждого &пульсового оксиметра& используют &удлинительный кабель для датчика&.
2. &Удлинительный кабель для датчика& может представлять собой &рабочую часть&@.
3.18. &Пульсовой оксиметр: медицинское электрическое изделие& для оценки &функционального насыщения кислородом& артериального гемоглобина &

& неинвазивным методом по взаимодействию светового потока с тканью, использующее зависящие от времени изменения оптических характеристик ткани, которые происходят вследствие пульсирующего потока крови.
Примечания
1. @&Пульсовой оксиметр& включает в себя &монитор, удлинительный кабель для датчика&, если поставляется, и &датчик&, который может быть встроен в прибор.
2. С технической точки зрения свет более известен как электромагнитное излучение (оптическое излучение). Настоящий стандарт использует общий термин@.
3.19. &Монитор пульсового оксиметра&: часть &пульсового оксиметра&, которая объединяет электронику, дисплей и интерфейс пользователя, кроме &датчика пульсового оксиметра& и &удлинителя& к нему.
Примечание. @Монитор &пульсового оксиметра& может состоять из нескольких частей аппаратных средств, расположенных отдельно, например телеметрической системы, в которой &рабочая часть& и первичный дисплей физически находятся в разных местах@.
3.20. &Датчик пульсового оксиметра&: часть &пульсового оксиметра&, которая включает в себя &рабочую часть& и элемент преобразователя.
Примечания
1. @Термины "сенсор" и "преобразователь" также используют для датчика &пульсового оксиметра&.
2. Датчик &пульсового оксиметра& обычно включает в себя кабель и жесткий или гибкий узел, состоящий из двух светоизлучателей и фотодетектора@.
3.21. &Неисправность датчика пульсового оксиметра&: ненормальный режим работы &датчика& или &удлинительного кабеля& к нему, который в случае необнаружения может подвергать риску безопасность &пациента&.
Примечание. @На безопасность &пациента& могут влиять неправильные измерения, воздействие на &пациента& высоких температур &датчика& или риск электрического удара@.
3.22. &Коэффициент; коэффициент модуляции; коэффициент соотношений; R&: основное значение, выводимое &пульсовым оксиметром& на основе измерений интенсивности света в зависимости от времени.
Примечание. @&Пульсовой оксиметр& использует эмпирическую калибровочную кривую для выведения &

& из R. См. также
FF.4@.
3.23. *&Повторная обработка&: любая деятельность, не указанная в &эксплуатационных документах&, в результате которой бывшее в употреблении изделие готово к повторному использованию.
Примечания
1. @К такой деятельности часто относят дополнительную обработку, восстановление, рециркуляцию, обновление, ремонт или полную модернизацию.
2. Такая деятельность может касаться средств по уходу за больными@.
3.24. &

&: доля функционального гемоглобина артериальной крови, насыщенной кислородом.
Примечания
1. @Требования к приемлемым методам измерения &

& см.
50.101.2.2.
2. &

& - это функциональное насыщение кислородом артериальной крови (см.
3.9).
3. Обычно выражается в процентах (умножением доли на 100)@.
3.25. &

&: оценка &

&, сделанная &пульсовым оксиметром&.
Примечания
1. @&Пульсовой оксиметр&, использующий две длины волны, не может компенсировать помехи, вызываемые наличием дисгемоглобинов для оценки &

&
[56].
2. Обычно выражается в процентах (умножением доли на 100)@.
3.26. &Общая концентрация гемоглобина; ctHb&: сумма концентраций всех видов гемоглобина, включая оксигемоглобин

, метгемоглобин cMetHb, деоксигемоглобин cHHb, сульфгемоглобин cSuHb и карбоксигемоглобин cCOHb, но не ограничиваясь ими.
Примечание. @См. также ссылку
[16]@.
4. ОБЩИЕ ТРЕБОВАНИЯ К ИСПЫТАНИЯМ
Применяют разделы 3 и 4 общего стандарта, за исключением:
Дополнение:
4.101. Другие методы испытаний
&Изготовитель& может выполнять типовые испытания, отличающиеся от тех, которые установлены в настоящем стандарте, если уровень безопасности и характеристики, выявленные в результате испытаний, эквиваленты тем, которые установлены в настоящем стандарте. В случае возникновения разногласий методы, установленные в настоящем стандарте, должны рассматриваться как эталонные.
Многие разделы настоящего стандарта, касающиеся испытаний, содержат критерии приемки работы. Эти критерии также должны быть приведены в соответствие.
Если &изготовитель& указывает в сопроводительной документации уровни рабочих характеристик выше тех, которые установлены настоящим международным стандартом, эти установленные &изготовителем& уровни становятся приемочным уровнем.
ПРИМЕР. @При заданном уровне &точности измерения

& 1% необходимо, чтобы &точность измерения

пульсового оксиметра& составляла 1% для всех требований, например во время испытаний электромагнитной совместимости@.
4.103. Пульсовой оксиметр, его части и принадлежности
&Пульсовой оксиметр& так же, как все отдельные его части и &принадлежности&, предназначенные для использования вместе с &монитором&, должен соответствовать всем требованиям, установленным в настоящем стандарте. Стандарт распространяется на все комбинации частей или &принадлежностей&, которые установлены изготовителем для применения в &пульсовом оксиметре&.
Примечания
1. @Это требование позволяет обеспечивать безопасность и существенные характеристики частей и &принадлежностей пульсового оксиметра& вместе с предназначенными для них &мониторами&.
2. &Мониторы пульсового оксиметра& часто используются вместе с &датчиками& и кабелями от различных &изготовителей&. Это требование позволяет обеспечивать совместимость таких комбинаций@.
Все установленные комбинации &пульсового оксиметра&, а также все отдельные его части и принадлежности, предназначенные для использования с монитором &пульсового оксиметра&, должны быть указаны в руководстве по эксплуатации. См. также
6.8.2 aa) 11) и
6.8.2 aa) 12).
Применяют пункт общего стандарта.
6. ИДЕНТИФИКАЦИЯ, МАРКИРОВКА И ДОКУМЕНТАЦИЯ
Применяют пункт общего стандарта, за исключением:
6.1. Маркировка на наружной стороне изделий или их частей
Замена:
#d) Минимальные требования к маркировке, наносимой на &изделие& и взаимозаменяемые части#
Если размер &пульсового оксиметра& не позволяет провести полную маркировку согласно данному разделу в общем стандарте и настоящему стандарту, то на &пульсовой оксиметр& должна быть нанесена по крайней мере следующая информация:
- имя &изготовителя&;
- порядковый номер (или символ 3.16 по ИСО 15223) или идентификационный номер партии или серии (или символ 3.14 по ИСО 15223) и
- слова "Внимание, ознакомьтесь с &сопроводительными документами&" или обозначение ИСО 7000-0434;
- если не предусмотрен аварийный сигнал для значения &

&, то указание "Нет сигнала &

&" или обозначение МЭК 60417-5319.
Замена:
f) Ссылка на модель или тип
- серийный номер (или символ 3.16 по ИСО 15223) или идентификационный номер партии или серии (или символ 3.14 по ИСО 15223);
- отсоединяемые &датчики& должны иметь маркировку в виде номера типа и номера партии (или символ 3.14 по ИСО 15223) или серийный номер (или символ 3.16 по ИСО 15223), нанесенных на них или на упаковку, если она имеется;
- повторно обработанные датчики &пульсовых оксиметров& должны иметь такую же маркировку.
Дополнение:
aa) Отображаемые значения
&Монитор пульсового оксиметра& должен показывать значения функционального насыщения кислородом &

& в процентах и иметь маркировку % &

& или &

&. Отображение на дисплее частоты пульса должно выражаться в единицах обратных минут (1/мин), например, пульс/мин. Все остальные измеренные значения следует обозначать соответствующими единицами.
bb) Не использовать повторно
Если &датчик& не предусмотрен для повторного использования, то упаковка или сам &датчик& должны иметь маркировку с указанием, что &датчик пульсового оксиметра& не подлежит повторному использованию, или иметь символ 3.2 по ИСО 15223.
Если &датчик пульсового оксиметра& предназначен только для одного &пациента&, упаковка или датчик должны иметь маркировку с указанием, что &датчик& предназначен для одного &пациента&.
cc) Стерильный
Упаковки должны иметь маркировку в виде символов 3.20 - 3.24 по ИСО 15223, где требуется.
dd) Срок хранения
Там, где требуется, должен быть указан предельный срок безопасной эксплуатации с символом 3.12 по ИСО 15223. Дата должна включать в себя четыре цифры для обозначения года и две цифры для обозначения месяца, а если необходимо, еще две цифры для обозначения дня. Дата должна быть указана рядом с символом.
ee) &Монитор пульсового оксиметра& и его части должны быть маркированы для их правильного расположения.
6.8.1. Общие требования
Изменение, дополнить после первого предложения:
Документы могут быть доступны по электронным средствам связи при условии, что пользователю предоставляется возможность запросить &сопроводительную документацию& на бумаге.
6.8.2. Инструкция по эксплуатации
Дополнение:
aa) Дополнительная общая информация:
В руководстве должна быть представлена следующая информация:
1) &пульсовой оксиметр& откалиброван для отображения функционального насыщения кислородом;
2) диапазон длин волн в максимуме излучения и максимальное значение силы света излучателей &датчика пульсового оксиметра&, а также указание, что информация о диапазоне длин волн может быть особенно полезна для пользователя;
ПРИМЕР. @Для врачей-клиницистов, проводящих фотодинамическую терапию@.
3) любые виды известных помех, которые влияют на работу или &точность пульсового оксиметра&;
ПРИМЕРЫ. @Общее освещение (включая фотодинамическую терапию); физические движения (&пациента& и внешнее движение); диагностическое тестирование; малая перфузия; электромагнитные помехи; электрохирургические инструменты; дисфункциональный гемоглобин; присутствие некоторых красящих веществ; неправильное положение &датчика&@.
4) &выводимый на дисплей диапазон показаний

& и частоты пульса;
5) описание &периода обновления данных&, воздействие усреднения и другой обработки сигналов на отображаемые и передаваемые значения

и частоты пульса наряду с задержкой условий возникновения сигналов опасности и задержкой генерации сигнала опасности в любом выбранном режиме работы, влияющем на эти свойства.
Примечание. @См. также в
Приложении GG пример, как оценивать и описывать время отклика графически@.
6) метод контроля за генерированием сигналов, который осуществляет &оператор&, если предусмотрен &режим& подачи сигналов опасности в случае &физиологических& проблем, и не предусмотрен автоматический самоконтроль генерирования &сигнала опасности&;
7) подходящая процедура калибровки, если &пульсовой оксиметр& нуждается в калибровке в процессе эксплуатации;
8) описание индикатора несоответствия сигнала и его функции. Если это пульсовая волна, то должна быть предусмотрена формулировка, является ли она &нормированной& или нет;
Примечание. @Эта формулировка важна для определения соответствия формы пульсовой волны требованиям
раздела 101@.
9) диапазон регулирования &пределов&, если &пульсовой оксиметр& имеет регулируемые &предельные значения аварийной сигнализации&;
10) следует указать &режим сигнала опасности& относительно &

& или частоты пульса, если он не предусмотрен;
11) для &мониторов пульсовых оксиметров датчик(и) пульсового оксиметра&, вместе с которым был проверен и испытан монитор пульсового оксиметра на соответствие настоящему стандарту. Перечень можно получить через электронные средства связи (см. также
4.103);
12) для датчиков и удлинительных кабелей &монитор(ы) пульсовых оксиметров&, вместе с которыми они были проверены и испытаны на соответствие настоящему стандарту. Перечень можно получить через электронные средства связи (см. также
4.103);
13) рекомендуемое время применения каждого типа &датчика пульсового оксиметра& на одном месте;
14) следует особо подчеркнуть важность правильного использования &датчика&, если предусмотрена работа &пульсового оксиметра& в условиях повышенных температур, когда &датчик& может работать при температуре свыше 41 °C, без избыточного давления. Кроме того, следует дать специальные указания относительно любых изменений в течение рекомендуемого времени применения при температуре свыше 41 °C;
15) описание последовательности действий, необходимое &оператору&, для обеспечения работы при температуре свыше 41 °C (см.
42.3);
16) максимальная температура, которая может быть достигнута при взаимодействии &датчика пульсового оксиметра& с тканью, если у &пульсового оксиметра& предусмотрен регулируемый оператором орган настройки для обеспечения работы при температуре свыше 41 °C (см.
42.3);
17) следует особо подчеркнуть, что установление температуры свыше 41 °C не должно быть использовано на пациентах младше одного года, если предусмотрена работа &пульсового оксиметра& в условиях повышенных температур, когда &датчик& может работать при указанной температуре;
18) вся необходимая информация о токсичности и/или воздействии на живые ткани материалов, с которыми &пациент& или любой другой человек может вступать в контакт;
19) руководство по применению должно содержать необходимую информацию о повторной стерилизации &датчика& в случае повреждения стерильной упаковки, если &датчики& поставляются в стерильной упаковке и допускается повторная стерилизация;
20) для каждого &пульсового оксиметра& и &удлинительного кабеля& предупреждение о том, что датчики и кабели предназначены для использования только с конкретными мониторами. Пользователь и/или оператор должны проверять совместимость монитора, датчика и кабеля перед использованием, в противном случае пациент может быть травмирован;
21) установленное использование &датчика пульсового оксиметра& распространяется на:
- обследуемые группы &пациентов& (например, возраст, массу);
- части тела или типа ткани, которой он касается и
- применение (например, окружающая среда, частота использования, местоположение, подвижность);
22) информация, касающаяся утилизации &пульсового оксиметра& или его компонентов.
6.8.3. Техническое описание
Дополнение:
aa) Дополнительная общая информация:
Техническое описание должно включать в себя следующее:
1) *предупреждение о том, что функциональный тестер не может применяться для оценки точности &датчика& или &монитора пульсового оксиметра& (см. также
Приложение FF);
2) предупреждение о том, что если имеется независимое доказательство правильности калибровочной кривой для комбинации &монитора& и &датчика&, то функциональный тестер может определять составляющую полной погрешности системы монитор/датчик со стороны монитора. Функциональный тестер может определять, насколько точно конкретный монитор воспроизводит данную калибровочную кривую. См. также
Приложение FF.
Применяют пункт общего стандарта.
8. ОСНОВНЫЕ КАТЕГОРИИ БЕЗОПАСНОСТИ
Применяют пункт общего стандарта.
9. ЗАМЕНЯЕМЫЕ СРЕДСТВА ЗАЩИТЫ
Применяют пункт общего стандарта.
10. УСЛОВИЯ ОКРУЖАЮЩЕЙ СРЕДЫ
Применяют пункт общего стандарта, за исключением:
10.1. Транспортирование и хранение
Изменение (дополнить в конце пункта):
Упаковка стерильного оборудования и частей оборудования должна гарантировать стерильные условия до тех пор, пока она не будет вскрыта или повреждена или пока не истечет срок годности.
Следует обратить внимание на утилизацию отходов упаковки.
Применяют пункт общего стандарта.
14. ТРЕБОВАНИЯ, ОТНОСЯЩИЕСЯ К КЛАССИФИКАЦИИ
Применяют пункт общего стандарта, за исключением:
14.6. РАБОЧИЕ ЧАСТИ ТИПОВ B, BF и CF
Изменение [дополнить перечисление c)]:
&Комплектующие части& к &пульсовым оксиметрам& должны быть &типа BF или CF&.
15. ОГРАНИЧЕНИЕ НАПРЯЖЕНИЯ И(ИЛИ) ЭНЕРГИИ
Применяют пункт общего стандарта.
16. КОРПУСА И ЗАЩИТНЫЕ КРЫШКИ
Применяют пункт общего стандарта.
17. РАЗДЕЛЕНИЕ ЧАСТЕЙ И ЦЕПЕЙ
Применяют пункт общего стандарта.
18. ЗАЩИТНОЕ ЗАЗЕМЛЕНИЕ, РАБОЧЕЕ ЗАЗЕМЛЕНИЕ
И ВЫРАВНИВАНИЕ ПОТЕНЦИАЛОВ
Применяют пункт общего стандарта.
19. ДЛИТЕЛЬНЫЕ ТОКИ УТЕЧКИ И ДОПОЛНИТЕЛЬНЫЕ ТОКИ
В ЦЕПИ ПАЦИЕНТА
Применяют пункт общего стандарта, за исключением:
Изменение:
h) 9)
Заменить второе предложение первого абзаца "Другой способ измерения... погружение" на следующее.
&Датчики&, имеющие маркировку "для временного погружения" в виде второй характеристической цифры 7 кода IP по МЭК 60529, должны выдерживать следующее испытание на &ток утечки на пациента&:
#Погружают ту часть &датчика&, которая имеет маркировку "для временного погружения", в обычный солевой раствор (0,9 % г/л NaCl в

) и выдерживают при температуре от 20 °C до 25 °C в течение 60 с. Пока &датчик& находится в погруженном состоянии, измеряют &ток утечки на пациента&#.
20. ЭЛЕКТРИЧЕСКАЯ ПРОЧНОСТЬ ИЗОЛЯЦИИ
Применяют пункт общего стандарта, за исключением:
Дополнение:
aa) &Датчики&, имеющие маркировку "для временного погружения" в виде второй характеристической цифры 7 кода IP по МЭК 60529, должны выдерживать следующее испытание на электрическую прочность изоляции:
#Погружают только ту часть &датчика&, которая имеет маркировку "для временного погружения", в обычный солевой раствор (0,9% г/л NaCl в

) и выдерживают при температуре от 20 °C до 25 °C. Спустя 60 с и пока эта часть &датчика& находится в погруженном состоянии, проводят испытания на электрическую прочность изоляции так, как указано в 20.4 a) общего стандарта#.
21. *МЕХАНИЧЕСКАЯ ПРОЧНОСТЬ
Применяют пункт общего стандарта, за исключением:
21.5.
Изменение (вставить между словами "представлять &опасность&" и "в результате"):
и должны работать нормально
Дополнение:
&Пульсовой оксиметр& или его части, не предназначенные для использования во время перевозки &пациента& за пределами лечебного учреждения, должны обладать определенной механической прочностью, когда они подвергаются механическому воздействию при &нормальной эксплуатации&, ударам, падению, сдавливанию и небрежному обращению. Требования этого подраздела не распространяются на &стационарное изделие&.
После следующих испытаний &пульсовой оксиметр& не должен представлять &опасность& и должен нормально работать.
a) Испытание на удар в соответствии с МЭК 60068-2-27, используя следующие условия:
- максимальное ускорение: 150 м/с2 (15,3 g),
- продолжительность: 11 мс,
- форма импульса: полусинусоидальный,
- число ударов: три удара в направлении каждой оси (всего 18).
Примечание. @Считается, что &пульсовой оксиметр&, испытанный согласно требованиям 21.5 общего стандарта, соответствует данному требованию@.
b) Испытания на воздействие широкополосной случайной вибрации в соответствии с МЭК 60068-2-64, используя следующие условия:
- диапазон частот: от 10 до 2000 Гц,
- разрешение: 10 Гц,
- амплитуда ускорения:
от 10 до 100 Гц: 1,0 (м/с2)2/Гц,
от 100 до 200 Гц: минус 3 дБ на октаву,
от 200 до 2000 Гц: 0,5 (м/с2)2/Гц,
- продолжительность: 10 мин по каждой из перпендикулярных осей (всего три).
21.102. *Удар и вибрация при транспортировании
&Пульсовой оксиметр& или его части, предназначенные для использования во время перевозки пациента за пределами лечебного учреждения, должны обладать определенной механической прочностью, когда они подвергаются механическому воздействию при &нормальной эксплуатации&, толчкам, ударам, падению и небрежному обращению.
После следующих испытаний &пульсовой оксиметр& не должен представлять &опасность& и должен нормально работать.
Примечание. @Считается, что &пульсовой оксиметр&, испытанный согласно требованиям
21.102 в целом или в части, соответствует требованиям
21.101@.
a) Испытание на удар в соответствии с МЭК 60068-2-27, используя следующие условия:
- максимальное ускорение: 1000 м/с2 (102 g),
- продолжительность: 6 мс,
- форма импульса: полусинусоидальная,
- число ударов: три удара в направлении каждой оси (всего 18);
b) Испытания на воздействие широкополосной случайной вибрации в соответствии с МЭК 60068-2-64, используя следующие условия:
- диапазон частот: от 10 до 2000 Гц,
- разрешение: 10 Гц,
- амплитуда ускорения:
от 10 до 100 Гц: 5,0 (м/с2)2/Гц,
от 100 до 200 Гц: минус 7 дБ на октаву,
от 200 до 2000 Гц: 1,0 (м/с2)2/Гц,
- продолжительность: 30 мин по каждой из перпендикулярных осей (всего три);
c) Для передвижных &пульсовых оксиметров& свободное падение согласно МЭК 60068-2-32, используя метод 1 и следующие условия:
- высота: 0,1 м,
- число падений: одно,
- направление: вертикально (нормальное рабочее положение);
d) Для переносных &пульсовых оксиметров& свободное падение согласно МЭК 60068-2-32, используя метод 2 и следующие условия:
- высота: 0,25 м,
- число падений: одно,
- направление: на каждую из шести поверхностей.
Для переносных &пульсовых оксиметров&, предназначенных для использования вместе с переносной сумкой, эта сумка может использоваться с прибором во время испытания.
Применяют пункт общего стандарта.
23. ПОВЕРХНОСТИ, УГЛЫ И КРОМКИ
Применяют пункт общего стандарта.
24. УСТОЙЧИВОСТЬ ПРИ НОРМАЛЬНОЙ ЭКСПЛУАТАЦИИ
Применяют пункт общего стандарта.
Применяют пункт общего стандарта.
Применяют пункт общего стандарта.
27. ПНЕВМАТИЧЕСКИЕ И ГИДРАВЛИЧЕСКИЕ СИСТЕМЫ
Применяют пункт общего стандарта.
Применяют пункт общего стандарта.
29. РЕНТГЕНОВСКОЕ ИЗЛУЧЕНИЕ
Применяют пункт общего стандарта.
30. АЛЬФА-, БЕТА-, ГАММА-, НЕЙТРОННОЕ ИЗЛУЧЕНИЯ И ИЗЛУЧЕНИЕ
ДРУГИХ ЧАСТИЦ
Применяют пункт общего стандарта.
31. МИКРОВОЛНОВОЕ ИЗЛУЧЕНИЕ
Применяют пункт общего стандарта.
32. ВИДИМОЕ ИЗЛУЧЕНИЕ (ВКЛЮЧАЯ ЛАЗЕРЫ)
Не применяют пункт 32 общего стандарта.
Замена:
Применяют соответствующие требования МЭК 60825-1. Если в &пульсовом оксиметре& используют барьеры для защиты от лазерного излучения или аналогичные устройства, то они должны соответствовать требованиям МЭК 60825-1. В случае лазерных оптических волокон они должны соответствовать требованиям МЭК 60825-2.
33. ИНФРАКРАСНОЕ ИЗЛУЧЕНИЕ
Применяют пункт общего стандарта.
34. УЛЬТРАФИОЛЕТОВОЕ ИЗЛУЧЕНИЕ
Применяют пункт общего стандарта.
35. АКУСТИЧЕСКАЯ ЭНЕРГИЯ (ВКЛЮЧАЯ УЛЬТРАЗВУК)
Применяют пункт общего стандарта.
36. *ЭЛЕКТРОМАГНИТНАЯ СОВМЕСТИМОСТЬ
Применяют пункт общего стандарта, за исключением:
Дополнение:
&Пульсовой оксиметр& должен соответствовать требованиям МЭК 60601-1-2.
Примечание 1. @&Пульсовой оксиметр& не является оборудованием или системой жизнеобеспечения, как определено в МЭК 60601-1-2@.
Применительно к МЭК 60601-1-2, 36.202, 36.202.1 j) Качество функционирования, &пульсовой оксиметр& должен работать в пределах установленной &точности измерения

& и &частоты пульса& при испытании на невосприимчивость. &Пульсовой оксиметр& должен быть испытан при показании &

в пределах диапазона измерения&, который по крайней мере на 5% отличается от значения, вызванного шумом, и меньше его (100% минус &точность измерения

&, определяемая &пульсовым оксиметром&).
Примечание 2. @Значение, вызванное шумом, может быть значением, например, в котором R равно 1 или R равно отношению коэффициента усиления канала IR к усилению красного канала. Наблюдались и другие вызванные шумом значения@.
Частота пульса должна отличаться от той, которая бывает при частоте пульса, вызванной шумом, и должна находиться в заданном диапазоне индикации частоты пульса.
В случае нарушения нормальной работы во время переходных испытаний, как указано в МЭК 61000-4-2, МЭК 61000-4-5 и МЭК 61000-4-11, &пульсовой оксиметр& должен восстанавливаться в течение 30 с. &

& и сигнал частоты пульса может быть выведен из имитирующего пациента устройства, которое применяется для этих испытаний.
В дополнение к этим требованиям &пульсовой оксиметр&, предназначенный для использования во время перевозки &пациента& за пределами лечебного учреждения, должен соответствовать требованиям МЭК 60601-1-2, 36.202.3 a) 1) при уровне испытания на невосприимчивость 20 В/м (коэффициент модуляции 0,8 частотой 1000 Гц) в диапазоне от 80 до 2500 МГц (МЭК 60601-1-2, таблица 209).
37. МЕСТОНАХОЖДЕНИЕ И ОСНОВНЫЕ ТРЕБОВАНИЯ
Применяют пункт общего стандарта.
38. МАРКИРОВКА, ЭКСПЛУАТАЦИОННЫЕ ДОКУМЕНТЫ
Применяют пункт общего стандарта.
39. ОБЩИЕ ТРЕБОВАНИЯ ДЛЯ ИЗДЕЛИЙ КАТЕГОРИЙ AP И APG
Применяют пункт общего стандарта.
40. ТРЕБОВАНИЯ И ИСПЫТАНИЯ ДЛЯ ИЗДЕЛИЙ КАТЕГОРИИ AP,
ИХ ЧАСТЕЙ И КОМПОНЕНТОВ
Применяют пункт общего стандарта.
41. ТРЕБОВАНИЯ И ИСПЫТАНИЯ ДЛЯ ИЗДЕЛИЙ КАТЕГОРИИ APG,
ИХ ЧАСТЕЙ И КОМПОНЕНТОВ
Применяют пункт общего стандарта.
42. ЧРЕЗМЕРНЫЕ ТЕМПЕРАТУРЫ
Применяют пункт общего стандарта, за исключением:
Замена:
42.3. *В &нормальном состоянии& и в &условиях единичного нарушения& предел по умолчанию для максимальной подаваемой мощности на включенный датчик должен быть недостаточным для достижения температуры, превышающей 41 °C при &взаимодействии датчика& с тканью, когда исходная температура кожи равна 35 °C. См. также
Приложение BB.
Если &пульсовой оксиметр& имеет режим (или средства), обеспечивающий достаточную мощность на включенный &датчик& для достижения температуры, превышающей 41 °C при &взаимодействии датчика& с тканью, при исходной температуре кожи, равной 35 °C, то:
a) &пульсовой оксиметр& должен иметь регулируемый оператором орган для настройки этого режима. Должна соблюдаться установленная последовательность действий оператора, необходимых для активации этого режима;
b) необходимо указать, что &пульсовой оксиметр& работает в этом режиме;
c) в &нормальном состоянии& и в &условиях единичного нарушения& максимальная подаваемая мощность на включенный &датчик& должна быть недостаточной для достижения температуры, превышающей 43 °C при &взаимодействии датчика& с тканью, при исходной температуре кожи, равной 35 °C;
d) &пульсовой оксиметр& должен иметь средства для ограничения времени непрерывной работы при температурах свыше 41 °C. Время непрерывной работы при повышенных температурах не должно превышать 4 ч при 43 °C или 8 ч при 42 °C.
e) в эксплуатационных документах должна быть указана максимально допустимая температура при &взаимодействии датчика& с тканью; и
f) техническое описание должно включать в себя метод испытания для измерения максимальной температуры при &взаимодействии датчика& с тканью.
А #Соответствие проверяют путем измерения максимальной температуры поверхности при &взаимодействии датчика& с тканью в &нормальном состоянии& и в &условиях единичного нарушения&, используя метод, указанный в техническом описании. См. также
BB.3#.
Применяют пункт общего стандарта, за исключением:
Дополнение:
43.101. *Пульсовые оксиметры, применяемые вместе с оксидантами
43.101.1. Воспламеняющиеся материалы
Для того чтобы уменьшить опасность возникновения пожара для &пациентов&, других лиц или окружения, воспламеняемые материалы в &нормальном состоянии& и в &условиях единичного нарушения& не должны одновременно находиться под воздействием условий, при которых:
- температура материала поднимается до минимальной температуры воспламенения и
- присутствует оксидант, например закись азота.
Примечание. @Для концентраций кислорода свыше 25% или парциальном давлении свыше 27,5 кПа, когда отсутствуют любые другие оксиданты, достаточными считаются требования общего стандарта@.
Минимальную температуру воспламенения определяют согласно МЭК 60079-4 с использованием окислительных условий, имеющихся при &нормальном состоянии& и &условии единичного нарушения&.
#Соответствие проверяют наблюдением, имеет ли место воспламенение при наиболее неблагоприятной комбинации &нормального состояния& и &условия единичного нарушения&#.
43.101.2. Искрение
Если искрение может происходить при &нормальном состоянии& или при &условии единичного нарушения&, то материалы, подверженные рассеиванию энергии искрения, не должны возгораться в присутствии оксиданта.
#Соответствие проверяют наблюдением - происходит ли возгорание при наиболее неблагоприятной комбинации &нормального состояния& и &условия единичного нарушения&#.
44. ПЕРЕЛИВ, РАСПЛЕСКИВАНИЕ, УТЕЧКА, ВЛАЖНОСТЬ, ПРОНИКАНИЕ
ЖИДКОСТЕЙ, ОЧИСТКА, СТЕРИЛИЗАЦИЯ,
ДЕЗИНФЕКЦИЯ И СОВМЕСТИМОСТЬ
Применяют пункт общего стандарта, за исключением:
44.6. *Проникание жидкостей
Изменение (добавить как второе предложение, первый абзац):
- испытания по МЭК 60529 для IPX2 или
- испытания по МЭК 60529 для IPX1 и испытание на переливание по 44.3 общего стандарта.
Добавить в конце последнего предложения требований к испытаниям:
#и &пульсовой оксиметр& должен продолжать нормально работать#.
44.7. Очистка, стерилизация и дезинфекция
Изменение (добавить перед проверкой соответствия):
&Пульсовой оксиметр& или его части, имеющие маркировку "стерильно", должны быть стерилизованы с использованием соответствующего проверенного метода согласно ИСО 14937.
Конструкцией упаковки для нестерильного &пульсового оксиметра& или его частей должна быть предусмотрена возможность сохранения изделия, предназначенного для стерилизации перед применением, на заданном уровне чистоты и минимизировать риск загрязнения.
Изменение (добавить в конце проверки соответствия):
#Если есть требование к стерильности, то следует ознакомиться с методами стерилизации и дезинфекции, указанными в &эксплуатационной документации&, и сравнить их с соответствующими отчетами о проверке#.
45. СОСУДЫ И ЧАСТИ, НАХОДЯЩИЕСЯ ПОД ДАВЛЕНИЕМ
Применяют пункт общего стандарта.
Не применяют пункт 46 общего стандарта.
Замена:
Примечание. @См. МЭК 60601-1-6@.
47. ЭЛЕКТРОСТАТИЧЕСКИЕ ЗАРЯДЫ
Применяют пункт общего стандарта.
Применяют пункт общего стандарта.
49. ПРЕРЫВАНИЕ ЭЛЕКТРОПИТАНИЯ
Применяют пункт общего стандарта, за исключением:
49.101. Опасная ситуация с прерыванием электропитания
Если &пульсовой оксиметр& оснащен устройством, сигнализирующим об опасном физиологическом состоянии, он должен давать по крайней мере сигнал опасности среднего приоритета, когда номинальное напряжение падает ниже минимального значения при нормальной работе.
Примечание. @После прерывания питания не предполагается, что система аварийной сигнализации будет непрерывно повторять сигналы опасности@.
#Проверка соответствия с помощью функциональных испытаний#.
49.102. Работа пульсового оксиметра после прерывания электропитания
49.102.1. Сохранение установочных параметров и данных после кратких прерываний или автоматического переключения
Когда питающая &пульсовой оксиметр& электрическая сеть прерывается менее чем на 30 с или происходит автоматическое переключение на &внутренний источник электрического питания&, все настройки и все хранящиеся о &пациенте& данные не должны изменяться.
Примечания
1. @&Пульсовой оксиметр& не должен находиться в рабочем режиме во время прерывания &питания электрической сети&.
2. Настройки включают в себя настройки &оператора, пользователя& и режима работы@.
#Соответствие проверяют, наблюдая за настройками оксиметра и хранящимися о &пациенте& данными, и затем прерывают подачу питания на 25 - 30 с, отсоединив &шнур питания&. После восстановления электроснабжения все настройки и хранящиеся данные не должны изменяться#.
49.102.2. Работа после длительных прерываний
&Изготовитель& должен предусмотреть сигнал опасности о работе &пульсового оксиметра& после нарушения электропитания, если переключатель "включен - выключен" остается в положении "включен" и &изделие& возвращено в прежнее состояние более чем через 30 с.
#Соответствие проверяют, сверяясь с сопроводительными документами#.
50. ТОЧНОСТЬ РАБОЧИХ ХАРАКТЕРИСТИК
Применяют пункт общего стандарта, за исключением:
Дополнение:
50.101. *Точность измерения

, показываемая пульсовым оксиметром
50.101.1. *Спецификация
&Точность измерения

пульсового оксиметра& должна представлять среднеквадратическое отклонение, которое не более 4,0% &

& в диапазоне от 70% до 100% &

&.
Заявленные диапазоны &

& и &точность измерения

& в этих диапазонах должны быть указаны в руководстве по применению. &Точность измерения

& должна быть заявлена от 70% до 100% (см.
50.101.2.1). Информацию о &точности измерения

& следует сопровождать примечанием, напоминающим пользователю, что так как измерения, проводимые &пульсовым оксиметром&, являются вероятностными, то ожидается, что только две трети этих измерений могут попасть в пределы значения

, измеряемого &CO-оксиметром&. Если &монитор пульсового оксиметра& подходит для применения с &разными датчиками&, информация о &точности измерения

& должна быть доступна для каждого типа датчика. Также могут быть предусмотрены дополнительные требования к &точности измерения

& в других диапазонах.
Если &точность измерения

& определяют 65% &

&, она должна устанавливаться в дополнительном диапазоне предела насыщения, не превышающем 20% &

&.
ПРИМЕР 1. @Заданная &точность измерения

& от 60% до 80% &

&@.
ПРИМЕР 2. @Заданная &точность измерения

& от 60% до 70% &

&@.
#Соответствие проверяют измерением по 50.101.2 и &эксплуатационным документам&#.
50.101.2. Определение точности измерения

Заявление &точности измерения

& должно подтверждаться измерениями в процессе клинических исследований, проводимыми в полном диапазоне, и составлять +/- 3% значений &

&, для которых заявляется &точность измерения

&. Клинические исследования должны соответствовать требованиям ИСО 14155-1 и ИСО 14155-2.
Начальные установки следует регистрировать вместе с сопоставимой плотностью по всему заявленному диапазону.
Нет необходимости заявлять условия, которые отрицательно влияют на &точность измерения

& как часть требований к &точности измерения

&, но они должны быть указаны в &эксплуатационных документах& согласно
6.8.2 aa) 3.
В техническом описании следует дать краткое резюме методов проверки, используемых для установления &точности измерения

&.
&Функциональные тестеры& или &имитаторы пациента& не следует использовать для проверки &точности измерения

пульсового оксиметра&.
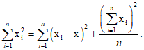
50.101.2.2. *Анализ данных
Для каждого установленного диапазона &точность измерения

пульсового оксиметра& должна быть указана как среднеквадратическое расхождение rms между измеренными значениями

и опорными значениями

по следующей формуле
Примечания
1. @Понятия погрешности и &точности&, приведенные в ссылке
[3], и целостности в ссылке
[54], имеют значение для отображения &точности медицинских электрических изделий&. Решение о том, чтобы использовать вышеуказанную формулу &точности измерения

& (которая является традиционной в пульсовой оксиметрии), базируется на убеждении, что она найдет более широкое понимание среди клинических &операторов&, и на признании того факта, что в некоторых случаях она представляет &общую точность пульсового оксиметра& лучше, чем погрешность или &точность&.
2. Также следует обратить внимание на VIM
[64] и GUM (Руководство по выражению неопределенности)
[65], а также на документы ИСО/ТС 69 #Применение статистических методов# для определения точности и прецизионности@.
Стандартная ссылка на &точность измерения

&, которую дает &пульсовой оксиметр&, должна прослеживаться до значений &

&, полученных &CO-оксиметром& при анализе одновременно отбираемой артериальной крови. &CO-оксиметр& должен иметь &точность измерения

& 1% (одно стандартное отклонение) или выше в диапазоне, для которого изготовитель заявляет &точность измерения

&. Следует применять те процедуры по обеспечению качества для проверки &точности CO-оксиметра&, которые используют в лабораториях, сообщающих клинические данные.
ПРИМЕР. @С соответствующими процедурами можно, например, ознакомиться в NCCLS
[5] и в Колледже американских патологоанатомов
[18].
3. Не следует использовать значения &

&, рассчитанные на основе измерений, проводимых газовыми анализаторами крови, которые фактически измеряют

(артериальное давление кислорода), а не &

&.
50.101.2.3. Характеристики вошедшей в клиническое исследование популяции
В кратком изложении отчета о клинических исследованиях, проводимых для оценки &точности измерения

&, должно быть отмечено, были ли больны или здоровы испытуемые субъекты, а также следует описать цвет их кожи, указать возраст и пол. Эта информация должна содержаться в &эксплуатационных документах&.
50.102. Точность во время движения
Если &изготовитель& заявляет, что &пульсовой оксиметр& сохраняет &точность& во время движения, требования к &точности& должны быть указаны в руководстве по применению.
В техническом описании следует давать краткое резюме методов проверки, используемых для установления требований к &точности&.
#Соответствие проверяют, сверяясь с руководством по эксплуатации и техническим описанием#.
50.103. Точность в условиях малой перфузии
Если &изготовитель& заявляет, что &пульсовой оксиметр& сохраняет точность в условиях малой перфузии, требования к &точности& в этих условиях должны быть указаны в руководстве по применению.
В техническом описании следует дать краткое резюме методов проверки, используемых для установления требований к &точности& в условиях малой перфузии.
#Соответствие проверяют, сверяясь с руководством по эксплуатации и техническим описанием#.
50.104. Точность измерения частоты пульса
&Точность измерения& частоты пульса должна быть указана как среднеквадратическое расхождение rms между данными о точности измерения парных пульсов, зарегистрированных &пульсовым оксиметром& и с помощью стандартного метода. &Точность измерения& частоты пульса должна быть указана или в полном заявленном диапазоне работы &пульсового оксиметра&, или в виде требований к &точности измерения& раздельных пульсов в сегментах этого диапазона. В качестве стандартного метода для расчета &точности измерения& частоты пульса может, например, использоваться электронный имитатор пульса, сердечный ритм ЭКГ, прощупываемый пульс, грудное выслушивание или второй &пульсовой оксиметр&, который подходит к одной из этих ссылок.
#Соответствие проверяют осмотром#.
51. ЗАЩИТА ОТ ПРЕДСТАВЛЯЮЩИХ ОПАСНОСТЬ
ВЫХОДНЫХ ХАРАКТЕРИСТИК
Применяют пункт общего стандарта, за исключением:
Дополнение:
51.101. *Период обновления данных
Прибор должен показывать, что &

& или данные о частоте пульса не записываются, если &период обновления данных& более 30 с. Должен быть установлен по крайней мере &режим сигнала опасности низкого приоритета&, подаваемого, когда &период обновления данных& превышает 30 с.
Эти интервалы могут составлять меньше 30 с и должны быть указаны в руководстве по эксплуатации. Максимальный период обновления данных о насыщении и частоте пульса рекомендуется менее 30 с при непрерывных неонатальных и диагностических исследованиях.
#Соответствие проверяют осмотром#.
51.102. Обнаружение неисправностей датчика пульсового оксиметра и дефекта удлинительного кабеля для датчика
Если &пульсовой оксиметр& имеет &режим физиологической опасности&, он должен быть снабжен &системой аварийной сигнализации&, которая следит за неисправностями датчика. Эта &система аварийной сигнализации& должна активироваться, когда какой-либо провод &датчика& или &удлинительного кабеля& разомкнут или замкнут на любой другой провод в кабеле &датчика& или &удлинительного кабеля&, что может стать причиной ненормальной работы.
Если &режим физиологической опасности& не предусмотрен, &пульсовой оксиметр& должен сигнализировать о сбое в работе (например, чистый дисплей) в случае неисправности &датчика&. Сигнальная индикация должна быть описана в руководстве по эксплуатации.
Изготовитель сам несет ответственность за анализ рисков, чтобы определять, приведет ли данная неисправность (размыкание или короткое замыкание) к опасности или потребуется вмешательство оператора.
Примечание. @Неиспользуемые провода &датчика& или &удлинительного кабеля& не требуют проверки@.
#Соответствие проверяют следующим испытанием.
Отсоединяют &датчик& от &пульсового оксиметра& и последовательно устанавливают схему, от которой каждый провод &датчика& может быть отключен или замкнут на любой другой провод. Повторяют это для каждого &удлинительного кабеля&. Проверяют, срабатывает ли аварийная сигнализация в случае &неисправности датчика& или &пульсовой оксиметр& продолжает нормально работать#.
52. НЕНОРМАЛЬНАЯ РАБОТА И УСЛОВИЯ ЕДИНИЧНОГО НАРУШЕНИЯ
Применяют пункт общего стандарта.
53. ИСПЫТАНИЯ НА ВОЗДЕЙСТВИЕ ВНЕШНИХ ФАКТОРОВ
Применяют пункт общего стандарта.
Применяют пункт общего стандарта, за исключением:
Дополнение (добавить в конце раздела 54):
При планировании и конструировании продукции в соответствии с настоящим стандартом следует учитывать ее воздействие на окружающую среду в течение срока службы. Вопросы окружающей среды рассмотрены в
Приложении II.
Примечание. @Дополнительные аспекты воздействия на окружающую среду рассмотрены в ИСО 14971@.
Применяют пункт общего стандарта.
56. КОМПОНЕНТЫ И ОБЩАЯ КОМПОНОВКА
Применяют пункт общего стандарта.
57. СЕТЕВЫЕ ЧАСТИ, КОМПОНЕНТЫ И МОНТАЖ
Применяют пункт общего стандарта.
58. ЗАЩИТНОЕ ЗАЗЕМЛЕНИЕ - ЗАЖИМЫ И СОЕДИНЕНИЯ
Применяют пункт общего стандарта.
Применяют пункт общего стандарта.
Дополнение:
101. *Несоответствие сигнала
Индикатор несоответствия сигнала (например, визуальный &информационный сигнал& или &сигнал опасности низкого приоритета&) должен сообщать оператору, что показатель &

& или значение частоты пульса, выводимые на дисплей, потенциально неправильные.
Примечание. @Нормированная форма волны не удовлетворяет этому требованию и, что более вероятно, скрывает ненадежный сигнал. Изображение ненормализованной формы волны импульса удовлетворяет этому требованию к индикатору несоответствия сигнала@.
#Соответствие проверяют осмотром#.
102. *Датчик пульсового оксиметра и удлинительные кабели для него
Все &датчики& и &удлинительные кабели& должны соответствовать настоящему стандарту независимо от того, выпущены ли они &изготовителем мониторов& или другим предприятием ("третьей стороной, выбранной изготовителем", или поставщиком средств по уходу за больными) или &восстановлены&.
&Изготовители восстановленных датчиков& и &удлинительных кабелей& должны проводить испытания, гарантирующие соответствие всех требований к &пульсовым оксиметрам& требованиям к каждой модели &монитора&, с которой должен использоваться датчик или &удлинительный кабель&. В &эксплуатационных документах изготовитель& должен перечислять все &мониторы пульсовых оксиметров&, которые являются совместимыми.
&Изготовитель& несет ответственность за проверку их работы и гарантирует соответствие любого нового или восстановленного изделия требованиям настоящего стандарта.
#Соответствие проверяют путем испытаний согласно настоящему стандарту#.
Для каждого &датчика пульсового оксиметра& должна быть сделана ссылка на модель или тип по крайней мере одного &монитора& согласно
102.1.
К каждому &датчику& или удлинителю должно прилагаться сообщение о том, что:
- датчики предназначены для применения с конкретными мониторами;
- оператор отвечает за проверку совместимости монитора, датчика и удлинительного кабеля перед их использованием и
- несовместимые компоненты могут привести к ухудшению работы.
#Соответствие проверяют, сверяя с &эксплуатационными документами&#.
103. Пульсовый информационный сигнал насыщения
Если для указания пульсового сигнала предусмотрен &информационный звуковой сигнал& с изменяющейся высотой тона, это изменение должно следовать за показанием &

&, т.е. при понижении показателя &

& высота тона также должна уменьшаться.
#Соответствие проверяют осмотром#.
104. Системы сигналов опасности
Применяют требования МЭК 60601-1-8, за исключением:
201.1.2. *Определение приоритетов
Изменение (добавить после примечания):
Если &пульсовой оксиметр& имеет сигнальный &режим физиологической опасности&, должен быть установлен &сигнал&, по крайней мере, &среднего приоритета& для низкого уровня &

&.
Примечание. @В некоторых случаях клинического использования, например при мониторинге за новорожденными, обеспечение режима сигналов опасности для высокого уровня &

& может служить дополнительной мерой безопасности@.
201.5.4. *Предварительная установка сигнала по умолчанию
201.5.4.1. Общие требования
Изменение (добавить перед первым предложением):
Если &монитор пульсового оксиметра& может подавать &сигнал физиологической опасности&, то &предварительно установленный изготовителем предел для сигнала опасности& должен быть не менее 85% &

&.
Дополнение:
aa) до тех пор, пока предел сигнализации для низкого значения &

не будет визуализироваться непрерывно&, этот &предел сигнализации&, установленный любым &оператором&, должен быть не менее &предела сигнализации& для низкого значения &

&, установленного &по умолчанию&.
201.8. Системы аварийной сигнализации в состоянии инактивации
201.8.3. Индикация и доступ
Изменение (в конце третьего параграфа):
Установленный изготовителем по умолчанию интервал звуковой паузы или паузы аварийной сигнализации пульсового оксиметра не должен превышать 2 мин.
105. Приложения общего стандарта
Применяют приложения общего стандарта.
Дополнение:
Следующие приложения являются дополнением к настоящему стандарту.
(справочное)
Приложение содержит обоснование некоторых требований настоящего стандарта и предназначено для тех, кто знаком с тематикой настоящего стандарта, но не принимал участие в его разработке. Понимание обоснования, лежащего в основе этих требований, является важным условием для их правильного применения. Более того, в клинической практике и изменяющихся технических решениях считается, что такое обоснование облегчит пересмотр настоящего стандарта, вызванный этими изменениями.
Нумерация пунктов обоснования соответствует нумерации разделов настоящего стандарта, поэтому она не является последовательной.
Пульсовая оксиметрия облегчает управление процессом ухода за &пациентом&, обеспечивая получение приближенных значений насыщения гемоглобина кислородом, и позволяет на ранней стадии обнаруживать пагубные для &пациента& явления, связанные с гипоксемией.
Существующая технология требует определенной концентрации гемоглобина, изменения пульсирующего кровотока и пропускания света через ткань для того, чтобы обеспечивать эффективную оценку насыщения гемоглобина крови человека in vivo. Пульсовые оксиметры не способны эффективно работать при искусственном кровообращении или в экстремальных условиях низкого кровотока, и в настоящее время они не рассматриваются как средства, предназначенные для измерения потока или объема крови.
При имеющихся ограничениях в современных технологиях &пульсовой оксиметр& не позволяет делать точные измерения. Образцы &пульсовых оксиметров& in vivo, имеющиеся в настоящее время на рынке, не заменяют оптические оксиметры, предназначенные для измерения проб крови in vitro. Значения, полученные с помощью &пульсовой оксиметрии&, не являются результатами измерения давления кислорода в крови или ткани. &Пульсовая оксиметрия& дает косвенные показания поступления кислорода к ткани или поглощения его этой тканью.
Приборы для лабораторных исследований часто являются экспериментальными и, в основном, не предназначены для медицинского применения. Распространение требований настоящего стандарта на приборы, используемые для исследовательских работ, могут значительно ограничивать развитие новых технологий или приборов.
AA.3.23. Повторная обработка
Термин &повторная обработка& был выбран вместо таких терминов, как полная модернизация или восстановление, потому что комитет искал наиболее широкий термин. Любая деятельность, не указанная в инструкциях &изготовителя&, для последующего повторного использования рассматривается как &повторная обработка&. К ней относится чистка и повторное использование одноразового &датчика&, а также использование одноразового &датчика& в качестве исходного материала для процесса модернизации с целью создания "нового" &датчика&.
AA.6.8.3. Техническое описание
aa) 1)
Надлежащее применение функциональных тестеров было неправильно понято некоторыми операторами или пользователями. См.
Приложение FF о дискуссии по этому вопросу.
AA.21. Механическая прочность
&Изделие&, включая &пульсовые оксиметры&, при &нормальной эксплуатации& подвергается механическому напряжению (например, вибрации, удару) и случайно может подвергаться воздействию дополнительных напряжений. Поэтому необходимо, чтобы это &изделие& было достаточно прочным, чтобы выдерживать вибрацию, удары, толчки и падения, которые имеют место при &нормальной эксплуатации&.
Эти испытания выбраны по первой качественной оценке относительной жесткости сценариев в различных окружающих условиях [т.е. дом, больница и транспорт (крылья и колеса)] и проводятся на изделиях различных размеров и типов (т.е. на ручном изделии, переносном и передвижном). Результат анализа, проведенного комитетом, для различных видов вибрации и удара, которые могут произойти, показан в таблице AA.1
Таблица AA.1
Качественная оценка ударной и вибрационной среды, влияющей
на пульсовой оксиметр
Категория оборудования | Местонахождение |
Стандартная среда | Транспортные средства |
Дом | Больница | Автомобиль | Самолет/Вертолет |
Передвижное | D1 | S1 | V1 | B1 | D1 | S2 | V1 | B1 | D1 | S3 | V2 | B3 | D1 | S3 | V3 | B1 |
Переносное | D1 | S2 | V0 | B0 | D1 | S2 | V1 | B1 | D1 | S3 | V2 | B3 | D1 | S3 | V3 | B1 |
Ручное | D3 | S0 | V0 | B0 | D3 | S0 | V1 | B0 | D3 | S3 | V2 | B3 | D3 | S3 | V3 | B1 |
Стационарное | Нет | Нет | Не применяется |
S - удар; V - вибрация; D - падение; B - толчок. |
Оценка: 0 - испытание не проводилось; 1 - наименее жесткие; 2 - средней жесткости; 3 - наиболее жесткие. |
Обоснование для совмещения домашней и больничной среды: комитет признал, что в случае удара, вибрации и толчка условия в доме должны быть менее жесткими, чем в больнице. Комитет предпочел объединять эти две категории как для простоты, так и из-за того, что многие части &медицинских электрических изделий& регулярно переносят из больницы домой и обратно.
После качественной оценки комитет дал оценку стандартам серии МЭК 60068, относящимся к испытаниям при заданных условиях окружающей среды, и обосновал их, а также руководящим документам серии МЭК 60721
[66],
[67].
В выборе требований комитет рассмотрел другие источники данных, относящихся к этим испытаниям (например, Руководство FDA Reviewers
[23] для представления сообщений до поступления изделий на рынок, Mil Std 810, и т.д.), но пришел к заключению, что наибольшее соответствие было установлено с МЭК 60721-3-7
[66]. Этот международный стандарт наиболее соответствует требованиям, приведенным в
таблице AA.1. Существует также руководящий документ МЭК/TR 60721-4-7
[67], который помогает сопоставить классы состояния окружающей среды согласно МЭК 60721-3 с испытаниями на воздействие окружающей среды согласно стандартам МЭК серии 60068. Вышеупомянутый международный стандарт устанавливает три класса механических условий: 7M1, 7M2 и 7M3. Комитет полагает, что классы 7M1 и 7M3 наилучшим образом представляют условия, выявленные при транспортировании &пациентов& внутри лечебного учреждения и за его пределы. Комитет согласился с тем, что к &изделиям&, предназначенным для использования в лечебном учреждении, в отличие от изделий, предназначенных для использования за его пределами, должны применяться разные методы и уровни испытаний.
Предполагается, что необязательно проверять изделия, которые работают в соответствии с требованиями изготовителя, в процессе испытаний на вибрацию (случайную и синусоидальную). Это мнение комитет рассмотрел и принял решение, что испытания, проводимые таким образом, будут слишком обременительны и дадут только минимальный дополнительный уровень безопасности &изделий&, который не компенсирует затраты. Признано, что наиболее подходящей является проверка правильной работы после завершения испытаний.
AA.21.101. Удар и вибрация
&Изделия&, включая &пульсовой оксиметр&, применяемые в учреждениях здравоохранения или в домашней среде при &нормальной эксплуатации&, подвергаются механическим воздействиям (например, вибрации и удару) и могут случайно подвергаться дополнительным воздействиям. Поэтому &изделие&, предназначенное для применения в больничной и домашней среде, должно быть достаточно прочным, чтобы выдерживать испытание на вибрацию и удар, описанное в МЭК 60721-3-7
[66], уровень 7M1. В МЭК 60721-3-7
[66] указано, что этот класс применяется только в местах с низким уровнем вибрации или средним уровнем ударов. В этих условиях требуются осторожное обращение и транспортирование.
AA.21.102. Удар и вибрация при транспортировании
&Изделия&, включая &пульсовой оксиметр&, при &нормальной эксплуатации&, предназначенные для применения во время перевозки &пациента& за пределами лечебного учреждения, подвергаются механическим воздействиям (например, вибрации и удару, толчкам и падению) и могут случайно подвергаться дополнительным воздействиям. Поэтому &изделие&, предназначенное для применения во время перевозки &пациента& за пределами лечебного учреждения, должно быть достаточно прочным, чтобы выдерживать испытание на механическую прочность, описанное в МЭК 60721-3-7
[66], уровень 7M1. В МЭК 60721-3-7
[66] указано, что в дополнение к условиям, относящимся к классу 7M2, применяется класс 7M3, но только в местах с высоким уровнем вибрации или ударов. В этих условиях возможно небрежное обращение при транспортировании &изделия&.
Не существует признанных общих программ испытаний, позволяющих точно воспроизвести условия вибрации и удара в заданном диапазоне, которым может удовлетворять оборудование, устанавливаемое в наземных транспортных средствах или самолетах. Поэтому на основе того, что оборудование, испытываемое согласно этим уровням, вероятно, сможет выдерживать нормальные динамические помехи, которые могут появиться при его использовании в автомобилях или самолетах (включая вертолеты), предназначенных для перевозки &пациентов&, были выбраны динамические испытания, описанные в этом разделе.
Для использования &изделия& в таких различных условиях окружающей среды, как машины скорой помощи, воздушные суда с неподвижным крылом или несущим винтом, военные корабли и т.д., могут потребоваться дополнительные испытания и проверка безопасности.
Для испытаний в свободном падении, описанных в МЭК 60068-2-32, комитет дал обоснование различных уровней для оценки жесткости требований к испытанию на основе значений из
таблицы AA.1. &Переносные чемоданчики& были выбраны в качестве категории уровня испытаний &переносного изделия&. Комитет согласился с тем, что &пульсовой оксиметр& должен удовлетворять уровню испытания на падение для транспортной среды. Кроме того, комитет также решил, что большинство &пульсовых оксиметров& следует поставлять в защитном или переносном чемодане для использования их при транспортировании. Члены комитета решили, что это будет подходящим испытанием на падение для &переносного изделия&, когда оно находится в переносном чемоданчике, так как наиболее реально отражает окружающую среду. Для передвижного оборудования был выбран менее жесткий уровень, так как оборудование на колесах обычно более тяжелое.
AA.36. Электромагнитная совместимость
Требования к устойчивости среды к излучению во время транспортирования &пациента& за пределами лечебного учреждения (например, наземный и воздушный санитарный транспорт) более жесткие, чем к типичной среде внутри него. Основной причиной этого различия является наличие сложных дуплексных систем радиосвязи, которые преднамеренно излучают электромагнитную энергию. В обеих этих средах &пульсовой оксиметр&, соответствующий требованиям МЭК 60601-1-2, защищен от случайных источников электромагнитных помех. Дополнительные испытания для оценки работы &оксиметров& при транспортировании пациента за пределами лечебного учреждения требуются только для определения конкретной дополнительной опасности.
Дуплексные системы радиосвязи используют для передачи речевой информации и информации о пациенте. Опыт показал, что типичная напряженность поля
[13], измеряемая в этой среде, может достигать 20 В/м. Речевая информация и информация о пациенте, как правило, имеют ширину полосы частот модуляции, превышающую 1 кГц, а в центральной точке речевой модуляции 1 кГц. Комитет выбрал единственную контрольную точку, представляющую типичную полосу модуляции при передаче информации. Был выбран сигнал с 80%-й амплитудной модуляцией при 1 кГц, который не противоречит требованиям МЭК 61000-4-3 к невосприимчивости к излучению, также использующим 80%-й амплитудно-модулированный сигнал при 1 кГц, 80%-й амплитудно-модулированный сигнал

имеет двойную амплитуду 90,5 В.
Изменение на 20 В/м также совместимо с требованиями FDA reviewer's guidance
[23].
AA.42.3.
Общий стандарт устанавливает, что &рабочие части изделия&, не предназначенные для подачи &тепла пациенту&, не должны иметь температуру поверхности, превышающую 41 °C. Отклонения от этого предела неизвестны.
В проекте МЭК/CDV 60601-1:2004 появляется новый текст:
11.1.2.2. &Рабочие части&, не предназначенные для подачи тепла &пациенту&
Следует применять предельные значения из таблицы 22. Если температура поверхности превышает 41 °C, то максимальные температуры должны быть указаны в руководстве по применению, а клиническое воздействие таких характеристик, как поверхность тела, полная готовность &пациентов&, применяемое лечение или поверхностное давление должны быть установлены и занесены в &файл по управлению рисками&. Обоснования не требуется, если температура не превышает 41 °C.
После ознакомления с опубликованными экспериментальными исследованиями комитет пришел к выводу, что при некоторых обстоятельствах повышение температуры &датчиков пульсовых оксиметров& свыше 41 °C не представляет опасности и что потенциальным преимуществом возможности работы датчиков при более высоких значениях тока является предоставление выбора самому врачу-клиницисту. Это обоснование объясняет наше решение и выделяет те области, в которых новые экспериментальные данные могли бы привести к еще менее строгим ограничениям.
В настоящее время &пульсовые оксиметры& абсолютно безопасны. В период между 1996 и 1997 гг. в заключении FDA (Управление США по контролю за продуктами и лекарствами) по работе медицинских приборов было указано только 14 случаев подозрительных ожогов, вызванных &датчиками&. В США ежегодно за этот же период огромное количество раз в течение длительного времени для обследования пациентов применялись &датчики пульсовых оксиметров&. Более того, исследование этих редких случаев подозрительных ожогов позволяет промышленным экспертам комитета сделать вывод о том, что &пульсовые оксиметры&, изготовленные, по крайней мере, в последние несколько лет и применяющиеся в соответствии с рекомендациями изготовителя,
- не стали причиной термических повреждений (наиболее общее альтернативное объяснение появления ожогов, вызванных неправильным приложением датчика) или что
- некоторые компоненты &оксиметра& были неисправны, что вызвало прохождение большего электрического тока через &датчик&, чем было рассчитано.
Таблица AA.2
Допустимые максимальные температуры при контакте кожи
с рабочими частями медицинского электрического
изделия (МЭК/CDV 60601-1:2004)
Время контакта рабочей части с кожей пациента t, мин | Максимальная температура <a>, <b> °C |
Материал прилагаемой части |
Металл и жидкость | Стекло, фарфор, стекловидный материал | Рельефный материал, пластик, каучук, дерево |
t < 1 | 51 | 56 | 60 |
1 <= t < 10 | 48 | 48 | 48 |
10 <= t | 43 | 43 | 43 |
<a> Максимальная температура подходит для здоровой кожи взрослых пациентов. Максимальная температура неприменима, если большие области кожи (более 10% общей поверхности тела) могут находиться в контакте с горячей поверхностью. Они неприменимы в случае контакта с более 10% поверхности кожи головы. Если это имеет место, то должны быть определены и занесены в &файл по управлению рисками& соответствующие предельные значения. |
<b> Если необходимо, чтобы температура прилагаемых частей превысила температурные пределы для достижения клинического эффекта, в &файл по управлению рисками& следует включать документы, в которых будет обосновано, что ожидаемый эффект покрывает все возможные риски. |
Наряду с тем, что работа по снижению частоты появления неисправностей продолжается, стоит пересматривать температурный порог в разрабатываемых нормах. Повышение допустимой температуры позволяет увеличивать мощность источников света для &датчиков пульсовых оксиметров&. Это приводит к большей светоотдаче, что повышает отношение сигнал - шум. В пограничных случаях это может приводить к расхождению между показаниями уровня насыщения кислородом.
Можно увеличивать выходной сигнал &датчиков& без повышения максимальной температуры кожи, используя более эффективные светодиоды или детекторы большего размера. Однако для &датчика& любой конструкции, как правило, можно увеличивать сигнал путем увеличения тока возбуждения в светодиодах, но это приводит к повышению температуры кожи.
Рекомендуя температурные пределы в
42.3, комитет хочет избежать значительного повышения риска получения ожогов. &Датчики пульсовых оксиметров&, рассчитанные на предел в 41 °C, могут показывать эффективную точность на большинстве пациентов. Несмотря на то, что некоторые пациенты получают пользу в результате увеличения производительности работы датчика при повышенных температурах, мы думаем, что она будет неоправданной, если повлечет за собой повышение риска получения ожогов. Поэтому мы с осторожностью пытаемся интерпретировать имеющиеся данные, чтобы рекомендовать приемлемые пороги, при которых случаи ожогов будут чрезвычайно редкими.
Нет практических данных о термических повреждениях от &датчика&, который используется для кратких проверок (так называемые "выборочные проверки"). Мы хотим убедиться в том, что &датчики&, применяемые для длительного непрерывного мониторинга &пациентов&, не вызывают ожогов. В зависимости от способа приложения датчиков к &пациенту& в руководстве по применению &датчиков&, как правило, указывается на необходимость контроля места приложения после 4 или 8 ч работы. Поэтому мы попытались выяснить из литературы наиболее эффективные методы оценки безопасных температурных порогов для этих периодов времени.
Специалисты, изучающие термические повреждения, считают, что пороговая температура для повреждения - это функция длительности воздействия. Когда длительность воздействия увеличивается вдвое, безопасная температура снижается на 1 °C. Таким образом, если известно, что 44 °C безопасны в течение 4 ч, то 43 °C могут считаться безопасными в течение 8 ч. При достаточно низких температурах правило множителя "два" становится слишком консервативным; есть достаточно низкая температура, которая никогда не причиняет никакого вреда, каким бы длительным ни было воздействие. Мориц (Moritz) и Хенрикс (Henriques)
[45] считают, что:
"... для каждого градуса повышения температуры поверхности от 44 °C до 51 °C допустимое время [необратимое нарушение клеток эпидермиса] было сокращено приблизительно наполовину. Ниже 44 °C идет быстрое снижение скорости, при которой происходит ожог, и кривая термического цикла представляет собой асимптотическую кривую в направлении оси времени. Возможно, это происходит из-за возросшей эффективности восстановления пластинчатых отростков клетки, так как гипертермический уровень приближается к диапазону температур, который является нормальным для ткани".
О существовании равновесия между повреждением и восстановлением высказался Монкриф (Moncrief)
[44].
"Ниже 44 °C местного повреждения клеточного строения не наблюдается, если воздействие происходит в течение длительного периода времени. То, что оно должно происходить длительное время, подтверждается тем фактом, что во многих странах принят температурный диапазон термальной ванны, в которую люди погружаются на много часов.
При температуре 44 °C степень местного повреждения ткани и ее восстановление находятся в таком слабом равновесии, что хотя его можно поддерживать в течение приблизительно 6 ч, более этого времени происходят глубокие необратимые повреждения базальных клеток эпидермиса".
Чтобы оценивать конструкцию &датчика&, максимальную местную температуру кожи, вызываемую &датчиком&, следует измерять температуру, вызываемую этим датчиком в контакте с кожей (или с определенным образом сконструированным термомеханическим имитатором). Так как большая часть тепла, выделяемая излучателями света, обычно проводится через кожу, &датчик&, открыто лежащий на лабораторной скамье, будет, как правило, теплее, чем на коже пациента. Когда возбужденный &датчик& прилагается к коже, температура места сопряжения датчика с кожей падает в течение секунд или минут до квазиравновесного значения, которое будет колебаться при изменении местной перфузии. Квазиравновесное значение необходимо измерять, так как оно показывает тепловой режим, который может при длительном воздействии вызывать повреждение кожи. Любое воздействие более высоких температур в равновесный период является достаточно кратковременным, чтобы представлять опасность травмы. Если &датчик пульсового оксиметра& прикладывают к коже до его включения в работу, время сверхравновесного воздействия никогда не наступит.
При сильном местном кровотоке движущаяся кровь выполняет работу по переносу тепла, исходящего от датчика, так что повышение температуры, индуцируемой &датчиком&, незначительное. Поэтому задача конструктора датчика заключается в том, чтобы обнаруживать повышение температуры кожи, вызываемое датчиком при низкой перфузии. С другой стороны, низкая перфузия также понижает температуру кожи, которая наблюдается и без датчика (т.е. люди с плохой циркуляцией крови имеют холодные руки). Поэтому повышение температуры, вызываемое датчиком, будет, вероятно, меньше поражающей конечной температуры. Рассматривая эти противоположные воздействия слабой перфузии, мы приходим к заключению, что для большей вероятности повреждения требуется внешний источник тепла (например, нагревательный прибор, использующийся в инкубаторе для новорожденных), который повышает температуру кожи &пациента& со слабой перфузией. В этих условиях внешний нагревательный прибор дает высокую базовую температуру и повышение температуры, индуцируемой &датчиком& выше этого уровня, достигает максимума.
Предполагаемая в ходе этой дискуссии точка зрения касается того факта, что температура кожи является основным параметром, который определяет вероятность повреждения кожи. Ожог - это химический процесс. Скорость химических процессов определяется температурой.
Также подразумевается идея, знакомая тем, кто проводил расчеты теплового потока, и все еще удивляющая других. Если данный поток тепла доставляется в заданную область субстрата постоянной теплопроводности, это приводит к поднятию рассчитываемой температуры выше той, субстрат которой имел бы без дополнительного источника тепла (т.е. полученная температура поверхности на x градусов теплее, чем была температура субстрата без дополнительного источника тепла). Повышение температуры зависит от области распространения (параметр, контролируемый проектировщиком &датчика&) и эффективной проводимости субстрата. Для максимального повышения температуры эффективная проводимость низкая (т.е. нет сильного кровотока для переноса тепла). Для достижения максимальной местной температуры начальная температура кожи (перед возбуждением &датчика&) должна быть высокой. Чтобы это имело место при низкой перфузии, должен быть внешний источник тепла.
AA.43.101. Пульсовой оксиметр, применяемый вместе с оксидантами
Сообщения о пожаре, вызванном &медицинскими электрическими изделиями&, крайне редки. Однако когда такой пожар происходит в больничной среде, он имеет трагические последствия. Риск пожара в основном определяется по трем показателям, которые должны присутствовать, чтобы начался пожар:
- воспламеняемый материал (топливо);
- температура, которая равна или превышает минимальную температуру возгорания материала, или искра, распространяющая энергию, равную или превышающую минимальную энергию возгорания материалов и
- оксидант.
Поэтому, следуя основным принципам безопасности общего стандарта, цель, стоящая перед проектировщиками оборудования, заключается в том, чтобы в &нормальном состоянии& и &условиях единичного нарушения&, которые могут воздействовать на материал, гарантировать, чтобы температура материала не повышалась до его минимальной температуры возгорания или чтобы энергия искры не превышала уровень энергии возгорания материала. С другой стороны, может произойти скрытое возгорание при условии, что оно самоограничивающее (например, плавкий предохранитель или резистор), не представляющее опасность.
Минимальные температуры возгорания большого числа специальных материалов приводятся в опубликованной литературе, хотя обычно только в условиях окружающей воздушной среды или 100%-ной кислородной среды. Минимальная температура возгорания может зависеть от концентрации присутствующего оксиданта. Если необходимо узнать температуры возгорания других материалов или при других концентрациях кислорода, их можно устанавливать с помощью методов и аппаратуры, приведенных в МЭК 60079-4.
При рассмотрении воспламеняемых материалов особое внимание следует уделять тем, которые могут аккумулировать в процессе длительного применения, например пылинкам бумаги или хлопчатобумажной нити.
Действие искр в средах, содержащих оксиданты, совершенно отличается от того, что происходит во взрывных газовых смесях. Энергия искры - наиболее сильная форма энергии в воспламеняемых взрывных газовых смесях, а в средах, содержащих оксиданты, тепловая энергия является наиболее существенной. Возможно, что при более высоком уровне мощности достаточное количество энергии искр может распространяться по границе между проводником искр и их окружением, так что происходит устойчивое горение, но в настоящее время нет документальных подтверждений относительно уровня мощности, при котором это может произойти с различными материалами и средами. Поэтому там, где потенциально распространение мощности искр отклоняется от установленной безопасной практики, следует проводить искровую пробу, имитируя наиболее неблагоприятную среду, которую можно обоснованно предвидеть.
Накапливающие материалы, о которых говорилось выше, частично подвержены возгоранию от искровой энергии из-за их низких температур возгорания и очень низкой теплоемкости при условии плохой проводимости.
В некоторых действующих в настоящее время стандартах требования минимизировать риск пожара основываются на ограничении температуры, электрической энергии и концентрации оксиданта до абсолютных значений.
Значение температуры выводится на основе минимальной температуры возгорания горячей пластинки для огнезащитной хлопчатобумажной ткани в 100%-ной кислородной среде, которая, как указано в ссылке
[6], равна 310 °C. Поэтому было сделано предположение, что 300 °C - это допустимый температурный предел для &медицинских электрических изделий& в обогащенных кислородом атмосферах.
Происхождение применявшихся значений электрической энергии менее ясно и кажется, что при отсутствии специальных испытаний в контролируемых условиях были взяты цифры на основе принятой рабочей практики или испытаний, проведенных в других средах. Простые испытания и подробный анализ известных факторов, которые стали причиной кислородного пламени, показывают, что эти цифры могут быть или очень ограничены или потенциально опасны в зависимости, в частности, от способа рассеяния мощности и схожести и типа присутствующего "топлива".
Поэтому в настоящее время установлено, что нет единых или универсально применимых диапазонов температуры, энергии и концентрации оксиданта, которые могут обеспечивать безопасность при всех условиях, в то же время не являясь чрезмерно ограничивающими.
Ясно, что только электрическая энергия является значимой в отношении ее способности повышать температуру воспламеняемых материалов, и она, в свою очередь, зависит от конкретной конфигурации и схожести всех воспламеняемых материалов.
В &условиях единичного нарушения& в типичной электрической цепи возможное число состояний отказа очень высоко. В этом случае возможна полная гарантия безопасности только с использованием соответствующих методов анализа безопасности на основе трех основных элементов - материала, температуры и оксиданта.
Определенная конструкция может ограничивать электрическую энергию в цепи, обеспечивая состояние температуры ниже минимальной температуры воспламенения на воздухе в &нормальном состоянии& и герметически закрытых отделениях, или может позволить устанавливать дополнительную искусственную вентиляцию, при которой содержание кислорода не превышает его содержания в окружающем воздухе в &условиях единичного нарушения&.
С другой стороны, целесообразно ограничивать электрическую энергию, чтобы обеспечивать температуры ниже минимальной температуры возгорания в чистой кислородной среде даже в &условиях единичного нарушения&.
Частная комбинация, а не одно значение каждой из этих переменных - материала, оксиданта и температуры - определяет, произойдет ли возгорание.
AA.44.6. Проникание жидкостей
&Пульсовой оксиметр&, установленный в операционной на наркозном аппарате, может подвергаться воздействию жидкостей тела и IV. Когда пульсовой оксиметр применяют за пределами операционной, он может подвергаться дополнительной опасности попадания влаги из кофе, газированной воды и т.д. &Пульсовые оксиметры&, применяемые в домашних условиях или в автомобилях скорой помощи, имеют высокую вероятность "попадания под дождь". Комитет решил отнести все &пульсовые оксиметры& к разряду IPX2, но посчитал это слишком жестким условием. В результате был найден компромисс, допускающий или:
- разряд IPX2 (сильный дождь или большое отверстие в чемодане IV) или
- разряд IPX1 (дождь или просачивание) и традиционное испытание на разливание 200 мл жидкости (пролитая чашка кофе или большое отверстие в чемодане IV).
AA.50.101. Точность измерения

пульсового оксиметра
Важно отметить, что &точность измерения

& не только характеристика монитора пульсового оксиметра, но характеристика &пульсового оксиметра в сборе&, представляющего комбинацию &монитора, датчика&, кабеля и ткани человека. См. также
FF.6, в котором приведен пример датчика, снижающего &точность измерения

& в результате большой изменчивости между разными субъектами испытаний в процессе калибровки.
AA.50.101.1. Технические требования
Подробно обсуждались технические требования к минимально допустимой &точности измерения

& пульсовых &оксиметров&. В идеале &пульсовой оксиметр& должен проводить высокоточные измерения уровня насыщения &

& (< 1%), используя любой датчик и области его размещения. Однако из-за хорошо известных ограничений современной технологии пульсовой оксиметрии в повседневной практике невозможно достичь необходимого уровня &точности измерения

&.
Поэтому комитет обсудил: "Какой должна быть минимально допустимая &точность измерения

& для обеспечения безопасности и эффективной работы &пульсового оксиметра&?"
В результате различного применения &пульсового оксиметра& минимальные требования к рабочим характеристикам не являются универсальными. Две основные категории, в которых используется оборудование, можно описывать как мониторинг и диагностику.
Мониторинг можно определять как контроль тенденций и/или сигналов опасности, позволяющий облегчать раннее обнаружение изменений уровня сатурации или частоты пульса.
Диагностику или диагностическое применение можно определять как измерение &

& для достижения точной оценки &

& с целью облегчения диагностики или проведения лечения.
Применение &пульсового оксиметра& в диагностических целях обычно требует более высокой &точности измерения

&. Несмотря на заданную &точность измерения

&, которую показывает &монитор&, свойственные ему собственные ограничения &точности измерения

& могут потребовать проведения анализа пробы артериальной крови.
На основе клинического опыта и истории применения &пульсового оксиметра& для многих видов мониторинга приемлема &точность измерения

& не менее 4%. Врачи, участвующие в работе комитета, выразили озабоченность тем, что используемый в клинической практике &пульсовой оксиметр&, имеющий &точность измерения

&, превышающую 4% при одном стандартном отклонении (8,0% при двух стандартных отклонениях), может привести к неправильному лечению. Даже если &точность измерения

& выше, что обычно более желательно и часто достижимо, эта цифра представляет клинически допустимый выбор между более низкой &точностью измерения

& и большей гибкостью при определении рабочих характеристик датчика и его расположения (установки).
Комитет согласился с тем, что важно обеспечивать единую основу для сравнения различных &пульсовых оксиметров&, и по этой причине принял решение, чтобы &точность измерения

& устанавливалась в каждом отдельном диапазоне от 70% до 100% в каждом отдельном случае. Настоящий частный стандарт четко определяет требования к &точности измерения

& в дополнительных диапазонах (например 1% в диапазоне от 90% до 100% &

&).
&Точность измерения

пульсовых оксиметров& частично зависит от &

пациента&
[52]. Сконструированные в настоящее время &пульсовые оксиметры&, обычно более точные при уровнях &

& выше 90%, чем при уровнях ниже 80%. Ограничивая диапазон, в котором установлена &точность измерения

&, передача информации в этом диапазоне будет более эффективной. Для &пульсовых оксиметров& с заданной &точностью измерения

& ниже 65% диапазон ограничен 20%. Это препятствует усреднению при лучшей работе в более высоких диапазонах, позволяя таким образом избежать искажения &точности измерения

& при низком насыщении.
AA.50.101.2.1. Сбор данных
Во время испытания на десатурацию часто бывает трудно достигать запланированного уровня &

&, особенно на нижнем пределе диапазона &

&. Следует, по крайней мере, попытаться достичь при измерении &

& точности измерения в пределах 3% &

& в установленном диапазоне &точности измерения

&.
&Точность измерения

пульсовых оксиметров& в большой степени зависит от оптического взаимодействия между излучателем и приемником света, и снабжаемыми кровью тканями &пациента&. Взаимозависимость между измеренными пульсациями при пропускании света через снабжаемые кровью ткани и определением насыщения артериальной крови кислородом определяется, среди прочего, спектральным составом излучаемого &датчиком& света и от взаимодействия оптической системы &датчика& с поверхностью кожи. Так как эти сложные взаимосвязи, зависящие от длины волны, не оцениваются и не воспроизводятся &функциональными тестерами пульсовых оксиметров& и имитаторов, такие устройства не способны охарактеризовать или проверить подлинную точность работы системы &датчик/монитор. Функциональные тестеры& могут применяться для проверки функционирования &мониторов пульсовых оксиметров& и электрической целостности &датчиков&. (см. также
Приложение FF).
AA.50.101.2.2. Анализ данных
&CO-оксиметры& имеют присущую им неточность, которая влияет на оценку
[11] и
[26] &точности измерения

. CO-оксиметры& и &пульсовые оксиметры& применяются для измерения степени насыщения артериальной крови кислородом и имеют присущую им недостоверность. Чтобы улучшить точностные характеристики &пульсовых оксиметров, необходимо контролировать точность измерения

& этими &CO-оксиметрами&.
Комитет не уверен, что существует практический или контролепригодный метод проверки &точности& измерения &

CO-оксиметром& изготовителем или пользователем. Для минимизации неточности &CO-оксиметра& при измерении

особое внимание следует обращать на то, чтобы обеспечивать работу &CO-оксиметра& в рамках его возможностей. Необходимо проверять правильную работу, используя рекомендованный изготовителем &CO-оксиметра& порядок технического обслуживания, но этого недостаточно, чтобы обеспечивать точность измерения. Требуются новые методы обеспечения качества проверки точности &CO-оксиметра&.
ПРИМЕР 2. Корпорация американских патологоанатомов
[18].
AA.51.101. Период обновления данных
В &пульсовом оксиметре& необходимо предусматривать индикацию, показывающую, что выводимое на дисплей значение &

& не соответствует &действительному& на данный момент значению, если &период обновления данных& о &

& превышает 30 с.
Пункт 6.8.2 включает в себя требование об указании &периода обновления данных& в &эксплуатационной документации&. Однако нет требования об ограничении продолжительности &периода обновления данных&. Комитет добавил дополнительное требование об "индикации не соответствующего действительному значению &

&" на основе потенциально значимой задержки, которая может произойти между событием по активации &сигнала опасности& и фактическим генерированием &сигналов опасности&. Выводимое на дисплей значение &

& не отражает изменений в измеренном значении &

& до завершения каждого периода обновления. Если событие, которое приводит в действие &сигнал опасности&, такое как десатурация &пациента&, случается сразу после обновления дисплея, то может произойти значительная задержка между событием и генерацией &сигналов опасности&. Если период обновления долгий, это может создавать опасную для пациента ситуацию.
Чтобы уменьшить эту потенциально опасную ситуацию, комитет решил, что важно обеспечивать &изделие& индикацией, показывающей оператору, что выведенное на дисплей значение &

& не было обновлено в течение 30 с и по существу не является реальным на данный момент значением. Это позволяет &оператору& получать своевременную информацию для оценки состояния &пациента& и принимать в случае необходимости соответствующие меры.
AA.101. Несоответствие сигнала
Врачи предполагают, что точность пульсовой оксиметрии падает в различных физиологических и окружающих условиях, и они хотят видеть индикатор, показывающий ухудшение характеристик работы прибора. Кроме того, предполагается, что плетизмограмма на дисплее покажет это ухудшение, если оно вызвано движением и слабым уровнем пульсирующего сигнала. В связи с этим врачи выразили желание, чтобы им была показана ненормированная плетизмограмма. (Также предполагается, что плетизмограммы, нормированные по амплитуде, скроют значительные изменения уровня сигнала).
В действительности множество факторов влияет на ухудшение сигнала с потенциальной потерей точности. Форма плетизмограммы может быть чувствительна к шуму и величине (амплитуде) сигнала, но изменение плетизмограммы не связано напрямую с факторами, которые ухудшают точность, т.е. эти факторы могут изменять плетизмограмму, не ухудшая точность измерения. Эти факторы включают: амплитуду сигнала, источник шума, морфологию плетизмограммы, интенсивность внешнего освещения, положение и настройку сенсора (но не ограничиваются ими).
В идеале наилучшим было бы получить возможность оценки достаточности качества сигнала, который бы отражал общее состояние работы прибора, включая уверенность в точности измерения. Это может быть достигнуто в реальном времени всесторонней оценкой сигнала, а также визуальным отражением этого статуса. Это также может быть достигнуто в клинически приемлемой форме, например с плетизмографическим дисплеем, который соответствующим образом отрегулирован.
Неотрегулируемый плетизмографический дисплей может не иметь достаточного разрешения, чтобы показать клинически значимые изменения при малой величине (амплитуде) сигнала. Поэтому нормирование плетизмограммы для увеличения разрешения при низкой амплитуде сигнала улучшает возможность использования плетизмограммы для оценки изменения уровня сигнала.
AA.102. Датчики пульсовых оксиметров и удлинительные кабели к нему
&Датчики пульсовых оксиметров& и &удлинительные кабели к датчикам& также важны для обеспечения безопасности и &точности& всего оборудования в сборе, как и сам &монитор&.
Раздел 102 определяет ответственность изготовителя &датчика& и &удлинительного кабеля& (включая изготовителя &повторно обработанного датчика& и &удлинителя&) не только за отдельно проверяемые характеристики (такие, как биосовместимость) &датчика& или &удлинительного кабеля&, но и за комплекс характеристик (таких, как точность, электромагнитная совместимость, электрическая безопасность, защита от избыточных температур на границе взаимодействия датчика с тканью) &пульсового оксиметра&, в комплекте с которым будут использоваться &датчик& и &удлинитель&, и которые устанавливает изготовитель. Примером возможного влияния &повторной обработки& на биосовместимость является стерилизация глутаральдегидом силиконовых материалов, которая может привести к пропитке материала растворителем, и если его не удалить последующей обработкой, это может стать причиной химического ожога, что следует указывать (и подтверждать) в &эксплуатационной документации&.
AA.201.1.2. Определение приоритетов
Язык предыдущей версии настоящего стандарта простой, за исключением начальной фразы "если предназначен для постоянного мониторинга". Этот язык вызвал большую дискуссию между членами комитета и его консультантами относительно обстоятельств, при которых требуются сигналы опасности о низком уровне &

&. Такие термины, как "постоянный мониторинг" и "автоматический мониторинг", недостаточно определены, чтобы требовать развернутого пояснения, и могут быть поняты как режим ожидания, для которого совсем не требуются сигналы опасности. В конце концов комитет согласился, что операторы и пользователи знают, когда &монитор оксиметра& должен подавать сигналы опасности. Поэтому значительным вкладом этого частного стандарта явилось бы обеспечение соответствующей маркировкой &мониторов пульсовых оксиметров& в случае, если сигналы физиологической опасности не предусмотрены (см.
6.1 и
6.8.2), а в случае, когда такие &сигналы& предусмотрены, должен быть предусмотрен сигнал опасности для такого наиболее важного параметра, как низкий уровень &

&.
Некоторые &мониторы пульсовых оксиметров& могут подавать сигналы опасности в случае технически тревожных ситуаций в работе частей, относящихся к оборудованию, таких как разрядка батареи, но не в случае физиологических тревожных ситуаций. На таких мониторах индикация низкого уровня &

& не требуется.
AA.201.5.4. Предварительная установка сигнала по умолчанию
85% &

& - это обычно допустимый нижний &предел сигнала& опасности для большинства клинических ситуаций; однако в конкретных клинических условиях могут быть желательны более низкие значения &пределов сигнала опасности. Оператору& разрешается устанавливать нижний предел сигнала опасности при &нормальной эксплуатации&.
При выборе 85% в качестве минимального предела сигнала опасности по умолчанию, устанавливаемого изготовителем в случае опасной ситуации при низком уровне &

&, был найден компромисс между двумя клиническими требованиями. Одно требование касалось работы &пульсового оксиметра& как раннего индикатора физического недомогания &пациента& с относительно нормальной оксигенацией. В этой ситуации согласно клинической практике желательно выбирать предел сигнала опасности по умолчанию выше "излома" кривой диссоциации оксигемоглобина, который обеспечивает требуемый минимум безопасности. Второе требование - избегать частых &сигналов опасности&, необязательно требующих клинического вмешательства, которые могут "снижать чувствительность" медперсонала к &сигналам опасности&. В этом случае можно поспорить о снижении предела сигнала опасности по умолчанию, чтобы гарантировать, что большинство тревожных ситуаций будут значимы в любой ситуации. Признано, что в обоих клинических случаях многие, если не все, операторы больше полагаются на предельное значение сигнала опасности при низком &

&, установленное по умолчанию.
Другой случай, который рассматривался членами комиссии, касался того, что многие образцы &пульсовых оксиметров&, предназначенные для постоянного мониторинга, дают возможность &пользователю& или &оператору& устанавливать пределы сигнала опасности по умолчанию и что для специальных параметров мониторинга можно выбирать &пределы сигнала опасности& по умолчанию, которые более соответствуют потребностям &пациентов& и &операторов&. Рассмотрев все соображения, пришли к выводу, что нижний предел 85% для &предела сигнала& по умолчанию, установленного &изготовителем&, представляется приемлемым компромиссом, наиболее полно удовлетворяющим этим двум клиническим требованиям.
(справочное)
ТЕМПЕРАТУРА КОЖИ ОКОЛО ДАТЧИКА ПУЛЬСОВОГО ОКСИМЕТРА
BB.1. Вывод
Обзор литературы, в которой встречаются требования к температуре, позволяет сделать вывод, что уместно и безопасно поддерживать температуру 41 °C для новорожденных (пациентов до одного года), 42 °C в течение 8 ч и 43 °C в течение 4 ч для &пациентов& старшего возраста.
BB.2. Обзор литературы
Комитет решил использовать внешнюю теплоту для получения температуры поверхности 35 °C при отсутствии сильного периферического кровообращения как наиболее неблагоприятный вариант. Хотя в результате сильной местной перфузии температура кожи может быть 35 °C или выше, вынужденный конвективный теплообмен крови повышает эффективную тепловую проводимость кожи. Таким образом, если температура 35 °C создается эндогенно, подводимая от &датчика& теплота будет способствовать меньшему повышению температуры.
В настоящем стандарте комитет принял правило FDA 35 °C в качестве условий испытаний и подробно объяснил, что температуру "окружающей среды" согласно руководству FDA
[23] можно считать как местную температуру кожи, когда &датчик& не включен. Основной путь, по которому тепло выходит из &датчика&, - через пациента, а не через окружающий воздух. Таким образом, температура кожи &пациента& (без &датчика пульсового оксиметра&) гораздо более важна для определения в конечном счете предела повышения температуры на границе взаимодействия датчика с кожей, чем температура окружающего воздуха. Поэтому следует определять температуру кожи, а не воздуха.
В настоящем стандарте для новорожденных, как и для взрослых, устанавливается одинаковая максимальная температура кожи 35 °C. 35 °C - это достаточный максимум, даже если инкубаторы для новорожденных могут быть отрегулированы на повышение температуры кожи в абдоминальной области до 37 °C. При отсутствии сильной местной перфузии кожа конечностей на несколько градусов холоднее, чем кожа в абдоминальной области, как описано в следующей литературе:
- Templeman и Bell
[58] указали среднюю температуру пятки около 33 °C, в то время как абдоминальная температура регулировалась от 36 °C до 37 °C как в инкубаторах с подогреваемым воздухом, так и в инкубаторах с радиационными нагревательными приборами;
- Malin и Baumgart
[41] указали, что в среде с радиационными нагревательными приборами средняя температура пятки была на 4,5 °C ниже ректальной температуры, когда абдоминальная температура стенки составляла 35,5 °C, и почти на 2 °C ниже при абдоминальной температуре 37 °C;
- Topper и Stewart
[59], изучая применение горячих подушек с водой в дополнение к радиационным нагревательным приборам, выяснили, что средняя температура ноги была почти на 2,6 °C ниже почти равных температур спины и живота, когда нагревающая подушка убиралась, и на 2,1 °C ниже, когда она присутствовала;
- Seguin
[53] исследовал искажающее влияние на серворегулирование горячих чрезкожных сенсоров в инкубаторе. В период контроля, когда чрезкожные сенсоры не использовались, он определил, что средняя температура ноги была 33,4 °C, в то время как температура пищевода составляла 36,9 °C. Эта работа проводилась с радиационными нагревательными приборами с серворегулированием датчика для установки абдоминальной температуры кожи от 36,5 °C до 37 °C;
- Harpin и другие
[29], исследуя реакцию новорожденных на перегрев в инкубаторах с подогреваемым воздухом, показали постоянную тенденцию, при которой температура руки была на 1,5 °C - 5 °C ниже ректальной температуры, когда младенец находился на нижнем уровне температурного диапазона, и почти на 0,5 °C ниже, когда младенец был перегрет. Авторы объяснили повышенную температуру руки как соответствующую более сильному местному кровообращению.
Вероятность того, что природный механизм повреждения-восстановления кожи может быть слабее при плохом кровообращении, что может привести к понижению пороговой температуры, особо не принимался во внимание
[62]. Существует мало экспериментальных данных по этому вопросу. Ранний прямой эксперимент
[46] проводился на свиньях. Это испытание не выявило никакого влияния местной перфузии на порог повреждения. Более новые эксперименты, также проводившиеся на свиньях
[37] и
[34], показали при высоком местном давлении (100 мм рт. ст.) на большой области (51 - 57 мм в диаметре) трудно определять пороговую температуру повреждения. Большее повреждение происходит, например при температуре 35 °C, чем при 25 °C, а некоторые повреждения наступают даже при температуре 25 °C. Любой рекомендуемый безопасный температурный порог для &датчиков пульсового оксиметра& должен сопровождаться обычным предупреждением о том, что &датчики& следует устанавливать так, чтобы избежать избыточного давления. Принимая такие меры предосторожности, мы рекомендовали температурные пороги, которые безопасны с точки зрения самых пессимистичных значений. Таким образом, было учтено влияние слабой перфузии, которая, возможно, наблюдалась у некоторых субъектов эксперимента, подлежащих исследованию.
В
таблице BB.1 приведены наши наилучшие предполагаемые оценки безопасности температурных порогов кожи, взятые из многих журнальных отчетов. Несогласованность этих отчетов объясняется, по крайней мере, двумя причинами:
- все имеющиеся данные по новорожденным, взятые из исследований чрезкожного мониторинга газов крови, в котором наблюдаемой переменной обычно является температура чрезкожного сенсорного сердечника. Температура кожи - это неконтролируемая переменная, которую мы оценили на 1 °C ниже температуры чрезкожного сенсорного сердечника, но которая в действительности может изменяться более широко
[21],
[32],
[35] и
[36];
- во многих экспериментах есть важные переменные, к которым постоянно не обращаются, включая, по крайней мере, точность измерений температуры и изменяющуюся физиологию &пациентов&.
Таблица BB.1
Время и источник безопасного применения датчика
пульсового оксиметра
Ссылка | Безопасная температура кожи в течение n часов | Безопасная температура кожи в течение 8 ч |
Новорожденные: | | |
| 43 °C в течение 4 - 7 ч | > 42 °C |
| 41 °C в течение 24 ч | > 42 °C |
| 42,5 °C в течение 4 ч | > 41,5 °C |
| 41 °C в течение до 84 ч | > 42 °C |
| 43 °C в течение 4 ч "почти полностью исключает риск образования волдырей". 42 °C "хорошо переносится в течение до 24 ч" | 42 °C |
| 41 °C в течение до 24 ч при отсутствии эвгенола | > 41 °C |
| < 42 °C в течение 2 ч | < 40 °C |
| 44 °C в течение 1 ч (кажется осторожным предположением. Данные отсутствуют) | 41 °C |
| 43 °C в течение 4 ч | 42 °C |
| < 43 °C в течение 8 ч | 42 °C |
| 43 °C от 3 до 4 ч | 42 °C |
| < 43 °C 2 ч. Исходные данные отсутствуют | < 41 °C |
| 44 °C до 6 ч | 43 °C |
Промежуточный возраст: | | |
| 43 °C на период применения пульсового оксиметра | 43 °C |
Взрослые: | | |
| На крысах, а не на людях. Водяные бани при 60 °C, 75 °C и 90 °C в течение 4, 10 или 15 с. | Результаты подтверждают результаты Moritz |
| 44 °C в течение 6 ч (это обзорная статья, а не экспериментальный отчет, и может базироваться на результатах Moritz [45], [46]) | > 43 °C |
| 44 °C в течение 5 ч | > 43 °C |
| 43 °C на период применения пульсового оксиметра | 43 °C |
| 43 °C в течение 8 ч | 43 °C |
| < 43 °C в течение 8 ч | < 43 °C |
Чтобы интерпретировать каждый отсчет, за точку отсчета была принята безопасная пороговая температура, при которой не наблюдались волдыри. Краснота, которая может указывать на гиперемию в результате нагревания, или тепловое повреждение части толщины эпидермиса (обычно называемое ожогом первой степени) были взяты как маргинально допустимые, так как восстановление кожи с легким покраснением происходит достаточно быстро. Волдыри однозначно признаются как рана и подразумевают повреждение базальных клеток эпидермиса (ожог второй степени). Если продолжительность воздействия менее 8 ч, мы оценивали безопасную 8-часовую температуру, используя эмпирическое правило Moritz и Henriques
[45], гласящее, что удвоение времени экспозиции снижает безопасную температуру на 1 °C.
Литературные ссылки в большинстве случаев делятся на две группы. Дается много ссылок на работу чрезкожных мониторов, которые применяются в основном для новорожденных. Другая группа документов представляет исследование ожоговых порогов, проводившееся на взрослых добровольцах. Только несколько ссылок касаются субъектов средней возрастной группы.
Рассматривая оценки в
таблице BB.1, мы пришли к следующим выводам:
- 42 °C могут быть совершенно безопасны для младенцев (включая новорожденных), но есть достаточно спорные результаты, подтверждающие меры предосторожности. По этой причине рекомендуется не повышать традиционный предел в 41 °C для младенцев и сохранять установку 41 °C по умолчанию;
- 43 °C в течение 8 ч могут быть безопасны для взрослых, но с момента классической работы Moritz и других было сделано несколько новых исследований; результаты работы Wienert и других говорят о принятии мер предосторожности. По этой причине был сделан вывод о том, что обоснованным пределом для взрослых являются температуры 42 °C в течение 8 ч и 43 °C (используя правило Moritz) в течение 4 ч.
Уместно и безопасно поддерживать предел температуры 41 °C для младенцев (&пациентов& до одного года) и устанавливать пределы для взрослых (42 °C в течение 8 ч, 43 °C в течение 4 ч), &пациентов& старшего возраста на основе результатов наблюдений за тем, что кожное кровообращение у детей до одного года
[50] незрелое и что по другим структурным параметрам кожа похожа на кожу взрослого после этого возраста
[49].
Настоящий стандарт не требует применения конкретного метода измерения температуры кожи под &датчиком пульсового оксиметра&. Существует много хорошо известных и принятых методов измерения температур поверхности. Разные &изготовители датчиков& используют свои собственные методы измерения температуры, проводя измерения или на человеке, или на термомеханическом имитаторе. В настоящее время невозможно найти приемлемый универсальный метод испытания, и отличные данные о тепловой безопасности пульсовой оксиметрии говорят о том, что такой метод не требуется. Конструкторы &датчика&, которые хотят получать преимущества от использования более высоких температур, должны помнить следующее:
- необходимо с осторожностью устанавливать допуски на погрешность измерения. Изготовитель должен достоверно знать &точность& измерения температуры при проектировании &датчиков&, предназначенных для температур свыше 41 °C, так как высокие температуры снижают предел безопасности;
- температурные датчики должны быть достаточно маленькими, чтобы не искажать измерения. Большие температурные датчики, которые, как признано, могут иметь характерные размеры около 0,5 мм (например, бусинка термопары, сваренная из проволоки диаметром 0,25 мм). Однако чаще применяют небольшие температурные датчики;
- температурный датчик не должен снижать измеренную максимальную температуру, отводя значительное количество тепла от измеряемой области. Таким образом, будет неправильно использовать медно-константановые термопары типа Т, которые обычно используют для медицинских исследований, так как высокая теплопроводность медной проволоки может стать причиной ошибочного измерения температуры;
- температурный датчик должен быть помещен точно в самую теплую точку на границе между кожей и &датчиком пульсового оксиметра&. Часто, но не всегда, это точка на &датчике оксиметра& находится посредине между двумя кристаллами светоизлучающих диодов, которые обычно используют в источниках излучения. Самая теплая точка находится опытным путем;
- экспериментальные методы должны быть такими, чтобы обеспечивать соответствие измерения пределам температуры при наиболее неблагоприятных условиях;
- &пациент& имеет плохое периферическое кровообращение. Поэтому передача через кровь тепла при вынужденной конвекции незначительна, чтобы повышать эффективную теплопроводность поверхностной ткани;
- светодиоды в &датчике пульсового оксиметра& работают при максимальном токе, который способен дать монитор при нормальной работе (это условие выполняется, когда пациент имеет очень темную кожу или полную ногу);
- активный источник тепла используют для искусственного повышения температуры кожи младенца над абдоминальной областью до 37 °C.
Мы не требуем, чтобы каждая модель &датчика пульсового оксиметра& была протестирована непосредственно на "наиболее неблагоприятных" &пациентах&. Изготовитель должен выбирать методы оценки тепловых характеристик датчика, которые позволяют уверенно прогнозировать безопасность их теплового воздействия на таких &пациентов&.
(справочное)
CC.1. Общие положения
В настоящем Приложении обсуждаются как формулы, используемые для оценки качества измерений с помощью &пульсового оксиметра&, так и обозначения, присваиваемые этим формулам.
&Точность измерения

& для &пульсового оксиметра& была общепринята как "+/- 2%, одно среднеквадратическое отклонение". В настоящем стандарте комитет выбрал другую рекомендуемую меру &точности измерения

&, хотя по существу сохраняется та же самая формула (значение n - 1 заменяется значением n), которая была общепринята. Мы рекомендуем определения &локальной систематической погрешности, средней систематической погрешности& и &прецизионности&, которые соответствуют их общетехническому применению, но немного отличаются от значений этих терминов, как иногда они использовались в литературе, относящейся к пульсовой оксиметрии. В этом Приложении объясняются обоснования для наших рекомендаций. Мы также обсуждаем термин "неоднозначность", который был введен в статье Severinghaus #et al#.
[54], и объясняем, что термин &точность измерения& может выполнять аналогичную функцию.
CC.2. Точность, систематическая погрешность и прецизионность
CC.2.1. Определения
Каждый из терминов &точность, систематическая погрешность& и &прецизионность& имеет несколько определений: при компиляции стандартных определений ASTM (ASTM, 7th ed., 1990) - 11 определений точности, 9 - систематической погрешности и 19 - прецизионности, все отобранные из документов ASTM. Мы выбрали специфические определения, которые согласуются с общими определениями, установленными в стандарте ASTM E 456
[3]. Определения, установленные в ASTM E 456, с соответствующими примечаниями приводятся ниже:
точность: степень близости результата измерений к принятому опорному значению.
Примечания
1. @Термин "точность", когда он применяется к совокупности результатов измерений, включает в себя комбинацию случайной составляющей и общую систематическую ошибку или составляющую систематической погрешности;
систематическая погрешность: разность между математическим ожиданием результатов измерений и принятым опорным значением.
2. Систематическая погрешность представляет собой общую систематическую ошибку в противоположность случайной ошибке. Могут существовать одна или несколько составляющих систематической ошибки, которые вносят вклад в систематическую погрешность. Большее систематическое расхождение с принятым опорным значением соответствует большему значению систематической погрешности.
3. Математическое ожидание - статистический термин, который приблизительно можно интерпретировать как среднее значений, которые можно получать, если проводить многократные измерения;
прецизионность: степень близости друг к другу независимых результатов измерений, полученных в обусловленных условиях.
4. &Прецизионность& зависит от случайных ошибок и не имеет отношения к истинному или установленному значению.
5. Меру &прецизионности& обычно выражают в терминах неточности и рассчитывают как среднеквадратическое отклонение результатов измерений. Меньшая прецизионность соответствует большему среднеквадратическому отклонению.
6. "Независимые результаты измерений" - это результаты, полученные способом, на который не оказывает влияния никакой предшествующий результат, полученный на том же самом или аналогичном объекте испытания. Количественные меры &прецизионности& существенно зависят от обусловленных условий. Крайними случаями совокупностей таких условий являются условия повторяемости и воспроизводимости@.
CC.2.2. Влияние смещения и ошибок за счет линейной аппроксимации
На выбор комитетом определений оказало влияние рассмотрение трех синтезированных наборов данных, которые были получены в результате &исследования контролируемой десатурации&, как показано на
рисунках CC.1 -
CC.3. По горизонтальной оси в каждом из трех этих графиков представлены показания насыщения кислородом

, полученные на эталонной системе, а по вертикальной оси - показания насыщения кислородом

, полученные на испытательном &пульсовом оксиметре&. Реперная линия, показанная на графике, является линией идентичности (на которой испытательный и эталонный приборы дают одинаковые показания), а две штриховые линии представляют отклонения +/- 2% от линии идентичности.
Показания &

& испытуемого датчика в зависимости от показаний

эталонного прибора.
Пренебрежимо малая &средняя систематическая погрешность& (0,02%).
Наклон линии регрессии равен 1,000.

при

;

"

.
Формула линии тренда: y = 1,0002x + 0,02.
Рисунок CC.1. Синтезированные данные для калибровки
(основной случай)
Показания &

& испытуемого датчика в зависимости от показаний

эталонного прибора.
&Средняя систематическая погрешность& - 1,5%.
Наклон линии регрессии все еще равен 1,000.

при

;

"

.
Формула линии тренда: y = 1,0002x + 1,48.
Рисунок CC.2. (К основному случаю добавлено
постоянное смещение)
Показания &

& испытуемого датчика в зависимости от показаний

эталонного прибора.
Пренебрежимо малая &средняя систематическая погрешность& (0,001%).
Наклон линии регрессии теперь равен 1,100.

при

;

"

.
Формула линии тренда: y = 1,1002x - 8,67.
Рисунок CC.3. (К основному случаю добавлен наклон)
Три графика отличаются между собой только характером несложных изменений, внесенных в один основной набор данных:
-
рисунок CC.1 (основной случай) был получен таким образом, что линия регрессии, построенная по экспериментальным данным, почти точно попадает на линию идентичности (наклон равен 1,00 и среднее смещение равно 0).
-
рисунок CC.2 был получен на основе
рисунка CC.1 путем добавления постоянного смещения, равного 1,5 единицы, к каждому значению y.
-
рисунок CC.3 был получен на основе
рисунка CC.1 путем добавления x-зависимой ошибки к каждому значению: y(x) = 0,1x - 8,6523 таким образом, что добавленная ошибка равняется нулю вблизи центра графика, является положительной справа и отрицательной слева. Чтобы получить нулевую среднюю дополнительную ошибку, была выбрана уточненная формула.
1 - линия регрессии;
2 - &локальная систематическая погрешность&;
3 - линия идентичности
Рисунок CC.4. Графическое представление определения
локальной систематической погрешности
(Показания &

& испытуемого датчика в зависимости
от показаний

эталонного прибора)
1 - &средняя систематическая погрешность&;
2 - линия регрессии;
3 - &локальная систематическая погрешность&
Рисунок CC.5. Графическое представление определений
локальной и средней систематической погрешности
(Показания &

& испытуемого датчика в зависимости
от показаний

эталонного прибора)
&Локальная систематическая погрешность& b для данного значения x - это разность между y-значением линии регрессии на этой координате и y-значением линии идентичности, т.е.:
где i = 1, ..., n.
&Средняя систематическая погрешность& B - простое число, представляющее весь набор данных. Она представляет собой среднюю разность между экспериментальным и эталонным значениями, сохраняющими знак:
При определении этим способом &средняя систематическая погрешность& равняется, как ей и следует быть, среднему всех значений локальной систематической погрешности в соответствии со следующим выводом:
Нулевой член на стороне правой руки является результатом регрессии, которая определяет

, а второй член просто идентифицирует локальную систематическую погрешность.
Оба графика на
рисунках CC.1 и
CC.3 демонстрируют &среднюю систематическую погрешность&, равную нулю, в то время как на графике
рисунка CC.2 &средняя систематическая погрешность& составляет 1,5 единицы. Значение &локальной систематической погрешности& равняется везде нулю на
рисунке CC.1, постоянно 1,5 единицы - на
рисунке CC.2, а на
рисунке CC.3 оно следует формуле
b = 0,1002x - 8,67.
CC.2.4. Прецизионность
На
рисунке CC.3 представлен случай, который иногда встречается в пульсовой оксиметрии, особенно при разработке новой модели &датчика пульсового оксиметра& для использования с калибровочными кривыми, которые встроены в уже существующий &монитор пульсового оксиметра&. Тот факт, что в этом наборе данных между экспериментальными и эталонными значениями имеется непостоянное смещение, означает, что полезно различать &локальную и среднюю систематические погрешности&. Фактические наборы данных могут иметь более сложные зависимости систематической погрешности от

, но этот пример будет достаточным для демонстрации того, что происходит с формулами, определяемыми различными данными, когда &локальная систематическая погрешность& изменяется с насыщением.
Мы поддерживаем определение &прецизионности& как среднеквадратического отклонения разностей

, заданное следующей формулой
[31]
где n - число пар данных в пробе;

- разность между i-й заданной величиной &

& и значением кривой, построенной по экспериментальным точкам, которое соответствует i-му эталонному значению

. &Прецизионность&

можно наглядно идентифицировать как разброс экспериментальных точек вокруг оптимальной калибровочной кривой, построенной по точкам. Она является критерием разброса, которого следует ожидать при многократных измерениях на одном и том же &пульсовом оксиметре& при заданном насыщении кислородом, учитывая как вариации среди &пациентов&, так и сходимость электронного &оборудования& и средств программного обеспечения.
Примечание. @На
рисунках CC.1,
CC.2 и
CC.3 
имеет согласованное значение около 1,034%. Все три набора данных имеют один и тот же разброс экспериментальных точек относительно оптимальной линии регрессии, построенной по экспериментальным точкам, и приблизительно идентичные значения

отражают этот факт. Наличие систематической погрешности на двух из этих графиков не имеет влияния на нашу меру &прецизионности&, которая является такой, какой ей следует быть@.
CC.2.5. Точность
Как предложено в определении, приведенном в стандарте ASTM E 456, мы хотим представить &точность& как комбинацию систематической и случайной составляющих ошибки. Определение, которое долго использовалось многими &изготовителями&, представляет собой среднеквадратическое отклонение rms измеренных значений

от эталонных значений

, как обусловлено следующей формулой

Мы полагаем, что большинство &изготовителей&, которые заявляли &точность измерения &

& пульсового оксиметра& как "среднеквадратическое отклонение", на самом деле рассчитывали значение

. По меньшей мере, один &изготовитель& использовал внутри своей организации аббревиатуру SDI, что означает "среднеквадратическое отклонение относительно линии идентичности". Это неправильное употребление термина, поскольку

не является среднеквадратическим отклонением. Важно, что эта мера сама по себе полезна. Специалисты будут идентифицировать

как нечто очень сходное с "распространенной среднеквадратической rms ошибкой измерения". Это способ усреднения абсолютных величин ошибок на всем диапазоне измерения.
Примечание. @Отмечено, что использование знаменателя n в этом выражении для

лучше, чем знаменателя (n - 1), который должен использоваться в том случае, если

- среднеквадратическое отклонение. Разность числовых значений является типично тривиальной. Появление (n - 1) в определении среднеквадратического отклонения возникает в результате того, что только (n - 1) проб, включающих среднеквадратическое отклонение, могут быть свободно выбраны (статистики говорят n - 1 "степеней свободы"). Значение n-й пробы подчинено ограничениям, поскольку определение среднеквадратического отклонения включает разность со средним, подразумевающую, что n-я проба выбрана так, что среднее имеет известное значение. Это не является ограничением такого рода для расчета

, так как выражение не включает любого предопределенного параметра, такого как среднее@.
Понимая, что

не является среднеквадратическим отклонением, важно избегать ошибки при расчете &точности измерения

& оксиметра. Если использовалась единица для создания колонки динамической электронной таблицы, содержащей все разности

, и расчета среднеквадратического отклонения данных с помощью программных средств, то полученный результат не будет

(в действительности, как замечено ниже, он будет представлять собой

, меру &прецизионности&, разработанную Severinghaus et al.)
[54].
Среднеквадратическое отклонение для любой переменной x определяется следующей формулой:
где

- среднее всех значений

. Сравнивая эту формулу с выражением для

, мы видим, что в выражении для

нет вычитания среднего значения.

не является мерой разброса вокруг среднего значения. Она измеряет разность между экспериментальными и эталонными значениями. Числовую разность между

и

можно увидеть в подрисуночных надписях
рисунков CC.1 -
CC.3.

оказывает влияние как на случайный разброс, так и на &среднюю& и &локальную систематические погрешности&.
На
рисунке CC.1 вследствие того, что &локальная систематическая погрешность& пренебрежимо мала на протяжении всего диапазона (что приводит также и к пренебрежимо малой &средней систематической погрешности&),

, что приблизительно равняется значению

. Тот факт, что

и

близки к 1%, согласуется с визуальным наблюдением, что большинство данных на
рисунке CC.1 лежит в пределах +/- 2% от реперной линии графика. Мы ожидаем, что при нормальном распределении 95% измерений будут лежать в пределах двух среднеквадратических отклонений от среднего.
На
рисунке CC.2 при согласованно большом смещении (т.е. постоянная &локальная систематическая погрешность& приводит к &средней систематической погрешности&, отличной от нуля) значение

возрастает до 1,823 %.
На
рисунке CC.3 при #нулевой# &средней систематической погрешности&, но изменяющейся локальной &систематической погрешности&

имеет промежуточное значение 1,332%. Поскольку &локальная систематическая погрешность& на
рисунке CC.3 почти везде меньше по абсолютному значению постоянного смещения на
рисунке CC.2, это означает, что наша мера общей &точности измерения

& ниже на
рисунке CC.3 по сравнению с
рисунком CC.2 (т.е.
рисунок CC.3 демонстрирует более высокую &точность измерения

&, чем
рисунок CC.2).
CC.2.6. Анализ
Сейчас мы хотим обсудить связь между определениями, приведенными выше, и терминами, использованными двумя достойными уважения источниками, которые имели решающее влияние в научных журналах, посвященных пульсовой оксиметрии. Bland и Altman
[12] решительно возражали против неправильного применения коэффициентов корреляции при сравнении двух методов измерения и ввели полезный графический метод исследования данных, полученных при сравнительных экспериментах. Severinghaus #et al#.
[54] ввел определения систематической погрешности и &прецизионности&, основанные на методе Bland и Altman, а также определил новый термин неоднозначность как сумму &прецизионности& и систематической погрешности.
В следующих параграфах мы используем символы

и

для определений систематической погрешности и прецизионности, которые использовались Severinghaus. Он определял систематическую погрешность как среднюю разность между экспериментальными и эталонными значениями, сохраняющими знак:
При отсутствии совпадения это определение идентично нашему определению &средней систематической погрешности&. Мы приняли язык Severinghaus для этого определения, дополнительно признавая, что при исследовании калибровки &пульсового оксиметра& иногда выявляется изменение систематической погрешности при насыщении, так как это полезно для того, чтобы различать &локальную& и &среднюю систематические погрешности&.
Severinghaus #et al#. определял &прецизионность& как "среднеквадратическое отклонение систематической погрешности":
Эта мера отличается от рекомендуемого нами определения &прецизионности&. С одной точки зрения

- это среднеквадратическое rms отклонение разностей от &средней систематической погрешности&, в то время как

- это среднеквадратическое отклонение разностей от &локальной систематической погрешности&. Напомним, что

было одним и тем же на
рисунках CC.1 -
CC.3. Сравним, что происходит с

в этих трех случаях:
- на
рисунке CC.2 
(в этом случае

имеет желательное свойство меры "прецизионности", соответствующей разбросу около линии регрессии, но не соответствующей постоянному смещению, что отражено в отличном от нуля значении &средней систематической погрешности&;
- на
рисунке CC.3 
(

возросло, чтобы соответствовать

. Поскольку &локальная систематическая погрешность& является переменной, это вызывает увеличение

, даже если случайная составляющая ошибки, измеренная по формуле для

, не изменялась).
Bland и Altman при обсуждении примера в своем рисунке 2
[12] говорят: "... нет очевидной зависимости между разницей и средним. В этих условиях мы можем резюмировать отсутствие согласования при расчете систематической погрешности, оцениваемой средней разностью

и среднеквадратическим отклонением разностей s". Таким образом, значение

по Bland и Altman эквивалентно значению

по Severinghaus, а их значение s эквивалентно его значению

. Bland и Altman указывают, что полезность среднеквадратического отклонения разностей возникает тогда, когда отсутствует очевидная зависимость между разницей и средним. Как иллюстрирует наш
рисунок CC.3, наличие переменного локального смещения делает предпочтительным использование другой меры случайной ошибки.
В итоге мы рассматриваем термин неоднозначность, введенный Severinghaus #et al#.
[54], как сумму систематической погрешности и &прецизионности&:
Ценность этого термина как количественного показателя надежности состоит в том, что он объединяет в однозначное число составляющие как систематической, так и случайной ошибок. Можно показать, что рекомендуемая нами мера &точности измерения

&

имеет аналогичное свойство, так что нет необходимости использовать как

, так и неоднозначность при анализе результатов конкретного эксперимента. Доказательство начинается с математической идентичности:
Для

мы используем разность

. Разложение и подстановка приводят к демонстрации того, что
Для некоторых читателей может быть удобным использовать эту формулу для расчета

. Если разности между экспериментальными и эталонными показаниями оксиметра вводят в одну колонку динамической электронной таблицы,

будет равняться среднему этой колонки, а

будет равняться его среднеквадратическому отклонению.
Приложение DD
(справочное)
В некоторых ранее опубликованных стандартах установлено, что &пульсовой оксиметр& калибруется непосредственно по анализу крови #in vitro# с помощью &CO-оксиметров&. В этом Приложении представлены два таких опубликованных документа и поясняется, когда требуется анализ #in vitro#, а когда нет.
В #Руководящих указаниях по клинической практике использования пульсовой оксиметрии#
[7] Американской ассоциации по искусственной вентиляции легких (AARC) говорится:
"7.2 Для валидации показаний пульсового оксиметра, регистрации или оценки соответствия между &

& и насыщением артериальной крови оксигемоглобином

, полученным при непосредственном измерении, эти измерения следует первоначально выполнять одновременно, а затем периодически подвергать повторной оценке относительно клинического состояния пациента".
Мы принимаем это утверждение AARC как руководящие указания по клинической практике, которые не рассматривают вопрос относительно того, как следует устанавливать исходную калибровку &пульсового оксиметра&. Комитет полагает, что руководящие указания AARC подходят для использования в клинической практике. По ряду причин показания &пульсового оксиметра&, полученные для отдельных пациентов, могут отличаться от показаний &CO-оксиметра&, поэтому всегда целесообразно при клиническом использовании подтвердить показания &

& с помощью более точного измерения. Это утверждение согласуется с точкой зрения, изложенной в
AA.1.
В #Общем руководстве# FDA по #неинвазивному пульсовому оксиметру#
[23] непосредственно рассматривается вопрос об исходной калибровке &изготовителя&. В разделе III.M.e. говорится:
"При клинической апробации необходимо подтвердить требования к точности, установленные изготовителем. Во время этой апробации испытуемый оксиметр следует использовать для измерения уровней насыщения артериального гемоглобина кислородом, и эти уровни необходимо сравнить с уровнями, определенными при заборах артериальной крови с помощью &CO-оксиметра& ...".
Комитет занял такую точку зрения, что допускается использование &пульсового оксиметра& в качестве вторичного эталона. Если данные собраны на большом числе &пациентов&, достаточном для получения совокупности статистических данных, то целесообразно использовать &пульсовые оксиметры&, которые были откалиброваны по &CO-оксиметрам&, в качестве вторичных эталонов для калибровки других &пульсовых оксиметров&. При этом необходимо обращать надлежащее внимание на распространение ошибок, чтобы сделанные заявления о &точности измерения

& были четко обоснованы. В условиях клинической лаборатории, при которых проводится калибровка по вторичным эталонам, многие из известных источников ошибок в пульсовой оксиметрии фактически исключаются. Примерами таких источников ошибок являются низкая перфузия, электромагнитные помехи, движение, лак для ногтей, погрешность позиционирования &датчика пульсового оксиметра& и окружающий свет. Эффективность процесса калибровки по вторичным эталонам доказывается тем, что испытание данного типа &датчиков пульсового оксиметра& в течение многих лет согласованно давало идентичные результаты, а на протяжении 20 лет привело к безопасному и все возрастающему использованию пульсовой оксиметрии.
(справочное)
РУКОВОДЯЩИЕ УКАЗАНИЯ ПО ОЦЕНКЕ И ДОКУМЕНТАЛЬНОМУ
ПОДТВЕРЖДЕНИЮ ТОЧНОСТИ ИЗМЕРЕНИЯ &

& НА ЛЮДЯХ
EE.1. Общие положения
В настоящем Приложении даны руководящие указания по оценке и документальному подтверждению &точности измерения

пульсового оксиметра&. Описанные в этом Приложении методы применяют как для новых, так и для модифицированных &пульсовых оксиметров&, а также их частей всякий раз, когда требуется исследование человека.
Примечание. В
разделе 50.101.2.1 требуется, чтобы любое исследование, проводимое для оценки &точности

пульсового оксиметра&, соответствовало требованиям ИСО 14155-1 и ИСО 14155-2.
Целью настоящего Приложения является описание методов проведения испытаний для оценки &точности измерения

пульсового оксиметра&. Оно не предназначено для установления медицинской практики, надлежащих безопасных процедур или соответствующих процедур наблюдательного совета лечебного учреждения (IRB) или комитета по этике (EC).
Описывают два типа испытаний, в которых человек используется для оценки &точности измерения

пульсового оксиметра&. Любой из этих типов испытаний может проводиться в лаборатории или любой конкретной среде использования.
Инвазивное испытание: &точность измерения

пульсового оксиметра& оценивается путем сравнения показаний &

пульсового оксиметра& со значениями &

&, определенными с помощью &CO-оксиметра&. Два типа индивидуумов могут принимать участие в инвазивных исследованиях:
- здоровые добровольцы, которые согласны с индуцированной гипоксией и забором артериальной крови в качестве составной части экспериментальной процедуры (см.
EE.2) или
- &пациенты&, чьи пробы артериальной крови пригодны для анализа (см.
EE.4.1).
Неинвазивное испытание: &точность измерения

пульсового оксиметра& оценивается путем сравнения показаний &

пульсового оксиметра& со значениями, полученными на &пульсовом оксиметре&, используемом в качестве вторичного эталона. Два типа индивидуумов могут принимать участие в неинвазивных исследованиях:
- здоровые добровольцы, которые согласны с индуцированной гипоксией в качестве составной части экспериментальной процедуры или
- &пациенты&.
Поскольку калибровка &пульсового оксиметра&, используемого в качестве вторичного эталона, непосредственно прослеживается по значениям &CO-оксиметра&, этот &оксиметр& может использоваться как переходной эталон.
EE.2. Методика инвазивного лабораторного испытания на здоровых добровольцах
EE.2.1. Цель инвазивного контролируемого исследования десатурации
Основная цель инвазивных &контролируемых исследований десатурации& состоит в валидации &точности измерения

пульсового оксиметра& по сравнению с измерениями &

& крови на основе "золотого эталона" с помощью &CO-оксиметра&. Это достигается путем наблюдений значений &

& и &

& на заданном диапазоне &точности измерения

& (например, 70% - 100% &

) пульсового оксиметра& на группе здоровых взрослых добровольцев. Доля вдыхаемого кислорода

, полученного объектами испытания, меняется до достижения ряда заданных устойчивых периодов насыщения. Пробы артериальной крови, используемые для сравнения, периодически забираются с помощью постоянного артериального катетера.
Описанный ниже метод включает процедуры, которые должны выполняться и контролироваться квалифицированным персоналом. Добровольцам вставляют артериальные катетеры, а затем они подвергаются воздействию концентраций вдыхаемого кислорода, которые ниже его концентраций в окружающем воздухе. Таким образом, этот метод исследования обычно требует наличия протокола, одобренного IRB или EC, который включает в себя согласие добровольцев на основе полученной информации.
EE.2.2. Область применения инвазивного контролируемого исследования десатурации
Инвазивный метод &контролируемого исследования десатурации& применяют для валидации &точности измерения

пульсового оксиметра& в хорошо контролируемых, оптимальных лабораторных условиях на здоровых взрослых людях. Этот метод допускается использовать в специфически определенных неоптимальных условиях, таких как движение человека или состояния с низкой амплитудой импульса.
EE.2.3. Методы
EE.2.3.1. Популяция для исследования
Следует учитывать следующие параметры:
a) количество и характеристики субъектов
- В исследование следует включать достаточное количество субъектов для достижения статистической значимости, необходимой для демонстрации установленной &точности измерения

&.
- Субъекты должны быть здоровыми взрослыми добровольцами.
- Применительно к самому широкому применению для наибольшей группы &пациентов& физические характеристики субъектов должны отличаться друг от друга в наиболее возможной степени.
Примечание. @Эти характеристики субъектов могут быть ограничены по причинам безопасности или доступности, например только субъекты женского пола пригодны для валидации &датчика пульсового оксиметра& с педиатрическим пальцем из-за того, что только в этой группе встречается такой размер пальца@.
b) критерии для включения/исключения субъектов
- В протоколе исследования необходимо определять критерии включения/исключения.
- Субъекты участвуют в исследовании на добровольной основе.
- Все субъекты должны иметь хорошее здоровье на протяжении этого исследования. Если иное не указано в протоколе, могут применяться следующие значения: COHb < 3, MetHb < 2%, ctHb > 10 г/дл; эти значения не предназначены для всеобъемлющего определения "хорошего здоровья".
- Критерии включения должны удовлетворять цели исследования. (Примеры критериев, не предназначенных быть всеобъемлющими).
ПРИМЕР 1. @Субъекты как мужского, так и женского пола@.
ПРИМЕР 2. @Специфический размер пальца@.
ПРИМЕР 3. @Здоровые взрослые субъекты, способные переносить контролируемую гипоксемию до уровней, предусмотренных протоколом, с минимальным медицинским риском@.
- Примеры для исключения критериев (не предназначенных быть всеобъемлющими).
ПРИМЕР 1. @Курильщики или субъекты, которые подвергались воздействию высоких концентраций монооксида углерода, что приводит к повышенным концентрациям карбоксигемоглобина, если только в протоколе исследования не предусмотрено присутствие специфических дисгемоглобинов@.
ПРИМЕР 2. @Субъекты подвергаются воздействию условий, которые приводят к повышенным концентрациям метгемоглобина, если только в протоколе исследования не предусмотрено присутствие специфических дисгемоглобинов@.
ПРИМЕР 3. @Субъекты, которые будут подвергаться чрезмерному медицинскому риску, связанному с проведением любой процедуры, предусмотренной протоколом (например, артериальная катетеризация или гипоксия)@.
ПРИМЕР 4. @Возраст@.
c) критерии для прекращения исследования
- В протоколе исследования необходимо определять обстоятельства и/или реакцию субъекта на процедуру, которые дают основания для прекращения исследования.
ПРИМЕР. @Обнаруживается, что состояние субъекта соответствует одному из предписанных критериев исключения (например, повышенные концентрации метгемоглобина)@.
EE.2.3.2. Аппаратура
EE.2.3.2.1. &CO-оксиметр& для измерения &

&, а также процедуры и снабжение, рекомендуемые изготовителем &CO-оксиметра&.
EE.2.3.2.2. &Материалы для артериальной катетеризации и забора крови&.
EE.2.3.2.3. &Средства для регистрации значений

&, которые могут быть ручными или автоматическими.
EE.2.3.2.5. &Средства поставки смеси кислород-азот медицинской чистоты& с меняющимися уровнями

для субъектов (например, баллоны высокого давления с предварительно смешанной газовой смесью или устройства для смешивания газов).
EE.2.3.3. Методика
a) В протоколе исследования следует описывать специфические условия испытания (например, оптимальные лабораторные условия, движение субъекта, низкую амплитуду импульса и т.д.). Для улучшения циркуляции и повышения амплитуды импульса на месте установки &датчика пульсового оксиметра& допускается использовать грелки или другие нагреватели.
b) После установки катетера в артерию &датчики пульсового оксиметра&, подлежащие оценке, прикрепляются к пальцам, лбу, носу, ушам или другим поверхностям тела субъекта соответственно. Эти &датчики& допускается покрывать непрозрачным материалом для предотвращения оптической интерференции (свет от одного &датчика пульсового оксиметра& или любого другого источника, достигающий фотодетектора соседнего &датчика&).
Примечание. @Подробности подходящей техники и обслуживания артериальной линии не являются предметом рассмотрения настоящего стандарта. Обычно используют лучевую артерию@.
c) В протоколе следует устанавливать критерии и методы определения стабильности &

& на месте установки &датчика пульсового оксиметра&.
ПРИМЕР 1. @Устойчивое плато на &пульсовом оксиметре&, подлежащем испытанию@.
ПРИМЕР 2. @Устойчивое плато на эталонном &пульсовом оксиметре&@.
ПРИМЕР 3. @Измерение в реальном масштабе времени выдыхаемой дыхательной смеси@.
d) Устанавливают дыхательный контур на субъекте, чтобы он дышал смесью кислорода и азота. Во вдыхаемую газовую смесь допускается добавлять диоксид углерода для поддержания нормальных уровней диоксида углерода и предотвращения газового алкалоза в результате гипоксической гипервентиляции.
e) Содержание

понижается или повышается, чтобы привести субъекта приблизительно к заданным уровням. Десатурация до наименьшего уровня (например, 70% &

&) выполняется ступенчато, обнаруживая при этом несколько плато насыщения (периоды, при которых насыщение относительно устойчиво). Количество плато насыщения, окончательно принимаемое как обоснованное, обозначается буквой #M#.
g) В пределах каждого уровня плато насыщения отбирают #N# проб крови и пару с соответствующими значениями &

&.
ПРИМЕР. @Схема исследования представлена в таблице EE.1 и на
рисунке EE.1. В этом примере #M# = 5 и #N# = 5. Значения, приведенные в этом примере, не предназначены для ограничения количества плато или количества проб на плато@.
Таблица EE.1
Пример заданных плато и диапазонов
Диапазон &  & для плато, % | Заданное количество проб, шт. |
100 - 97 | 5 |
97 - 92 | 5 |
92 - 85 | 5 |
84 - 78 | 5 |
77 - 70 | 5 |
Общее | 25 |
Точками указаны значения &

& во время заборов крови.
Рисунок EE.1. Пример графика зависимости
десатурации от времени
h) Для каждого субъекта #M# x #N# заборов крови обеспечивают пары данных (&

,

&) для анализа [см.
EE.2.3.4, перечисление f)]. Эти пары данных либо собираются одновременно, либо подвергаются временной корреляции, чтобы соответствовать физиологическим задержкам и задержкам &пульсового оксиметра&.
Примечание. @Значения #M# и #N# могут меняться в зависимости от субъекта, давая возможность достигать и поддерживать заданные уровни плато@.
i) Когда насыщение крови эталонной системой стабилизируется на приемлемом уровне плато, можно начинать забор крови. После изменения уровня плато необходимо дать возможность показаниям стабилизироваться в течение, по меньшей мере, 30 с, чтобы позволить концентрации &

& достигнуть равновесия на месте установки &датчика пульсового оксиметра&.
j) Необходимо соблюдать осторожность при заборе, обращении и анализе крови, чтобы гарантировать &точность измерения

CO-оксиметром&. Процедуры забора, обращения и анализа крови описываются в другом документе
[9].
k) Для обеспечения независимости проб интервалы времени между окончанием одного периода забора и началом следующего должны быть достаточны, чтобы дать возможность для обновления времени усреднения монитора (например, >= времени усреднения &пульсового оксиметра&) и времени кругооборота крови на месте установки &датчика пульсового оксиметра&.
EE.2.3.4. Анализ данных
a) Парные экспериментальные точки &

& и &

& объединяют для всех субъектов и рассчитывают

по формуле, приведенной в
50.101.2.2.
b) Значения объединенных данных требуются для включения уровней

в пределах 3% концевых точек диапазона &точности измерения

&, например требования к &точности измерения

& от 70% до 100% должны включать пары данных со значениями &

&, которые охватывают 73% - 97% (см.
50.101.2.1).
c) В случае &мониторов пульсового оксиметра&, устанавливающих верхний предел для концентраций &

&, выводимых на экран дисплея (например, 99% или 100%), следует использовать средства, которые не дают смещать результат

.
ПРИМЕР 1. @Включают только те результаты наблюдений, где значения &

& ниже верхнего предела, выводимого на дисплей@.
ПРИМЕР 2. @Статистически понижают вес значений &

&, равный 100% (например, обрабатывают результаты 100% как цензурированные, как это делается при анализе надежных данных)@.
ПРИМЕР 3. @Формируют систему совокупности данных для регистрации значений &

& > 100%@.
Примечание. @

описывает объединенную систематическую погрешность и &прецизионность& показаний &

&, и из-за предельных значений, выводимых на дисплей, нарушаются допущения, касающиеся нормального распределения@.
d) Точки, объединенные со значениями &

&, находящимися за пределами заданного диапазона &точности измерения

&, исключаются, если только специально не определено в протоколе их включение (в пределах 3% концевых точек).
Примечание. @Если включение таких точек необязательно, они могут быть включены или исключены по мере необходимости@.
e) Пары данных можно отбросить, если при ретроспективном определении они были отобраны при условиях, которые находились вне сферы применения данного метода испытания, как определено в протоколе.
ПРИМЕР 1. @Неустойчивое плато &

&@.
ПРИМЕР 2. @Если были даны примечания о том, что при заборе крови встречались затруднения (чрезмерные пузырьки)@.
ПРИМЕР 3. @&CO-оксиметр& был подвергнут ненормальным условиям или сбойной ситуации@.
f) Необходимо, чтобы общее количество приемлемых пар данных, полученных при исследовании, было достаточным для статистического подтверждения заданной &точности измерения

&. Например, приблизительно 20 проб крови собираются, по меньшей мере, от каждого из 10 субъектов, давая в результате не менее 200 пар данных. Конкретное количество проб и субъектов может меняться, если это подтверждено надлежащим образом с использованием статистических методов.
g) Необходимо, чтобы распределение значений &

& в наборе объединенных данных было сделано со сравнимой плотностью на протяжении всего заявленного диапазона. Например, приблизительно 1/3 данных должна лежать в пределах 70% - 79%, 80% - 89% и 90% - 100% &

&.
EE.3. Методика неинвазивного лабораторного испытания на здоровых добровольцах
При неинвазивном испытании &точность измерения

пульсового оксиметра& оценивается путем сравнения показаний &

пульсового оксиметра& со значениями, полученными на &пульсовом оксиметре&, используемом в качестве вторичного эталона. Этот метод применим к здоровым добровольцам, которые дали согласие на индуцированную гипоксию как составную часть экспериментальной методики.
Поскольку калибровка &пульсового оксиметра&, используемого в качестве вторичного эталона, непосредственно прослеживается по значениям &CO-оксиметра&, этот &оксиметр& может использоваться как переходной эталон.
Метод неинвазивного лабораторного испытания на здоровых добровольцах следует протоколу, описанному в
EE.2 для инвазивных испытаний, со следующими исключениями:
a) эталонные значения представляют собой показания &

&, полученные на &пульсовом оксиметре&, используемом в качестве вторичного эталона, и заменяющие значения &

&, измеренные с помощью &CO-оксиметра&;
b) забор крови не проводят;
c) калибровку &пульсового оксиметра&, используемого в качестве вторичного эталона, и обработку данных анализа прослеживают с помощью &CO-оксиметра&;
d) необходимо, чтобы общее количество приемлемых пар данных, полученных при исследовании, было достаточным для статистического подтверждения заданной &точности измерения

&.
- Например, один из возможных профилей сбора данных следует схеме плато, описанной в
EE.2.3.3, перечисления e) -
h), т.е. приблизительно 20 циклов забора крови на протяжении этих плато выполняется по меньшей мере от каждого из 10 субъектов, давая в результате не менее 200 пар данных.
- Возможны и другие профили, т.е. непрерывный сбор данных во время постепенного изменения насыщения, независимо от плато, который определяет соотношение между парами проб и временем.
Необходимо, чтобы конкретное количество проб и субъектов, а также метод анализа были подтверждены статистическими методами;
f)

, определенное в
50.101.2.2, выражается относительно значений &CO-оксиметра&, используемого в качестве "золотого эталона", и включает ошибку &пульсового оксиметра&, используемого в качестве вторичного эталона.
EE.4. Методика испытания на пациентах
EE.4.1. Инвазивное испытание на пациентах
&Точность измерения

пульсового оксиметра& определяют путем сравнения показаний &

пульсового оксиметра& со значениями &

&, определенными с помощью &CO-оксиметра&.
В клинических условиях основной обязанностью является лечение &пациента&. Качество измерений &

&, проводимых на пациентах в этих условиях, при сравнении с измерениями, полученными с помощью &CO-оксиметра& в тех же условиях, может ухудшаться в результате того, что сбор данных не всегда можно хорошо контролировать. Оба измерения лучше контролировать в лабораторных условиях.
В клинической среде измерения на &пульсовом оксиметре& и &CO-оксиметре& часто подвергаются воздействию неоптимальных условий, и их надежное сравнение затруднено из-за наличия циркуляторной нестабильности или гемодинамики.
Следует учитывать клиническое состояние &пациента& при установке любого &датчика пульсового оксиметра& относительно места забора артериальной крови. Насколько это возможно, с помощью &датчика пульсового оксиметра& следует исследовать кровь, которая является частью того же самого циркуляторного кровотока, что и артерия, из которой берут кровь.
Для формирования достаточного количества пар данных для статистического подтверждения заданной &точности измерения

& на протяжении заданного диапазона может потребоваться большое количество &пациентов&.
Примечания
1. @Пробы крови могут отбирать либо как необходимую часть клинического лечения, либо единственно с целью исследования, как установлено в принятом протоколе исследования.
2. Использование одиночных проколов иглой как источника артериальной крови может привести к нестабильным значениям &

&@.
Необходимо, чтобы общее количество приемлемых пар данных, полученных при исследовании, было достаточным для статистического подтверждения заданной &точности измерения

&. Необходимо, чтобы распределение эталонных значений в наборе объединенных данных было сделано со сравнимой плотностью на протяжении всего заявленного диапазона. Необходимо, чтобы конкретное количество проб и субъектов, а также метод анализа были подтверждены статистическими методами.
EE.4.2. Неинвазивное испытание на пациентах
&Точность измерения

пульсового оксиметра& определяют путем сравнения показаний &

& испытуемого &пульсового оксиметра& со значениями, полученными на &пульсовом оксиметре&, используемом в качестве вторичного эталона, которые прослеживаются по значениям &

&, полученным на &CO-оксиметре&.
В клинических условиях основной обязанностью является лечение &пациента&. Качество измерений &

&, проводимых на &пациентах& в этих условиях, может ухудшаться в результате того, что сбор данных не всегда можно хорошо контролировать. Измерения &

& лучше контролировать в лабораторных условиях.
В клинической среде измерения на &пульсовом оксиметре& часто подвергаются воздействию неоптимальных условий, а их надежное сравнение затруднено из-за наличия циркуляторной нестабильности или гемодинамики.
Следует учитывать клиническое состояние &пациента& при установке &датчиков пульсового оксиметра&. Насколько это возможно, с помощью &датчика& испытуемого &пульсового оксиметра& и &датчика пульсового оксиметра&, используемого в качестве вторичного эталона, следует исследовать кровь, которая является частью того же самого регионарного кровообращения.
Для формирования достаточного количества пар данных для статистического подтверждения заданной &точности измерения

& на протяжении заданного диапазона может потребоваться большое количество &пациентов& или наблюдений.
Необходимо, чтобы общее количество приемлемых пар данных, полученных при исследовании, было достаточным для статистического подтверждения заданной &точности измерения

&. Необходимо, чтобы распределение эталонных значений в наборе объединенных данных было сделано со сравнимой плотностью на протяжении всего заявленного диапазона. Необходимо, чтобы конкретное количество проб и субъектов, а также метод анализа были подтверждены статистическими методами.
Значение

выражается относительно значений &CO-оксиметра&, используемого в качестве "золотого эталона", и включает ошибку &пульсового оксиметра&, используемого в качестве вторичного эталона.
(справочное)
ИМИТАТОРЫ, КАЛИБРАТОРЫ И ФУНКЦИОНАЛЬНЫЕ ТЕСТЕРЫ
ДЛЯ ПУЛЬСОВОГО ОКСИМЕТРА
FF.1. Общие положения
Комитет подтвердил, что &функциональные тестеры& в большинстве случаев стали доступными и неправильно воспринимаются некоторыми &пользователями& в качестве калибраторов. Это Приложение адресовано соответствующим пользователям каждого типа тестера.
Для испытания &пульсового оксиметра& можно использовать множество приборов. Некоторые из этих приборов поставляют &изготовители пульсового оксиметра&, некоторые - независимые изготовители тестеров, а некоторые - исследовательские лаборатории. Комитет был убежден, что полезно предложить стандартные термины, которые можно использовать при описании этих приборов для улучшения понимания &пользователями& возможностей конкретных тестеров. Необходимость этого обсуждения возрастает из-за наличия двух довольно необычных характеристик &пульсового оксиметра&:
- в отличие от многих других типов &медицинских электрических изделий пульсовой оксиметр& не предназначен для калибровки после его отгрузки с завода;
- в настоящее время не существует приемлемого метода для проверки правильной калибровки комбинации &датчика/монитора пульсового оксиметра&, кроме как проведения испытания на человеке.
В настоящее время все пригодные инструментальные средства для проверки &пульсового оксиметра& называют, по существу, &функциональными тестерами&. Требование
6.8.3 aa) 1) состоит в том, чтобы в инструкциях о порядке работы &пульсового оксиметра& было заявлено, что &функциональные тестеры& обычно не могут использоваться для измерения &точности

датчиков и мониторов пульсового оксиметра&. Цель этого Приложения состоит в разъяснении причин этого требования. Другой целью является разъяснение семантических вопросов. Такие термины, как имитатор, калибратор и тестер, имеют множество основных значений, что может привести к неправильному пониманию фактических возможностей конкретного прибора. Мы рекомендовали конкретным пользователям использовать термины "калибратор" и "функциональный тестер", если эти термины применяются в пульсовой оксиметрии. В этом Приложении объясняется различие между &функциональными тестерами& и другими типами контрольных приборов и предлагается правильная область применения &функциональных тестеров&. В нем также объясняется, почему неуместно использовать измерения, выполненные &функциональными тестерами&, для подтверждения заявлений о &точности измерения

датчиков& или &мониторов пульсового оксиметра& с учетом ограничительного исключения, допускаемого
6.8.3 aa) 2).
FF.2. Что такое имитатор?
В общепринятом употреблении имитатор является контрольным прибором, который заменяет &пациента&. Существуют, например, имитаторы инвазивного и неинвазивного кровяного давления, а также сигналов электрокардиографа, которые пригодны в качестве точных заменителей &пациента& в том смысле, что можно с уверенностью прогнозировать &аппаратуру&, которая демонстрирует ту же &точность& измерения на &пациентах&, которую она показывает при проверке с имитатором (с некоторой дополнительной заявленной составляющей неточности, обусловленной ошибками в имитаторе).
В настоящее время не существует &имитатора& для пульсовой оксиметрии, который достаточно хорошо воспроизводит оптические свойства &пациента&, чтобы гарантировать его использование для определения &точности измерения

& любой комбинации &мониторов/датчиков пульсового оксиметра&. Существуют различные имитаторы, полезные при разработке и испытании &пульсового оксиметра&, которые достаточны для конкретных технических целей.
FF.3. Что такое калибратор?
Калибратор в качестве общепринятого к использованию термина представляет собой контрольный прибор, который можно использовать для регулировки &аппаратуры&, чтобы она была точной. Обычно калибратор, используемый с &аппаратурой&, является имитатором высокой &точности&, а калибровка &аппаратуры& поддается регулировке. Несмотря на то, что второе условие может не выполняться для &пульсового оксиметра&, мы рекомендуем специальное использование термина "калибратор", что приводит к наименьшим недостаткам с точки зрения семантики. Калибратор для пульсовой оксиметрии (КПО) должен представлять собой имитатор высокой &точности&, способный производить сигналы или оптические характеристики, неотличимые от тех, которые поступают от &пациента& или объекта испытания. Комбинацию &пульсового оксиметра/датчика пульсового оксиметра& проверяют с помощью КПО с целью регулировки &аппаратуры& для повышения &точности& калибровки, что обычно невозможно для &пульсовых оксиметров&, изготовленных в настоящее время. КПО используют для измерения ошибки, с которой оксиметр измеряет насыщение кислородом на одном или нескольких имитаторах &пациентов&. Если обнаружено, что ошибка неприемлема, то обычно заменяют неисправные компоненты или модернизируют &аппаратуру&. Еще одно отличие КПО от других видов калибраторов состоит в трудности снижения составляющей погрешности КПО до уровня, ожидаемого для калибраторов. Как правило, предполагается, что калибратор будет давать &точность&, которая в 4 - 10 раз превышает точность аппаратуры, подлежащей калибровке. Задавая общую &точность измерения

пульсового оксиметра& в пределах +/- 2 точек насыщения, КПО должен предпочтительно определять точность любой комбинации &монитора/датчика пульсового оксиметра& с ошибкой, не превышающей 0,5 точки.
FF.4. Как калибруют пульсовой оксиметр в настоящее время?
&Пульсовой оксиметр& отличается от других &медицинских электрических изделий& тем, что в настоящее время было подтверждено, что отсутствуют симуляторы, которые пригодны для использования в качестве калибраторов &пульсового оксиметра&. Взаимодействие света с тканью человека, от которого зависит пульсовая оксиметрия, является сложным. В процессе реализации этого проекта была сделана, по меньшей мере, одна попытка получения калибратора КПО
[30] и
[31], достоверность которого проверена должным образом и который будет моделировать, по меньшей мере, некоторые из трудностей, связанных с оптическими измерениями. Но до настоящего времени ни одна из таких попыток не была успешно завершена.
Таким образом, основной приемлемый метод определения &точности измерения

пульсового оксиметра& состоит в сравнении его показаний с показаниями &CO-оксиметра& (который определяет путем оптических определений in vitro концентрацию некоторых форм гемоглобина в артериальной крови). См. также
EE.2.
&Пульсовые оксиметры&, изготовленные до настоящего времени, никогда не подвергаются калибровке таким же образом, каким могут быть откалиброваны инвазивные датчики кровяного давления. Могут выполняться различные ручные или автоматические регулировки &пульсовых оксиметров&, например для установки коэффициентов усиления или отмены смещения нуля усилителя, но все они настраиваются по обычным электронным вторичным эталонам (например, регулировка смещения будет выполняться для приведения к нулю показаний вольтметра). Основное соотношение между оптическими сигналами, полученными от &пациента&, и значением &

&, выведенным на дисплей, определяет &изготовитель& для конкретной комбинации &монитора& и &датчика пульсового оксиметра&. Это соотношение постоянно сохраняется в программно-аппаратных средствах и никогда не регулируется. В частности, многие современные &импульсные оксиметры& показывают значение, иногда называемое коэффициент модуляции или коэффициент соотношений, который может быть приближенно выражен как:

где

- максимальный (пульсирующий) сигнал с длиной волны в красной области спектра;

- максимальный (пульсирующий) сигнал с длиной волны в инфракрасной области спектра;

- минимальный (непульсирующий) сигнал с длиной волны в красной области спектра;

- минимальный (непульсирующий) сигнал с длиной волны в инфракрасной области спектра.
Примечание. @Эта приближенная формула приводится только как конкретный пример для обоснования обсуждения следующей калибровочной кривой; точные оксиметры рассчитываются по множеству математических подходов, каждый из которых требует определенного вида эмпирической калибровочной кривой@.
Эмпирически определенная калибровочная кривая, как показана на
рисунке FF.1, дает возможность оксиметру выводить на дисплей значение &

& по наблюдаемому значению R. Процедура определения калибровочной кривой называется &контролируемым исследованием десатурации&. Обычно она включает обеспечение объектов испытания в виде здоровых добровольцев дыхательными смесями с пониженным содержанием кислорода. Пробы артериальной крови забирают и измеряют с помощью &CO-оксиметра&, а показания &CO-оксиметра& наносят на график относительно значений R, наблюдаемых в течение периода времени, когда происходит забор крови. Этот процесс следует осуществлять с осторожностью, чтобы избежать множества возможных ошибок. &Контролируемое исследование десатурации& также можно выполнять путем сравнения показаний &пульсового оксиметра&, подлежащего проверке, с показаниями &пульсового оксиметра&, используемого в качестве "вторичного эталона", который был предварительно откалиброван по &CO-оксиметру&. Такой подход устраняет необходимость забора артериальной крови, но тем не менее всегда требует использования в качестве объектов испытания людей.

Коэффициент модуляции в красной/инфракрасной области
спектра R как функция артериального насыщения кислородом.
Рисунок FF.1. Пример калибровочной кривой для
пульсового оксиметра
На кривой показана зависимость наблюдаемого значения R от различных значений &

&, определенных с помощью &CO-оксиметра&. При установке программного обеспечения в &пульсовой оксиметр& кривая будет устанавливать отображаемое на дисплее значение &

&, заданное наблюдаемым значением R.
FF.5. Что такое функциональный тестер?
В настоящем стандарте каждый продаваемый &пульсовой оксиметр& является &функциональным тестером. Функциональные тестеры& имеют следующие две принципиальные характеристики:
- &функциональный тестер& позволяет &пользователю& определить, функционирует ли &монитор пульсового оксиметра& так, как его спроектировал для работы &изготовитель& без определения каким-либо способом правильности конструкции;
- &функциональный тестер& имеет ограниченную способность для определения того, функционирует ли любой &датчик пульсового оксиметра& так, как его спроектировал для работы &изготовитель& (подробнее об ограничениях будет сказано ниже), и не может никогда определить правильность конструкции.
&Функциональный тестер& представляет собой &монитор пульсового оксиметра& с сигналом, имеющим прогнозируемое значение R с тем, чтобы &пользователь& мог наблюдать результирующее отображаемое на дисплее значение &

& и оценивать его при сравнении с математическими ожиданиями для той же конкретной модели &монитора пульсового оксиметра&. Если &изготовителю& тестера известно, какая калибровочная кривая была разработана для конкретного &монитора пульсового оксиметра&, то он может получить точное значение R, которое должно привести к конкретному значению &

&, например 85%. Затем &пульсовой оксиметр& можно оценивать на его способность воспроизводить калибровочную кривую, которая была разработана для него. Любая ошибка, превышающая требования к суммарной ошибке &монитора пульсового оксиметра& и тестера, предполагает, что либо &монитор пульсового оксиметра&, либо тестер требует ремонта.
Точное значение &

& на &функциональном тестере& никогда не подразумевает, что &пульсовой оксиметр& будет точным при испытании на людях. Все, что подлежит оценке тестером, - это способность &монитора пульсового оксиметра& воспроизводить калибровочную кривую, которую &изготовитель& разработал для него; эта калибровочная кривая может быть или может не быть точной. Чтобы акцентировать внимание на этой точке зрения, приведены следующие подробные замечания:
- некоторые &функциональные тестеры& проектируются для электрического подсоединения к входу &пульсового оксиметра& вместо &датчика пульсового оксиметра&. Понятно, что в случае такой конструкции тестера оптические свойства &датчика пульсового оксиметра&, которые имели существенное значение при калибровке, не могут быть оценены (калибровка всегда характеризует комбинацию &монитора/датчика пульсового оксиметра&). Исключительно электронный характер тестеров этого семейства не является настолько большой помехой, как четкое принятие ограничений для &функциональных тестеров&, которые обладают исключительно ограниченной способностью для проверки оптических свойств &пульсового оксиметра&;
- некоторые &функциональные тестеры& являются электронными модуляторами, имеющими оптическое сопряжение с &пульсовым оксиметром: датчик пульсового оксиметра& накладывается на оптико-механический "палец" определенного вида, и модулированные оптические сигналы поступают в детектор &датчика пульсового оксиметра&. Несмотря на то, что такие тестеры могут дать такой же эффект, что и подлежащий оценке &датчик пульсового оксиметра&, в действительности обычно проверяют только самые основные свойства &датчика пульсового оксиметра&, а именно: что его источники света и детектор активны и отсутствуют приводящие к увечьям короткие замыкания или разомкнутые цепи. Такое же определение может быть выполнено, если накладывать &датчик пульсового оксиметра& на собственный палец &пользователя& и наблюдать за отображением на дисплее &пульсового оксиметра& некоторого значения &

. Функциональный тестер& этого типа просто использует &датчик пульсового оксиметра& как инструмент для доставки требуемого испытательного сигнала в электронную часть &пульсового оксиметра&;
- некоторые марки &функциональных тестеров& имеют оптико-механический "палец", включающий детектор, который захватывает свет от излучателя &датчика пульсового оксиметра&, и светоизлучающий диод (LED), который доставляет модулированный свет в детектор &датчика пульсового оксиметра& (см.
рисунок FF.2). Это один из примеров тестера с оптическим сопряжением, описанный выше. Если светодиоды (LED) &датчика пульсового оксиметра& для красной области спектра имели неправильную длину волны при использовании калибровочной кривой, то это может привести к тому, что оксиметр будет неточным при фактическом применении на &пациентах. Функциональный тестер& будет совершенно не подозревать об этой ошибке, как и &пульсовой оксиметр&, подлежащий испытанию, при этом неточный &пульсовой оксиметр& может казаться вполне точным. Некоторые продавцы оксиметров поставляют &датчики пульсового оксиметра&, работающие на различных длинах волн; в зависимости от используемой длины волны рекомендуется выбирать для оксиметра правильную калибровочную кривую из множества пригодных кривых. Инструкция по выбору правильной кривой задается для оксиметра посредством кодирующего устройства, например резистора, которое находится в &датчике пульсового оксиметра&. Важное требование к контролю качества новых или &подвергнутых повторной обработке датчиков пульсового оксиметра& состоит в близком согласовании длины волны излучателя (и распределения длин волн) с калибровочным кодом в &датчике пульсового оксиметра&. Существующие в настоящее время &функциональные тестеры& не могут проверять точность значения средней длины волны;
- некоторые &функциональные тестеры& обеспечивают всесторонние испытания на все возможные короткие замыкания и обрывы цепи в &датчике пульсового оксиметра&. Хотя эти испытания являются полноценными, электрическая целостность является необходимым, но недостаточным условием &точности&;
- в &датчике пульсового оксиметра& цвет пластмассовой прокладки или бандажа, который касается кожи пациента, оказывает важное влияние на калибровку &пульсового оксиметра&. Если бандаж очень сильно окрашен, это может оказывать влияние на &точность

датчика& при фактическом применении. Описанные выше типы &функциональных тестеров& будут нечувствительными к присутствию красителя. Эта проблема "цвета бандажа" фактически затрагивает большой круг вопросов. На &точность измерения

пульсового оксиметра& оказывает сильное влияние взаимодействие оптических свойств как ткани &пациента&, так и каждой части окружающей оптической среды. &Функциональные тестеры& нечувствительны к таким воздействиям. Правильный калибратор для пульсовой оксиметрии, при его наличии, будет требовать точного воспроизведения этого сложного взаимодействия. Следствием этого является то, что документация, сопровождающая любой калибратор (КПО), поступающий в конечном счете в продажу, должна включать обсуждение того, какие физические и физиологические аспекты характеристик &пульсового оксиметра& дублируются, а какие нет.

1 - испытательный палец; 2 - сенсор; 3 - два
светодиода (LED); 4 - фотодиод; 5 - светодиод
(LED); 6 - фотодиод
Рисунок FF.2. Сопряжение функционального тестера,
использующего фотодиод и LED для взаимодействия
с датчиком пульсового оксиметра
Один класс &функциональных тестеров& имеет собственную чувствительность к распределению длин волн излучателя &пульсового оксиметра&. Такие тестеры работают путем оптической модуляции света, испускаемого собственным излучателем &датчика пульсового оксиметра&, и проведения модулированного света к детектору &датчика пульсового оксиметра&. Одно из семейств таких тестеров работает путем регулировки количества раствора красителя, которое вдавливается между излучателем &датчика пульсового оксиметра& и детектором (см.
рисунок FF.3). В другом семействе тестеров используется жидкий кристалл для модуляции света на пути от излучателя до детектора (см.
рисунок FF.4). Такие тестеры могут разрабатываться для того, чтобы вызывать модуляцию в зависимости от длины волны, почти соответствующую зависимости оптического поглощения гемоглобина на этой длине волны. По существу они также могут проектироваться для приближения важных воздействий рассеяния света тканью человека на калибровку оксиметра (хотя мы знаем, что до сих пор не существует опубликованного доказательства, что это было сделано). В случае таких тестеров для приближения состояния правильных калибраторов (КПО) они также требуют воспроизведения оптических взаимодействий ткани человека с окрашенными материалами, которые окружают излучатель и детектор. При современном уровне развития мы полагаем, что этот класс &функциональных тестеров& не следует относить к тестерам, более близко определяющим истинную &точность измерения

&, чем другие классы &функциональных тестеров&. Их можно сравнивать с другими тестерами на основании обычного сравнения испытательного &оборудования& - компромиссного соотношения по цене, удобству, долговечности, гибкости в применении и воспроизводимости результатов.
Некоторые продавцы новых или &подвергнутых повторной обработке датчиков пульсового оксиметра& заявляли, что их &датчики& обычно были точными при испытании с &функциональными тестерами&. Такое доказательство до сих пор было недостаточным для демонстрации правильного функционирования &пульсового оксиметра&, заданного ограничениями &функциональных тестеров&.
1 - полость со смесью красителей; 2 - оптическая ячейка
с переменным зазором; 3 - два светодиода (LED);
4 - фотодиод; 5 - сенсор
Примечание. При сдавливании полости количество красителя, которое размещается между пластинами оптической ячейки, меняется.
Рисунок FF.3. Сопряжение функционального тестера,
использующего смесь красителей
1 - испытательный палец; 2 - жидкокристаллический
модулятор; 3 - два светодиода (LED);
4 - фотодиод; 5 - сенсор
Рисунок FF.4. Сопряжение функционального тестера,
использующего жидкокристаллический модулятор
FF.6. Вне области применения функциональных тестеров
Как мы узнаем, что был разработан правильный калибратор &пульсового оксиметра&? Такое устройство может быть идентифицировано по способу, который используется им, и по типу опубликованных экспериментальных результатов, которые обосновывают его возможности. Его характеристики должны быть следующими:
- &датчик пульсового оксиметра& прикладывают к той части КПО, которая почти соответствует динамическим оптическим характеристикам части тела человека, для которой разработан &датчик&. При оптическом моделировании следует учитывать взаимодействие, происходящее между материалами &датчика пульсового оксиметра& и тканью человека, при котором свет неоднократно покидает и повторно входит в ткань, отражаясь от материалов &датчика пульсового оксиметра&;
- КПО может быть установлен для имитации оптических характеристик моделируемой части тела &пациента& с выбранным насыщением кислородом &

&, что приводит к воспроизведению на дисплее &пульсового оксиметра& показания &

&;
- достоверность при экспериментальной проверке будет подтверждена тогда, когда показание, индуцированное калибратором КПО в &пульсовом оксиметре&, соответствует показанию заявленной имитируемой &точности измерения

&, которое те же самые &монитор& и &датчик пульсового оксиметра& будут давать на &пациенте&. Основной эксперимент по проверке достоверности, который необходимо выполнять многократно и при различных условиях, включает следующие операции:
1) прикладывают &датчик пульсового оксиметра& к человеку, значения &

& которого определяют путем измерения проб артериальной крови в оксиметре с несколькими длинами волн (например, &CO-оксиметр&);
2) наблюдают значение &

&, отображаемое на дисплее &пульсового оксиметра&. Неважно, является ли это число точным или нет;
3) прикладывают тот же оксиметр и &датчик пульсового оксиметра& к калибратору КПО, который отрегулирован для имитации того же значения &

&, которое было показано на человеке;
4) наблюдают значение &

&, отображаемое на дисплее &пульсового оксиметра&.
5) рассчитывают ошибку КПО, как разность между двумя значениями &

&.
- в проверку достоверности рабочих характеристик КПО следует включать проведение испытания при следующих условиях:
1) использование множества различных марок &пульсовых оксиметров&, имеющих излучатели с широким разнообразием распределения длин волн;
2) использование различных &датчиков пульсовых оксиметров&, разработанных для наложения на выбранную часть тела человека, включая широкое разнообразие форм и цвета материалов. При этом испытании предпочтительно следует использовать "провоцирующие" &датчики пульсовых оксиметров&, о которых известно, что они очень неточны при применении на &пациентах&. Необходимо, чтобы КПО вызвал демонстрацию &оксиметром& точно такой же неточности, что и на реальном &пациенте&;
3) при этом испытании предпочтительно следует использовать конкретный класс "провоцирующих" &датчиков пульсовых оксиметров&, о которых известно, что они дают очень разные показания &

& при испытании на различных добровольцах с одним и тем же значением &

&. В качестве примера такого &датчика пульсового оксиметра& на
рисунке FF.5 приведен спектр отражения конкретного материала синего бандажа, который, как было показано, дает экстремально изменяемую характеристику от одного &пациента& к другому. Этот материал не используется в серийных &датчиках пульсовых оксиметров&; он был специально выбран, чтобы продемонстрировать изменяемую калибровку, которая будет происходить при сравнении со стандартным &датчиком пульсового оксиметра&. На
рисунке FF.6 показана эта экстремально изменяемая калибровка при сравнении со стандартным &датчиком пульсового оксиметра&. Этот &датчик пульсового оксиметра& не может быть точным для всех &пациентов&, при этом неважно, какая калибровочная кривая была использована в &оксиметре&. Если проверка достоверности КПО не была выполнена при испытании с такими &датчиками пульсового оксиметра& (это подразумевает, что конкретная комбинация &датчик пульсового оксиметра/пульсовой оксиметр& может оказаться точной при испытании на калибраторе КПО, но неточной при испытании на многих &пациентах&), это ограничение следует четко отражать в сопроводительной документации КПО, а &пользователь& КПО должен быть информирован о важности проведения испытания &пульсового оксиметра& на множестве добровольцев. Для достоверного испытания поведения этих провоцирующих &датчиков пульсовых оксиметров& с изменяемой калибровкой калибратор КПО, по-видимому, должен быть отрегулирован для имитации одного из нескольких различных людей.
Многих &пациентов& или добровольцев подвергали испытанию для каждого уровня &

&, для которого установлено использование КПО. Необходимо специально выделить проведение испытания для самых низких уровней &

&, для которых установлено использование КПО, так как ошибки &пульсового оксиметра& имеют тенденцию к увеличению при низком насыщении.
Требование к &точности& КПО не включает любую составляющую неточности &пульсового оксиметра&, подвергнутого испытанию (сравни это требование с требованием к типичному &функциональному тестеру&, таким как +/- 1 точка &

& +/- заявленная &точность измерения

оксиметра&). КПО предназначен для определения &точности измерения

пульсового оксиметра& без проведения непосредственного испытания на человеке. В этом смысле КПО будет представлять собой вторичный эталон при проведении испытания на &контролируемое исследование десатурации& на людях, сохраняя роль "золотого стандарта". См. также
EE.3.
A - спектральная поглощающая способность, измеренная
при отражении;

- оптическая длина волны
Рисунок FF.5. Спектральная поглощающая способность
бандажа синего цвета (измеренная при отражении),
используемого при специальном испытании датчика
пульсового оксиметра с высокой изменчивостью
калибровки от пациента к пациенту
X - эталонный

, %; Y - синий испытательный
датчик

, %
a) Сравнение синего испытательного датчика со стандартным серийным датчиком
Синий испытательный &датчик

& (левый указательный палец) как функция эталонного &датчика

& (левый мизинец). Отдельные линии регрессии показаны для каждого из пяти объектов испытания.
X - эталонный

, %; Y - испытательный

, %
b) Сравнение одного стандартного серийного датчика с другим
Испытательный &датчик

& (левый указательный палец) как функция эталонного &датчика

& (левый мизинец). Отдельные линии регрессии показаны для каждого из пяти объектов испытания.
Рисунок FF.6. Калибровка датчика пульсового оксиметра
с высокой изменчивостью при контролируемом
исследовании десатурации на пяти объектах испытаний
(справочное)
ПОНЯТИЯ, КАСАЮЩИЕСЯ ВРЕМЕНИ ОТКЛИКА АППАРАТУРЫ
GG.1. Общие положения
Может быть выбрано оптимальное соотношение между точным прослеживанием изменений при насыщении и минимизацией воздействия шума. Обычно более быстрое время отклика может послужить причиной того, что &пульсовой оксиметр& будет более уязвим к шуму, но и может предоставить ему возможность более тесно следовать реальному насыщению. Отклик некоторых приборов можно оптимизировать для конкретных клинических ситуаций. Существует два главных понятия для описания отклика &пульсового оксиметра&. Одно - это #точность# при прослеживании изменений насыщения. Другое - #задержка# между временем, когда событие происходит, и временем, когда дисплей или генерация &сигналов тревоги& указывают на это событие. На "точность" и "задержку" оказывают влияние конструкция &пульсового оксиметра& и &параметры, устанавливаемые оператором&. Конструкция &пульсового оксиметра& может предусматривать время обработки и формирования сигнала, а также задержку передачи данных. С помощью регулируемых средств управления можно устанавливать, например, время усреднения и &задержку генерации сигнала опасности&.
GG.2. Точность
Точность можно представить графически, указывая диапазон откликов &пульсового оксиметра& в зависимости от изменения насыщения. На
рисунке GG.1 показан моделируемый отклик &пульсового оксиметра& в зависимости от изменения насыщения. На
рисунке GG.2 показано моделируемое воздействие различных значений времени усреднения на отклик &пульсового оксиметра&.
1 - &

&; 2 - &

&, отображаемое на дисплее;

- отклонение насыщения;

- время задержки;
X - время, в секундах; Y - насыщение, %
Рисунок GG.1. Иллюстрация точности пульсового оксиметра
при прослеживании изменений насыщения
1 - &

&; 2 - &

&, отображаемое на дисплее, более быстрое
усреднение; 3 - &

&, отображаемое на дисплее, нормальное
усреднение; 4 - &

&, отображаемое на дисплее, более
медленное усреднение; X - время, с; Y - насыщение, %
Рисунок GG.2. Иллюстрация влияния различных значений
времени усреднения на точность

и

на
рисунке GG.1 не имеют отношения к какому-либо конкретному требованию настоящего стандарта. Они иллюстрируются здесь как понятия, которые могут представлять интерес, так как они являются вероятными областями &точности измерения

&, на которые могут оказывать влияние кривые отклика при различных способах усреднения или фильтрования. Интервал

представляет собой отставание по времени до того, как изменения в насыщении будут отражены в преобразованном значении &

&. Это отставание может быть вызвано, например, временем, необходимым для сбора данных, формирования сигнала и алгоритма обработки. Отклонение

иллюстрирует отсутствие точности в воспроизведении степени изменения при неустановившейся десатурации. На отклонение

обычно оказывает влияние, например, &период& усреднения сигнала и/или &обновления данных&.
В ссылке
[40] хорошо иллюстрируется значение ошибок (

и

), вносимых при обработке параметра &

&, а также генерации &сигналов опасности&, которые покупателю необходимо принимать во внимание при применении в своей клинической практике (см. 6.8.2.5).
GG.3. Влияние задержки
Задержку можно представить графически, например, показывая отклик &пульсового оксиметра& на
рисунке GG.3. Время от

до

представляет собой &задержку опасной ситуации&, а время от

до

- &задержку генерации сигнала опасности&.
Возможная процедура измерения суммы &задержки опасной ситуации& и &задержки генерации сигнала опасности пульсового оксиметра& описаны ниже:
- имитатор устанавливают на начальный уровень насыщения, например 98%;
- этот уровень следует имитировать в течение периода времени, достаточного для стабилизации &пульсового оксиметра&, подлежащего испытанию (DUT);
- затем имитатор понижает уровень насыщения в соответствии с линейно изменяющейся функцией с предопределенным наклоном (или в соответствии с какой-либо другой заранее определенной функцией) до заданного окончательного значения (например, на 5% ниже &предела сигнализации&);
- сумму &задержки опасной ситуации& и &задержки генерации сигнала опасности& определяют как время от прохождения порога &предела сигнализации& при имитируемом насыщении (например, 85% или &предел сигнализации& при низком насыщении по умолчанию) до времени генерации &системой аварийной сигнализации& соответствующего &сигнала опасности&.
На
рисунке GG.3 показаны составляющие &задержки генерации сигнала опасности&.
1 - &

&; 2 - предел сигнализации; 3 - &

&, отображаемое
на дисплее; 4 - генерация &сигнала опасности&;
X - время, с; Y - насыщение, %
Рисунок GG.3. Графическое представление составляющих
задержки системы аварийной сигнализации
Задержка в результате обработки и усреднения данных &пульсовым оксиметром& представляет собой интервал

-

, &задержку опасной ситуации&. Интервал

-

, &задержка генерации сигнала опасности&, приписывается к стратегии &системы аварийной сигнализации& и времени передачи информации к устройству генерации &сигнала опасности& или &распределенной системе аварийной сигнализации& (например, монитору &пациента& или центральной станции). Таким образом, общее время задержки &системы аварийной сигнализации& представляет собой интервал

-

.
На
рисунке GG.4 представлен наклон при более быстрой десатурации и более реалистичный сигнал насыщения с шумами. Кривые A и B преуменьшают глубину снижения насыщения. Кривая C для более быстрого усреднения может пересечь &предел сигнализации& при низком насыщении быстрее, чем кривая B для нормального усреднения или кривая A для более медленного насыщения, которая может не вызывать &опасной ситуации& вовсе. Преимущество нормального и более медленного усреднения заключается в сглаживании другого сигнала с шумами и снижении количества &тревожных ситуаций с ошибочными результатами&.
1 - непреобразованное &

&; 2 - &

&, отображаемое на дисплее,
более быстрое усреднение (C); 3 - &

&, отображаемое
на дисплее, нормальное усреднение (B); 4 - &

&;
отображаемое на дисплее, более медленное усреднение (A);
5 - &предел сигнализации&; X - время, с; Y - насыщение, %
Рисунок GG.4. Иллюстрация влияния различных значений
времени усреднения на более быстрый сигнал о десатурации,
сопровождаемый шумами
(справочное)
ССЫЛКА НА СУЩЕСТВЕННЫЕ ПРИНЦИПЫ
Настоящий стандарт был разработан для обоснования существенных принципов безопасности и работоспособности &пульсового оксиметра& как медицинского прибора, соответствующего техническому отчету ИСО/TR 16142. Предполагается, что настоящий стандарт приемлем для целей оценки соответствия.
Согласованность настоящего стандарта обеспечивается с помощью одного средства подтверждения соответствия специфическим существенным принципам ИСО/TR 16142. Возможны и другие средства.
Таблица HH.1
Соответствие между настоящим стандартом
и существенными принципами
Раздел/подраздел настоящего стандарта | Соответствующий существенный принцип | Комментарий |
Все | 1 | |
| 2 | |
| 3 | |
| 4 | |
| 5 | |
| 6 | |
| 7.1 | |
| 7.2 | |
| 7.3 | |
- | 7.4 | Не применимо |
| 7.5 | |
| 7.6 | |
| 8.1 | |
- | 8.1.1 | Не применимо |
- | 8.1.2 | Не применимо |
| 8.2 | |
| 8.3 | |
| 8.4 | |
- | 8.5 | Не применимо |
| 8.6 | |
| 9.1 | |
| 9.2 | |
| 9.3 | |
| 10.1 | |
| 10.2 | |
| 10.3 | |
| 11.1.1 | |
| 11.2.1 | |
| 11.2.2 | |
| 11.3.1 | |
| 11.4.1 | |
- | 11.5.1 | Не применимо |
- | 11.5.2 | Не применимо |
- | 11.5.3 | Не применимо |
| 12.1 | |
| 12.2 | |
| 12.3 | |
| 12.4 | |
| 12.5 | |
| 12.6 | |
| 12.7.1 | |
- | 12.7.2 | Не применимо |
- | 12.7.3 | Не применимо |
| 12.7.4 | |
| 12.7.5 | |
- | 12.8.1 | Не применимо |
| 12.8.2 | |
| 12.8.3 | |
| 13.1 | |
| 14.1 | |
(справочное)
Воздействие на окружающую среду, оказываемое &пульсовым оксиметром& при измерении &

&, ограничивается, главным образом, следующими случаями:
a) воздействием на локальную окружающую среду при &нормальной эксплуатации&;
b) удалением биологических жидкостей при &контролируемых исследованиях десатурации&;
c) использованием, очисткой и удалением расходуемых материалов при проведении испытания и &нормальной эксплуатации&;
d) накоплением отходов в конце жизненного цикла.
Выдвигая на первый план важность снижения нагрузки на окружающую среду, в настоящем стандарте рассматриваются требования или рекомендации к уменьшению воздействия на окружающую среду этих экологических аспектов на различных стадиях жизненного цикла &пульсового оксиметра&.
См. таблицу II.1, отображающую жизненный цикл &пульсового оксиметра& относительно экологических аспектов.
Таблица II.1
Экологические аспекты, рассматриваемые
в настоящем стандарте
Экологические аспекты (входные и выходные данные) | Жизненный цикл изделия, рассматриваемый в разделе/подразделе |
Производство и подготовка производства. Стадия A | Распределение (включая упаковку). Стадия B | Использование. Стадия C | Конец жизненного цикла. Стадия D |
1. Использование ресурса | | | | |
2. Энергопотребление | | | | - |
|
3. Выделение в воздух | | | | |
|
|
|
|
|
|
|
|
|
|
4. Выделение в воду | | | | |
|
5. Отходы | | | | |
| |
|
|
|
6. Шум | - | - | | - |
|
|
7. Миграция опасных веществ | | - | | |
|
|
|
|
|
|
|
8. Воздействия на почву | - | - | - | |
|
9. Риски для окружающей среды в результате аварий или неправильного применения | | - | | |
|
|
|
|
|
|
(справочное)
АЛФАВИТНЫЙ УКАЗАТЕЛЬ ТЕРМИНОВ
&аппаратура или система жизнеобеспечения& | МЭК 60601-1-2:2001, 2.219 |
&внутренний источник электрического питания& | МЭК 60601-1:1988, 2.1.9 |
&датчик пульсового оксиметра& | |
&демонстрационный режим& | |
&диапазон, воспроизводимый на экране дисплея& | |
&задержка генерации сигнала опасности& | МЭК 60601-1-8:2003, 2.210 |
&задержка опасной ситуации& | МЭК 60601-1-8:2003, 2.202 |
&заявленный диапазон& | |
&изготовитель& | |
&изделие& | МЭК 60601-1:1988, 2.2.11 (см. также 2.2.15) |
&изделие медицинское электрическое& | МЭК 60601-1:1988, 2.2.15(см. также 2.2.11) |
&изделие передвижное& | МЭК 60601-1:1988, 2.2.16 |
&изделие переносное& | МЭК 60601-1:1988, 2.2.18 |
&изделие ручное& | МЭК 60601-1:1988, 2.2.13 |
&изделие стационарное& | МЭК 60601-1:1988, 2.2.21 |
&информационный сигнал& | МЭК 60601-1-8:2003, 2.223 |
&кабель удлинительный для датчика& | |
&контролируемое исследование десатурации& | |
&контрольный уровень защищенности& | МЭК 60601-1-2:2001, 2.216 |
&коэффициент R& | |
&локальная систематическая погрешность& | |
&медицинская электрическая система& | МЭК 60601-1-1:2000, 2.201 |
&монитор пульсового оксиметра& | |
&неисправность датчика пульсового оксиметра& | |
&низкий приоритет& | МЭК 60601-1-8:2003, 2.227 |
&нормальное состояние& | МЭК 60601-1:1988, 2.10.7 |
&нормированное& | |
&общая концентрация гемоглобина& | |
&опасная ситуация& | МЭК 60601-1-8:2003, 2.201 |
&опасность& | МЭК 60601-1:1988, 2.12.18 |
&оператор& | МЭК 60601-1:1988, 2.12.17 |
&параметры, устанавливаемые оператором& | |
&пациент& | МЭК 60601-1:1988, 2.12.4 |
&период обновления данных& | |
&питающая сеть& | МЭК 60601-1:1988, 2.12.10 |
&повторная обработка& | |
&пользователь& | МЭК 60601-1:1988, 2.12.13 |
&порт вывода сигнала& | МЭК 60601-1:1988, 2.1.19 |
&предварительные установки системы сигнализации по умолчанию& | МЭК 60601-1-8:2003, 2.216 |
&пределы сигнализации& | МЭК 60601-1-8:2003, 2.203 |
&предустановки сигнализации& | МЭК 60601-1-8:2003, 2.206 |
&прецизионность& | |
&приостановлена генерация звукового сигнала опасности& | МЭК 60601-1-8:2003, 2.213 |
&пульсовой оксиметр& | |
&рабочая часть& | МЭК 60601-1:1988, 2.1.26 |
&рабочая часть типа BF& | МЭК 60601-1:1988, 2.1.5 |
&рабочая часть типа CF& | МЭК 60601-1:1988, 2.1.25 |
&распределенная система сигнализации& | МЭК 60601-1-8:2003, 2.217 |
&сигнализация приостановлена& | МЭК 60601-1-8:2003, 2.205 |
&сигнал опасности& | МЭК 60601-1-8:2003, 2.209 |
&система сигнализации& | МЭК 60601-1-8:2003, 2.211 |
&среда, окружающая пациента& | МЭК 60601-1-1:2000, 2.204 |
&средний приоритет& | МЭК 60601-1-8:2003, 2.228 |
&средняя систематическая погрешность& | |
&техническая опасная ситуация& | МЭК 60601-1-8:2003, 2.236 |
&ток утечки на пациента& | МЭК 60601-1:1988, 2.5.6 |
&точность& | |
&условие единичного нарушения& | МЭК 60601-1:1988, 2.10.11 |
&установки сигнализации& | МЭК 60601-1-8:2003, 2.208 |
&физиологическая опасная ситуация& | МЭК 60601-1-8:2003, 2.231 |
&фракционный оксигемоглобин& | |
&функциональное насыщение кислородом& | |
&функциональный тестер& | |
&эксплуатационные документы& | МЭК 60601-1:1988, 2.1.4 |
&  & | |
&  & | |
&CO-оксиметр& | |
(справочное)
СВЕДЕНИЯ О СООТВЕТСТВИИ НАЦИОНАЛЬНЫХ СТАНДАРТОВ
ССЫЛОЧНЫМ МЕЖДУНАРОДНЫМ СТАНДАРТАМ
Таблица KK.1
Обозначение ссылочного международного стандарта | Обозначение и наименование соответствующего национального стандарта |
МЭК 60601-1-1988 | ГОСТ Р 50267.0-92 "Изделия медицинские электрические. Часть 1. Общие требования безопасности" (IDT) |
МЭК 60601-1-2:1993 | ГОСТ Р 50267.0.2-95 "Изделия медицинские электрические. Часть 1. Общие требования безопасности. 2. Электромагнитная совместимость. Требования и методы испытаний" (MOD) |
МЭК 60601-1-4:1996 | ГОСТ Р 50267.0.4-99 "Изделия медицинские электрические. Часть 1. Общие требования безопасности. 4. Дополнительный стандарт. Программируемые медицинские электрические системы" (IDT) |
МЭК 60601-1-6:2004 | ГОСТ Р МЭК 60601-1-6-2005 "Изделия медицинские электрические. Часть 1-6. Общие требования безопасности. Дополнительный стандарт. Эксплуатационная пригодность" (IDT) |
ИСО 15223:2000 | ГОСТ Р ИСО 15223-2002 "Медицинские изделия. Символы, применяемые при маркировании на медицинских изделиях, этикетках и в сопроводительной документации" (IDT) |
ИСО 7000/МЭК 60417 | ГОСТ 28312-89 "Аппаратура радиоэлектронная профессиональная. Условные графические обозначения" (NEQ) |
МЭК 60068-2-27:1987 | ГОСТ 11478-88 "Аппаратура радиоэлектронная бытовая. Нормы и методы испытаний на воздействие внешних механических и климатических факторов" (NEQ) |
ГОСТ 28213-89 "Основные методы испытаний на воздействие внешних факторов. Часть 2. Испытания. Испытание Ea и руководство: Одиночный удар" (NEQ) |
МЭК 60068-2-32:1975 | ГОСТ 11478-88 "Аппаратура радиоэлектронная бытовая. Нормы и методы испытаний на воздействие внешних механических и климатических факторов" (NEQ) |
ГОСТ 28218-89 "Основные методы испытаний на воздействие внешних факторов. Часть 2. Испытания. Испытание Ed: Свободное падение" (NEQ) |
ИСО 14155-1:2003 | |
ИСО 14155-2:2003 | |
ИСО 14937:2000 | |
МЭК 60068-2-6:1995 | |
МЭК 60068-2-64:1993 | |
МЭК 60079-4:1975 | |
МЭК 60529:2001 | |
МЭК 60601-1-1:2000 | |
МЭК 60601-1-8:2000 | |
МЭК 60825-1:2001 | |
МЭК 60825-2:2000 | |
МЭК 61000-4-2:2001 | |
МЭК 61000-4-5:2005 | |
МЭК 61000-4-11:2004 | |
<*> Соответствующий национальный стандарт отсутствует. До его утверждения рекомендуется использовать перевод на русский язык данного международного стандарта. Перевод данного международного стандарта находится в Федеральном информационном фонде технических регламентов и стандартов. |
[1] | IEC/TR 60825-9, #Safety of laser products - Part 9. #Compilation of maximum permissible exposure to incoherent optical radiation# |
| МЭК/TR 60825-9 #Безопасность лазерных устройств. Часть 9. Максимально допустимое воздействие некогерентного оптического излучения# |
| ISO 3534-1, #Statistics - Vocabulary and symbols - Part 1: Probability and general statistical terms# |
| ИСО 3534-1 #Статистика. Словарь и условные обозначения. Часть 1. Термины, используемые в теории вероятности, и общие статистические термины# |
| ASTM E 456-96: #Standard terminology relating to quality and statistics. American Society for Testing and Materials#, 1996 |
| ASTM E 456-96 #Стандартная терминология, относящаяся к качеству и статистике. Американское общество по испытанию материалов#, 1996 |
[4] | EN 563:1994. #Safety of Machinery - Temperatures of touchable surfaces - Ergonomics data to establish temperature limit values for hot surfaces. See Table 1# |
| EN 563:1994 #Безопасность машин. Температура осязаемых поверхностей. Эргономические данные для установления предельных температур для осязаемых горячих поверхностей#. См. табл. 1 |
| NCCLS C-25A, #Fractional Oxyhaemoglobin, Oxygen Content and Saturation, and Related Quantities in Blood: Terminology, Measurement, and Reporting#; Approved Guideline, January 1997: 17, N. 3 |
| NFPA Publication 53: #Fire Hazards in Oxygen-Enriched Atmospheres# <1> |
| NFPA Publication 53 #Опасность пожара в атмосферах, обогащенных кислородом# |
| AARC #Clinical practice guideline: pulse oximetry#. Respir. Care, 1991, 36(12), pp. 1406 - 1409 |
[8] | AARC #Clinical practice guideline: exercise testing for evaluation of hypoxaemia and/or desaturation#. Respir. Care, 1992, 37(8), pp. 907 - 912 |
| AARC #Clinical Practice Guideline: blood gas analysis and hemoximetry. Respir. Care#, 2001, 46, pp. 498 - 505 |
[10] | American Heart Association. #Standards for Advanced Cardiac Life Support#, 1998 |
| AOYAGI, T. #Is the CO-oximeter a gold standard? Anesthesia and Analgesia#, 2002; |
| 94 (1S): S101.Al |
| BLAND, J.M., ALTMAN, D. G. #Statistical methods for assessing agreement between two methods of clinical measurement. Lancet#. (8 Feb), (1986), pp. 307 - 310 |
| BOIVIN, W., #et al. Measurement of Radiofrequency Electromagnetic fields in and around Ambulances#, Biomedicial Instrumentation and Technology. 31, No. 2, pp. 145 - 154 |
| BOYLE, R.J., OH, W. #Erythema following transcutaneous  monitoring. Pediatrics#. 65 (2, Feb), (1980), pp. 333 - 334 |
| BUCHER, H.U., FANCONI, S., FALLENSTEIN, F., Due, G. #Transcutaneous carbon dioxide tension in newborn infants: reliability and safety of continuous 24-hour measurement at 42 °C#. Pediatrics. 78 (1986), pp. 631 - 635 |
| BURNETT, #et al#. "Blood Gas and pH Analysis and related Measurements", NCCLS, 21, No. 14 <2> |
| CABAL, L., HODGMAN, J., SIAssI, B., PLAJSTEK, C. (1981): #Factors affecting heated transcutaneous  and unheated transcutaneous  in preterm infants#. Crit. Care. Med. 9, pp. 298 - 304 |
| College of American Pathologists, CAP #Laboratory Accreditation Programs# <3> |
[19] | ALTMAN, D.G. #Practical statistics for medical research#, Chapman and Hall, 1991. p. 313 |
| EBERHARD, P., MINDT, W., JANN, F., HAMMACHER, K. (1975): #Continuous  monitoring in the neonate by skin electrodes#. Med. Biol. Eng. 13(May), pp. 436 - 442 |
| EBERHARD, P., MINDT, W., KREUZER, F. (1976): #Cutaneous oxygen monitoring in the newborn#. Paediatrician 5, pp. 335 - 369 |
| FANCONI, S., TSCHUPP, A., MOLINARI, L. (1996): #Long-term transcutaneous monitoring of oxygen tension and carbon dioxide at 42 degrees C in critically ill neonates: improved performance of the tc  monitor with topical metabolic inhibition#. Eur. J. Pediatr. 155 (12, Dec), pp. 1043 - 1046 |
| FDA Draft Guidance Document: #Non-lnvasive Pulse oximeter#, Center for Devices and Radiological Health, Anesthesiology and Defibrillator Devices Branch, Division of Cardiovascular and Respiratory Devices, Office of Device Evaluation. September 7, 1992 <4> |
[24] | FDA Excerpts Related to EMI from Anesthesiology and Respiratiory devices Branch, November 1993 <5> See Section (i) (7), 17 |
[25] | FDA #Quality System Regulation#: 21 CFR 820.3 (z): validation |
| GEHRING, H., HORNBERGER, C., DIBBELT, L., ROTHSIGKEIT, A., GERLACH, K., SCHUMACHER, J., SCHMUCKER, P. #Accuracy of point-of-care-testing (PO CT) for determining haemoglobin concentrations#. Acta-Anaesthesiol-Scand 46: p. 980 - 6; 2002 |
| GOLDEN, S. M. (1981): #Skin craters - a complication of transcutaneous oxygen monitoring#. Pediatrics. 67 (4, Apr), pp. 514 - 516 |
[28] | Guidance for industry: #Cardiac Monitor Guidance#, November 5, 1998 <6> |
| HARPIN, V.A., CHELLAPPAH, G., RUTTER, N. (1983): #Responses of the newborn infant to overheating#. Biol. Neonate. 44(2), pp. 65 - 75 |
| HORNBERGER, C., #et at. Design and validation of a pulse oximeter calibrator#, Anesth Analg 2002, 94 S8 - S12 |
| HORNBERGER, C., #et al. Prototype device for standardized calibration of pulse oximeters#, J Clin Mon and Comp 2000, 3, pp. 161 - 169 |
| HUCH, R., HUCH, A., LUBBERS, D.W. (1981): #Transcutaneous  #, Georg Thieme Verlag, Stuttgart, New York, p. 78 |
| HUCH, R., HUCH, A., LUBBERS, D.W. (1981): #Transcutaneous  #. Georg Thieme Verlag, Stuttgart, NewYork. 170 pages, p. 91 |
| lAlzzo, P.A., KVEEN, G.L., KOKATE, J. Y., LELAND, K. J., HANSEN, G. L., SPARROW, E. M. (1995): #Prevention of pressure ulcers by focal cooling: histological assessment in a porcine model. In Wounds: A compendium of clinical research and practice#, 7 (5), pp. 161 - 169 |
| JASZCZAK, P., POULSEN, J. (1983a): #tc  dependence on a sufficient blood flow. In: Continuous transcutaneous blood gas monitoring#. (Eds: Huch, R., Huch, A.) (Series Eds: Symonds, E. М., Zuspan, F. P. Reproductive Medicine, Volume 5). Marcel Dekker, Inc., New York and Basel, pp. 35 - 43. (Papers presented at the Second International Symposium on Continuous Transcutaneous Blood Gas Monitoring, at the University of Zurich, October 14 - 16, 1981) |
| JASZCZAK, P., POULSEN, J. (1983b): #The effects of a heated tc  electrode on skin and blood temperature. In: Continuous transcutaneous blood gas monitoring#. (Eds: Huch, R., Huch, A.) (Series Eds: Symonds, E.M., Zuspan, F.P. Reproductive Medicine, Volume 5). Marcel Dekker, Inc., New York and Basel, pp. 45 - 55. (Papers presented at the Second International Symposium on Continuous Transcutaneous Blood Gas Monitoring, at the University of Zurich, October 14 - 16, 1981) |
| KOKATE, J.Y., LELAND, K.J., HELD, A.M., HANSEN, G.L., KVEEN, G.L., JOHNSON, B.A., WILKE, M.S., SPARROW, E.M., lAlzzo (1995): #Temperature-modulated pressure ulcers: a porcine model#. Arch. Phys. Med. and Rehab. 76, pp. 666 - 673 |
| LAPTOOK, A., OH, W. (1981): #Transcutaneous carbon dioxide monitoring in the newborn period#. Crit. Care Med. 9 (10), pp. 759 - 760 |
| LOFGREN, O., ANDERSSON, D. (1983): #Transcutaneous carbon dioxide and transcutaneous oxygen monitoring in neonatal intensive care patients. In: Continuous transcutaneous blood gas monitoring#. (Eds: Huch, R.; Huch, A.) (Series Eds: Symonds, E.M., Zuspan, F.P. Reproductive Medicine, Volume 5). Marcel Dekker, Inc., New York and Basel, pp. 413 - 419. (Papers presented at the Second International Symposium on Continuous Transcutaneous Blood Gas Monitoring, at the University of Zurich, October 14 - 16, 1981) |
| LYNN, L.A. #Interpretive oximetry: Future directions for the diagnostic application of the  time-series#. Anesthesia and Analgesia 2002; 94(S1): S84 - 88 |
| MALIN, S.W., BAUMGART, 5. (1987): #Optimal thermal management for low birth weight infants nursed under high-powered radiant warmers#. Pediatrics. 79(1, Jan), pp. 47 - 54 |
| MANZINGER, H. (1990): #Temperaturgrenzen for die Verbrennung der Haut-Ultraschall B Scan Untersuchung. [Temperature limits for skin burning; ultrasound В scan investigation.]# Dissertation, Med izinischen Fakultet der Ludwig Maximilians Universitet zu Munchen. p. 71 |
| MONACO, F., MCQUITTY, J.C. (1981): #Transcutaneous measurements of carbon dioxide partial pressure in sick neonates#. Crit. Care Med. 9 (10), pp. 756 - 758 |
| MCNCRIEF, J.A. (1979): #The hod/s response to heat. In: Burns.' a team approach#. (Eds: Artz, CP; Moncrief, JA; Pruitt, BA) W.B. Saunders, pp. 23 - 44. |
| MORITZ, A.R., HENRIQUES, F.C.Jr (1947): #Studies of thermal injury. I. The relative importance of time and surface temperature in the causation of cutaneous burns#. Am. J. Path. 23, pp. 695 - 720 |
| MORITZ, A.R., HENRIOUES, F.C.Jr (1947): #Studies of thermal injury. II. The relative importance of time and surface temperature in the causation of cutaneous burns#. Am. J. Path. 23, pp. 714 - 715 |
[47] | PALREDDY, S. #Signal processing algorithms#. In J.G. Webster, ed., Design of Pulse oximeters, Institute of Physics Publishing, Bristol and Philadelphia, 1997, p. 129ff |
| POLER, S.M., WALKER, S.S., KIBELBEK, M.J., MAROON, M. (1992): #Cutaneous injuries associated with pulse oximeters#. J. Clin. Monit. 8 (2, April), p. 185 |
| PREIS, N, M.D. pediatric dermatologist, Duke University Medical Center, private communication to S. Weitzner, M.D. |
| RYAN, I.J. in Jarrett, ed., #Physiology and Pathophysiology of the Skin#, Academic Press, London and New York, 1973: Structure, Pattern and Shape of the Blood Vessels of the Skin, pp. 577 - 651 |
| SCHACHINGER, H., SELLER, D. (1983): #First experiences with transconjunctival  measurement#. In: #Continuous transcutaneous blood gas monitoring#. (Eds: Huch, R., Huch, A.) (Series Eds: Symonds, E.M., Zuspan, F.P. Reproductive Medicine, Volume 5). Marcel Dekker, Inc., New York and Basel, (Papers presented at the Second International Symposium on Continuous Transcutaneous Blood Gas Monitoring, atthe University of Zurich, October 14 - 16, 1981) |
| SCHMITT, J.M. #Simple photon diffusion analysis of the effects of multiple scattering on pulse oximetry#, IEEE Trans.Biomed. Eng. 38 (12), PP. 1194 - 1203 (1991) and 39 (3), p. 314 (1992) |
| SEGUIN, J. (1992): #Effects of transcutaneous monitor electrode heat on skin servo-cont rolled environments#. J. Perinatol. 12 (3, Sep), pp. 276 - 280 |
| SEVERINGHAUS, J.W., NAIFEH, K.H., KoH, S.O. #Errors in 14 pulse oximeters during profound hypoxia#. J Olin Mon 1989; 5, pp. 72 - 81 |
[55] | SEVERINGHAUS, J.W., NAIFEH, K.H. #Accuracy of response of six pulse oximeters to profound hypoxia#. Anesth 1987; 67, pp. 551 - 558 |
| SEVERINGHAUS, J.W., KELLEHER, J.F. (1992): #Recent developments in pulse oximetry#. Anesthesiology. 76 (6, June), pp. 1018 - 1038 (pp. 227 - 228) |
[57] | SEVERINGHAUS, J.W. private communication to ASTM F-29 |
| TEMPLEMAN, M.C., BELL, E.F. (1986): #Head insulation for premature infants in servocontrolled incubators and radiant warmers#. Am. J. Dis. Child. 140 (9, Sep), pp. 940 - 942 |
| TOPPER, W.H., STEWART, T.P. (1984): #Thermal support for the very-low-birth-weight infant: role of supplemental conductive heat#. J. Pediatr. 105 (5, Nov), pp. 810 - 814 |
| VENUS, B., PATEL, K.C., PRATAP, K.S., KONCHIGERI, H., VIDYASAGAR, D. (1981): #Transcutaneous  monitoring during pediatric surgery#. Crit. Care Med. 9 (10), pp. 714 - 716 |
| VYAS, H., HELMS, P., CHERIYAN, O. (1988): #Transcutaneous oxygen monitoring beyond the neonatal period#. Crit. Care Med. 16 (9, Sep), pp. 844 - 847 |
| WIENERT, V., SICK, H., zur MUHLEN, J. (1983): #Lokale thermische Belastbarkeit der menschlichen Haut [The local heat tolerance of the human skin]#, Anasth. Intensivther. Notf. Med. 18, 88 - 90 |
[63] | IEC 61000-4-3, #Electromagnetic compatibility (EMC) - Part 4-3: Testing and measurement techniques - Radiated, radio-frequency, electromagnetic field immunity test# |
| #International Vocabulary of Basic and General Terms in Metrology (VIM)#, BIPM, IEC, FCC, ISO, IUPAC, IUPAP, OIML, 1993 |
| #Guide to the Expression of Uncertainty in Measurement (GUM)#, BIPM, IEC, IFCC, ISO, IUPAC, IUPAP, OIML, 1993 <7> |
| IEC 60721-3-7, #Classification of environmental conditions - Part 3: Classification of groups of environmental parameters and their seventies - Section 7: Portable and non-stationary use# |
| МЭК 60721-3-7 #Классификация внешних воздействующих факторов. Часть 3. Классификация групп параметров окружающей среды и их степеней жесткости. Раздел 7. Переносной и нестационарный режим эксплуатации# |
| IEC TR 60721-4-7, #Classification of environmental conditions - Part 4-7: Guidance for the correlation and transformation of environmental condition classes of IEC 60721-3 to the environmental tests of IEC 60068 - Portable and non-stationary use# |
| МЭК TR 60721-4-7 #Классификация внешних воздействующих факторов. Часть 4-7. Руководство для взаимосвязи и преобразования классов внешних воздействующих факторов по МЭК 60721-3 при испытаниях на воздействие окружающей среды по МЭК 60068. Переносной и нестационарный режим эксплуатации# |
--------------------------------
<1> Available from the National Fire Protection Association, 1 Batterymarch Park, PO Box 9101, Quincy, MA 02269-2101, USA.
<2> Available from NCCLS at http://www.nccls.org/free/C46-A.pdf.
<3> Available from CAP at http://www. cap.org/apps/docs/laboratory accred itation/lap info/progdesccrit. pdf.
<4> Available from FDA at http://www.fda.gov/cdrh/ode 1997.pdf.
<5> Available from FDA at http://www.fda.gov/cdrh/ode 1638.pdf.
<6> Available from FDA at http://www.fda.gov/cdrh/ode/cmonitor. pdf.
<7> Corrected and reprinted 1995.