Главная // Актуальные документы // ГОСТ Р (Государственный стандарт)СПРАВКА
Источник публикации
В данном виде документ опубликован не был.
Первоначальный текст документа опубликован в издании
М.: ИПК Издательство стандартов, 1999.
Информацию о публикации документов, создающих данную редакцию, см. в справке к этим документам.
Примечание к документу
Документ утратил силу с 1 января 2014 года в связи с изданием
Приказа Росстандарта от 02.07.2013 N 275-ст. Взамен введен в действие
ГОСТ IEC 60227-2-2012.
Документ включен в
Перечень национальных стандартов, содержащих правила и методы исследований (испытаний) и измерений, в том числе правила отбора образцов, необходимых для применения и исполнения Федерального
закона от 27.12.2009 N 347-ФЗ и осуществления оценки соответствия (
Распоряжение Правительства РФ от 29.07.2010 N 1284-р).
Документ включен в
Перечень стандартов, в результате применения которых на добровольной основе обеспечивается соблюдение требований технического регламента Таможенного союза "О безопасности низковольтного оборудования" (ТР ТС 004/2011) и в
Перечень стандартов, содержащих правила и методы исследований (испытаний) и измерений, в том числе правила отбора образцов, необходимые для применения и исполнения требований технического
регламента Таможенного союза "О безопасности низковольтного оборудования" (ТР ТС 004/2011) и осуществления оценки (подтверждения) соответствия продукции (
Решение Комиссии Таможенного союза от 16.08.2011 N 768).
С 1 июля 2003 года до вступления в силу технических регламентов акты федеральных органов исполнительной власти в сфере технического регулирования носят рекомендательный характер и подлежат обязательному исполнению только в части, соответствующей целям, указанным в
пункте 1 статьи 46 Федерального закона от 27.12.2002 N 184-ФЗ.
Взамен ГОСТ Р МЭК 227-2-94.
Название документа
"ГОСТ Р МЭК 60227-2-99. Государственный стандарт Российской Федерации. Кабели с поливинилхлоридной изоляцией на номинальное напряжение до 450/750 В включительно. Часть 2. Методы испытаний"
(принят и введен в действие Постановлением Госстандарта России от 12.10.1999 N 338-ст)
(ред. от 21.12.2010)
"ГОСТ Р МЭК 60227-2-99. Государственный стандарт Российской Федерации. Кабели с поливинилхлоридной изоляцией на номинальное напряжение до 450/750 В включительно. Часть 2. Методы испытаний"
(принят и введен в действие Постановлением Госстандарта России от 12.10.1999 N 338-ст)
(ред. от 21.12.2010)
Принят и введен в действие
от 12 октября 1999 г. N 338-ст
ГОСУДАРСТВЕННЫЙ СТАНДАРТ РОССИЙСКОЙ ФЕДЕРАЦИИ
КАБЕЛИ С ПОЛИВИНИЛХЛОРИДНОЙ ИЗОЛЯЦИЕЙ НА НОМИНАЛЬНОЕ
НАПРЯЖЕНИЕ ДО 450/750 В ВКЛЮЧИТЕЛЬНО
ЧАСТЬ 2
МЕТОДЫ ИСПЫТАНИЙ
Polyvinylchloride insulated cables of rated
voltages up to and including 450/750 V. Test methods
ГОСТ Р МЭК 60227-2-99
| | Список изменяющих документов Росстандарта от 21.12.2010 N 849-ст) | |
Дата введения
1 июля 2000 года
1. Разработан и внесен Техническим комитетом по стандартизации ТК 46 "Кабельные изделия" при ОАО Всероссийский научно-исследовательский, проектно-конструкторский и технологический институт кабельной промышленности (ОАО ВНИИКП).
2. Принят и введен в действие
Постановлением Госстандарта России от 12 октября 1999 г. N 338-ст.
3. Настоящий стандарт представляет собой аутентичный текст международного стандарта МЭК 60227-2-97 "Кабели с поливинилхлоридной изоляцией на номинальное напряжение до 450/750 В включительно. Часть 2. Методы испытаний" с Изменением N 1.
(в ред.
Изменения N 1, утв. Приказом Росстандарта от 21.12.2010 N 849-ст)
4. Взамен ГОСТ Р МЭК 227-2-94.
Настоящий стандарт устанавливает методы испытаний для кабелей с поливинилхлоридной изоляцией на номинальное напряжение до 450/750 В включ., применяемые в ГОСТ Р МЭК 227-3 и последующих стандартах этой серии.
В этих стандартах предусмотрены испытания по ГОСТ Р МЭК 60332-1-1 - ГОСТ Р МЭК 60332-1-3 и ГОСТ Р МЭК 811-1-1.
(в ред.
Изменения N 1, утв. Приказом Росстандарта от 21.12.2010 N 849-ст)
В настоящем стандарте использованы ссылки на следующие стандарты:
ГОСТ Р МЭК 60227-1-2009. Кабели с поливинилхлоридной изоляцией на номинальное напряжение до 450/750 В включительно. Часть 1. Общие требования
ГОСТ Р МЭК 60227-3-2002. Кабели с поливинилхлоридной изоляцией на номинальное напряжение до 450/750 В включительно. Кабели без оболочки для стационарной прокладки
ГОСТ Р МЭК 60227-6-2010. Кабели с поливинилхлоридной изоляцией на номинальное напряжение до 450/750 В включительно. Часть 6. Лифтовые кабели и кабели для гибких соединений
ГОСТ Р МЭК 60332-1-1-2007. Испытания электрических и оптических кабелей в условиях воздействия пламени. Часть 1-1. Испытание на нераспространение горения одиночного вертикально расположенного изолированного провода или кабеля. Испытательное оборудование
ГОСТ Р МЭК 60332-1-2-2007. Испытания электрических и оптических кабелей в условиях воздействия пламени. Часть 1-2. Испытание на нераспространение горения одиночного вертикально расположенного изолированного провода или кабеля. Проведение испытания при воздействии пламенем газовой горелки мощностью 1 кВт с предварительным смешением газов
ГОСТ Р МЭК 60332-1-3-2007. Испытания электрических и оптических кабелей в условиях воздействия пламени. Часть 1-3. Испытание на нераспространение горения одиночного вертикально расположенного изолированного провода или кабеля. Проведение испытания на образование горящих капелек/частиц
ГОСТ Р МЭК 60811-1-1-98. Общие методы испытаний материалов изоляции и оболочек электрических и оптических кабелей. Измерение толщины и наружных размеров. Методы определения механических свойств.
(п. 1.2 в ред.
Изменения N 1, утв. Приказом Росстандарта от 21.12.2010 N 849-ст)
1.3. Классификация испытаний по периодичности их проведения
В соответствии с
2.2 ГОСТ Р МЭК 60227-1 нормируемые испытания являются типовыми (символ T) и/или испытаниями на образцах (символ S).
Символы T и S используют в соответствующих таблицах стандартов на конкретные кабели (ГОСТ Р МЭК 227-3 и последующие стандарты этой серии).
Если маркировочный знак выполнен тиснением по изоляции или оболочке, образцы для испытаний отбирают так, чтобы они имели маркировочный знак.
Если не указано иное, для многожильных кабелей, за исключением испытания по
1.9, испытывают не более трех изолированных жил (по возможности разной расцветки).
1.5. Предварительное кондиционирование
Все испытания проводят не менее чем через 16 ч после наложения экструдированной изоляции или оболочки.
1.6. Температура испытания
Если не указано иное, испытания проводят при температуре окружающей среды.
1.7. Испытательное напряжение
Если не указано иное, испытательное напряжение должно быть переменного тока частотой 49 - 61 Гц, приблизительно синусоидальной формы волны, при этом отношение пикового значения к среднеквадратичному равно

с отклонением +/- 7%. Указанные значения являются среднеквадратичными.
1.8. Проверка прочности расцветки и маркировки
Проверку соответствия этому требованию проводят путем десятикратной легкой протирки маркировочного знака изготовителя или товарного знака, или поверхности окрашенных изолированных жил, или цифр ватой или тканью, смоченной в воде.
1.9. Измерение толщины изоляции
1.9.1. Проведение испытания
Толщину изоляции измеряют в соответствии с 8.1 ГОСТ Р МЭК 811-1-1.
Из трех мест кабеля, отстоящих друг от друга не менее чем на 1 м, отбирают по одному образцу.
Проверку проводят на каждой изолированной жиле кабелей, имеющих пять и менее жил, и на любых пяти изолированных жилах кабелей, имеющих более пяти жил.
Если удаление токопроводящей жилы затруднительно, ее вытягивают в разрывной машине или отрезок изолированной жилы растягивают, ослабляя адгезию изоляции к жиле, или используют другие подходящие способы, не повреждающие изоляцию.
(в ред.
Изменения N 1, утв. Приказом Росстандарта от 21.12.2010 N 849-ст)
1.9.2. Оценка результатов
Среднее арифметическое значение 18 результатов измерения толщины изоляции (в миллиметрах), полученных на трех отрезках изоляции с каждой изолированной жилы, подсчитывают до двух десятичных знаков и округляют, как указано ниже. Это значение принимают за среднее значение толщины изоляции.
Если при расчете второй десятичный знак равен или более пяти, первый десятичный знак увеличивают до следующей цифры. Так 1,74 округляют до 1,7, а 1,75 - до 1,8.
Наименьшее из всех полученных значений принимают за минимальную толщину изоляции в любом месте.
Это испытание можно совмещать с любыми другими измерениями толщины, например с приведенными в
5.2.4 ГОСТ Р МЭК 60227-1.
1.10. Измерение толщины оболочки
1.10.1. Проведение испытания
Толщину оболочки измеряют в соответствии с 8.2 ГОСТ Р МЭК 811-1-1.
Из трех мест кабеля, отстоящих друг от друга не менее чем на 1 м, отбирают по одному образцу.
1.10.2. Оценка результатов
Среднее арифметическое всех значений толщины оболочки (в миллиметрах), полученных на трех отрезках оболочки, подсчитывают до двух десятичных знаков и округляют, как указано в
1.9.2. Это значение принимают за среднее значение толщины оболочки.
Наименьшее из всех полученных значений принимают за минимальную толщину оболочки в любом месте.
Это испытание можно совмещать с любыми другими измерениями толщины, например с приведенными в
5.5.4 ГОСТ Р МЭК 60227-1.
1.11. Измерение наружных размеров и овальности
Три образца отбирают в соответствии с
1.9 или
1.10.
Наружный диаметр круглых кабелей любого сечения и наружные размеры плоских кабелей с большей стороной не более 15 мм измеряют в соответствии с 8.3 ГОСТ Р МЭК 811-1-1.
Для измерения размеров плоских кабелей с большей стороной св. 15 мм используют микрометр, профильный проектор или аналогичное устройство.
Среднее арифметическое полученных значений принимают за средний наружный размер.
Для проверки овальности кабелей круглого сечения в оболочке на одном и том же сечении кабеля проводят два измерения.
2. Испытания электрических характеристик
2.1. Электрическое сопротивление токопроводящих жил
С целью проверки электрического сопротивления токопроводящих жил сопротивление каждой жилы измеряют на образце кабеля длиной не менее 1 м (длину каждого образца измеряют).
При необходимости, приведение к 20 °C и 1 км длины проводят по формуле

, (1)
где t - температура образца при измерении, °C;

- сопротивление при 20 °C на длине 1 км, Ом;

- сопротивление кабеля длиной L при t °C, Ом;
L - длина образца кабеля (длина целого образца, а не отдельных изолированных жил или проволок), м.
2.2. Испытание напряжением кабелей
Образец кабеля погружают в воду. Длина образца, температура воды и продолжительность погружения приведены в
таблице 3 ГОСТ Р МЭК 60227-1.
Напряжение прикладывают по очереди между каждой токопроводящей жилой и всеми остальными жилами, соединенными вместе и с металлическими элементами, если они имеются, или с водой, а затем - между всеми токопроводящими жилами, соединенными вместе, и металлическими элементами или водой.
Напряжение и продолжительность его приложения приведены для каждого случая в
таблице 3 ГОСТ Р МЭК 60227-1.
2.3. Испытание напряжением изолированных жил
Настоящее испытание распространяется на кабели в оболочке и плоские шнуры без оболочки, за исключением плоских шнуров с мишурными жилами.
Испытание проводят на образце кабеля длиной 5 м. Оболочку и все остальные покрытия или заполнение удаляют, не повреждая изолированные жилы.
В случае плоского шнура без оболочки в изоляции между изолированными жилами делают небольшой надрез и вручную разводят жилы на длине 2 м.
Напряжение и продолжительность его приложения приведены для каждого случая в
таблице 3 ГОСТ Р МЭК 60227-1.
Изолированные жилы погружают в воду, как указано в
таблице 3 ГОСТ Р МЭК 60227-1, а напряжение прикладывают между токопроводящими жилами и водой.
Напряжение и продолжительность его приложения приведены для каждого случая в
таблице 3 ГОСТ Р МЭК 60227-1.
2.4. Сопротивление изоляции
Настоящее испытание распространяется на все кабели. Его проводят на образцах изолированной жилы длиной 5 м, прошедшей испытание, указанное в
2.3 или, если оно не применяется, в
2.2.
Образец погружают в воду, предварительно нагретую до установленной температуры, при этом концы образца длиной около 0,25 м должны выступать над водой.
Длина образцов, температура воды и продолжительность погружения приведены в
таблице 3 ГОСТ Р МЭК 60227-1.
Затем между токопроводящей жилой и водой прикладывают постоянное напряжение от 80 до 500 В.
Сопротивление изоляции измеряют в течение 1 мин после приложения напряжения, и полученное значение пересчитывают на 1 км длины.
Ни одно из полученных значений не должно быть менее минимального значения сопротивления изоляции, указанного в стандартах на конкретные кабели (ГОСТ Р МЭК 227-3 и последующие стандарты этой серии).
Значения сопротивления изоляции, указанные в стандартах на конкретные кабели, основаны на объемном удельном сопротивлении

и определены по формуле

, (2)
где R - сопротивление изоляции на длине 1 км, МОм;
D - номинальный наружный диаметр по изоляции, мм;
d - диаметр круга, описанного вокруг токопроводящей жилы, или для шнуров с мишурными жилами - номинальный внутренний диаметр изоляции, мм.
3. Испытания механической прочности гибких кабелей
3.1. Испытание на гибкость
3.1.1. Общие положения
Требования приведены в
5.6.3.1 ГОСТ Р МЭК 60227-1.
Настоящее испытание не распространяется на шнуры с мишурными жилами, на одножильные кабели с гибкими токопроводящими жилами для стационарной прокладки, на многожильные гибкие кабели с жилами номинальным сечением более 2,5 мм2.
3.1.2. Испытательный стенд
Испытание проводят на стенде, схема которого приведена на рисунке 1. Стенд имеет каретку 3, систему управления движением каретки и четыре ролика для кабеля каждого типоразмера, подлежащего испытанию. На каретке 3 установлены два ролика 1 и 2 одинакового диаметра. Два неподвижных ролика на обоих концах стенда могут иметь диаметр, отличный от роликов 1 и 2, но все четыре ролика установлены так, что образец находится между ними в горизонтальном положении. Каретка совершает цикличное (возвратно-поступательное) движение на участке 1 м с постоянной скоростью около 0,33 м/с при каждом изменении направления движения.
Рисунок 1. Стенд для испытания на гибкость
Металлические ролики имеют полукруглую фасонную канавку для круглых кабелей и прямоугольную канавку для плоских кабелей. Удерживающие зажимы 4 закреплены так, что натяжение создается грузом 5, от которого движется каретка. Расстояние от удерживающего зажима до его опоры в положении, когда другой зажим находится на своей опоре, должно быть не более 5 см.
Система управления кареткой должна быть такой, чтобы изменение направления движения каретки происходило плавно и без рывков.
3.1.3. Подготовка образца
Образец гибкого кабеля длиной около 5 м протягивают через ролики, как указано на
рисунке 1, при этом к каждому концу прикрепляют груз 5. Масса груза и диаметр роликов 1 и 2 приведены в таблице 1.
Таблица 1
Масса груза и диаметр роликов
Тип гибкого кабеля (шнура) | | Номинальное сечение жил, мм2 | Масса груза, кг | мм |
Плоский шнур без оболочки | 2 | 0,5 | 0,5 | 60 |
0,75 | 1,0 |
Кабель в облегченной поливинилхлоридной оболочке Кабель в поливинилхлоридной оболочке | 2 | 0,5 | 0,5 | 60 |
0,75; 1,0; 1,5 | 1,0 | 80 |
2,5 | 1,5 | 120 |
3 | 0,5 | 0,5 | 80 |
0,75; 1,0; 1,5 | 1,0 |
2,5 | 1,5 | 120 |
4 | 0,5 | 0,5 | 80 |
0,75; 1,0 | 1,0 |
1,5; 2,5 | 1,5 | 120 |
5 | 0,5; 0,75 | 1,0 | 80 |
1,0 | 1,0 | 120 |
1,5 | 1,5 |
2,5 | 2,0 |
Кабель в поливинилхлоридной оболочке | 6 | 0,5 | 1,0 | 120 |
0,75; 1,0 | 1,5 |
1,5 | 2,0 |
2,5 | 2,5 | 160 |
7 | 0,5 | 1,0 | 120 |
0,75; 1,0 | 1,5 |
1,5 | 2,0 | 160 |
2,5 | 3,5 |
12 | 0,5 | 1,5 | 120 |
0,75 | 2,0 | 160 |
1,0 | 3,0 |
1,5 | 4,0 |
2,5 | 7,0 | 200 |
18 | 0,5 | 2,0 | 160 |
0,75 | 3,0 |
1,0 | 4,0 |
1,5 | 6,0 | 200 |
2,5 | 7,5 |
<1> Кабели с числом жил от 8 до 17, не указанные в таблице, имеют "непредпочтительные" конструкции. Испытание этих кабелей проводят при массе груза и диаметре ролика, установленных для ближайшего большего числа жил того же сечения. |
<2> Диаметр, измеренный по самой нижней точке канавки. |
3.1.4. Токовая нагрузка изолированных жил
Для создания токовой нагрузки используют или низкое напряжение, или напряжение около 230/400 В.
При испытании на гибкость на образец кабеля подают следующую токовую нагрузку:
1 А/мм2 + 10% на все жилы двух- и трехжильных кабелей;
1 А/мм
2 + 10% на три жилы или

(n - число жил) на все жилы четырех- и пятижильных кабелей.
(в ред.
Изменения N 1, утв. Приказом Росстандарта от 21.12.2010 N 849-ст)
Кабели с числом жил более пяти испытывают без токовой нагрузки.
По всем жилам, не имеющим токовой нагрузки, пропускают сигнальный ток.
3.1.5. Напряжение между изолированными жилами
Для двужильных кабелей напряжение между жилами должно быть около 230 В переменного тока. Для кабелей с тремя и более жилами к трем жилам прикладывают трехфазное напряжение около 400 В переменного тока, а остальные жилы соединяют с нейтралью. Испытывают три соседние изолированные жилы. При двухповивной конструкции кабеля испытывают жилы наружного повива. Это требование выполняют и при нагрузке кабеля током низкого напряжения.
3.1.6. Фиксация повреждений (требования к конструкции стенда для испытания на гибкость)
Конструкция стенда для испытания на гибкость должна обеспечивать фиксацию повреждения и прекращение испытания в случае:
- прерывания тока;
- короткого замыкания между жилами;
- короткого замыкания между образцом и роликами стенда для испытания на гибкость.
Требования приведены в
5.6.3.2 ГОСТ Р МЭК 60227-1.
Образец шнура 3 соответствующей длины закрепляют в устройстве 1, приведенном на рисунке 2, и нагружают грузом 4 массой 0,5 кг. По токопроводящим жилам пропускают ток около 0,1 А. Образец изгибают вперед и назад в направлении, перпендикулярном плоскости осей токопроводящих жил, при этом два крайних положения образуют угол 90° по обеим сторонам оси качания 2.
Рисунок 2. Устройство для испытания на изгиб
Изгиб - движение на угол 180°. Скорость изгибания - 60 изгибов в минуту.
Если образец не выдерживает испытание, его повторяют на двух дополнительных образцах, которые должны выдержать повторное испытание.
3.3. Испытание на растяжение рывком
Требования приведены в
5.6.3.3 ГОСТ Р МЭК 60227-1.
Образец шнура соответствующей длины прикрепляют одним концом к жесткой опоре; к образцу на расстоянии 0,5 м ниже точки крепления подвешивают груз массой 0,5 кг. По токопроводящим жилам пропускают ток около 0,1 А. Груз поднимают до точки крепления, а затем отпускают. Процедуру повторяют пять раз.
3.4. Испытание на разделение изолированных жил
Требования приведены в
5.6.3.4 ГОСТ Р МЭК 60227-1.
Настоящее испытание распространяется на плоские шнуры без оболочки.
На коротком образце шнура в изоляции между изолированными жилами делают разрез. Усилие, необходимое для их разделения со скоростью 5 мм/с, измеряют с помощью разрывной машины.
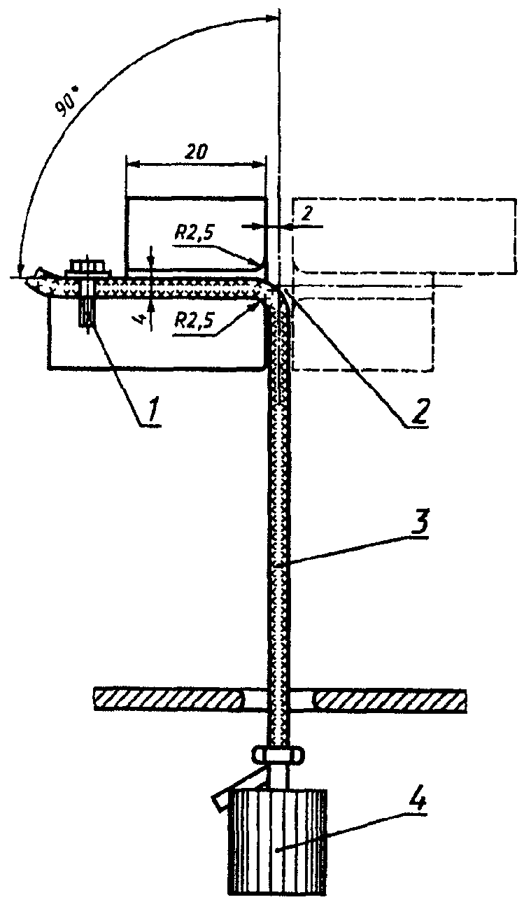
3.5. Испытание на статическую гибкость
Требования приведены в стандартах на конкретные кабели (ГОСТ Р МЭК 227-3 и последующие стандарты этой серии).
Настоящее испытание распространяется на кабели с токопроводящими жилами сечением до 2,5 мм2 включ.
Перед испытанием кабель выдерживают в вертикальном положении в течение 24 ч при температуре (20 +/- 5) °C.
Образец длиной (3 +/- 0,05) м испытывают в устройстве, схема которого приведена на рисунке 3. Высота расположения зажимов 1 и 2 - не менее 1,5 м.
Рисунок 3. Испытание на статическую гибкость
Зажим 1 закреплен, а зажим 2 может передвигаться горизонтально на уровне зажима 1.
Концы образца закрепляют вертикально (они остаются вертикальными в течение испытания): один конец - в зажиме 1, другой - в подвижном зажиме 2, который должен находиться на расстоянии l = 0,20 м от зажима 1. Кабель принимает приблизительно форму, показанную на рисунке пунктирной линией.
Подвижный зажим 2 удаляют от неподвижного зажима 1 до тех пор, пока петля, образованная кабелем, не примет U-образную форму, показанную на
рисунке сплошной линией, и полностью расположится на расстоянии

между двумя вертикальными линиями, проходящими через зажимы по касательной к внешней образующей кабеля. Это испытание проводят дважды, после первого испытания кабель поворачивают в зажиме на 180°.
Определяют среднее арифметическое значение результатов двух измерений

.
Если результаты испытания неудовлетворительны, образец навивают два раза на стержень диаметром, приблизительно равным 20-кратному наименьшему наружному размеру кабеля; после первого навивания образец поворачивают на 180°. Затем образец подвергают испытанию, указанному выше. Образец должен выдержать испытание.
3.6. Прочность при растяжении центрального сердечника лифтовых кабелей
Требования приведены в ГОСТ Р МЭК 227-6.
Образец кабеля длиной 1 м взвешивают.
После удаления всех покрытий и изолированных жил на расстоянии около 0,20 м с обоих концов образца центральный сердечник, включая несущий трос, подвергают воздействию усилия, соответствующего массе 300 м кабеля.
Растягивающее усилие прикладывают в течение 1 мин.
Могут быть использованы как свободное подвешивание груза, так и разрывная машина, обеспечивающая приложение постоянного усилия.