Главная // Актуальные документы // ГОСТ Р (Государственный стандарт)СПРАВКА
Источник публикации
М.: Стандартинформ, 2020
Примечание к документу
Документ
введен в действие с 01.01.2002.
Название документа
"ГОСТ Р 51799-2001. Национальный стандарт Российской Федерации. Соединители радиочастотные мощные. Основные параметры и технические требования. Методы испытаний и измерений"
(утв. и введен в действие Постановлением Госстандарта России от 22.08.2001 N 343-ст)
"ГОСТ Р 51799-2001. Национальный стандарт Российской Федерации. Соединители радиочастотные мощные. Основные параметры и технические требования. Методы испытаний и измерений"
(утв. и введен в действие Постановлением Госстандарта России от 22.08.2001 N 343-ст)
Утвержден и введен в действие
Постановлением Госстандарта России
от 22 августа 2001 г. N 343-ст
НАЦИОНАЛЬНЫЙ СТАНДАРТ РОССИЙСКОЙ ФЕДЕРАЦИИ
СОЕДИНИТЕЛИ РАДИОЧАСТОТНЫЕ МОЩНЫЕ
ОСНОВНЫЕ ПАРАМЕТРЫ И ТЕХНИЧЕСКИЕ ТРЕБОВАНИЯ.
МЕТОДЫ ИСПЫТАНИЙ И ИЗМЕРЕНИЙ
High power radio frequency connectors.
Basic parameters and technical requirements.
Methods of tests and measurements
ГОСТ Р 51799-2001
Дата введения
1 января 2002 года
1 РАЗРАБОТАН Самарским отраслевым научно-исследовательским институтом радио (СОНИИР)
2 ВНЕСЕН Министерством Российской Федерации по связи и информатизации
3 УТВЕРЖДЕН И ВВЕДЕН В ДЕЙСТВИЕ Постановлением Госстандарта России от 22 августа 2001 г. N 343-ст
4 ВВЕДЕН ВПЕРВЫЕ
5 ПЕРЕИЗДАНИЕ. Июль 2020 г.
Правила применения настоящего стандарта установлены в статье 26 Федерального закона от 29 июня 2015 г. N 162-ФЗ "О стандартизации в Российской Федерации". Информация об изменениях к настоящему стандарту публикуется в ежегодном (по состоянию на 1 января текущего года) информационном указателе "Национальные стандарты", а официальный текст изменений и поправок - в ежемесячном информационном указателе "Национальные стандарты". В случае пересмотра (замены) или отмены настоящего стандарта соответствующее уведомление будет опубликовано в ближайшем выпуске ежемесячного информационного указателя "Национальные стандарты". Соответствующая информация, уведомление и тексты размещаются также в информационной системе общего пользования - на официальном сайте Федерального агентства по техническому регулированию и метрологии в сети Интернет (www.gost.ru)
Настоящий стандарт распространяется на мощные радиочастотные соединители (СРМ) для коаксиальных кабелей с внутренним диаметром внешнего проводника более 17 мм, предназначенные для работы в электрических цепях радиочастотных трактов в диапазоне частот до 1000 МГц.
Настоящий стандарт устанавливает типы, обозначения, основные параметры, технические требования, методы испытаний и измерений параметров СРМ.
В настоящем стандарте использованы нормативные ссылки на следующие стандарты:
ГОСТ 12.3.019 Система стандартов безопасности труда. Испытания и измерения электрические. Общие требования безопасности
ГОСТ 20.57.406 Комплексная система контроля качества. Изделия электронной техники, квантовой электроники и электротехнические. Методы испытаний
ГОСТ 27.410 Надежность в технике. Методы контроля показателей надежности и планы контрольных испытаний на надежность <1>
--------------------------------
| | ИС МЕГАНОРМ: примечание. В официальном тексте документа, видимо, допущена опечатка: стандарт имеет номер ГОСТ Р 27.403-2009, а не ГОСТ Р 27403-2009. | |
<1> Действует
ГОСТ Р 27403-2009 "Надежность техники. Планы испытаний для контроля вероятности безотказной работы".
ГОСТ 15150 Машины, приборы и другие технические изделия. Исполнения для различных климатических районов. Категории, условия эксплуатации, хранения и транспортирования в части воздействия климатических факторов внешней среды
ГОСТ 30373/ГОСТ Р 50414 Совместимость технических средств электромагнитная. Оборудование для испытаний. Камеры экранированные. Классы, основные параметры, технические требования и методы испытаний
Примечание - При пользовании настоящим стандартом целесообразно проверить действие ссылочных стандартов в информационной системе общего пользования - на официальном сайте Федерального агентства по техническому регулированию и метрологии в сети Интернет или по ежегодному информационному указателю "Национальные стандарты", который опубликован по состоянию на 1 января текущего года, и по выпускам ежемесячного информационного указателя "Национальные стандарты" за текущий год. Если заменен ссылочный стандарт, на который дана недатированная ссылка, то рекомендуется использовать действующую версию этого стандарта с учетом всех внесенных в данную версию изменений. Если заменен ссылочный стандарт, на который дана датированная ссылка, то рекомендуется использовать версию этого стандарта с указанным выше годом утверждения (принятия). Если после утверждения настоящего стандарта в ссылочный стандарт, на который дана датированная ссылка, внесено изменение, затрагивающее положение, на которое дана ссылка, то это положение рекомендуется применять без учета данного изменения. Если ссылочный стандарт отменен без замены, то положение, в котором дана ссылка на него, рекомендуется применять в части, не затрагивающей эту ссылку.
3 Определения и сокращения
3.1 В настоящем стандарте применены следующие термины с соответствующими определениями:
3.1.1 диапазон рабочих частот: Диапазон, ограниченный верхней и нижней частотами, в пределах которого электрические параметры радиочастотных соединителей удовлетворяют требованиям настоящего стандарта и технических условий на радиочастотный соединитель конкретного типа.
3.1.2 проходное затухание: Отношение амплитуды напряжения на выходе радиочастотного соединителя, соединенном с согласованной нагрузкой, к амплитуде напряжения падающей волны на входе этого соединителя, выраженное в децибелах и взятое с обратным знаком.
3.1.3 коэффициент стоячей волны по напряжению: Отношение амплитуды напряжения в пучности волны к амплитуде напряжения в ближайшем к ней узле на фидере, подключенном к радиочастотному соединителю.
3.2 В настоящем стандарте использованы следующие сокращения:
ВЧ - высокая частота;
СРМ - соединитель радиочастотный мощный;
КСВН - коэффициент стоячей волны по напряжению;
ТУ - технические условия;
СИ - средства измерений;
ЭМП - электромагнитное поле.
4.1 СРМ подразделяют на типы в зависимости от:
- назначения - вилка, розетка, переход;
- конструктивного исполнения - кабельные, приборные;
- вида сочленения - резьбовые, фланцевые.
4.2 Обозначение СРМ вилки или розетки должно содержать:
- прописную букву В (вилка) или Р (розетка);
- прописную букву П (прямая) или У (угловая);
- двузначное число, обозначающее волновое сопротивление в омах;
- тире;
- группу из двух позиций, обозначающих присоединительные данные кабеля или прибора: одно- или двузначное число, означающее внутренний диаметр внешнего проводника в миллиметрах, и (через тире) одно- или двузначное число, означающие тип кабеля (для кабелей число двузначное, если у кабеля соответствующих марок диаметры по наружной оболочке различны), или прописную букву, означающую вид сочленения (для приборов): Г (гайка), Р (резьба) или Ф (фланец);
- косую черту;
- группу из двух позиций, обозначающих присоединительные данные сочленения: одно- или двузначное число, означающее внутренний диаметр внешнего проводника в миллиметрах, и (через тире) прописную букву, означающую вид сочленения: Г (внутренняя резьба), Р (наружная резьба) или Ф (фланец);
- тире;
- прописную букву, означающую климатическое исполнение: В - всеклиматическое; П - для эксплуатации в отапливаемых помещениях.
Структура условного обозначения СРМ (вилки или розетки) приведена на
рисунке 1.
X X X - X-X / X-X - X
─┬─ ─┬─ ─┬─ ──┬── ──┬── ─┬─
Прописная буква В - вилка │ │ │ │ │ │
или Р - розетка │ │ │ │ │ │
─────────────────────────────────┘ │ │ │ │ │
│ │ │ │ │
Прописная буква П - прямая │ │ │ │ │
или У - угловая │ │ │ │ │
───────────────────────────────────────┘ │ │ │ │
│ │ │ │
Двузначное число, означающее │ │ │ │
волновое сопротивление, Ом │ │ │ │
─────────────────────────────────────────────┘ │ │ │
│ │ │
Группа из двух позиций, обозначающих │ │ │
присоединительные данные кабеля или прибора: │ │ │
одно- или двузначное число, означающее │ │ │
внутренний диаметр внешнего проводника, мм │ │ │
──────────────────────────────────────────────────────┤ │ │
│ │ │
Одно- или двузначное число, означающее тип кабеля │ │ │
(двузначное число, если у кабеля соответствующих │ │ │
марок диаметры по наружной оболочке различны), │ │ │
или прописная буква, означающая вид сочленения │ │ │
(для приборов): Г - гайка, Р - резьба, Ф - фланец │ │ │
──────────────────────────────────────────────────────┘ │ │
│ │
Группа из двух позиций, обозначающих присоединительные │ │
данные сочленения: одно- или двузначное число, │ │
означающее внутренний диаметр внешнего проводника, мм │ │
────────────────────────────────────────────────────────────────┤ │
│ │
Прописная буква, означающая вид сочленения: │ │
Г - внутренняя резьба, Р - наружная резьба или Ф - фланец │ │
────────────────────────────────────────────────────────────────┘ │
│
Прописная буква, означающая климатическое исполнение: │
В - всеклиматическое; П - для эксплуатации в отапливаемых помещениях │
─────────────────────────────────────────────────────────────────────────┘
Рисунок 1 - Структура условного обозначения СРМ
вилки или розетки
Пример условного обозначения соединителя, представляющего собой прямую вилку под кабель РК 75-44-17, с присоединительными данными сочленения: внутренним диаметром внешнего проводника 24 мм, внутренней резьбой на накидной гайке, всеклиматического исполнения:
ВП 75-44-17/24-Г-В
4.3 Обозначение СРМ-перехода должно содержать:
- прописную букву П (переход);
- прописную букву П (прямой) или У (угловой);
- двузначное число, означающее волновое сопротивление в омах;
- тире;
- группу из трех позиций, обозначающих присоединительные данные первого сочленения: одно- или двузначное число, означающее внутренний диаметр внешнего проводника в миллиметрах, отделенную тире прописную букву В (вилка) или Р (розетка) и прописную букву, означающую вид сочленения: Г (гайка), Р (резьба) или Ф (фланец);
- косую черту;
- группу из таких же трех позиций, обозначающих присоединительные данные второго сочленения;
- тире;
- прописную букву, означающую климатическое исполнение: В - всеклиматическое, П - для эксплуатации в отапливаемых помещениях.
Структура условного обозначения СРМ-перехода приведена на
рисунке 2.
X X X - X-XX / X-XX - X
─┬─ ─┬─ ─┬─ ──┬─── ──┬─── ─┬─
Прописная буква П - переход │ │ │ │ │ │
─────────────────────────────────┘ │ │ │ │ │
│ │ │ │ │
Прописная буква П - прямой │ │ │ │ │
или У - угловой │ │ │ │ │
──────────────────────────────────────┘ │ │ │ │
│ │ │ │
Двузначное число, означающее │ │ │ │
волновое сопротивление, Ом │ │ │ │
───────────────────────────────────────────┘ │ │ │
│ │ │
Группа из трех позиций, обозначающих │ │ │
присоединительные данные первого сочленения: │ │ │
одно- или двузначное число, означающее │ │ │
внутренний диаметр внешнего проводника, мм │ │ │
────────────────────────────────────────────────────┤ │ │
│ │ │
Прописная буква В (вилка) или Р (розетка) │ │ │
────────────────────────────────────────────────────┤ │ │
│ │ │
Прописная буква, означающая вид сочленения: │ │ │
Г - внутренняя резьба, Р - наружная резьба │ │ │
или Ф - фланец │ │ │
────────────────────────────────────────────────────┘ │ │
│ │
Группа из трех позиций, обозначающих присоединительные │ │
данные второго сочленения: одно- или двузначное число, │ │
означающее внутренний диаметр внешнего проводника, мм │ │
───────────────────────────────────────────────────────────────┤ │
│ │
Прописная буква В (вилка) или Р (розетка) │ │
───────────────────────────────────────────────────────────────┤ │
│ │
Прописная буква, означающая вид сочленения: │ │
Г - внутренняя резьба, Р - наружная резьба или Ф - фланец │ │
───────────────────────────────────────────────────────────────┘ │
│
Прописная буква, означающая климатическое исполнение: │
В - всеклиматическое; П - для эксплуатации в отапливаемых помещениях │
─────────────────────────────────────────────────────────────────────────┘
Рисунок 2 - Структура условного обозначения СРМ-перехода
Пример условного обозначения соединителя радиочастотного мощного, представляющего собой переход прямой на волновое сопротивление 75 Ом, с присоединительными данными первого сочленения: внутренним диаметром внешнего проводника 24 мм, с розеткой, с наружной резьбой, с присоединительными данными второго сочленения: внутренним диаметром внешнего проводника 35 мм, с вилкой, с внутренней резьбой, исполнения для эксплуатации в отапливаемых помещениях:
ПП 75-24-РР/35-ВГ-П
5.1 Максимальная входная мощность СРМ определяется наибольшей предельно допустимой проходящей мощностью используемого коаксиального кабеля.
5.2 СРМ должны быть рассчитаны на номинальные волновые сопротивления 50 и (или) 75 Ом.
5.3 Диапазон рабочих частот СРМ должен быть от 0 до 1000 МГц и определяться типом используемого коаксиального кабеля.
В технически обоснованных случаях допускается использование СРМ на частотах более 1000 МГц, что должно быть указано в ТУ на СРМ конкретного типа.
5.4 Коэффициент отражения на входе СРМ при работе на согласованную нагрузку в пределах диапазона рабочих частот должен быть не более 0,025. В ТУ на СРМ конкретного типа должен быть указан коэффициент отражения, соответствующий конкретным частотным полосам.
5.5 Проходное затухание СРМ должно быть не более 0,003 дБ.
5.6 КСВН на входе СРМ, при котором он выдерживает максимальную входную мощность, должен быть указан в ТУ на СРМ конкретного типа.
6.1 Общие технические требования
6.1.1 СРМ должен изготавливаться в соответствии с требованиями настоящего стандарта и ТУ на СРМ конкретного типа.
6.1.2 Объем конкретных требований, в зависимости от типа СРМ, особенностей конкретных марок коаксиальных кабелей, с которыми предназначен работать СРМ, должен устанавливаться в ТУ на СРМ конкретного типа.
В технически обоснованных случаях в ТУ на СРМ конкретного типа могут быть установлены и другие требования, не предусмотренные настоящим стандартом.
6.1.3 В ТУ на СРМ конкретного типа для требований по механическим усилиям сочленения - расчленения частей СРМ должны быть установлены два уровня норм параметров:
- при приемке и поставке;
- на период эксплуатации и хранения.
В технически обоснованных случаях могут устанавливаться два уровня норм для других параметров, что должно быть указано в ТУ на СРМ конкретного типа.
6.2 Требования к конструкции
6.2.1 Присоединительные размеры, рекомендуемые для СРМ, приведены в
приложении А.
6.2.2 Соединение элементов СРМ с проводниками коаксиальных кабелей, кроме кабелей, внешний проводник которых выполнен из медных труб, должно производиться пайкой.
6.2.3 Монтаж СРМ на коаксиальный кабель должен производиться в соответствии с руководством по эксплуатации СРМ конкретного типа.
6.2.4 Требования по герметичности заделки кабеля в СРМ и (или) герметичности сочленяемых СРМ устанавливают в ТУ на СРМ конкретного типа.
6.2.5 Электрическое соединение проводников сочленяемых СРМ фланцевого типа должно производиться разрезной втулкой или цангой (внутренние проводники) и кольцом (внешние проводники).
6.2.6 Усилие расчленения гнезда СРМ резьбового типа с контрольным штырем, разрезной втулки или цанги (для сочленения внутренних проводников СРМ фланцевого типа) с контрольным штырем, момент вращения накидной гайки при сочленении СРМ резьбового типа, значение затягивающего усилия для гаек при сочленении частей СРМ фланцевого типа должны быть указаны в ТУ на СРМ конкретного типа.
6.2.7 СРМ фланцевого типа должны иметь исполнение с поворотным фланцем (для удобства сочленения частей СРМ).
6.2.8 Необходимость конструктивных элементов в СРМ для подключения системы дегидрации воздуха устанавливают в ТУ на СРМ конкретного типа.
6.2.9 Конструкция СРМ не должна иметь резонансных частот в диапазоне до 5000 Гц.
6.3 Требования безопасности при эксплуатации
6.3.1 Конструкция составных частей и элементов СРМ должна обеспечивать безопасность проведения монтажных, ремонтных работ и технического обслуживания.
6.3.2 Напряженность электрического поля, В/м, создаваемого протекающим через СРМ током ВЧ, на расстоянии 0,5 м в любую сторону от поверхности корпуса СРМ при работе на согласованную экранированную нагрузку должна быть не более:

- в диапазоне 0,06 - 3 МГц;

- в диапазоне св. 3 до 30 МГц;

- в диапазоне св. 30 до 300 МГц;

- в диапазоне св. 300 до 1000 МГц.
Напряженность магнитного поля, А/м, для СРМ при тех же условиях должна быть не более:

- в диапазоне 0,06 - 3 МГц;

- в диапазоне 30 - 50 МГц;

- в диапазоне 300 - 1000 МГц,
где K - КСВН, максимально допустимый для данного СРМ.
6.3.3 Электрическая прочность изоляции СРМ, определяемая испытательным напряжением частоты 50 Гц и 1,76 МГц, приложенным к внутреннему проводнику СРМ относительно его корпуса, должна соответствовать наиболее жестким требованиям по электрической прочности изоляции коаксиальных кабелей, с которыми предназначен работать СРМ конкретного типа.
6.4 Требования устойчивости при климатических и механических воздействиях
6.4.1 Требования устойчивости СРМ при климатических воздействиях должны соответствовать аналогичным требованиям к коаксиальным кабелям, используемым с данным СРМ, и должны быть указаны в ТУ на СРМ конкретного типа.
6.4.2 СРМ должны выдерживать следующие механические воздействия:
- синусоидальную вибрацию в диапазоне 1 - 2000 Гц с ускорением до 100 м/с2 (10 g);
- одиночные удары с ускорением до 5000 м/с2 (500 g);
- многократные удары с ускорением до 300 м/с2 (30 g);
- линейные нагрузки с ускорением до 1000 м/с2 (100 g);
- акустические шумы в диапазоне 50 - 5000 Гц при уровне звукового давления до 140 дБ.
6.4.3 Требования по стойкости к воздействию агрессивных сред, гидравлического давления, специальных факторов и др. устанавливают в ТУ на СРМ конкретного типа.
6.4.4 СРМ должны выдерживать перевозку транспортом любого вида в упаковке предприятия-изготовителя и в условиях транспортирования 5 по
ГОСТ 15150.
6.5 Требования к надежности
6.5.1 Максимальная наработка на отказ СРМ в максимальных режимах, установленных настоящим стандартом, при температуре 85 °C должна быть не менее 25 000 ч, при температуре 155 °C - не менее 15 000 ч.
В течение указанного времени СРМ должны выдерживать 250 сочленений - расчленений.
Минимальную наработку на отказ СРМ в облегченных режимах указывают в ТУ на СРМ конкретного типа.
6.5.2 Минимальный срок сохраняемости в отапливаемом хранилище или в составе защищенной аппаратуры или защищенном комплекте ЗИП должен быть 15 лет.
7.1 Общие положения
7.1.1 Параметры СРМ следует измерять в нормальных климатических условиях, если иные условия не оговорены в ТУ на СРМ конкретного типа.
Нормальными климатическими условиями в соответствии с
ГОСТ 15150 считают следующие:
- температура окружающего воздуха от 288 до 308 К (от 15 °C до 35 °C);
- относительная влажность от 45% до 80%;
- атмосферное давление от 84,0 до 106,7 кПа (от 630 до 800 мм рт. ст.).
7.1.2 Параметры СРМ при воздействии дестабилизирующих факторов следует измерять теми же методами, что и в нормальных климатических условиях.
7.1.3 Измерения и испытания СРМ должны проводиться с соблюдением требований безопасности, установленных
ГОСТ 12.3.019.
7.1.4 Отклонения напряжения и частоты питающей электросети от номинальных значений не должны выходить за пределы +/- 5% и +/- 1 Гц соответственно.
7.1.5 Электрические параметры СРМ следует измерять на специально оборудованном испытательном стенде, требования к которому должны быть указаны в ТУ на СРМ конкретного типа.
Уровень напряженности электромагнитного поля, создаваемого вокруг СРМ при протекании через него высокочастотного тока, следует измерять на специально оборудованном испытательном стенде, установленном в экранированной камере 1-го или 2-го класса по
ГОСТ 30373.
7.2 Средства измерений и испытательное оборудование
7.2.1 Электрические параметры СРМ следует измерять при помощи средств измерений (СИ), основные характеристики которых приведены в
приложении Б.
7.2.2 СИ и испытательное оборудование должны эксплуатироваться в условиях и режимах, указанных в технической документации на эти устройства.
7.3 Проведение измерений
7.3.1 Максимальную входную мощность СРМ проверяют по методике, приводимой в ТУ на СРМ конкретного типа. Измерения выполняют на частотах 60, 200, 600 и 1000 МГц.
7.3.2 Коэффициент отражения измеряют одним из методов, приведенных в МЭК 169-1-1
[1], обеспечивающим идентификацию и минимизацию отражений в измерительной схеме.
Измерения выполняют на частотах 60, 200, 600, 1000 МГц и (при необходимости) на других частотах, которые должны быть указаны в ТУ на СРМ конкретного типа.
7.3.3 Проходное затухание A, дБ, определяют по формуле
A = -10 lg(1 - p2), (1)
где
p - коэффициент отражения, измеренный согласно
7.3.2.
7.3.4 Напряженность электромагнитного поля (ЭМП), создаваемую протекающим через СРМ высокочастотным током, определяют следующим образом.
СРМ устанавливают и закрепляют на испытательном стенде. К входу СРМ через калиброванный переход и калиброванную соединительную линию подключают генератор сигналов ВЧ, к выходу СРМ - прецизионную экранированную нагрузку. Генератор сигналов ВЧ и испытуемый СРМ разделяют высокоэффективным ВЧ-экраном. Антенну измерителя напряженности ЭМП направленного действия устанавливают таким образом, чтобы она принимала горизонтальную составляющую электрического поля, параллельную одной из сторон корпуса СРМ, на расстоянии 0,5 м от поверхности корпуса. Расположение СИ, вспомогательного оборудования и СРМ приведено на рисунке 3.
Рисунок 3 - Расположение СРМ, СИ и испытательного
оборудования при определении напряженности ЭМП вокруг СРМ
Устанавливают на генераторе частоту 3 МГц и выходное напряжение 1 - 2 В по встроенному или внешнему милливольтметру. Измеряют горизонтальную составляющую электрического поля Exi. Ориентируют антенну измерителя напряженности ЭМП для приема горизонтальной составляющей электрического поля, перпендикулярной к Exi, и измеряют Eyi. Ориентируют антенну для приема вертикальной составляющей электрического поля, измеряют Ezi. Напряженность электрического поля вокруг СРМ, обусловленную действием генератора сигналов ВЧ для данного положения измерительной антенны (для i-й точки), Eген i, В/м, находят по формуле

(2)
Перемещая антенну измерителя напряженности ЭМП по траектории, указанной на
рисунке 3, сначала с одной стороны корпуса СРМ, а затем с другой, через каждые 10 см выполняют аналогичные измерения и вычисления.
Из полученных значений Eген i выбирают наибольшее значение Eген для данной частоты измерения 3 МГц.
Переключают измеритель напряженности ЭМП в режим измерения напряженности магнитного поля и, действуя описанным выше способом, измеряют на частоте 3 МГц составляющие магнитного поля Hxi, Hyi, Hzi, находят суммарную составляющую Hген i, А/м, по формуле

(3)
Выбирают наибольшее из полученных значений Eген (на частоте 3 МГц), обусловленных действием генератора сигналов ВЧ.
Аналогичные операции по определению Eген проводят на частотах измерения 30, 300 и 1000 МГц, по определению Hген - на частотах измерения 50 и 1000 МГц.
Напряженность электрического поля E, В/м, и магнитного H, А/м, полей, создаваемую СРМ при работе на согласованную нагрузку, определяют по формулам:

(4)

(5)
где Eген и Hген - максимальные значения напряженностей электрического и магнитного полей вокруг СРМ, обусловленные действием генератора сигналов ВЧ на конкретных частотах измерения, В/м и А/м соответственно;
P - максимальная входная мощность СРМ, Вт;
Pген - выходная мощность генератора сигналов ВЧ, Вт;
Pген = U2/W,
где U - выходное напряжение генератора, В;
W - волновое сопротивление входа СРМ, подключенного к генератору, Ом.
7.3.5 Минимальную наработку на отказ и минимальный срок сохраняемости СРМ определяют по
ГОСТ 27.410.
7.3.6 Отсутствие резонансных частот конструкции СРМ в заданном диапазоне частот определяют при проверке динамической нестабильности переходного сопротивления контактов СРМ при испытаниях на виброустойчивость.
7.3.7 Электрическую прочность изоляции СРМ напряжением частоты 50 Гц и высокой частоты (1,76 МГц) проверяют по методике, приведенной в ТУ на СРМ конкретного типа.
7.3.8 СРМ на устойчивость при климатических воздействиях проверяют по методам, приведенным в
ГОСТ 20.57.406.
7.3.9 СРМ на устойчивость при механических воздействиях проверяют по методам, приведенным в
ГОСТ 20.57.406:
- воздействие синусоидальной вибрации - по
методу 103-1-1, степень жесткости XI;
- воздействие одиночных ударов - по
методу 106-1, степень жесткости V, длительность действия ударного ускорения 0,1 мс;
- воздействие многократных ударов - по
методу 104-1, степень жесткости II с пиковым ускорением 300 м/с
2; длительность действия ударного ускорения 3 мс;
- воздействие линейных нагрузок - по
методу 107-1, степень жесткости IV;
- воздействие акустического шума - по
методу 108-1, степень жесткости IV.
(рекомендуемое)
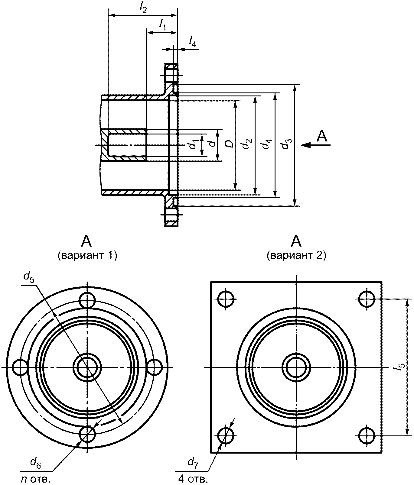
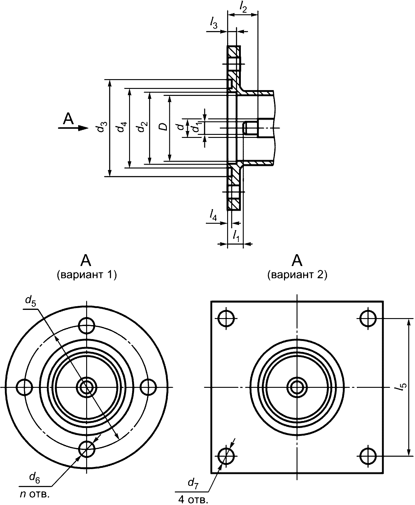
ПРИСОЕДИНИТЕЛЬНЫЕ РАЗМЕРЫ СРМ
В таблице А.1 и на
рисунке А.1 приведены присоединительные размеры для СРМ резьбового типа сочленения.
Таблица А.1
Присоединительные размеры СРМ резьбового типа сочленения
Обозначение | Значение, мм, для СРМ с волновым сопротивлением, Ом |
75 | 50 | 75 | 50 |
d1 | 5 | 8 | 6 | 10,5 |
d2 | 7 | 10,4 | 8,6 | 13 |
d3 | 5 | 8 | 6 | 10,5 |
d4 | 24 | 24 | 30 | 30 |
d5 | 27 | 27 | 33 | 33 |
d6 | 26,7 | 26,7 | 32,7 | 32,7 |
d7 | 31,5 | 31,5 | 37,5 | 37,5 |
d8 | М39 x 1,5 | М39 x 1,5 | М45 x 1,5 | М45 x 1,5 |
l1 | 8 | 12 | 10 | 14 |
l5 | 9 | 13 | 11 | 15 |
l2 | 12 | 16 | 14 | 18 |
l3 | 12 | 16 | 14 | 18 |
l4 | 11 | 15 | 13 | 17 |
l6 | 0,5 | 0,5 | 0,5 | 0,5 |
l7 | 0,2 | 0,2 | 0,2 | 0,2 |
Рисунок А.1 - Присоединительные размеры СРМ
резьбового типа сочленения
В таблице А.2 и на
рисунках А.2 и
А.3 приведены присоединительные размеры для СРМ фланцевого типа сочленения.
Таблица А.2
Присоединительные размеры СРМ фланцевого типа сочленения
Обозначение | Значение, мм, для СРМ с волновым сопротивлением, Ом |
75 | 50 | 75 | 50 | 75 | 50 | 75 | 50 | 75 | 50 |
d | 10,027 | 15,211 | 20,055 | 30,422 | 31,516 | 47,806 | 45,841 | 69,6 | 57,301 | 86,920 |
D | 35 | 35 | 70 | 70 | 110 | 110 | 160 | 160 | 200 | 200 |
d1 | 8 | 13 | 18,3 | 28 | 29 | 45 | 42 | 66 | 54 | 83 |
d2 | 38 | 38 | 74,5 | 74,5 | 114,5 | 114,5 | 166 | 166 | 206 | 206 |
d3 | 46 | 46 | 92 | 92 | 132 | 132 | 184 | 184 | 224 | 224 |
d5 | 54 | 54 | 106 | 106 | 150 | 150 | 202 | 202 | 242 | 242 |
d6 | 7 | 7 | 9 | 9 | 11,5 | 11,5 | 13,5 | 13,5 | 13,5 | 13,5 |
l1 | 8 | 8 | 23 | 23 | 23 | 23 | 35 | 35 | 35 | 35 |
l2 | 16 | 16 | 30 | 30 | 30 | 30 | 30 | 30 | 30 | 30 |
l3 | 3 | 3 | 3 | 3 | 3 | 3 | 3 | 3 | 3 | 3 |
l4 | 1,5 | 1,5 | 1,5 | 1,5 | 1,5 | 1,5 | 1,5 | 1,5 | 1,5 | 1,5 |
n | 4 | 4 | 6 | 6 | 6 | 6 | 6 | 6 | 8 | 8 |
d4 | 40 | 40 | 86 | 86 | 126 | 126 | 178 | 178 | 218 | 218 |
l5 | 54 | 54 | 106 | 106 | 150 | 150 | 202 | 202 | 242 | 242 |
d7 | 7 | 7 | 9 | 9 | 11,5 | 11,5 | 13,5 | 13,5 | 13,5 | 13,5 |
Рисунок А.2 - Присоединительные размеры СРМ фланцевого
типа сочленения
Рисунок А.3 - Присоединительные размеры СРМ фланцевого
типа сочленения
(рекомендуемое)
ОСНОВНЫЕ ТЕХНИЧЕСКИЕ ХАРАКТЕРИСТИКИ СРЕДСТВ
ИЗМЕРЕНИЯ ПАРАМЕТРОВ СРМ
Таблица Б.1
Наименование прибора | Основной параметр | Значение параметра |
Измеритель коэффициентов передачи и отражения | Диапазон частот, МГц | 1 - 1000 |
Пределы измерения коэффициента отражения | 0 - 0,333 |
Погрешность измерения коэффициента отражения, % | +/- 1 |
Генератор сигналов ВЧ | Диапазон частот, МГц | 0,1 - 1000,0 |
Выходное напряжение, В | 0,001 - 2,000 |
Выходное сопротивление, Ом | 50; 75 |
Погрешность установки частоты, % | +/- 1 |
Уровень побочных излучений, дБ, не более | -80 |
Измеритель напряженности ЭМП | Диапазон частот, МГц | 0,1 - 1000,0 |
Пределы измерения напряженности: | |
- электрического поля, В/м | 1·10-4 - 0,1 |
- магнитного поля, А/м | 2·10-4 - 0,1 |
Ширина полосы пропускания, кГц | 10, 120 |
Погрешность измерения, дБ, не более | 2,0 |
Милливольтметр цифровой широкополосный | Диапазон частот, МГц | 1 - 1000 |
Диапазон измерения напряжения | 0,3 мВ - 300,0 В |
Основная погрешность измерения, % | +/- 2,5 |
Входное сопротивление, МОм, не менее | 20 |
| МЭК 169-1-1-87 | Соединители радиочастотного диапазона. Часть 1. Общие предписания и методы измерений коэффициента отражения |
УДК 621.315.682:006.354 | |
Ключевые слова: соединители радиочастотные мощные, основные параметры, технические требования, методы испытаний и измерений |