Главная // Актуальные документы // ГОСТ Р (Государственный стандарт)
СПРАВКА
Источник публикации
М.: Стандартинформ, 2005
Примечание к документу
Документ включен в Перечень национальных стандартов, содержащих правила и методы исследований (испытаний) и измерений, в том числе правила отбора образцов, необходимые для применения и исполнения технического регламента "О безопасности машин и оборудования" и осуществления оценки соответствия (распоряжение Правительства РФ от 05.08.2010 N 1328-р).

Документ введен в действие с 01.01.2006.
Название документа
"ГОСТ Р ИСО 8573-6-2005. Национальный стандарт Российской Федерации. Сжатый воздух. Часть 6. Методы контроля загрязнения газами"
(утв. и введен в действие Приказом Ростехрегулирования от 11.03.2005 N 48-ст)

"ГОСТ Р ИСО 8573-6-2005. Национальный стандарт Российской Федерации. Сжатый воздух. Часть 6. Методы контроля загрязнения газами"
(утв. и введен в действие Приказом Ростехрегулирования от 11.03.2005 N 48-ст)


Содержание


Утвержден и введен в действие
Приказом Федерального
агентства по техническому
регулированию и метрологии
от 11 марта 2005 г. N 48-ст
НАЦИОНАЛЬНЫЙ СТАНДАРТ РОССИЙСКОЙ ФЕДЕРАЦИИ
СЖАТЫЙ ВОЗДУХ
ЧАСТЬ 6
МЕТОДЫ КОНТРОЛЯ ЗАГРЯЗНЕНИЯ ГАЗАМИ
Compressed air. Part 6. Test methods for gaseous
contaminant content
ISO 8573-6:2003
Compressed air - Part 6: Test methods for gaseous
contaminant content
(IDT)
ГОСТ Р ИСО 8573-6-2005
Дата введения
1 января 2006 года
Предисловие
Задачи, основные принципы и правила проведения работ по государственной стандартизации в Российской Федерации установлены ГОСТ Р 1.0-92 "Государственная система стандартизации Российской Федерации. Основные положения" и ГОСТ Р 1.2-92 "Государственная система стандартизации Российской Федерации. Порядок разработки государственных стандартов"
Сведения о стандарте
1 ПОДГОТОВЛЕН Общероссийской общественной организацией "Ассоциация инженеров по контролю микрозагрязнений" (АСИНКОМ), ООО "ЭНСИ", ОАО "НИЦ КД", ОАО "Мосэлектронпроект" на основе собственного аутентичного перевода стандарта, указанного в пункте 4
2 ВНЕСЕН Техническим комитетом по стандартизации ТК 184 "Обеспечение промышленной чистоты"
3 УТВЕРЖДЕН И ВВЕДЕН В ДЕЙСТВИЕ Приказом Федерального агентства по техническому регулированию и метрологии от 11 марта 2005 г. N 48-ст
4 Настоящий стандарт идентичен международному стандарту ИСО 8573-6:2003 "Сжатый воздух. Часть 6. Методы контроля загрязнения газами" (ISO 8573-6:2003 "Compressed air - Part 6: Test methods for gaseous contaminant content")
При применении настоящего стандарта рекомендуется использовать вместо ссылочных международных стандартов соответствующие им национальные стандарты, сведения о которых приведены в Приложении Е
5 ВВЕДЕН ВПЕРВЫЕ
Информация об изменениях к настоящему стандарту публикуется в указателе "Национальные стандарты", а текст этих изменений - в информационных указателях "Национальные стандарты". В случае пересмотра или отмены настоящего стандарта соответствующая информация будет опубликована в информационном указателе "Национальные стандарты"
Введение
Серия международных стандартов по чистоте сжатого воздуха ИСО 8573 разработана Техническим комитетом ИСО/ТК 118 Compressors, pneumatic tools and pneumatic machines, Subcommittee SC 4, Quality of compressed air - Компрессоры, пневматические инструменты и пневматическое оборудование, подкомитет ПК 4 "Качество сжатого воздуха".
В указанную серию входят следующие стандарты:
- ИСО 8573-1:2001. Сжатый воздух. Часть 1. Загрязнения и классы чистоты;
- ИСО 8573-2:1996. Сжатый воздух. Часть 2. Методы контроля содержания масел в виде аэрозолей;
- ИСО 8573-3:1999. Сжатый воздух. Часть 3. Методы контроля влажности;
- ИСО 8573-4:2001. Сжатый воздух. Часть 4. Методы контроля содержания твердых частиц;
- ИСО 8573-5:2001. Сжатый воздух. Часть 5. Методы контроля содержания паров масла и органических растворителей;
- ИСО 8573-6:2003. Сжатый воздух. Часть 6. Методы контроля загрязнения газами;
- ИСО 8573-7:2003. Сжатый воздух. Часть 7. Метод контроля загрязнения жизнеспособными микроорганизмами;
- ИСО 8573-8:2004. Сжатый воздух. Часть 8. Методы контроля загрязнения твердыми частицами по массовой концентрации;
- ИСО 8573-9:2004. Сжатый воздух. Часть 9. Методы контроля содержания воды в жидкой фазе.
1 Область применения
Настоящий стандарт устанавливает методы контроля загрязнения сжатого воздуха газами, в том числе методы отбора проб, порядок выполнения контроля, оценки его результатов, неопределенности измерений и оформления протоколов для загрязнений оксидом углерода, диоксидом углерода, диоксидом серы, диоксидом азота и углеводородами (в ряду от С1 до С5; для С6 и выше - по ИСО 8573-5). Методы используются и в случаях контроля загрязнения другими газами.
2 Нормативные ссылки
В настоящем стандарте использованы нормативные ссылки на следующие стандарты:
ИСО 31-3:1992 Величины и единицы измерений. Часть 3. Механика
ИСО 1217:1996 Объемные компрессоры. Приемочные испытания
ИСО 2602:1980 Статистическая интерпретация результатов контроля. Оценка среднего. Доверительный интервал
ИСО 2854:1976 Статистическая интерпретация данных. Методы оценки и контроля, относящиеся к средним значениям и разбросу значений
ИСО 3857-1:1977 Компрессоры, пневматические инструменты и оборудование. Часть 1. Словарь. Общие положения
ИСО 5598:1985 Гидравлические системы и компоненты. Словарь
ИСО 8178-1:1996 Двигатели поршневые внутреннего сгорания. Измерения выхлопов отработавших газов. Часть 1. Стендовые измерения газообразных и твердых выхлопов отработавших газов
ИСО 8573-1:2001 Сжатый воздух. Часть 1. Загрязнения и классы чистоты
ИСО 8573-3:2001 Сжатый воздух. Часть 3. Методы контроля влажности
ИСО 8573-5:2001 Сжатый воздух. Часть 5. Методы контроля содержания паров масла и органических растворителей.
3 Термины и определения
В настоящем стандарте применены термины с соответствующими определениями по ИСО 8573-1 и обозначения по ИСО 1219-1. В таблице 1 приведены единицы измерения и другие обозначения.
Таблица 1
Единицы измерения и обозначения (эквиваленты)
Единица измерения
Пояснение
МПа [бар]
1 бар = 100 000 Па = 0,1 МПа
мл/м3 (ppmv) <a>
Объем примеси: в миллилитрах на 1 м3 сжатого воздуха или одна объемная часть примеси на один миллион объемных частей сжатого воздуха (1 ppm): 1/106 (мл/м3)
мл/м3 (ppmv) C1
Объем примеси: в миллилитрах на 1 м3 сжатого воздуха или одна объемная часть примеси на один миллион объемных частей сжатого воздуха (1 ppm): 1/106 (мл/м3), отнесенная к теоретической молекуле C1
мкг/г (ppmw)
Массовая часть примеси в микрограммах на 1 г сжатого воздуха (частей на миллион по массе или весу)
1% (объемный)
Объем примеси в процентах: 1/102 (мл/м3)
МПа(е) [бар(е)]
Эффективное давление
МПа(а) [бар(а)]
Стандартное значение абсолютного давления
<a> ppm - единица, не принятая в Международной системе (СИ). См. ИСО 31-3, пункт 2.3.3.
<b> В общепринятой практике продолжается использование единицы "вес" в понятии "масса", но такая практика не предусмотрена (ИСО 31-3).
4 Выбор методов контроля
Возможны два метода контроля загрязнений:
a) отбор проб и проведение анализа "на месте" ("на линии");
b) отбор проб "на месте" ("на линии") и проведение анализа в лаборатории.
Таблица 2
Рекомендуемые методы и оборудование для контроля
Анализ пробы
Загрязнение в газовой форме
Контрольно-измерительное оборудование
В лаборатории
Оксид углерода (CO)
Недисперсионный инфракрасный абсорбционный спектрометр (NDIR)
Диоксид углерода (CO2)
То же
Диоксид серы (SO2)
-"-
Ультрафиолетовая флюоресценция
Углеводороды (HC)
(от C1 до C5)
Детектор ионов с подогревом (HFID)
Оксиды азота (NOx)
Хемилюминисцентный детектор (CLD) с преобразователем NO2/NO и в варианте с подогревом (HCLD)
"На месте" ("на линии")
Все газы
Детекторная трубка для газов (по изменению цвета)
5 Методы отбора проб
5.1 Отбор проб в контейнеры
Отбор проб следует проводить при атмосферных условиях в специально предназначенные для этого контейнеры. Все измерения следует выполнять при атмосферных условиях.
Пробы в контейнеры (из этиленфторида пропилена) отбираются следующим образом.
Контейнер должен быть предназначен для отбора пробы газа. Поток газа в трубопроводе, из которого отбирается проба, должен быть турбулентным. Благодаря этому загрязнения распределяются равномерно, обеспечивая представительность пробы.
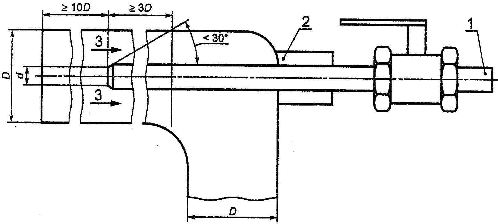
Контейнер следует подсоединить к точке отбора проб (рисунок 1) через редуцирующий клапан, политетрафторэтиленовую трубку (ПТФЭ) и соединение из ПТФЭ или нержавеющей стали, в зависимости от ожидаемых газовых загрязнений. Трубопровод должен быть защищен от возможного образования конденсата. Контейнер должен иметь вентиляционный клапан для продувки. До начала отбора пробы следует в течение 5 мин. выполнять продувку воздухом, находящимся в тестируемой системе. Переполнение контейнера не допускается. Размер контейнера должен соответствовать объему пробы. Повторное использование контейнера допускается только в том случае, если это предусмотрено изготовителем.
1 - пробоотборник в основном трубопроводе; 2 - муфта
для регулирования пробоотборника при установке;
3 - направление потока воздуха; D - диаметр основного
трубопровода; 10D - минимальный прямой участок трубопровода
до пробоотборника; 3D - минимальный прямой участок
трубопровода после пробоотборника; d - внутренний
диаметр пробоотборника
Рисунок 1 - Установка пробоотборника
После отбора пробы в лабораторию следует передать контейнер с пробой и неиспользованный (пустой) контейнер для сравнительной оценки.
5.2 Отбор проб "на линии"
Пробу следует отбирать с помощью пробоотборника из нержавеющей стали (рисунки 1, 2) при рабочем давлении в системе. Пробоотборник со стороны, противоположной подсоединению к системе сжатого воздуха, должен иметь клапан, пригодный для использования при всех значениях давления сжатого воздуха в данной системе. Пробоотборник должен быть чистым.
В миллиметрах
Исполнение пробоотборника
A
B
C
1
7
9,6
200
2
10
12,6
3
17
19,6
400
1 - направление потока воздуха; 2 - гладкое
высококачественное соединение; 3 - герметичное резьбовое
соединение; 4 - часть пробоотборника, присоединяемая
к держателю мембраны
Рисунок 2 - Пробоотборник из нержавеющей стали
Метод отбора проб приведен в Приложении С.
5.3 Отбор проб детекторной трубкой для газа
Метод отбора проб приведен в Приложении D.
6 Методы контроля
Рекомендуемые методы оценки концентрации загрязнений в лаборатории приведены в Приложении С. Действие рекомендуемых аналитических приборов (Приложение С) основано на принципах, указанных в таблице 2.
Необходимо принимать во внимание целостность систем контроля и требования к калибровке контрольно-измерительных приборов. Приборы должны эксплуатироваться в соответствии с инструкциями и с учетом определяемой концентрации загрязнений газами.
Для определения концентрации загрязнений "на месте" ("на линии") могут использоваться детекторные трубки. Цвет шкалы на трубке, благодаря химической реакции, изменяется пропорционально концентрации загрязнений в пробе сжатого воздуха (Приложение D).
7 Стандартные условия
Стандартные условия для проведения контроля параметров сжатого воздуха приведены в таблице 3.
Таблица 3
Стандартные условия
Параметр
Значение
Температура воздуха, °С
20
Давление воздуха, бар
1 <a> (абсолютное)
Относительное давление водяного пара (относительная влажность)
0
<a> 1 бар = 0,1 МПа
8 Оценка результатов
Результатами измерений являются значения концентрации загрязнений, выражаемые в единицах объема или в процентах (таблица 1).
9 Неопределенность измерений
Примечание - Вычисление вероятной ошибки в соответствии с настоящим разделом необязательно.
Благодаря природе физических измерений невозможно дать количественную оценку физической величине или определить истинное значение ошибки каждого отдельного измерения. Однако, если условия измерений известны, можно оценить или вычислить характеристическое отклонение измеряемой величины от истинного значения таким образом, что можно с определенной степенью достоверности утверждать, что истинная ошибка не превышает указанного отклонения. Значение этого отклонения (обычно это 95%-ный доверительный предел) представляет собой критерий точности для отдельного измерения.
Предполагается, что все систематические ошибки, которые могут иметь место при измерении отдельных величин и характеристик газа, могут быть скомпенсированы специальными действиями. Дополнительное предположение состоит в том, что доверительные пределы, обусловленные ошибками при снятии или интеграции показаний, можно не определять, если число измерений достаточно большое. Незначительные систематические ошибки, которые могут возникать, можно отнести к неточности измерений.
Данные о неопределенности измерений отдельных величин и доверительных пределов, характеризующих свойства газа, являются приблизительными и могут быть уменьшены за счет использования более совершенных приборов (ИСО 2602 и ИСО 2854).
10 Протокол контроля
10.1 Запись данных
Результаты контроля концентрации загрязнений в газообразной форме, содержащихся в сжатом воздухе, должны выражаться в единицах объема (таблица 1). Результаты контроля должны быть представлены достаточно подробно, чтобы их можно было проверить в соответствии с настоящим стандартом.
10.2 Требования к протоколу контроля
В протокол контроля концентрации загрязнений в газообразной форме, определенной по настоящему стандарту, следует внести:
a) данные о системе сжатого воздуха и условиях эксплуатации, достаточные для оценки приемлемости полученных данных о концентрации загрязнений;
b) данные о точке отбора проб;
c) данные о средствах отбора проб (особенно об используемых материалах), оценке результатов и протоколы калибровки (поверки);
d) слова "Заявленная концентрация загрязнений CO/CO2/SO2/HC/NO/NO2 по ИСО 8573-6" с указанием:
- фактических и средних величин, оцененных в соответствии с разделом 8,
- данных об атмосферных условиях,
- даты отбора проб и контроля;
e) данные об ошибке измерений.
Пример протокола контроля загрязнений приведен в Приложении A.
Приложение A
(справочное)
ПРИМЕР ПРОТОКОЛА КОНТРОЛЯ ЗАГРЯЗНЕНИЙ В СЖАТОМ ВОЗДУХЕ
Пример протокола приведен в таблице A.1.
Таблица A.1
┌────────────────────────────────────────────────────────────────┐
│ Цель испытаний - контроль загрязнений газами в системе сжатого│
│воздуха на ____________________________________________________,│
│ (наименование объекта) │
│состоящей из четырех компрессоров, охладителей и осушителя│
│холодильного типа, причем один компрессор находится в резерве,│
│два компрессора работают при полной нагрузке, один компрессор│
│работает при 50%-ной нагрузке; давление в сети - 0,7 МПа (7 бар)│
│ │
│ Виды загрязнений газами: СО, СО , SО , НС и NО │
│ 2 2 2 │
│ Отбор проб проводился с интервалом в 1 ч в течение 48 ч │
│ Каждая проба газа отбиралась в три пластиковых контейнера │
│________________________________________________________________│
│ (изготовитель) │
│ │
│ Атмосферные условия в процессе отбора проб: │
│ │
├───────────────────────┬─────────────┬────────────┬─────────────┤
│ Дата отбора проб │Температура, │ Давление │Относительная│
│ │ °С │воздуха, МПа│ влажность, %│
├───────────┬───────────┼─────────────┼────────────┼─────────────┤
│Начало │ │ 19,5 │ 0,1015 │ 49 │
├───────────┼───────────┼─────────────┼────────────┼─────────────┤
│Окончание │ │ 22,0 │ 0,1016 │ 42 │
├───────────┴───────────┴─────────────┴────────────┴─────────────┤
│ │
│ Примечание - Анализ проведен _________________________________ │
│ (наименование лаборатории) │
│с использованием оборудования _________________________________ │
│ (наименование оборудования) │
│Калибровка аналитических приборов проведена ___________________ │
│ (исполнитель, дата) │
│ │
│ В начале и после каждого измерения проверены показания приборов│
│на эталонный и нулевой газы │
│ Концентрация загрязнений газами определена по ИСО 8573-6 и │
│имеет следующие значения: │
│ │
├────────────────────────┬─────────┬───────────────┬─────────────┤
│ Вид загрязнения │Концент- │ Используемый │ Диапазон │
│ │рация │ диапазон │ измерений │
│ │ │ шкалы │ │
├────────────────────────┼─────────┼───────────────┼─────────────┤
│Оксид углерода (СО), │12 +/- 4 │Полный │От 0 до 25 │
│мл/куб. м или ppm │ │ │ │
│ v │ │ │ │
├────────────────────────┼─────────┤ ├─────────────┤
│Диоксид углерода (СО ), │349 +/- 8│ │От 0 до 1000 │
│ 2 │ │ │ │
│мл/куб. м или ppm │ │ │ │
│ v │ │ │ │
├────────────────────────┼─────────┤ ├─────────────┤
│Диоксид серы (SО ), │< 3 │ │От 0 до 10 │
│ 2 │ │ │ │
│мл/куб. м или ppm │ │ │ │
│ v │ │ │ │
├────────────────────────┼─────────┤ │ │
│Углеводороды (НС), │2 +/- 1 │ │ │
│мл/куб. м С или ppm С │ │ │ │
│ 1 v 1│ │ │ │
├────────────────────────┼─────────┤ │ │
│Оксиды азота (NO ), │< 3 │ │ │
│ x │ │ │ │
│мл/куб. м или ppm │ │ │ │
│ v │ │ │ │
├────────────────────────┴─────────┴───────────────┴─────────────┤
│Протокол подготовлен: │
│______________________ ________________________ │
│ (подпись) (место, дата) │
└────────────────────────────────────────────────────────────────┘
Приложение B
(справочное)
МЕТОДЫ КОНТРОЛЯ ПРИ ОТБОРЕ ПРОБ "НА МЕСТЕ"
И АНАЛИЗ В ЛАБОРАТОРИИ
B.1. Контейнер для отбора проб газа
Контейнер для отбора проб газа должен быть герметичным, изготовленным из инертного материала и иметь соединения для наполнения газом и подачи пробы на газовый хроматограф.
Пример. Отбор пробы может выполняться через мембрану с использованием герметичного шприца.
По техническим характеристикам контейнер должен выдерживать температуру, которую имеет отбираемая проба сжатого газа.
Не допускается в качестве материала для контейнера или его элементов использовать нержавеющую сталь, если в пробе сжатого газа присутствуют соединения серы. В этих случаях следует использовать контейнеры с защитным слоем и креплениями из политетрафторэтилена (ПТФЭ).
B.2. Отбор проб "на месте"
Отбор проб следует проводить в соответствии с разделом 5 настоящего стандарта.
B.3. Анализ в лаборатории
Анализ проб сжатого воздуха в лаборатории следует проводить согласно рекомендациям соответствующих организаций.
Приложение C
(справочное)
ОБОРУДОВАНИЕ ДЛЯ ОТБОРА ПРОБ "НА МЕСТЕ"
И АНАЛИЗА В ЛАБОРАТОРИИ
С.1. Оценка загрязнений газами
В настоящем Приложении рассматривается оборудование для оценки загрязнений сжатого воздуха газами. Может использоваться и другое оборудование, дающее эквивалентные результаты. На рисунке C.1 приведена схема оборудования для анализа сжатого воздуха. В таблице С.1 приведены условные обозначения, используемые на рисунке C.1.
1 - воздух; 2 - топливо; 3 - проба газа;
4 - вентиляционное отверстие; 5 - эталонный газ
Рисунок С.1 - Система анализа сжатого воздуха на содержание
CO, CO2, SO2, NOx (при помощи хемилюминисцентного детектора
с подогревом и нагретой пробоотборной линии)
и детектора ионов (при помощи детектора ионов
с подогревом и нагретой пробоотборной линии)
Таблица C.1
Основные обозначения, используемые на рисунке C.1
Обозначение
Описание
A
Контейнер с пробой
B
Ванна для охлаждения и конденсации воды из пробы <a>
C
Конвертер NO в NO2
CAS
Проба сжатого воздуха
CO
Недисперсионный инфракрасный абсорбционный
спектрометр (NDIR)
CO2
То же
FL1, FL2, FL3
Датчик расхода воздуха в обходном потоке
FL4, FL5, FL6, FL7
Датчик расхода воздуха через детектор
G1, G2, G3
Датчик давления в линии отбора проб, идущей к детектору
HC
Детектор ионов с подогревом (HFID)
HCLD
Хемилюминисцентный детектор с подогревом (HCLD)
HFID
Детектор ионов с подогревом (HFID)
HSL1, HSL2
Линии для проб с подогревом из нержавеющей стали или ПТФЭ <b>
NO
Хемилюминисцентный детектор с подогревом (HCLD)
P
Компрессор
R1, R2
Регуляторы давления для воздуха и топлива
R3, R4, R5
Регулятор давления пробы
SL
Линия отбора проб <c>
SO2
Недисперсионный инфракрасный абсорбционный спектрометр (NDIR) для диоксида серы
SP
Контроль давления и мониторинг потока в трубопроводе со сжатым воздухом
T1
Датчик температуры для потока пробы на входе детектора ионов с подогревом (HFID)
T2
Датчик температуры для потока пробы на входе хемилюминисцентного детектора ионов с подогревом (HCLD)
T3
Датчик температуры конвертера NО в NО2
T4
Датчик температуры для ванной
V1
Клапан для отбора проб и запирания линии отбора проб
V10, V11
Игольчатые клапаны для регулирования потоков к анализаторам
V2, V3, V4, V5, V6
Клапаны для пробы "нулевого газа" или калибровки потоков газа к детекторам
V7, V8
Трехходовые клапаны для создания обхода конвертера NО в NО2
V9
Игольчатый клапан для регулирования потока в обход конвертера NО в NО2
V12, V13, V14
Игольчатые клапаны для ограничения сбрасываемого воздуха из редуцирующих понижающих клапанов
<a> Температура ванны должна поддерживаться от 0 °С до 4 °C при помощи льда или холодильника.
<b> Температура должна поддерживаться от 95 °С до 200 °C.
<c> Линия должна быть изготовлена из ПТФЭ или нержавеющей стали. Она может быть с подогревом и без него.
C.2. Контроль проб
После проверки установки анализаторов и соответствующего оформления документации с помощью записывающего устройства или иной эквивалентной системы регистрации данных контейнер с пробой подсоединяется к аналитической системе через трехходовой клапан на время пропускания воздуха помещения или иного воздуха через систему. Затем клапан переключается в положение, при котором проба пропускается через систему так, чтобы детекторы показывали концентрацию загрязнения в ней. Считывания должны быть стабильными в течение, по крайней мере, 3 мин., чтобы обеспечить представительность получаемых данных. В течение этого времени следует вести запись результатов. Данные о концентрации могут определяться непосредственно (вручную) по полученным результатам или с помощью электронной техники, которая автоматически определяет стабильность показаний детекторов в течение 3 мин. и распечатывает данные о концентрации загрязнений.
Приложение D
(справочное)
ОБОРУДОВАНИЕ ДЛЯ КОНТРОЛЯ ЗАГРЯЗНЕНИЙ "НА МЕСТЕ".
ОБОРУДОВАНИЕ ДЛЯ ОТБОРА ПРОБ. ОТБОР ПРОБ В ДЕТЕКТОРНЫЕ
ТРУБКИ ДЛЯ ГАЗОВ
D.1. Оборудование для отбора проб
Пробы отбираются из трубопровода со сжатым воздухом детекторной трубкой для газа. Концентрация загрязнений определяется по изменению цвета во входной зоне трубки, который сравнивается со шкалой на трубке. Отбор проб выполняется до тех пор, пока приемлемый уровень достоверности не будет достигнут.
На рисунке D.1 приведен пример схемы работы с детекторной трубкой.
1 - система сжатого воздуха (точка отбора проб);
2 - регулятор давления; 3- игольчатый клапан;
4 - расходомер воздуха; 5 - детекторная
трубка; 6 - датчик давления
Рисунок D.1. Пример схемы работы с детекторной трубкой
D.2. Измерительное оборудование
Для контроля загрязнения газами в сжатом воздухе используется метод детекторных трубок.
Детекторные трубки используются практически для всех загрязнений газами и в некоторых случаях для газов более одного вида [1].
Принцип работы этих трубок основан на химической реакции, вызываемой определенным элементом (соединением) и приводящей к изменению цвета. Количество реагента, находящегося в трубке, соответствует определенным пределам концентрации загрязнений, поступающим в трубку. Поскольку химическая реакция следует стехиометрической зависимости, то для достоверных показаний в трубку следует подавать строго определенный объем газа.
Концентрация загрязнений определяется по изменению цвета во входной зоне трубки, которое пропорционально концентрации загрязнений, скорости отбора пробы и времени отбора пробы.
Приложение Е
(справочное)
СВЕДЕНИЯ О СООТВЕТСТВИИ НАЦИОНАЛЬНЫХ СТАНДАРТОВ
РОССИЙСКОЙ ФЕДЕРАЦИИ ССЫЛОЧНЫМ МЕЖДУНАРОДНЫМ
(РЕГИОНАЛЬНЫМ) СТАНДАРТАМ
Таблица Е.1
Обозначение ссылочного международного стандарта
Обозначение и наименование соответствующего национального стандарта
ИСО 8573-1:2001
ГОСТ Р ИСО 8573-1-2005 Сжатый воздух. Часть 1. Загрязнения и классы чистоты (IDТ)
ИСО 2854:1976
ГОСТ Р 50779.21-2004 Статистические методы. Правила определения и методы расчета статистических характеристик по выборочным данным. Часть 1. Нормальное распределение
БИБЛИОГРАФИЯ
[1] EN 1231. Workplace atmospheres. Short term detector tube measurement systems. Requirements and test methods