Главная // Актуальные документы // ГОСТ Р (Государственный стандарт)СПРАВКА
Источник публикации
М.: Стандартинформ, 2019
Примечание к документу
Документ
введен в действие с 1 июля 2019 года.
Название документа
"ГОСТ Р 58276-2018. Национальный стандарт Российской Федерации. Смеси сухие строительные на гипсовом вяжущем. Методы испытаний"
(утв. и введен в действие Приказом Росстандарта от 28.12.2018 N 1186-ст)
"ГОСТ Р 58276-2018. Национальный стандарт Российской Федерации. Смеси сухие строительные на гипсовом вяжущем. Методы испытаний"
(утв. и введен в действие Приказом Росстандарта от 28.12.2018 N 1186-ст)
Утвержден и введен в действие
агентства по техническому
регулированию и метрологии
от 28 декабря 2018 г. N 1186-ст
НАЦИОНАЛЬНЫЙ СТАНДАРТ РОССИЙСКОЙ ФЕДЕРАЦИИ
СМЕСИ СУХИЕ СТРОИТЕЛЬНЫЕ НА ГИПСОВОМ ВЯЖУЩЕМ
МЕТОДЫ ИСПЫТАНИЙ
Dry building mixes based on gypsum binder.
Test methods
ГОСТ Р 58276-2018
Дата введения
1 июля 2019 года
1 РАЗРАБОТАН Ассоциацией "Союз производителей сухих строительных смесей" (Ассоциация "СПССС") при участии Федерального государственного бюджетного образовательного учреждения высшего образования "Национальный исследовательский Московский государственный строительный университет" (НИУ МГСУ)
2 ВНЕСЕН Техническим комитетом по стандартизации ТК 144 "Строительные материалы (изделия) и конструкции"
3 УТВЕРЖДЕН И ВВЕДЕН В ДЕЙСТВИЕ
Приказом Федерального агентства по техническому регулированию и метрологии от 28 декабря 2018 г. N 1186-ст
4 ВВЕДЕН ВПЕРВЫЕ
Правила применения настоящего стандарта установлены в статье 26 Федерального закона от 29 июня 2015 г. N 162-ФЗ "О стандартизации в Российской Федерации". Информация об изменениях к настоящему стандарту публикуется в ежегодном (по состоянию на 1 января текущего года) информационном указателе "Национальные стандарты", а официальный текст изменений и поправок -
в ежемесячном информационном указателе "Национальные стандарты". В случае пересмотра (замены) или отмены настоящего стандарта соответствующее уведомление будет опубликовано в ближайшем выпуске ежемесячного информационного указателя "Национальные стандарты". Соответствующая информация, уведомление и тексты размещаются также в информационной системе общего пользования -
на официальном сайте Федерального агентства по техническому регулированию и метрологии в сети Интернет (www.gost.ru)
Настоящий стандарт распространяется на сухие строительные смеси (далее - сухие смеси), изготавливаемые на гипсовых вяжущих, смешанных (сложных) минеральных вяжущих на основе гипсового вяжущего, содержащие полимерные добавки не более 5% (в сухом состоянии) от массы смеси, предназначенные для внутренних работ при строительстве, реконструкции и ремонте зданий и сооружений.
Настоящий стандарт устанавливает методы определения следующих показателей качества:
а) для сухих смесей:
- влажность,
- содержание зерен заполнителя наибольшей крупности;
б) растворных смесей:
- подвижность,
- время жизни растворной смеси,
- водоудерживающая способность,
- выход раствора из 1 кг сухой смеси;
в) затвердевших растворов:
- прочность сцепления (адгезии) затвердевших растворов с основанием,
- предел прочности на растяжение при изгибе,
- предел прочности при сжатии,
- стойкость к образованию трещин,
- шлифуемость,
- стойкость к воздействию воды.
Для сухих смесей при необходимости и/или по требованию потребителя дополнительно определяют насыпную плотность, для затвердевших растворов - среднюю плотность. Методы определения насыпной плотности и средней плотности должны быть указаны в стандарте на смесь конкретного вида.
Примечание - Методы определения показателей качества смесей, не приведенные в настоящем стандарте, устанавливают в стандартах или технических условиях, по которым изготавливают эти смеси.
В настоящем стандарте использованы нормативные ссылки на следующие межгосударственные стандарты:
ГОСТ 310.4 Цементы. Методы определения предела прочности при изгибе и сжатии
ГОСТ 427 Линейки измерительные металлические. Технические условия
ГОСТ 450 Кальций хлористый технический. Технические условия
ГОСТ 1770 (ИСО 1042-83, ИСО 4788-80) Посуда мерная лабораторная стеклянная. Цилиндры, мензурки, колбы, пробирки. Общие технические условия
ГОСТ 6613 Сетки проволочные тканые с квадратными ячейками. Технические условия
ГОСТ 11109 Марля бытовая хлопчатобумажная. Общие технические условия
ГОСТ 12026 Бумага фильтровальная лабораторная. Технические условия
ГОСТ 23732 Вода для бетонов и строительных растворов. Технические условия
ГОСТ 23932 Посуда и оборудование лабораторные стеклянные. Общие технические условия
ГОСТ 25336 Посуда и оборудование лабораторные стеклянные. Типы, основные параметры и размеры
ГОСТ 28840 Машины для испытания материалов на растяжение, сжатие и изгиб. Общие технические требования
ГОСТ 31360 Изделия стеновые неармированные из ячеистого бетона автоклавного твердения. Технические условия
ГОСТ 32614 (EN 520:2009) Плиты гипсовые строительные. Технические условия
ГОСТ Р 53228 Весы неавтоматического действия. Часть 1. Метрологические и технические требования. Испытания
ГОСТ Р 58277 Смеси сухие строительные на цементном вяжущем. Методы испытаний
Примечание - При пользовании настоящим стандартом целесообразно проверить действие ссылочных стандартов в информационной системе общего пользования - на официальном сайте Федерального агентства по техническому регулированию и метрологии в сети Интернет или по ежегодному информационному указателю "Национальные стандарты", который опубликован по состоянию на 1 января текущего года, и по выпускам ежемесячного информационного указателя "Национальные стандарты" за текущий год. Если заменен ссылочный стандарт, на который дана недатированная ссылка, то рекомендуется использовать действующую версию этого стандарта с учетом всех внесенных в данную версию изменений. Если заменен ссылочный стандарт, на который дана датированная ссылка, то рекомендуется использовать версию этого стандарта с указанным выше годом утверждения (принятия). Если после утверждения настоящего стандарта в ссылочный стандарт, на который дана датированная ссылка, внесено изменение, затрагивающее положение, на которое дана ссылка, то это положение рекомендуется применять без учета данного изменения. Если ссылочный стандарт отменен без замены, то положение, в котором дана ссылка на него, рекомендуется применять в части, не затрагивающей эту ссылку.
3.1 Испытания сухих смесей на гипсовом вяжущем проводят при температуре воздуха в помещении (20 +/- 2) °C и относительной влажности (60 +/- 10)%.
3.2 Приборы и испытательное оборудование, применяемые при проведении испытаний, должны быть изготовлены из водостойких материалов, не реагирующих с сульфатом кальция (стекло, нержавеющая сталь, пластмасса и др.), и не иметь повреждений и следов затвердевшего раствора.
3.3 Применяемые средства измерения должны быть проверены (калиброваны), а испытательное оборудование - аттестовано и соответствовать требованиям настоящего стандарта.
3.4 Для каждого испытания следует использовать новую пробу сухой смеси.
3.5 Результаты испытаний сухих смесей заносят в журнал, в котором указывают:
- наименование предприятия - изготовителя сухой смеси;
- условное обозначение сухой смеси в соответствии со стандартом или техническими условиями на смесь конкретного вида;
- наименование определяемого показателя качества;
- дату испытания;
- место отбора проб;
- результаты частных определений каждого показателя и среднеарифметические значения результатов испытаний.
В журнал следует также вносить сведения о внешнем виде и состоянии упаковки, в которой доставлена проба сухой смеси.
4 Правила отбора проб сухих смесей
4.1 Для контроля качества сухих смесей, упакованных в мешки или пакеты, отбирают по одной точечной пробе от каждой упаковочной единицы, попавшей в выборку. Объем выборки должен быть указан в стандарте или технических условиях на смесь конкретного вида. Если объем выборки не указан, от каждой партии сухой смеси отбирают методом случайного отбора не менее трех упаковочных единиц.
Точечные пробы отбирают из середины каждого мешка или пакета при помощи пробоотборника.
При упаковке сухих смесей в мягкие контейнеры (биг-бэги) точечные пробы отбирают из верхнего слоя.
4.2 Точечные пробы на технологической линии отбирают в соответствии с технологической документацией предприятия - изготовителя сухой смеси.
Точечные пробы могут быть отобраны при засыпке сухой смеси в мешки или пакеты на выходе из бункера-накопителя фасовочной установки готовой продукции через равные промежутки времени, но не менее трех проб.
4.3 Общая масса отобранных точечных проб должна обеспечивать получение объединенной пробы, достаточной для проведения не менее двух определений каждого нормируемого и контролируемого показателя качества сухой смеси.
4.4 Отобранные точечные пробы соединяют и тщательно перемешивают ручным или механическим способом для получения объединенной пробы. Не допускается составлять объединенную пробу из смесей разных партий.
Объединенную пробу до проведения испытания должны хранить в закрытой герметичной емкости, исключающей ее увлажнение.
4.5 Перед проведением испытаний объединенную пробу сокращают методом квартования или при помощи делителя порошкообразных материалов.
Для квартования объединенную пробу (после ее перемешивания) разравнивают и делят на четыре части взаимно перпендикулярными линиями, проходящими через центр. Две любые противоположные четверти соединяют и перемешивают. Последовательным квартованием пробу сокращают в два, четыре раза и т.д., до получения однородной лабораторной пробы.
Масса лабораторной пробы должна быть достаточной для определения всех контролируемых показателей качества смесей. Лабораторную пробу должны хранить в закрытой герметичной емкости, исключающей ее увлажнение.
Из лабораторной пробы отбирают навески для определения одного показателя в соответствии с методикой испытания.
5 Методы испытаний сухих смесей
5.1 Определение влажности
Влажность сухой смеси определяют по разности масс навески смеси до и после ее высушивания до постоянной массы при температуре (45 +/- 3) °C.
5.1.1 Средства испытания и вспомогательные устройства
Весы с пределом допускаемой погрешности взвешивания +/- 0,01 г.
Шкаф сушильный, обеспечивающий температуру (45 +/- 3) °C.
Кальций хлористый (хлорид кальция) по
ГОСТ 450, прокаленный при температуре от 700 °C до 800 °C.
Чашка для сушки навески сухой смеси по
ГОСТ 23932.
Приборы-анализаторы с погрешностью измерения +/- 0,1%.
5.1.2 Проведение испытания
Навеску сухой смеси массой не менее 100 г, отобранной от подготовленной в соответствии с
4.5 лабораторной пробы, помещают в предварительно взвешенную бюксу, распределяют равномерным слоем толщиной не более 2 мм и взвешивают с погрешностью +/- 0,01 г.
Навеску высушивают в сушильном шкафу при температуре (45 +/- 3) °C в течение не менее 1 ч до постоянной массы, охлаждают до комнатной температуры в эксикаторе, нижний отдел которого заполнен хлористым кальцием, и взвешивают с погрешностью +/- 0,01 г.
Массу навески считают постоянной, если разность между результатами двух последовательных взвешиваний не превышает 0,05 г.
Влажность сухой смеси может быть определена на приборе-анализаторе, если погрешность определения на приборе не превышает +/- 0,1% первоначальной массы навески. Испытание на приборе-анализаторе проводят в соответствии с инструкцией к прибору.
5.1.3 Обработка результатов испытания
Влажность сухой смеси W, % по массе, вычисляют с точностью до 0,1% по формуле

(1)
где m1 - масса бюксы с навеской до сушки, г;
m2 - масса бюксы с навеской после сушки, г;
m - масса бюксы, г.
За результат испытания принимают среднеарифметическое значение результатов испытания двух навесок, округленное до первой значащей цифры после запятой.
5.2 Метод определения содержания зерен заполнителя наибольшей крупности
5.2.1 Сущность метода
Содержание зерен заполнителя наибольшей крупности определяют путем рассева сухой смеси на стандартном наборе сит по размеру ячейки того сита, на котором зафиксирован первый остаток.
5.2.2 Средства испытания и вспомогательные устройства
Весы с пределом допускаемой погрешности взвешивания +/- 0,01 г.
Набор сит по
ГОСТ 6613 и сита с круглыми отверстиями диаметрами 10; 5 и 2,5 мм.
Шкаф сушильный, обеспечивающий температуру (45 +/- 3) °C.
Кисть для очистки сита от остатков сухой смеси.
Приборы-анализаторы с погрешностью измерения +/- 0,1%.
5.2.3 Подготовка к испытанию
Если влажность сухой смеси выше 1,0%, аналитическую пробу сухой смеси массой не менее 100 г высушивают до постоянной массы.
5.2.4 Проведение испытания
Пробу сухой смеси просеивают через сита с круглыми отверстиями диаметрами 10 и 5 мм.
Остатки на ситах взвешивают и вычисляют содержание в сухой смеси фракций гравия с размером зерен от 5 до 10 мм (Гр5) и свыше 10 мм (Гр10), % масс., по формулам:

(2)

(3)
где M10 - остаток на сите с круглыми отверстиями диаметром 10 мм, г;
M5 - остаток на сите с круглыми отверстиями диаметром 5 мм, г;
M - масса пробы, г.
Если вся проба сухой смеси прошла через сито с отверстиями диаметром 5 мм, то подготовленную навеску просеивают через набор сит с круглыми отверстиями диаметром 2,5 мм и с сетками N 1,25; 063; 0315; 020 и 016.
Просеивание производят механическим или ручным способом. Продолжительность просеивания должна быть такой, чтобы при контрольном интенсивном ручном встряхивании каждого сита в течение 1 мин через него проходило не более 0,1% общей массы просеиваемой навески. При механическом просеивании его продолжительность для применяемого прибора устанавливают опытным путем.
При ручном просеивании допускается определять окончание просеивания, интенсивно встряхивая каждое сито над листом бумаги. Просеивание считают законченным, если при этом практически не наблюдается падения зерен заполнителя.
Если испытанию подвергают смесь с декларируемой наибольшей крупностью зерен 0,315 мм или менее, просеивание производят вручную с применением кисти.
Примечание - Когда известно декларируемое значение размера зерен наибольшей крупности, рассев проводят на сите, соответствующем данному значению. Для исключения возможности ошибки производят контрольное просеивание на сите размером, предшествующим декларируемому значению (например, если декларируемое значение равно 1,25 мм, то в качестве контрольного сита выбирают сито с размером ячейки 2,5 мм). Если в результате контрольного просеивания установлено наличие зерен крупности более заявленного значения, смесь бракуют.
5.2.5 Обработка результатов
Частный остаток на сите ai вычисляют в процентах по формуле

(4)
где mi - масса остатка на данном сите, г;
m - масса просеиваемой навески, г.
5.2.6 Результат испытания
В лабораторный журнал заносят номер сита, соответствующий наибольшей крупности зерен заполнителя, и частный остаток на нем, выраженный в процентах.
За результат испытания принимают среднеарифметическое значение результатов двух определений содержания зерен на сите, соответствующем наибольшей крупности зерен заполнителя.
Допускается определять зерновой состав на приборе-анализаторе, если погрешность измерения на приборе не превышает аналогичный показатель, установленный при испытании вручную +/- 0,1%. При определении зернового состава на приборе-анализаторе контрольное просеивание проводят вручную.
Просеивание на приборе-анализаторе проводят в соответствии с инструкцией к прибору.
6 Методы испытаний растворных смесей
6.1 Приготовление растворных смесей для испытаний
6.1.1 Для приготовления растворных смесей, предназначенных для испытаний, применяют воду по
ГОСТ 23732.
6.1.2 Растворные смеси приготавливают в смесителе по
ГОСТ Р 58277.
6.1.3 Для каждого испытания используют новую пробу растворной смеси.
6.2 Определение подвижности
Подвижность по расплыву конуса определяют по диаметру расплыва образца растворной смеси, мм, помещенной в форму-конус, после снятия формы и встряхивания смеси на встряхивающем столике.
6.2.1 Средства испытания и вспомогательные устройства
Линейка по
ГОСТ 427 длиной 250 мм с ценой деления 1 мм.
Весы с пределом допускаемой погрешности взвешивания +/- 1 г.
Цилиндр мерный по
ГОСТ 1770 с ценой деления 1 мл.
Секундомер.
6.2.2 Подготовка к испытанию
Воду в объеме, указанном в маркировке сухой смеси и необходимом для получения растворной смеси требуемой подвижности, выливают в чашу смесителя, предварительно протертую влажной тканью. В течение 5 - 10 с высыпают 2000 г сухой смеси, включают смеситель. Смесь приготавливают в смесителе в следующей последовательности:
- перемешивание в течение 120 с;
- остановка смесителя для снятия налипшей на стенки смесителя смеси в течение 120 с;
- перемешивание в течение 60 с.
6.2.3 Проведение испытания
Форму устанавливают на пластинку в центре встряхивающего столика. Эксцентриситет установки формы относительно центра пластинки на столике не должен превышать 1 мм. Пластинку и форму следует предварительно протереть влажной тканью.
Заполняют форму растворной смесью до верха и снимают избыток смеси металлической линейкой. При необходимости между стенкой формы и растворной смесью проводят тонким узким шпателем, слегка смоченным влажной тканью. Через 10 - 15 с форму поднимают строго вверх. Встряхивают растворную смесь 15 раз с постоянной частотой один удар в секунду. Измеряют диаметр расплыва образца растворной смеси в двух взаимно перпендикулярных направлениях с погрешностью +/- 1 мм и определяют среднеарифметическое значение, которое округляют до 5 мм.
Определение подвижности по расплыву конуса повторяют, используя новую пробу сухой смеси.
За окончательный результат испытания принимают среднеарифметическое значение результатов измерения диаметра расплыва двух образцов растворной смеси, округленное до 5 мм.
6.3 Определение времени жизни растворной смеси
Время жизни растворной смеси характеризует продолжительность переработки растворной смеси.
Время жизни растворной смеси в соответствии с настоящим стандартом может быть определено двумя способами.
6.3.1 Определение времени жизни растворной смеси по расплыву конуса
Сущность метода заключается в измерении подвижности растворной смеси по расплыву конуса через равные промежутки времени до момента ее снижения на 20% от первоначального значения.
Измерение подвижности производят согласно
6.2.
Измерения начинают производить не менее чем за 20 мин до предполагаемого времени жизни растворной смеси. Периодичность измерений составляет 5 мин. Непосредственно перед очередным измерением подвижности растворную смесь следует перемешать вручную в течение 10 с.
За время жизни растворной смеси принимают время от момента затворения сухой смеси водой до момента последнего измерения подвижности, когда ее значение составляло не менее 20% от начального значения.
6.3.2 Определение времени жизни растворной смеси по погружению конуса
Сущность метода заключается в определении глубины погружения в растворную смесь требуемой подвижности съемного конуса, установленного на приборе Вика.
6.3.2.1 Средства испытания и вспомогательные устройства:
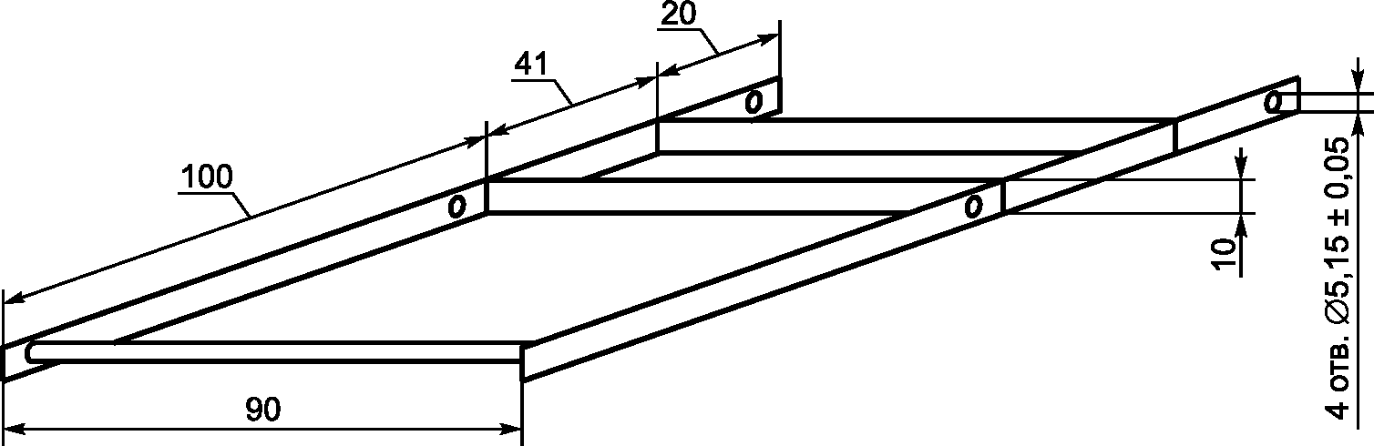
- прибор Вика (см.
рисунок 1), оборудованный съемным конусом, закрепленным на подвижном стержне (см.
рисунок 2), и пластинкой-фиксатором (см.
рисунок 3); масса съемного конуса с подвижным стержнем - (100 +/- 0,5) г;
- пластинка стеклянная размером 150 x 150 мм;
- весы по
ГОСТ Р 53228 с пределом допускаемой погрешности взвешивания +/- 1 г;
- мерный цилиндр по
ГОСТ 1770 с ценой деления 1 мл;
- секундомер.
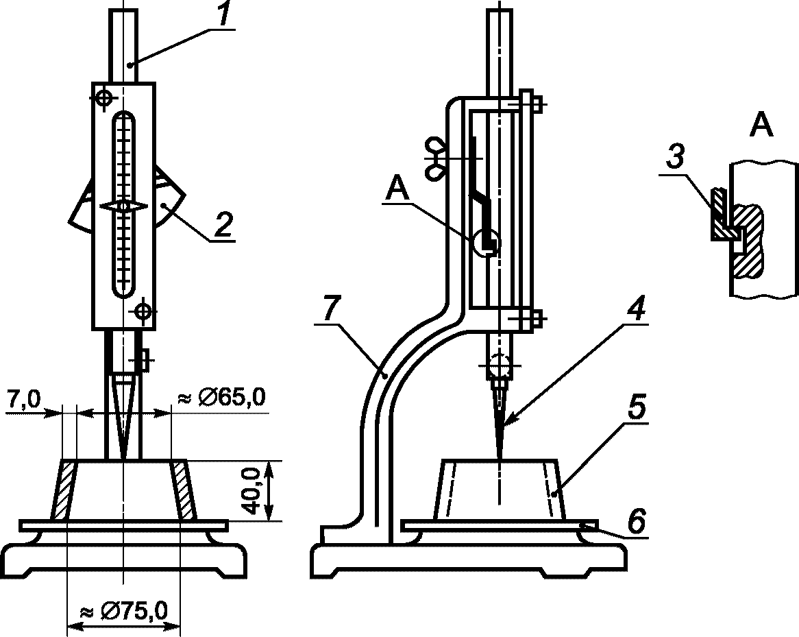
1 - подвижный стержень; 2 - пластинка - фиксатор подвижного
стержня; 3 - пружинная пластина; 4 - погружной съемный
конус; 5 - кольцо Вика; 6 - стеклянная пластинка; 7 - штатив
Рисунок 1 - Прибор Вика со съемным конусом
а) Съемный конус, материал - сталь
б) Подвижный стержень, материал - алюминиевый сплав
Рисунок 2 - Подвижная часть прибора Вика
Рисунок 3 - Пластинка - фиксатор подвижного стержня
с конусом
6.3.2.2 Подготовка к испытанию
Приготавливают растворную смесь в соответствии с
6.2.2 с подвижностью, указанной в технических условиях на смесь конкретного вида.
При приготовлении растворной смеси фиксируют время засыпки сухой смеси в воду t0 (начало затворения).
6.3.2.3 Проведение испытания
Приготовленную растворную смесь переносят в форму, установленную на стеклянную пластинку. Для удаления воздуха из смеси форму с пластинкой встряхивают четыре-пять раз, поднимая одну из сторон пластинки приблизительно на 10 мм и затем отпуская ее. Удаляют избыток смеси металлической линейкой вровень с краями формы и устанавливают стеклянную пластинку с формой на основание прибора Вика. Конус, закрепленный на подвижном стержне прибора Вика, устанавливают поворотом пластины-фиксатора так, чтобы острием он касался поверхности смеси, и фиксируют его в этом положении. Для погружения конуса в смесь освобождают подвижный стержень прибора Вика нажатием на пластинку-фиксатор. По шкале прибора определяют глубину погружения конуса. После каждого погружения конус очищают и высушивают, интервал между погружениями должен составлять 1/20 от декларируемого производителем значения времени жизни. Расстояние между точками погружения конуса - не менее 12 мм.
За время жизни растворной смеси принимают время от момента затворения сухой смеси водой до момента, когда конус погружается в смесь на глубину (22 +/- 2) мм.
Время жизни растворной смеси T, мин, вычисляют по формуле
T = t1 - t0, (5)
где t1 - время, когда конус погружают в смесь на глубину (22 +/- 2) мм, мин;
t0 - начало затворения сухой смеси водой, мин.
Примечание - Время жизни растворной смеси может быть определено на приборе, работающем в автоматическом режиме, при условии, что разность между результатами испытания на приборе и при ручном определении не превышает 60 с.
6.4 Определение водоудерживающей способности
Сущность метода заключается в определении количества воды, удерживаемой растворной смесью после затворения ее водой и распределения на поглощающем воду основании.
6.4.1 Средства испытания и вспомогательные устройства
Прокладки размером 250 x 350 мм из марлевой ткани по
ГОСТ 11109.
Кольцо из нержавеющего и не поглощающего воду материала внутренним диаметром 100 мм, высотой 12 мм и толщиной стенки 5 мм.
Пластинка стеклянная размером 150 x 150 мм, толщиной 5 мм.
Лабораторные весы с диапазоном взвешивания не менее 500 г и пределом допускаемой погрешности взвешивания +/- 0,1 г.
Устройство для определения водоудерживающей способности растворной смеси (см.
рисунок 4).
1 - кольцо со смесью; 2 - прокладка из марлевой ткани;
3 - десять листов бумаги; 4 - стеклянная пластинка
Рисунок 4 - Схема устройства для определения
водоудерживающей способности
6.4.2 Подготовка к испытанию
Десять листов бумаги взвешивают с погрешностью +/- 0,1 г, помещают на стеклянную пластинку и сверху укладывают прокладку из марлевой ткани. На прокладку устанавливают металлическое кольцо и все устройство взвешивают с погрешностью +/- 0,1 г.
Приготавливают растворную смесь в соответствии с
6.2.2 с подвижностью, указанной в
6.2.3.
6.4.3 Проведение испытания
Приготовленную смесь укладывают в металлическое кольцо вровень с краями, выравнивают ножом, протертым влажной тканью, взвешивают с погрешностью +/- 0,1 г и оставляют на 10 мин.
По истечении 10 мин кольцо со смесью снимают вместе с марлей. Бумагу взвешивают с погрешностью +/- 0,1 г.
Водоудерживающую способность смеси устанавливают по содержанию воды в пробе смеси после испытания.
Водоудерживающую способность смеси B, %, вычисляют по формуле

(6)
где m3 - масса бумаги после испытания, г;
m - масса бумаги до испытания, г;
m2 - масса устройства с растворной смесью, г;
m1 - масса устройства без растворной смеси, г;
ВТ - водо-твердое отношение: численное отношение массы воды затворения к массе затворяемой сухой смеси.
За результат испытания принимают среднеарифметическое значение результатов испытаний двух проб.
6.5 Определение выхода раствора из 1 кг сухой смеси
Выход раствора из 1 кг сухой смеси определяют как объем растворной смеси, выраженный в литрах, получаемый при приготовлении 1 кг сухой смеси заданной подвижности.
6.5.1 Средства испытания и вспомогательные устройства
Весы по
ГОСТ Р 53228 с пределом допустимой погрешности +/- 1 г.
Сосуд цилиндрический из не впитывающего воду материала: объемом 2000 см3 при испытании смеси с декларируемым выходом менее 1 л или объемом 3000 см3 при испытании смеси с декларируемым выходом более 1 л.
Секундомер.
Линейка измерительная металлическая по
ГОСТ 427.
6.5.2 Подготовка к испытанию
1 кг сухой смеси затворяют количеством воды, указанным производителем на упаковке, и приготавливают растворную смесь в соответствии с
6.2.2.
6.5.3 Проведение испытания
Приготовленной растворной смесью заполняют выбранный цилиндрический сосуд и уплотняют ее пятью ударами о стол, поднимая дно цилиндра на высоту 10 мм. В лабораторном журнале фиксируют значения диаметра мерного цилиндра D и высоты раствора в мерном цилиндре h, измеренных с помощью металлической линейки.
6.5.4 Обработка результатов
Единичное значение выхода раствора из 1 кг сухой смеси Вс.с, л, вычисляют по формуле

(7)
где mс.с - масса сухой смеси, равная 1 кг;
D - диаметр мерного цилиндра, мм;
h - высота раствора в мерном цилиндре, мм.
За выход раствора из 1 кг сухой смеси принимают среднее арифметическое значение результатов двух испытаний, при этом полученные единичные значения должны отличаться не более чем на 10%.
7 Методы испытаний затвердевших растворов
7.1 Определение прочности сцепления с основанием
Сущность метода заключается в определении предельного сопротивления затвердевшего раствора отрыву от основания.
7.1.1 Средства испытания и вспомогательные устройства
Основание - плита бетонная по
ГОСТ Р 58277. При определении прочности сцепления в качестве основания (например, по просьбе потребителя) могут быть использованы другие виды материалов (кирпич, природный камень, гипсовые плиты и др.) в зависимости от области применения сухой смеси при условии выполнения требований настоящего стандарта. Метод с применением в качестве основания бетонной плиты является основным (арбитражным).
Шпатель металлический.
Трафарет из нержавеющей стали толщиной 5 мм с квадратными отверстиями размером 50 x 50 мм или круглыми отверстиями диаметром 50 мм. Допускается использование трафарета, изготовленного из других невпитывающих и коррозионно-стойких материалов. Толщину трафарета допускается при необходимости принимать по рекомендации изготовителя сухой смеси, но не более 10 мм и не менее 3 мм. Расстояние между отверстиями, а также между отверстиями и краями трафарета должно быть не менее 20 мм. Число отверстий должно быть не менее пяти. Допускается изготавливать трафарет из другого материала, обеспечивающего жесткость трафарета и не поглощающего воду из растворной смеси.
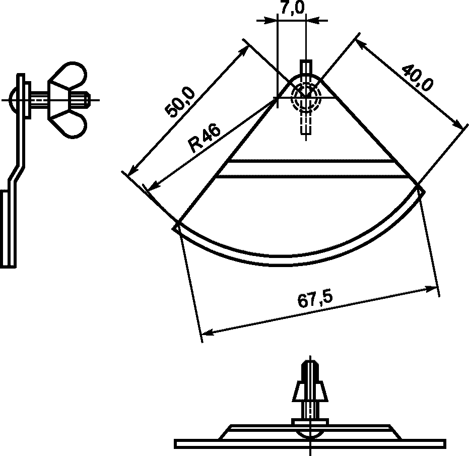
Кольцо усеченное коническое с острыми краями, внутренним диаметром (50,0 +/- 0,1) мм и высотой (25,0 +/- 0,1) мм, изготовленное из нержавеющей стали или латуни (см.
рисунок 5).
Рисунок 5 - Усеченное коническое кольцо
Фреза кольцевая диаметром (50 +/- 5) мм для изготовления образцов прорезанием кольцевого паза в затвердевшей смеси.
Камера для выдерживания образцов, обеспечивающая твердение образцов при температуре (20 +/- 2) °C и относительной влажности воздуха (60 +/- 10)%.
Пластинки круглые из стали или алюминиевых сплавов диаметром 50 мм или квадратные размером 50 x 50 мм, толщиной не менее 20 мм с приспособлением для отрыва образцов от основания. Пластинки должны обеспечивать строго осевое приложение нагрузки на образцы во время их испытания.
Смола эпоксидная или метилметакриловая для приклеивания металлических пластинок к слою затвердевшей смеси или другой клей высокой прочности.
Пресс с устройством для захвата приспособления для отрыва образца или другое средство испытания с индикатором с погрешностью измерения +/- 5% максимальной нагрузки.
7.1.2 Изготовление образцов для испытания
7.1.2.1 Образцы для испытания изготавливают в форме цилиндров диаметром 50 мм или призм с поперечным сечением в форме квадрата размером 50 x 50 мм. Толщина образцов должна быть не менее 3 мм и не более 10 мм.
7.1.2.2 На основание устанавливают трафарет, на который наносят растворную смесь подвижностью в соответствии с
6.2.3. Приготовленную в соответствии с
6.2.2 смесь заглаживают металлическим шпателем. По истечении времени жизни растворной смеси, определенного по
6.3, трафарет снимают.
Образцы цилиндрической формы могут быть изготовлены без использования трафарета. Для изготовления образцов смесь, готовую к применению, наносят на основание равномерным слоем толщиной, рекомендованной предприятием-изготовителем, но не менее 3 мм и не более 10 мм, и разглаживают. По истечении времени жизни растворной смеси, определенного по
6.3, в слой смеси, вращая, вдавливают до основания усеченные конические кольца (см.
рисунок 5). Затем, продолжая вращение, кольца осторожно удаляют. Если в процессе изготовления образца происходит нарушение формы образца или его сцепления с основанием, образец бракуют и изготавливают новый.
Расстояние между кольцами, а также между кольцами и краями основания должно быть не менее 50 мм.
Число образцов для испытания должно быть не менее пяти.
7.1.2.3 Изготовленные по
7.1.2.2 образцы до проведения испытания выдерживают в камере в течение 7 сут при температуре (20 +/- 2) °C и относительной влажности (60 +/- 10)%.
В зависимости от области применения сухих смесей допускается твердение образцов по режиму, установленному в стандарте или технических условиях, по которым выпускают смесь конкретного вида.
При проведении сертификационных и арбитражных испытаний образцы должны храниться по режиму, указанному выше.
7.1.2.4 Образцы размерами, указанными в
7.1.2.1, могут быть изготовлены из сплошного слоя раствора, затвердевшего на поверхности основания, прорезанием слоя любым режущим инструментом, например кольцевой фрезой диаметром (50 +/- 5) мм.
Режим твердения свеженанесенного слоя растворной смеси - по
7.1.2.3.
7.1.3 Проведение испытания
7.1.3.1 Через 7 сут к затвердевшим образцам приклеивают металлические пластинки с приспособлением для отрыва образцов и продолжают хранение образцов в камере при температуре (20 +/- 2) °C и относительной влажности (60 +/- 10)% в течение 24 ч. При приклеивании необходимо следить, чтобы пластинки располагались строго по центру поверхности образцов, а клей не растекался по боковым поверхностям образцов.
Силу отрыва образцов от основания определяют через 24 ч после полного затвердевания клея на прессе или другом средстве измерения при равномерной скорости нарастания нагрузки, равной (250 +/- 50) Н/с.
7.1.3.2 Отмечают характер отрыва образцов.
При испытании возможны четыре варианта отрыва образцов (см.
рисунок 6).
1 - металлическая пластинка; 2 - слой клея; 3 - слой
затвердевшего раствора; 4 - основание; 5 - отверстие
с внутренней резьбой по центру пластинки для крепления
приспособления для отрыва образцов от основания
а) Р/О: разрушение на границе между слоем
затвердевшего раствора и основанием
б) Р/Р: разрушение по слою затвердевшего раствора
в) О/О: разрушение материала основания
г) К: разрушение по слою клея (испытание следует повторить)
Рисунок 6 - Варианты отрыва образца от основания
При смешанных вариантах отрыва, например частично по основанию и частично по затвердевшему раствору, необходимо сделать об этом запись в журнале испытания, указав приблизительную долю каждого варианта разрушения в процентах.
Все варианты разрушения образцов должны быть описаны в журнале испытаний.
7.1.4 Обработка результатов испытания
7.1.4.1 Прочность сцепления (адгезию) образца с основанием определяют как максимальную силу, приложенную перпендикулярно к поверхности образца, при которой происходит отрыв образца от основания.
7.1.4.2 Прочность сцепления с основанием (адгезию) при испытании одного образца Ai, МПа, вычисляют по формуле

(8)
где F - максимальная сила отрыва образца от основания, Н;
S - площадь контакта поверхности образца с основанием, мм2.
Каждое единичное значение прочности сцепления округляют до 0,05 МПа.
За окончательный результат испытания принимают среднеарифметическое значение результатов испытаний всех образцов A, МПа, рассчитанное по формуле

(9)
где n - количество испытанных образцов (не менее пяти).
Среднеарифметическое значение округляют до 0,05 МПа.
Примечание - При отрыве образцов по вариантам Р/Р и/или О/О результаты испытания следует считать ниже фактического значения предела прочности сцепления образцов с основанием. При отрыве образцов по слою клея испытание следует повторить.
7.2 Определение предела прочности на растяжение при изгибе и сжатии
Прочность на растяжение при изгибе и при сжатии определяют на образцах-призмах размерами 40 x 40 x 160 мм, изготовленных из растворной смеси требуемой подвижности.
7.2.1 Средства испытания и вспомогательные устройства
Форма разъемная для изготовления образцов-призм размерами 160 x 40 x 40 мм по
ГОСТ 310.4 или
ГОСТ 23789.
Шкаф сушильный, обеспечивающий температуру (45 +/- 3) °C.
Пластинки для передачи нагрузки на половинки образцов-призм по
ГОСТ 310.4.
Цилиндр мерный по
ГОСТ 1770 вместимостью 1 л с ценой деления не более 1 мл.
Весы по
ГОСТ Р 53228 с диапазоном взвешивания не менее 500 г и пределом допускаемой погрешности взвешивания +/- 0,1 г.
Прибор для испытания на изгиб образцов-призм по
ГОСТ 310.4.
Машина для определения прочности при сжатии с предельной нагрузкой от 10 до 20 тс по
ГОСТ 28840.
Камера для выдерживания образцов, обеспечивающая твердение образцов при температуре (20 +/- 2) °C и относительной влажности воздуха (60 +/- 10)%.
7.2.2 Определение предела прочности на растяжение при изгибе
7.2.2.1 Подготовка к испытанию
Приготавливают растворную смесь в соответствии с
6.2.2 с подвижностью, определенной в соответствии с
6.2.3.
Внутреннюю поверхность стенок формы и поддон предварительно смазывают тонким слоем машинного масла.
Приготовленную смесь укладывают в форму. Уложенную смесь уплотняют и выравнивают пятью ударами формы о поверхность стола, поднимая ее на высоту 10 мм. Избыток смеси срезают металлической линейкой вровень с краями формы.
Образцы расформовывают не ранее конца схватывания и не позднее 24 ч с момента изготовления, после чего хранят в течение 7 сут при температуре (20 +/- 2) °C и относительной влажности воздуха (60 +/-10)%.
По окончании времени выдержки образцы высушивают в сушильном шкафу при температуре (45 +/- 3) °C в течение не менее 1 ч до постоянной массы и охлаждают в сушильном шкафу до температуры от 15 °C до 20 °C. Массу образцов считают постоянной, если разность между результатами двух последовательных взвешиваний не превышает 0,1%.
7.2.2.2 Проведение испытания
Для определения предела прочности на растяжение при изгибе образец устанавливают на опоры прибора для испытания на изгиб так, чтобы его грани, горизонтальные при изготовлении, находились в вертикальном положении. Расстояние между опорами должно быть (100 +/- 0,152) мм. Скорость нарастания нагрузки - (50 +/- 10) Н/с.
Испытание проводят в соответствии с инструкцией, прилагаемой к прибору.
7.2.2.3 Обработка результатов испытания
Предел прочности на растяжение при изгибе одного образца, МПа (Н/мм2), вычисляют по формуле
Rизг = 0,0235·F, (10)
где F - разрушающая нагрузка, Н.
За результат испытания принимают среднеарифметическое значение результатов испытаний двух наибольших измерений, вычисленное с точностью +/- 0,1 МПа.
7.2.3 Определение предела прочности при сжатии
7.2.3.1 Предел прочности при сжатии определяют испытанием шести половинок образцов-призм, полученных при испытании по
7.2.2.2.
7.2.3.2 Половинку образца-призмы помещают между двумя пластинками для передачи нагрузки на образец так, чтобы боковые грани, которые при формовании образцов находились в вертикальном положении, находились в плоскостях пластинок, а упоры пластинок плотно прилегали к торцевой гладкой грани образца. Скорость нарастания нагрузки при испытании - (50 +/- 10) Н/с.
7.2.3.3 Предел прочности при сжатии одного образца Rсж, МПа, вычисляют по формуле

(11)
где F - разрушающая нагрузка, Н;
S - площадь рабочей поверхности пластинки, равная

.
За результат испытания принимают среднеарифметическое значение четырех наибольших результатов, вычисленное с точностью (+/- 0,1) МПа.
7.3 Определение стойкости к образованию трещин
7.3.1 Средства испытания и вспомогательные устройства
Основание для испытаний штукатурок - плита ID500/B2,5/F25 по
ГОСТ 31360.
Основание для испытаний шпатлевок - ГСП-Н по
ГОСТ 32614.
Форма-клин должна быть изготовлена из водостойких материалов, не реагирующих с сульфатом кальция (стекло, нержавеющая сталь, пластмасса и др.), и соответствовать размерам, приведенным на
рисунке 7, с учетом типа испытуемой смеси. Для шпатлевочных смесей размеры формы-клина составляют
x = 160 мм,
y = 5 мм,
z = 0,5 мм, для штукатурных смесей -
x = 160 мм,
y = 20 мм,
z = 5 мм.
Рисунок 7 - Форма для изготовления образцов при определении
стойкости к образованию трещин
7.3.2 Подготовка и проведение испытания
Приготавливают растворную смесь в соответствии с
6.2.2 с подвижностью, указанной в
6.2.3.
Форму устанавливают на плиту-основание и заполняют растворной смесью, избыток смеси срезают металлической линейкой вровень с краями формы. Внутренние поверхности формы должны быть предварительно смочены влажной тканью. По истечении времени жизни растворной смеси форму удаляют. Образцы хранят в помещении при температуре (20 +/- 2) °C и относительной влажности воздуха (60 +/- 10)%. Число образцов - не менее трех.
В возрасте 1 сут визуально устанавливают наличие трещин на образцах. Ни один образец не должен иметь трещин.
7.4 Определение шлифуемости и стойкости к воздействию воды
7.4.1 Средства испытания и вспомогательные устройства
Основание - гипсовая строительная плита ГСП-Н номинальной толщиной 12,5 мм по
ГОСТ 32614.
Трафарет из нержавеющей стали толщиной 1 мм с прямоугольным отверстием размером 452 x 63 мм. Толщину трафарета допускается при необходимости принимать по рекомендации изготовителя сухой смеси, но не более 3 мм. Допускается изготавливать трафарет из другого материала, обеспечивающего жесткость трафарета и не поглощающего воду из растворной смеси.
Шпатель металлический.
Нож канцелярский.
Камера для выдерживания образцов, обеспечивающая твердение образцов при температуре (20 +/- 2) °C и относительной влажности воздуха (60 +/- 10)%.
Весы по
ГОСТ Р 53228 с пределом допускаемой погрешности взвешивания +/- 0,1 г.
Прибор для испытания на шлифуемость, который представляет собой машину с возвратно-поступательным движением, длиной хода (300 +/- 10) мм и рабочей частотой (37 +/- 2) циклов в минуту. Прибор должен быть снабжен счетчиком для записи числа циклов. Допускается применение установки для ручного метода измерения шлифуемости, изготовленной по чертежам, представленным на
рисунке 8.
1 - стержни для крепления каретки; 2 - ограничители движения
каретки; 3 - держатель шлифующей шкурки с пригрузом;
4 - каретка; 5 - рама для крепления образца
а) Общая схема прибора (вид сбоку)
б) Рама для каретки
в) Рама для крепления образца
г) Каретка с ручкой
д) Ограничитель движения каретки
Рисунок 8 - Установка для испытания на шлифуемость
Держатель шлифующей шкурки, представленный на
рисунке 9. Масса держателя не должна превышать 150 г.
Рисунок 9 - Держатель шлифующей шкурки
Шкурка шлифовальная 8H (P180).
Пригруз массой 1 кг.
Рисунок 10 - Емкость для выдержки образцов в воде
Секундомер.
7.4.2 Изготовление образцов для испытания
7.4.2.1 Образцы для испытания на шлифуемость представляют собой прямоугольные призмы размерами (451 +/- 1) x (62 +/- 1) мм, изготовленные из ГСП-Н номинальной толщиной 12,5 мм, на лицевую сторону которых нанесен слой растворной смеси толщиной 1 мм. Допускается нанесение слоя растворной смеси толщиной более 1 мм по рекомендации изготовителя сухой смеси, но не более 3 мм.
7.4.2.2 Для изготовления образцов на основание, представляющее собой лицевую сторону ГСП-Н, устанавливают трафарет, по которому наносят растворную смесь с подвижностью, определенной в соответствии с
6.2.3, приготовленную в соответствии с
6.2.2. Смесь заглаживают металлическим шпателем до образования ровной поверхности. При заглаживании смеси не допускается смачивать шпатель водой.
7.4.2.3 По истечении времени жизни растворной смеси, определенного по
6.3, трафарет снимают. Плиту ГСП-Н с нанесенной на нее смесью выдерживают в течение 1 сут при температуре (20 +/- 2) °C и относительной влажности (60 +/- 10)%.
7.4.2.4 По истечении времени выдержки плиту ГСП-Н с затвердевшим раствором аккуратно обрезают по границам раствора при помощи линейки и канцелярского ножа и получают образцы-призмы размерами (455 +/- 1) x (65 +/- 1) мм.
Число образцов, изготовленных для испытания, должно быть не менее трех.
7.4.3 Проведение испытания
7.4.3.1 Образец после обрезки взвешивают с точностью до 0,01 г. Полученное значение фиксируют в лабораторном журнале.
При проведении испытания автоматическим методом после взвешивания образец помещают в раму прибора для испытания на шлифуемость по
7.4.1. В каретку прибора устанавливают держатель, на котором закреплена шлифующая шкурка, сверху на держателе устанавливают пригруз массой 1 кг. Включают прибор для определения шлифуемости и совершают 10 возвратно-поступательных движений.
При проведении испытания ручным методом собирают установку для измерения шлифуемости. Раму для крепления образца вставляют внутрь рамы для каретки и закрепляют болтами с четырех сторон. Помещают образец в раму для крепления образца и проверяют, чтобы он был плотно зафиксирован. Если наблюдается люфт образца, необходимо его устранить с использованием резиновой прокладки, помещенной в зазор между образцом и рамой. Каретку помещают на стержни рамы, стержни закрепляют при помощи гаек, обеспечивая их неподвижность в процессе испытания. Устанавливают на стержни два ограничителя, расстояние между которыми должно обеспечивать длину хода каретки (300 +/- 10) мм. Ограничители закрепляют на стержнях при помощи стопорных винтов. Внутрь каретки помещают держатель шлифующей шкурки с закрепленным на нем пригрузом массой 1 кг. Для каждого испытания применяют новую шкурку, которую натягивают на держатель и закрепляют сверху четырьмя болтами. После сборки установки при помощи ручки каретки осуществляют 10 возвратно-поступательных движений. Одно возвратно-поступательное движение должно быть совершено в течение 2 с, по 1 с в каждом направлении.
7.4.3.2 Отмечают характер поверхности после шлифования. После шлифования образец должен иметь ровную матовую поверхность, наличие царапин не допускается. Если поверхность образца удовлетворяет данному требованию, производят взвешивание образца на лабораторных весах с точностью до 0,1 г. Полученное значение фиксируют в лабораторном журнале.
7.4.3.3 Испытанный по
7.4.3.1 образец подвергают испытанию на стойкость к воздействию воды. Для этого его помещают лицевой стороной в емкость для выдержки образцов, заполненную водой до уровня, отмеченного риской. Время выдержки образца в воде составляет (20 +/- 1) мин. По истечении времени выдержки образец извлекают из емкости, кладут на ровную поверхность лицевой стороной вверх и сразу же проводят по нему малярным валиком ВП, выполняя одно возвратно-поступательное движение.
7.4.3.4 Отмечают наличие следов раствора на поверхности валика. После выдержки в воде в течение (20 +/- 1) мин образец не должен оставлять следов на поверхности валика. Состояние поверхности валика фиксируют в лабораторном журнале.
7.4.4 Обработка результатов испытания
7.4.4.1 Шлифуемость образца Ai, г, вычисляют как потерю его массы после испытания по формуле
Ai = m1 - m2, (12)
где m1 - масса образца до испытания, г;
m2 - масса образца после испытания, г.
Каждое единичное значение шлифуемости заносят в лабораторный журнал с точностью до 0,1 г.
За окончательный результат испытания A, г, принимают среднеарифметическое значение результатов испытаний всех образцов, рассчитанное по формуле
A = (A1 +... An)/n, (13)
где n - количество испытанных образцов.
Результат испытания округляют до 0,1 г.
7.4.4.2 Стойкость к воздействию воды определяют визуально по наличию следов раствора на поверхности малярного валика. Считается, что материал прошел испытание, если раствор не оставляет следов на поверхности валика.