Главная // Актуальные документы // ГОСТ Р (Государственный стандарт)
СПРАВКА
Источник публикации
М.: Стандартинформ, 2012
Примечание к документу
Документ введен в действие с 01.08.2012.
Название документа
"ГОСТ Р ИСО 10303-51-2011. Национальный стандарт Российской Федерации. Системы автоматизации производства и их интеграция. Представление данных об изделии и обмен этими данными. Часть 51. Интегрированный обобщенный ресурс. Математическое представление"
(утв. и введен в действие Приказом Росстандарта от 25.10.2011 N 482-ст)

"ГОСТ Р ИСО 10303-51-2011. Национальный стандарт Российской Федерации. Системы автоматизации производства и их интеграция. Представление данных об изделии и обмен этими данными. Часть 51. Интегрированный обобщенный ресурс. Математическое представление"
(утв. и введен в действие Приказом Росстандарта от 25.10.2011 N 482-ст)


Содержание


Утвержден и введен в действие
Приказом Федерального
агентства по техническому
регулированию и метрологии
от 25 октября 2011 г. N 482-ст
НАЦИОНАЛЬНЫЙ СТАНДАРТ РОССИЙСКОЙ ФЕДЕРАЦИИ
СИСТЕМЫ АВТОМАТИЗАЦИИ ПРОИЗВОДСТВА И ИХ ИНТЕГРАЦИЯ
ПРЕДСТАВЛЕНИЕ ДАННЫХ ОБ ИЗДЕЛИИ И ОБМЕН ЭТИМИ ДАННЫМИ
ЧАСТЬ 51
ИНТЕГРИРОВАННЫЙ ОБОБЩЕННЫЙ РЕСУРС
МАТЕМАТИЧЕСКОЕ ПРЕДСТАВЛЕНИЕ
Industrial automation systems and integration. Product data
representation and exchange. Part 51. Integrated generic
resource. Mathematical representation
ISO 10303-51:2005
Industrial automation systems and integration - Product data
representation and exchange - Part 51: Integrated generic
resource: Mathematical representation
(IDT)
ГОСТ Р ИСО 10303-51-2011
Группа П87
ОКС 25.040.40
ОКСТУ 4002
Дата введения
1 августа 2012 года
Предисловие
Цели и принципы стандартизации в Российской Федерации установлены Федеральным законом от 27 декабря 2002 г. N 184-ФЗ "О техническом регулировании", а правила применения национальных стандартов Российской Федерации - ГОСТ Р 1.0-2004 "Стандартизация в Российской Федерации. Основные положения"
Сведения о стандарте
1 ПОДГОТОВЛЕН Государственным научным учреждением "Центральный научно-исследовательский и опытно-конструкторский институт робототехники и технической кибернетики" на основе собственного аутентичного перевода на русский язык международного стандарта, указанного в пункте 4
2 ВНЕСЕН Техническим комитетом по стандартизации ТК 459 "Информационная поддержка жизненного цикла изделий"
3 УТВЕРЖДЕН И ВВЕДЕН В ДЕЙСТВИЕ Приказом Федерального агентства по техническому регулированию и метрологии от 25 октября 2011 г. N 482-ст
4 Настоящий стандарт идентичен международному стандарту ИСО 10303-51:2005 "Системы автоматизации производства и их интеграция. Представление данных об изделии и обмен этими данными. Часть 51. Интегрированный обобщенный ресурс. Математическое представление" (ISO 10303-51:2005 "Industrial automation systems and integration - Product data representation and exchange - Part 51: Integrated generic resource: Mathematical representation").
При применении настоящего стандарта рекомендуется использовать вместо ссылочных международных стандартов соответствующие им национальные стандарты Российской Федерации, сведения о которых приведены в дополнительном приложении ДА
5 ВВЕДЕН ВПЕРВЫЕ
Информация об изменениях к настоящему стандарту публикуется в ежегодно издаваемом информационном указателе "Национальные стандарты", а текст изменений и поправок - в ежемесячно издаваемых информационных указателях "Национальные стандарты". В случае пересмотра (замены) или отмены настоящего стандарта соответствующее уведомление будет опубликовано в ежемесячно издаваемом информационном указателе "Национальные стандарты". Соответствующая информация, уведомление и тексты размещаются также в информационной системе общего пользования - на официальном сайте Федерального агентства по техническому регулированию и метрологии в сети Интернет
Введение
Стандарты комплекса ИСО 10303 распространяются на компьютерное представление информации об изделиях и обмен данными об изделиях. Их целью является обеспечение нейтрального механизма, способного описывать изделия на всем протяжении их жизненного цикла. Этот механизм применим не только для обмена файлами в нейтральном формате, но является также основой для реализации и совместного доступа к базам данных об изделиях и организации архивирования.
Стандарты комплекса ИСО 10303 представляют собой набор отдельно издаваемых стандартов (частей). Стандарты данного комплекса относятся к одной из следующих тематических групп: "Методы описания", "Методы реализации", "Методология и основы аттестационного тестирования", "Интегрированные обобщенные ресурсы", "Интегрированные прикладные ресурсы", "Прикладные протоколы", "Комплекты абстрактных тестов", "Прикладные интерпретированные конструкции" и "Прикладные модули". Настоящий стандарт входит в тематическую группу "Интегрированные обобщенные ресурсы".
В настоящем стандарте определены две схемы:
- mathematical_context_schema;
- mathematical_description_of_distribution_schema.
Настоящий стандарт устанавливает интегрированный обобщенный ресурс для представления математических величин, пространств и функций, предназначенный для описания или обозначения изделий, состояний и действий.
Математическая величина может обозначать изделие, свойство изделия, состояние или действие.
Пример - Датчик температуры в позиции P на объекте my_test_rig обозначен целым числом 27.
Математическая величина может описывать значение физической величины.
Пример - Температура объекта my_test_rig в позиции P в состоянии S определена действительным числом 45,3 по шкале Цельсия.
Математическое пространство может определять схему идентификации (или параметризацию) для множества или пространства изделий, свойств изделий, состояний или действий.
Пример - Представители множества датчиков температуры на объекте my_test_rig обозначаются целыми числами в интервале [1, 200].
Математическое пространство может определять схему идентификации (или параметризацию) для пространства физической величины.
Пример - Значения в пространстве физической величины "температура" описываются или обозначаются действительными числами со значениями больше, чем -273,17.
Математическая функция может описывать изменение свойства в зависимости от расположения в множестве изделий, свойств изделий, состояний или действий.
Пример - Изменение температуры, измеренной датчиками на объекте my_test_rig в состоянии S, описывается дискретной функцией, связывающей целые числа из интервала [1, 200] с множеством действительных чисел, значения которых превышают -273,17. Данная функция определена по отношению к конкретной параметризации датчиков температуры и к шкале Цельсия.
Связи схем, рассмотренных в настоящем стандарте, с другими схемами, определяющими интегрированные ресурсы в стандартах комплекса ИСО 10303, приведены на рисунке 1 с использованием графической нотации EXPRESS-G языка EXPRESS. Графическая нотация EXPRESS-G определена в ИСО 10303-11, приложение D.
На рисунке 1 представлены следующие схемы, определенные в других стандартах:
- action_schema - ИСО 10303-41;
- ИСО 13584_generic_expressions_schema - ИСО 13584-20;
- mathematical_functions_schema - ИСО 10303-50;
- measure_schema - ИСО 10303-41;
- process_property_schema - ИСО 10303-49;
- product_definition_schema - ИСО 10303-41;
- product_property_definition_schema - ИСО 10303-41;
- representation_schema - ИСО 10303-43;
- support_resource_schema - ИСО 10303-41.
Схемы, приведенные на рисунке 1, являются компонентами интегрированных ресурсов.
Рисунок 1 - Связь схем, определенных в настоящем стандарте,
с другими схемами стандартов комплекса ИСО 10303
1 Область применения
Настоящий стандарт определяет конструкции интегрированного ресурса для представления в математической форме.
Требования настоящего стандарта распространяются на:
- использование математических величин для обозначения или описания изделия, параметра, состояния, действия или свойства;
- использование математического пространства как идентификационной схемы для множества или пространства изделий, параметров, состояний, действий или свойств;
- использование математической функции для описания изменения свойства в рамках множества или пространства изделий, параметров, состояний или действий;
- идентификационную схему (или параметризацию) для множества точек, принадлежащих изделию.
Пример 1 - Множество точек, принадлежащих устройству типа XYZ, параметризируется с помощью единичного куба в реальном трехмерном пространстве с координатами углов (0, 0, 0), (1, 0, 0), (0, 1, 0), (1, 1, 0), (0, 0, 1), (1, 0, 1), (0, 1, 1), (1, 1, 1).
Устройство типа XYZ имеет простую форму, которая делает подобное отображение возможным. Более сложное устройство может быть разделено на части так, чтобы каждая часть могла быть отображена на единичный куб или на другое простое математическое пространство;
- идентификационную схему (или параметризацию) для множества параметров изделия.
Пример 2 - Часть геометрического пространства, занимаемая объектом my_duct, является изделием, через которое проходит воздух, т.е. воздуховодом. В данной части пространства существует множество плоскостей, каждая из которых примерно перпендикулярна направлению потока. Каждая из этих плоскостей может рассматриваться как параметр данной части пространства.
Каждая из плоскостей в данной части пространства обладает свойствами, такими как среднее давление, средняя скорость и средняя температура. Следовательно, можно говорить об изменении, например, среднего давления по отношению к множеству плоскостей;
- идентификационную схему (или параметризацию) для состояний в пространстве состояний или в рамках действия.
Пример 3 - Множество состояний в последовательности запуска объекта my_duct параметризируется с помощью единичного интервала действительных чисел [0,0, 1,0];
- идентификационную схему (или параметризацию) для множества параметров изделия или для множества состояний в пространстве состояний или в рамках действия.
Пример 4 - Параметризация одномерного множества плоскостей воздуховода определена в примере 2. Параметризация одномерного множества состояний в последовательности запуска определена в примере 3.
Существует двумерное множество состояний для плоскостей воздуховода во время последовательности запуска. Это двумерное пространство параметризируется единичным квадратом с координатами углов (0,0, 0,0), (1,0, 0,0), (1,0, 1,0), (0,0, 1,0);
- обозначение или описание величин в пространстве физических величин по отношению к единице измерения или мере, системе координат и способу кодирования.
Пример 5 - Шкала Кельвина является обозначением или описанием каждого значения температуры с помощью действительного числа.
Значение температуры, соответствующее тройной точке воды, обозначается или описывается действительным числом 273,16 по шкале Кельвина;
- описание распределения свойства математической функцией.
Примечание - Описание распределения свойства основывается на:
- параметризации изделия, действия или обоих, сопоставляющей каждую позицию в изделии и каждое состояние в рамках действия с величиной из математического пространства;
- шкале пространства физических величин, описывающей каждое значение физической величины с помощью значения из математического пространства относительно единицы измерения, системы координат и способа кодирования;
- описание взаимосвязи между двумя параметризациями математической функцией.
Пример 6 - Верхняя поверхность детали XYZ_123 параметризируется с помощью единичного квадрата с координатами углов (0, 0), (1, 0), (0, 1) и (1, 1). Данная параметризация используется для би-сплайнового описания формы поверхности. Верхняя поверхность детали XYZ_123 также параметризируется с помощью объекта my_finite_element_mesh, представляющего решетку конечных элементов. Данная параметризация используется для описания изменения давления на поверхности. Существует математическая функция для решетки конечных элементов, определяющая точку на единичном квадрате для каждой точки решетки;
- описание взаимосвязи между двумя шкалами математической функцией.
Пример 7 - Шкалы Цельсия и Фаренгейта являются двумя разными шкалами для представления температуры. Эти две шкалы связаны между собой следующей математической функцией: f(x):100/180(x - 32).
Требования настоящего стандарта не распространяются на:
- определение области и диапазона распределения свойства.
Примечание - Определение области и диапазона распределения свойства характеризует природу данного свойства, а требования настоящего стандарта распространяются исключительно на представление свойства в числовой форме.
- определение математической функции.
2 Нормативные ссылки
В настоящем стандарте использованы ссылки на следующие международные стандарты (для датированных ссылок следует использовать только указанное издание, для недатированных ссылок следует использовать последнее издание указанного стандарта, включая все поправки):
ИСО/МЭК 8824-1:2002 <*> Информационная технология. Абстрактная синтаксическая нотация версии 1 (АСН.1). Часть 1. Спецификация основной нотации (ISO/IEC 8824-1:2002, Information technology - Abstract Syntax Notation One (ASN.1) - Part 1: Specification of basic notation)
--------------------------------
<*> Отменен. Действует стандарт ИСО/МЭК 8824-1:2008. Для однозначного соблюдения требований настоящего стандарта, выраженных в датированных ссылках, рекомендуется использовать только данный ссылочный стандарт.
ИСО 10303-1:1994 Системы автоматизации производства и их интеграция. Представление данных об изделии и обмен этими данными. Часть 1. Общие представления и основополагающие принципы (ISO 10303-1:1994, Industrial automation systems and integration - Product data representation and exchange - Part 1: Overview and fundamental principles)
ИСО 10303-41:2000 <*> Системы автоматизации производства и их интеграция. Представление данных об изделии и обмен этими данными. Часть 41. Интегрированный обобщенный ресурс. Основы описания и поддержки изделий (ISO 10303-41:2000, Industrial automation systems and integration - Product data representation and exchange - Part 41: Integrated generic resource: Fundamentals of product description and support)
--------------------------------
<*> Отменен. Действует стандарт ИСО 10303-41:2005. Для однозначного соблюдения требований настоящего стандарта, выраженных в датированных ссылках, рекомендуется использовать только данный ссылочный стандарт.
ИСО 10303-42:2003 Системы автоматизации производства и их интеграция. Представление данных об изделии и обмен этими данными. Часть 42. Интегрированный обобщенный ресурс. Геометрическое и топологическое представление (ISO 10303-42:2003, Industrial automation systems and integration - Product data representation and exchange - Part 42: Integrated generic resource: Geometric and topological representation)
ИСО 10303-43:2000 Системы автоматизации производства и их интеграция. Представление данных об изделии и обмен этими данными. Часть 43. Интегрированный обобщенный ресурс. Структуры представлений (ISO 10303-43:2000, Industrial automation systems and integration - Product data representation and exchange - Part 43: Integrated generic resource: Representation structures)
ИСО 10303-49:1998 Системы автоматизации производства и их интеграция. Представление данных об изделии и обмен этими данными. Часть 49. Интегрированные обобщенные ресурсы. Структура и свойства процесса (ISO 10303-49:1998, Industrial automation systems and integration - Product data representation and exchange - Part 49: Integrated generic resources: Process structure and properties)
ИСО 10303-50:2002 Системы автоматизации производства и их интеграция. Представление данных об изделии и обмен этими данными. Часть 50. Интегрированный обобщенный ресурс. Математические конструкции (ISO 10303-50:2002, Industrial automation systems and integration - Product data representation and exchange - Part 50: Integrated generic resource: Mathematical constructs)
ИСО 13584-20:1998 Системы автоматизации производства и их интеграция. Библиотека деталей. Часть 20. Логический ресурс. Логическая модель выражений (ISO 13584-20:1998, Industrial automation systems and integration - Parts library - Part 20: Logical resource: Logical model of expressions)
3 Термины и определения
3.1 Термин, определенный в ИСО 10303-1
В настоящем стандарте применен следующий термин:
- интегрированный ресурс (integrated resource).
3.2 Другие термины и определения
В настоящем стандарте применены следующие термины с соответствующими определениями:
3.2.1 пространство физической величины; пространство свойства; тип свойства (physical quantity space; property space; property type): Множество значений или величин для физического явления.
Примечание - Пространство физической величины является классом, представителем которого может быть значение физической величины. Является значение физической величины представителем данного класса или нет, определяется природой наблюдаемого или измеряемого физического явления.
3.2.2 значение физической величины; значение свойства; определение независимого свойства (physical quantity value; property value; independent property definition): Величина свойства физического объекта, которая может быть получена посредством наблюдения или измерения или установлена посредством логических умозаключений на основании наблюдений или измерений.
Примечание - Значение физической величины является классом, представителем которого может быть физический объект. Является физический объект представителем данного класса или нет, определяется с помощью наблюдения или измерения.
3.2.3 свойство; характеристика (property; characteristic): Функция, связывающая множество физических объектов с пространством физической величины.
Примечание - Распределение свойства является отображением конкретного множества физических объектов, которые могут быть распределены по отношению к пространству, времени или к обоим.
4 Схема mathematical_context_schema
Ниже представлен фрагмент EXPRESS-спецификации, с которого начинается описание схемы mathematical_context_schema и в котором определены все необходимые внешние ссылки.
EXPRESS-спецификация:
*)
SCHEMA mathematical_context_schema;
REFERENCE FROM action_schema -- ISO 10303-41
(action,
action_method);
REFERENCE FROM mathematical_functions_schema -- ISO 10303-50
(maths_space,
maths_value);
REFERENCE FROM measure_schema -- ISO 10303-41
(unit);
REFERENCE FROM product_definition_schema -- ISO 10303-41
(product_definition);
REFERENCE FROM product_property_definition_schema -- ISO 10303-41
(general_property,
shape_aspect);
REFERENCE FROM representation_schema -- ISO 10303-43
(representation_context,
representation_item);
REFERENCE FROM support_resource_schema -- ISO 10303-41
(identifier,
label,
text);
REFERENCE FROM ISO13584_generic_expressions_schema -- ISO 13584-20
(generic_expression);
(*
Примечания
1 Схемы, ссылки на которые приведены выше, определены в следующих стандартах комплекса ИСО 10303:
action_schema
- ИСО 10303-41;
mathematical_functions_schema
- ИСО 10303-50;
measure_schema
- ИСО 10303-41;
product_definition_schema
- ИСО 10303-41;
product_property_definition_schema
- ИСО 10303-41;
representation_schema
- ИСО 10303-43;
support_resource_schema
- ИСО 10303-41;
ISO13584_generic_expressions_schema
- ИСО 13584-20.
2 Графическое представление схемы mathematical_context_schema приведено в приложении D.
4.1 Введение
Схема mathematical_context_schema определяет отображение между физическим множеством или пространством и математическим пространством.
Физическое множество может представлять собой:
- семейство изделий;
- позиции в изделии;
- состояния в рамках действия или пространства состояний;
- значения физических величин в пространстве физических величин.
Отображение устанавливает идентификационную схему для элементов физического множества. Элемент физического множества идентифицируется математическим значением, принадлежащим математическому пространству.
Примеры
1 Множество поперечных сечений балки XB_1234 идентифицируется с помощью множества действительных чисел в интервале [-1,0, +1,0].
2 Множество состояний при выполнении действия "нормальный запуск двигателя типа XYZ_123" идентифицируется с помощью множества действительных чисел в интервале [0,0, 1,0].
3 Множество температур идентифицируется с помощью множества действительных чисел, больших чем -273,15.
4.2 Основные понятия и допущения
Отображение между физическим множеством и математическим пространством называется параметризацией, если физическое множество представляет собой:
- семейство изделий;
- позиции в изделии;
- состояния в рамках действия или пространства состояний.
Параметризации может быть присвоено имя. Дополнительная информация о параметризации может быть определена двумя способами:
- математическое значение может быть определено для каждого элемента физического множества (обеспечивая тем самым конечность физического множества);
- распределение свойства может быть описано относительно параметризации путем представления математического описания схемы распределения.
Примеры
1 Параметризация определена для множества поперечных сечений балки XB_1234. Описание позиций поперечных сечений на балке для ее исходного недеформированного состояния дает информацию о сути параметризации.
2 Параметризация определена для множества состояний действия "нормальный запуск двигателя типа XYZ_123". Описание длительности состояний действия по запуску двигателя дает информацию о сути параметризации.
Отображение между пространством физических величин и математическим пространством называется шкалой. Шкала может быть:
- стандартной шкалой, установленной ИСО или другой организацией по стандартизации, т.е. определенной с помощью единицы измерения;
- определенной по отношению к другой шкале с помощью преобразования, например трехмерного координатного преобразования.
Примечание - Объекты, определяющие шкалу, установлены в ИСО 10303-43.
Пример - Международная практическая температурная шкала, принятая в 1968 году (МПТШ-68), является отображением между пространством температур и множеством действительных чисел, больших чем -273,15. Базисными точками данной шкалы являются температуры, соответствующие конкретным физическим явлениям, например температуре затвердевания золота. Каждой базисной точке назначается действительное число.
4.3 Определение типов данных схемы mathematical_context_schema
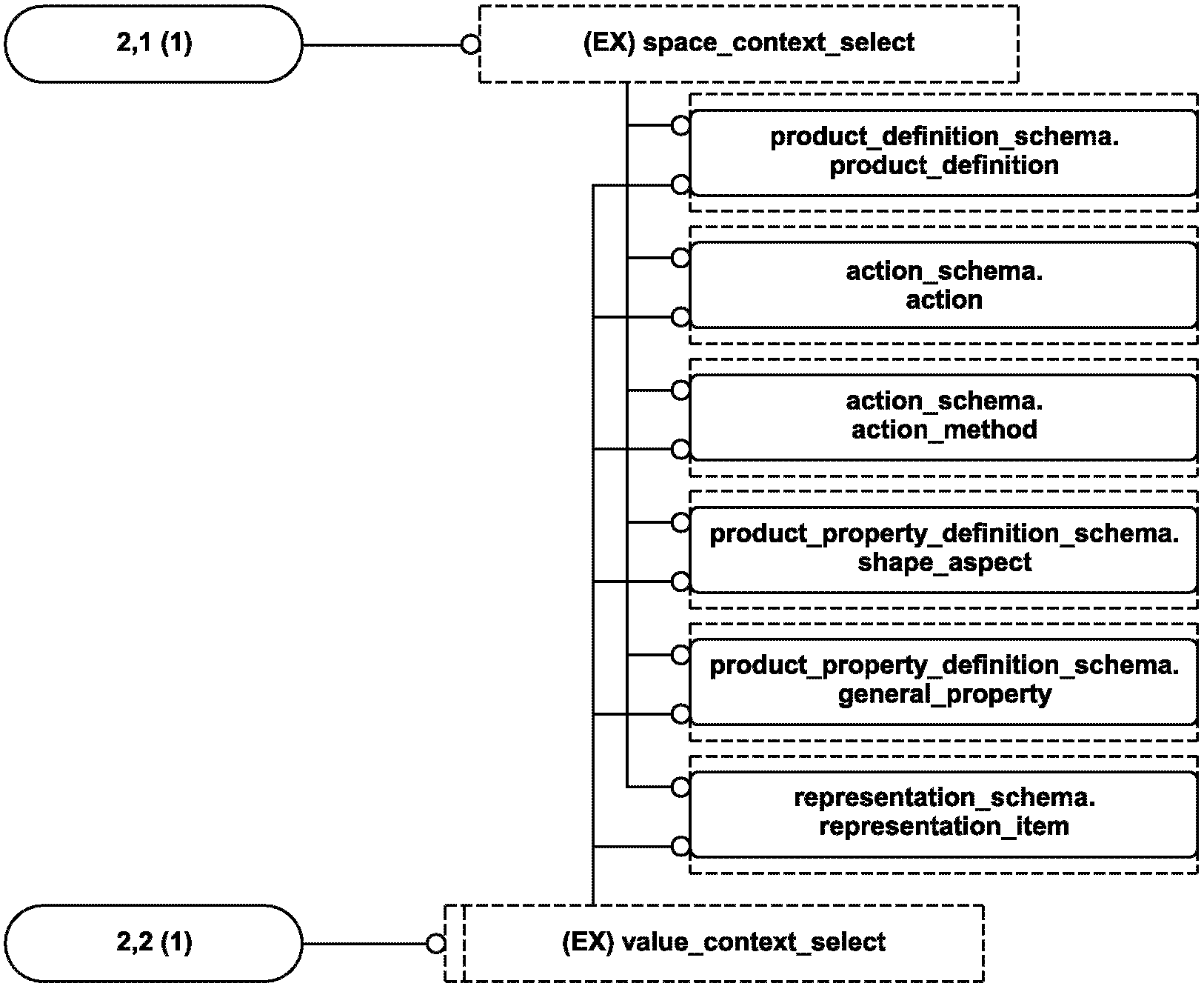
4.3.1 Тип данных space_context_select
Тип данных space_context_select является наращиваемым списком альтернативных типов данных. Он обеспечивает возможность ссылаться на экземпляры типов данных, входящих в тип данных space_context_select или его расширения.
Примечание - Список объектных типов данных может быть расширен в прикладных ресурсах, использующих конструкции данного ресурса.
EXPRESS-спецификация:
*)
TYPE space_context_select = EXTENSIBLE SELECT
(action,
action_method,
general_property,
product_definition,
representation_item,
shape_aspect);
END_TYPE;
(*
4.3.2 Тип данных value_context_select
Тип данных value_context_select является наращиваемым списком альтернативных типов данных. Он обеспечивает возможность ссылаться на экземпляры типов данных, входящих в тип данных value_context_select или его расширения.
Примечание - Список объектных типов данных может быть расширен в прикладных ресурсах, использующих конструкции данного ресурса.
EXPRESS-спецификация:
*)
TYPE value_context_select = EXTENSIBLE SELECT
(action,
action_method,
general_property,
product_definition,
representation_item,
shape_aspect);
END_TYPE;
(*
4.4 Определение объектов схемы mathematical_context_schema
4.4.1 Объект compound_maths_space_context
Объект compound_maths_space_context является подтипом объекта maths_space_context, определяемым списком особых экземпляров объекта maths_space_context. Объект maths_space, на который ссылается объект maths_space_context, является пространством кортежей. В объекте maths_space_context для каждого элемента в кортеже имеется соответствующая позиция в списке.
Пример - Рассмотрим два разных экземпляра объекта maths_space_context: P1, представляющий связь между двухмерным множеством точек на поверхности изделия 'my product' и R2, и P2, представляющий связь между одномерным множеством состояний действия my_activity и R. Тогда связь между трехмерным множеством точек на поверхности изделия my_product для состояний действия my_activity и R3 является объектом compound_maths_space_context, определяемым произведением P1 x P2.
EXPRESS-спецификация:
*)
ENTITY compound_maths_space_context
SUBTYPE OF (maths_space_context);
components : LIST[2:?] OF maths_space_context;
END_ENTITY;
(*
Определение атрибута
components - экземпляры объекта maths_space_context, являющиеся компонентами объекта compound_maths_space_context. Объект maths_space_context для отдельного состояния изделия может быть получен из объекта maths_space_context, представляющего контекст математического пространства данного изделия. При этом у данного отдельного состояния должен быть объект compound_maths_space_context со списком компонентов, состоящим из единственной ссылки на объект maths_space_context, который представляет контекст математического пространства данного изделия.
4.4.2 Объект defined_maths_space_context
Объект defined_maths_space_context является подтипом объекта maths_space_context, определенным с помощью ссылки на объект representation_context, объект unit или на оба эти объекта.
Примечание - Объект defined_maths_space_context может быть реализован как объект representation_context_defined_maths_space_context, объект unit_defined_maths_space_context или как оба эти объекта.
EXPRESS-спецификация:
*)
ENTITY defined_maths_space_context
SUBTYPE OF (maths_space_context);
END_ENTITY;
(*
4.4.3 Объект explicitly_enumerated_maths_space_context
Объект explicitly_enumerated_maths_space_context является подтипом объекта maths_space_context, определенным с помощью задания экземпляров объекта maths_value_context, которые являются элементами объекта maths_space_context.
Примечание - Объект explicitly_enumerated_maths_space_context может быть определен только для дискретного объекта maths_space с конечным числом элементов.
EXPRESS-спецификация:
*)
ENTITY explicitly_enumerated_maths_space_context
SUBTYPE OF (maths_space_context);
members : SET[1:?] OF maths_value_context;
END_ENTITY;
(*
Определение атрибута
members - экземпляры объекта maths_value_context, которые являются элементами объекта maths_space_context.
4.4.4 Объект maths_space_context
Объект maths_space_context является взаимно-однозначным отображением между физическим пространством и объектом maths_space, которое показывает физическую сущность объекта maths_space.
EXPRESS-спецификация:
*)
ENTITY maths_space_context
SUPERTYPE OF (ONEOF (compound_maths_space_context,
defined_maths_space_context,
explicitly_enumerated_maths_space_context));
id : identifier;
name : label;
description : OPTIONAL text;
abstract_space : maths_space;
physical_space : space_context_select;
END_ENTITY;
(*
Определения атрибутов
id - идентификатор (тип данных identifier) объекта maths_space_context;
name - имя (тип данных label), под которым известен объект maths_space_context;
description - текст (тип данных text), который характеризует объект maths_space_context. Значение данного атрибута может быть не задано;
abstract_space - объект maths_space, каждому элементу которого соответствует один элемент объекта physical_space.
Примечания
1 Схема mathematical_context_schema ссылается на абстрактный объектный тип данных maths_space, определенный в ИСО 10303-50, но не на объектный тип данных, объявленный как SUBTYPE. Прикладной модуль, в котором используется настоящий стандарт, должен определять или ссылаться по крайней мере на один подтип данных.
2 Для каждого из подтипов данных объекта maths_function, определенного в ИСО 10303-50, требуется, чтобы объект maths_space принадлежал к типу данных tuple_space;
physical_space - физическое пространство, каждому элементу которого соответствует один элемент объекта abstract_space.
4.4.5 Объект maths_value_context
Объект maths_value_context представляет связь между физической величиной и объектом maths_space. Значение, присваиваемое объекту maths_value данной связью, может быть получено из объекта maths_space_context, элементом которого является объект maths_value_context.
EXPRESS-спецификация:
*)
ENTITY maths_value_context;
id : identifier;
name : label;
description : OPTIONAL text;
abstract_value : maths_value;
physical_value : value_context_select;
END_ENTITY;
(*
Определения атрибутов
id - идентификатор (тип данных identifier) объекта maths_value_context;
name - имя (тип данных label), под которым известен объект maths_value_context;
description - текст (тип данных text), который характеризует объект maths_value_context. Значение данного атрибута может быть не задано;
abstract_value - объект maths_value, который соответствует объекту physical_value;
physical_value - физическая величина, которая соответствует объекту maths_value.
4.4.6 Объект membership_of_maths_space_context
Объект membership_of_maths_space_context представляет связь между объектом maths_value_context и объектом maths_space_context, которая показывает, что объект maths_value_context является элементом объекта maths_space_context.
EXPRESS-спецификация:
*)
ENTITY membership_of_maths_space_context;
space_context : maths_space_context;
value_context : maths_value_context;
END_ENTITY;
(*
Определения атрибутов
space_context - объект maths_space_context, элементом которого является объект maths_value_context;
value_context - объект maths_value_context, являющийся элементом объекта maths_space_context.
4.4.7 Объект normalized_maths_space_context
Объект normalized_maths_space_context является подтипом объекта defined_maths_space_context, определенным с помощью эталонной физической величины.
Введем следующие обозначения:
P - физическая величина;
P0 - эталонная физическая величина;
V - математическая величина.
Экземпляр объекта normalized_maths_space_context определяет, что:
P = P0 x V.
EXPRESS-спецификация:
*)
ENTITY normalized_maths_space_context
SUBTYPE OF defined_maths_space_context);
normalization_basis : value_context_select;
END_ENTITY;
(*
Определение атрибута
normalization_basis - эталонная физическая величина, которая определяет объект maths_space_context.
4.4.8 Объект representation_context_defined_maths_space_context
Объект representation_context_defined_maths_space_context является подтипом объекта defined_maths_space_context, задающим систему координат. Данный объект определяется с помощью ссылки на объект representation_context.
EXPRESS-спецификация:
*)
ENTITY representation_context_defined_maths_space_context
SUBTYPE OF (defined_maths_space_context);
representation_basis : representation_context;
END_ENTITY;
(*
Определение атрибута
representation_basis - объект representation_context, который определяет объект maths_space_context.
4.4.9 Объект unit_defined_maths_space_context
Объект unit_defined_maths_space_context является подтипом объекта defined_maths_space_context, определяемым единственной единицей измерения.
EXPRESS-спецификация:
*)
ENTITY unit_defined_maths_space_context
SUBTYPE OF (defined_maths_space_context);
unit_basis : unit;
END_ENTITY;
(*
Определение атрибута
unit_basis - единица измерения, которая определяет объект maths_space_context.
Примечание - Схема mathematical_context_schema ссылается на тип данных unit, относящийся к типу данных SELECT и определенный в ИСО 10303-41, но не на объектные типы данных, которые выбираются с помощью типа данных unit. Прикладной модуль, использующий настоящий стандарт, должен ссылаться по крайней мере на один из этих объектных типов данных.
*)
END_SCHEMA; -- mathematical_context_schema
(*
5 Схема mathematical_description_of_distribution_schema
Ниже представлен фрагмент EXPRESS-спецификации, с которого начинается описание схемы mathematical_description_of_distribution_schema и в котором определены все необходимые внешние ссылки.
EXPRESS-спецификация:
*)
SCHEMA mathematical_description_of_distribution_schema;
REFERENCE FROM mathematical_context_schema -- ISO 10303-51
(maths_space_context);
REFERENCE FROM mathematical_functions_schema -- ISO 10303-50
(maths_function);
REFERENCE FROM process_property_schema -- ISO 10303-49
(action_property,
resource_property);
REFERENCE FROM product_property_definition_schema -- ISO 10303-41
(property_definition,
general_property_relationship);
REFERENCE FROM support_resource_schema -- ISO 10303-41
(identifier,
label,
text);
(*
Примечания
1 Схемы, ссылки на которые приведены выше, определены в следующих стандартах комплекса ИСО 10303:
mathematical_context_schema
- ИСО 10303-51;
mathematical_functions_schema
- ИСО 10303-50;
process_property_schema
- ИСО 10303-49;
product_property_definition_schema
- ИСО 10303-41;
support_resource_schema
- ИСО 10303-41.
2 Графическое представление схемы mathematical_description_of_distribution_schema приведено в приложении D.
5.1 Введение
Схема mathematical_description_of_distribution_schema определяет отображение между распределением свойства и математической функцией. Отображение задает семантику математической функции так, чтобы математическая функция описывала или определяла распределение свойства.
Распределение свойства может определяться по отношению к следующим факторам:
- изделие из семейства изделий;
- позиция в изделии;
- состояние в рамках действия или пространства состояний;
- другое свойство;
- сочетание (декартово произведение) вышеперечисленных факторов.
Примеры
1 Изменение выходной мощности по отношению к диаметру выходного отверстия двигателя из семейства XYZ_1 и скорости вращения двигателя, выраженной в герцах, является распределением свойства.
2 Изменение температуры по отношению к позиции в изделии, которая соответствует уплотнительной шайбе двигателя типа XYZ_123, и состоянию при выполнении действия "нормальный запуск двигателя типа XYZ_123" является распределением свойства.
5.2 Основные понятия и допущения
Распределение свойства является физической функцией. Областью определения функции распределения свойства может быть:
- множество изделий;
- множество позиций в изделии;
- множество состояний в рамках действия или пространства состояний.
Диапазон функции распределения свойства является пространством физической величины.
Распределение свойства D:X->P,
где X - область определения;
P - диапазон пространства физической величины,
может быть описано или определено математической функцией F:A->B, где A и B - математические пространства.
Данное описание или определение зависит от:
- взаимно-однозначного отображения U:X->A;
- взаимно-однозначного отображения V:P->B.
Распределение свойства D описывается или определяется математической функцией F тогда и только тогда, когда V(D(x)) = F(U(x)), для всех x из X.
5.3 Определение типа данных схемы mathematical_description_of_distribution_ schema
5.3.1 Тип данных property_distribution_select
Тип данных property_distribution_select является наращиваемым списком альтернативных типов данных. Он обеспечивает возможность ссылаться на экземпляры типов данных, входящих в тип данных property_distribution_select или его расширения.
Примечание - Список объектных типов данных может быть расширен в прикладных ресурсах, использующих конструкции данного ресурса.
EXPRESS-спецификация:
*)
TYPE property_distribution_select = EXTENSIBLE SELECT
(action_property,
general_property_relationship,
property_definition,
resource_property);
END_TYPE;
(*
5.4 Определение объектов схемы mathematical_description_of_distribution_ schema
5.4.1 Объект maths_space_context_relationship
Объект maths_space_context_relationship представляет связь между двумя экземплярами объекта maths_space_context.
EXPRESS-спецификация:
*)
ENTITY maths_space_context_relationship;
id : identifier;
name : label;
description : OPTIONAL text;
relating_context : maths_space_context;
related_context : maths_space_context;
END_ENTITY;
(*
Определения атрибутов
id - идентификатор (тип данных identifier) объекта maths_space_context_relationship;
name - имя (тип данных label), под которым известен объект maths_space_context_relationship;
description - текст (тип данных text), который характеризует объект maths_space_context_ relationship. Значение данного атрибута может быть не задано;
relating_context - экземпляр объекта maths_space_context, который связан с объектом related_context;
related_context - экземпляр объекта maths_space_context, который связан с объектом relating_context.
5.4.2 Объект maths_space_context_relationship_description
Объект maths_space_context_relationship_description является спецификацией, в которой объект maths_function определяет связь между двумя экземплярами объекта maths_space_context.
Введем следующие обозначения:
- A:P->S1 - связывающий объект maths_space_context;
- B:P->S2 - связываемый объект maths_space_context;
- P - физическое пространство;
- S1 и S2 - два экземпляра объекта maths_space;
- T:S1->S2 (функция maths_function) - описание связи между экземплярами объекта maths_space_context.
Экземпляр объекта maths_space_context_relationship_description определяет, что B(p) = T(A(p)) для любого p из P.
EXPRESS-спецификация:
*)
ENTITY maths_space_context_relationship_description;
id : identifier;
name : label;
description : OPTIONAL text;
described_relationship : maths_space_context_relationship;
describing_relationship : maths_function;
END_ENTITY;
(*
Определения атрибутов
id - идентификатор (тип данных identifier) объекта maths_space_context_relationship_description;
name - имя (тип данных label), под которым известен объект maths_space_context_relationship_description;
description - текст (тип данных text), который характеризует объект maths_space_context_relationship_description. Значение данного атрибута может быть не задано;
described_relationship - объект maths_space_context_relationship_description, представленный данным описанием;
describing_relationship - объект maths_space_context_relationship, представленный данным описанием.
5.4.3 Объект normalized_property_distribution_description
Объект normalized_property_distribution_description определяет, как объект maths_function описывает распределение свойства по отношению к эталонному распределению свойства.
Введем следующие обозначения:
- P (объект product_definition, action, action_method, resource или general_property) - область определения распределения свойства;
- C (объект general_property, представляющий пространство физической величины) - диапазон распределения свойства;
- D:P->C (объект property_definition, action_property, general_property_relationship или resource_property) - распределение свойства;
- D0:P->C (объект property_definition, action_property, general_property_relationship или resource_property) - эталонное распределение свойства;
- A:P->S1 (объект maths_space_context) - параметризация области определения распределения свойства;
- F:S1->S2 (объект maths_function) - описание распределения свойства;
- математические пространства S1 и S2 - область определения и диапазон математической функции.
Экземпляр объекта normalized_property_distribution_description определяет, что D(p) = F(A(p)) x D0(p) для любого p из P.
EXPRESS-спецификация:
*)
ENTITY normalized_property_distribution_description;
id : identifier;
name : label;
description : OPTIONAL text;
abstract_function : maths_function;
domain_context : maths_space_context;
normalization_basis : property_distribution_select;
physical_function : property_distribution_select;
END_ENTITY;
(*
Определения атрибутов
id - идентификатор (тип данных identifier) объекта normalized_property_distribution description;
name - имя (тип данных label), с помощью которого делаются ссылки на объект normalized_property_distribution_description;
description - текст (тип данных text), который характеризует объект normalized_property_distribution_description. Значение данного атрибута может быть не задано;
abstract_function - объект maths_function, который описывает объект physical_function;
domain_context - объект maths_space_context, который используется для интерпретации области определения объекта abstract_function;
normalization_basis - эталонное распределение свойства, которое является базисом для описания объекта physical_function.
Примечание - Объект physical_function тождественен объекту normalization_basis везде, где объект abstract_function принимает значение 1;
physical_function - распределение свойства, представленное с помощью объекта abstract_function.
5.4.4 Объект property_distribution_description
Объект property_distribution_description определяет, как объект maths_function описывает распределение свойства.
Введем следующие обозначения:
- P (объект product_definition, action, action_method, resource или general_property) - область определения распределения свойства;
- C (объект general_property, представляющий пространство физической величины) - диапазон распределения свойства;
- D:P->C (объект property_definition, action_property, general_property_relationship или resource_property) - распределение свойства;
- A:P->S1 (объект maths_space_context) - параметризация области определения распределения свойства;
- U:C->S2 (объект maths_space_context) - шкала диапазона распределения свойства;
- F:S1->S2 (объект maths_function) - описание распределения свойства;
- математические пространства S1 и S2 - область определения и диапазон математической функции.
Экземпляр объекта property_distribution_description определяет, что D(p) = U - 1(F(A(p))) для любого p из P.
Примечание - Выражение U - 1 является вполне определенным, т.к. U является взаимно-однозначным отображением.
EXPRESS-спецификация:
*)
ENTITY property_distribution_description;
id : identifier;
name : label;
description : OPTIONAL text;
abstract_function : maths_function;
domain_context : maths_space_context;
physical_function : property_distribution_select;
range_context : maths_space_context;
END_ENTITY;
(*
Определения атрибутов
id - идентификатор (тип данных identifier) объекта property_distribution_ description;
name - имя (тип данных label), под которым известен объект property_distribution_description;
description - текст (тип данных text), который характеризует объект property_distribution_description. Значение данного атрибута может быть не задано;
abstract_function - объект maths_function, который описывает объект physical_function;
domain_context - объект maths_space_context, который используется для интерпретации области определения объекта abstract_function;
physical_function - распределение свойства, представленное с помощью объекта abstract_function;
range_context - объект maths_space_context, который используется для интерпретации диапазона объекта abstract_function.
*)
END_SCHEMA; -- mathematical_description_of_distribution_schema
(*
Приложение A
(обязательное)
СОКРАЩЕННЫЕ НАИМЕНОВАНИЯ ОБЪЕКТОВ
В таблице A.1 приведены сокращенные наименования объектов, определенных в настоящем стандарте.
Таблица A.1
Сокращенные наименования объектов
Полное наименование
Сокращенное наименование
compound_maths_space_context
CMSC
defined_maths_space_context
DMSC
explicitly_enumerated_maths_space_context
EEMSC
maths_space_context
MTSPCN
maths_value_context
MTVLCN
membership_of_maths_space_context
MOMSC
normalized_maths_space_context
NMSC
representation_context_defined_maths_space_context
RCDMSC
unit_defined_maths_space_context
UDMSC
maths_space_context_relationship
MSCR
maths_space_context_relationship_description
MSCRD
normalized_property_distribution_description
NPDD
property_distribution_description
PRDSDS
Требования к использованию сокращенных наименований содержатся в стандартах тематической группы "Методы реализации" комплекса ИСО 10303.
Примечание - Наименования объектов на языке EXPRESS доступны в Интернете по адресу: http://www.tc184-sc4.org/Short_Names/.
Приложение B
(обязательное)
РЕГИСТРАЦИЯ ИНФОРМАЦИОННЫХ ОБЪЕКТОВ
B.1 Обозначение документа
Для однозначного обозначения информационного объекта в открытой системе настоящему стандарту присвоен следующий идентификатор объекта:
{iso standard 10303 part(51) version(1)}
Смысл данного обозначения установлен в ИСО/МЭК 8824-1 и описан в ИСО 10303-1.
B.2 Обозначение схем
B.2.1 Обозначение схемы mathematical_context_schema
Для однозначного обозначения в открытой информационной системе схеме mathematical_context_schema, установленной в настоящем стандарте, присвоен следующий идентификатор объекта:
{iso standard 10303 part(51) version(1) schema(1)
mathematical_context_schema(1)}
Смысл данного обозначения установлен в ИСО/МЭК 8824-1 и описан в ИСО 10303-1.
B.2.2 Обозначение схемы mathematical_description_of_distribution_schema
Для однозначного обозначения в открытой информационной системе схеме mathematical_description_of_distribution_schema, установленной в настоящем стандарте, присвоен следующий идентификатор объекта:
{iso standard 10303 part(51) version(1) schema(1)
mathematical_description_of_distribution_schema(1)}
Смысл данного обозначения установлен в ИСО/МЭК 8824-1 и описан в ИСО 10303-1.
Приложение C
(справочное)
МАШИННО-ИНТЕРПРЕТИРУЕМЫЕ ЛИСТИНГИ
В данном приложении приведены ссылки на сайты, на которых находятся листинги наименований объектов на языке EXPRESS и соответствующих сокращенных наименований, установленных или на которые даются ссылки в настоящем стандарте. На этих же сайтах находятся листинги всех EXPRESS-схем, установленных в настоящем стандарте, без комментариев и другого поясняющего текста. Эти листинги доступны в машинно-интерпретируемой форме и могут быть получены по следующим адресам URL:
сокращенные наименования: http://www.tc184-sc4.org/Short_Names/;
EXPRESS: http://www.tc184-sc4.org/EXPRESS/.
Если доступ к этим сайтам невозможен, необходимо обратиться в центральный секретариат ИСО или непосредственно в секретариат ИСО ТК184/ПК 4 по адресу электронной почты: sc4sec@tc184-sc4.org.
Примечание - Информация, представленная в машинно-интерпретированном виде по указанным выше адресам URL, является справочной. Обязательным является текст настоящего стандарта.
Приложение D
(справочное)
EXPRESS-G ДИАГРАММЫ
Диаграммы, приведенные на рисунках D.1 - D.5, соответствуют схемам на языке EXPRESS, определенным в настоящем стандарте. В диаграммах использована графическая нотация EXPRESS-G языка EXPRESS. Графическая нотация EXPRESS-G определена в ИСО 10303-11, приложение D.
Рисунок D.1 - EXPRESS-G диаграмма схемы
mathematical_context_schema (диаграмма 1 из 2)
Рисунок D.2 - EXPRESS-G диаграмма схемы
mathematical_context_schema (диаграмма 2 из 2)
Рисунок D.3 - EXPRESS-G диаграмма схемы
mathematical_description_of_distribution_schema
(диаграмма 1 из 3)
Рисунок D.4 - EXPRESS-G диаграмма схемы
mathematical_description_of_distribution_schema
(диаграмма 2 из 3)
Рисунок D.5 - EXPRESS-G диаграмма схемы
mathematical_description_of_distribution_schema
(диаграмма 3 из 3)
Приложение ДА
(справочное)
СВЕДЕНИЯ О СООТВЕТСТВИИ ССЫЛОЧНЫХ МЕЖДУНАРОДНЫХ СТАНДАРТОВ
ССЫЛОЧНЫМ НАЦИОНАЛЬНЫМ СТАНДАРТАМ РОССИЙСКОЙ ФЕДЕРАЦИИ
Таблица ДА.1
Обозначение ссылочного международного стандарта
Степень соответствия
Обозначение и наименование соответствующего национального стандарта
ИСО/МЭК 8824-1:2002
IDT
ГОСТ Р ИСО/МЭК 8824-1-2001 "Информационная технология. Абстрактная синтаксическая нотация версии один (АСН.1). Часть 1. Спецификация основной нотации"
ИСО 10303-1:1994
IDT
ГОСТ Р ИСО 10303-1-99 "Системы автоматизации производства и их интеграция. Представление данных об изделии и обмен этими данными. Часть 1. Общие представления и основополагающие принципы"
ИСО 10303-41:2000
IDT
ГОСТ Р ИСО 10303-41-99 "Системы автоматизации производства и их интеграция. Представление данных об изделии и обмен этими данными. Часть 41. Интегрированные обобщенные ресурсы. Основы описания и поддержки изделий"
ИСО 10303-42:2003
-
ИС МЕГАНОРМ: примечание.
Взамен ГОСТ Р ИСО 10303-43-2002 Приказом Росстандарта от 30.11.2016 N 1888-ст с 01.01.2018 введен в действие ГОСТ Р ИСО 10303-43-2016.
ИСО 10303-43:2000
IDT
ГОСТ Р ИСО 10303-43-2002 "Системы автоматизации производства и их интеграция. Представление данных об изделии и обмен этими данными. Часть 43. Интегрированные обобщенные ресурсы. Структуры представлений"
ИСО 10303-49:1998
IDT
ГОСТ Р ИСО 10303-49-2003 "Системы автоматизации производства и их интеграция. Представление данных об изделии и обмен этими данными. Часть 49. Интегрированные обобщенные ресурсы. Структура и свойства процесса"
ИСО 10303-50:2002
-
ИСО 13584-20:1998
IDT
ГОСТ Р ИСО 13584-20-2006 "Системы автоматизации производства и их интеграция. Библиотека деталей. Часть 20. Логический ресурс. Логическая модель выражений"
<*> Соответствующий национальный стандарт отсутствует. До его утверждения рекомендуется использовать перевод на русский язык данного международного стандарта. Перевод данного международного стандарта находится в Федеральном информационном фонде технических регламентов и стандартов.
Примечание - В настоящей таблице использовано следующее условное обозначение степени соответствия стандартов:
- IDT - идентичные стандарты.
УДК 656.072:681.3:006.354
ОКС 25.040.40
ОКСТУ 4002
Ключевые слова: автоматизация производства, средства автоматизации, интеграция систем автоматизации, промышленные изделия, данные, представление данных, обмен данными, интегрированные обобщенные ресурсы, математическое представление