Главная // Актуальные документы // ГОСТ Р (Государственный стандарт)СПРАВКА
Источник публикации
М.: Стандартинформ, 2012
Примечание к документу
Документ
введен в действие с 1 января 2013 года.
Название документа
"ГОСТ Р 8.754-2011. Национальный стандарт Российской Федерации. Государственная система обеспечения единства измерений. Анализаторы растворенного в воде кислорода. Методика поверки"
(утв. и введен в действие Приказом Росстандарта от 13.12.2011 N 1083-ст)
"ГОСТ Р 8.754-2011. Национальный стандарт Российской Федерации. Государственная система обеспечения единства измерений. Анализаторы растворенного в воде кислорода. Методика поверки"
(утв. и введен в действие Приказом Росстандарта от 13.12.2011 N 1083-ст)
Утвержден и введен в действие
агентства по техническому
регулированию и метрологии
от 13 декабря 2011 г. N 1083-ст
НАЦИОНАЛЬНЫЙ СТАНДАРТ РОССИЙСКОЙ ФЕДЕРАЦИИ
ГОСУДАРСТВЕННАЯ СИСТЕМА ОБЕСПЕЧЕНИЯ ЕДИНСТВА ИЗМЕРЕНИЙ
АНАЛИЗАТОРЫ РАСТВОРЕННОГО В ВОДЕ КИСЛОРОДА
МЕТОДИКА ПОВЕРКИ
State system for ensuring the uniformity of measurements.
Analyzers of oxygen dissolved in water.
Verification procedure
ГОСТ Р 8.754-2011
Группа Т86.5
Дата введения
1 января 2013 года
Цели и принципы стандартизации в Российской Федерации установлены Федеральным
законом от 27 декабря 2002 г. N 184-ФЗ "О техническом регулировании", а правила применения национальных стандартов Российской Федерации -
ГОСТ Р 1.0-2004 "Стандартизация в Российской Федерации. Основные положения".
1. Разработан Федеральным государственным унитарным предприятием "Всероссийский научно-исследовательский институт физико-технических и радиотехнических измерений" (ФГУП "ВНИИФТРИ") Федерального агентства по техническому регулированию и метрологии.
2. Внесен Управлением метрологии Федерального агентства по техническому регулированию и метрологии.
3. Утвержден и введен в действие
Приказом Федерального агентства по техническому регулированию и метрологии от 13 декабря 2011 г. N 1083-ст.
4. Введен впервые.
Информация об изменениях к настоящему стандарту публикуется в ежегодно издаваемом информационном указателе "Национальные стандарты", а текст изменений и поправок - в ежемесячно издаваемых информационных указателях "Национальные стандарты". В случае пересмотра (замены) или отмены настоящего стандарта соответствующее уведомление будет опубликовано в ежемесячно издаваемом информационном указателе "Национальные стандарты". Соответствующая информация, уведомление и тексты размещаются также в информационной системе общего пользования - на официальном сайте Федерального агентства по техническому регулированию и метрологии в сети Интернет.
Настоящий стандарт разработан в целях унификации методик поверки анализаторов растворенного в воде кислорода и приведения их в соответствие с требованиями Федерального
закона Российской Федерации от 26 июня 2008 г. N 102-ФЗ "Об обеспечении единства измерений" и постановлений правительства Российской Федерации по вопросам единства измерений.
Настоящий стандарт устанавливает методы и средства первичной и периодической поверок анализаторов растворенного в воде кислорода (далее - анализаторы).
Настоящий стандарт распространяется на анализаторы, предназначенные для измерений массовой концентрации растворенного в воде кислорода в диапазоне измерений от 5 до 100000 мкг/дм3 при температуре контролируемой среды от 5 °C до 50 °C.
Межповерочный интервал, предусмотренный методикой поверки, - один год.
Для анализаторов конкретных типов допускается излагать уточнения методик поверки в руководстве по эксплуатации анализатора, не вступающих в противоречие с настоящим стандартом.
В настоящем стандарте использованы нормативные ссылки на следующие стандарты:
ГОСТ Р 8.568-97 Государственная система обеспечения единства измерений. Аттестация испытательного оборудования. Основные положения
ГОСТ Р 51350-99 (МЭК 61010-1-90) Безопасность электрических контрольно-измерительных приборов и лабораторного оборудования. Часть 1. Общие требования
ГОСТ Р 53228-2008 Весы неавтоматического действия. Часть 1. Метрологические и технические требования. Испытания
ГОСТ 12.3.019-80 Система стандартов безопасности труда. Испытания и измерения электрические. Общие требования
ГОСТ 195-77 Реактивы. Натрий сернистокислый. Технические условия
ГОСТ 1770-74 (ИСО 1042-83, ИСО 4788-80) Посуда мерная лабораторная стеклянная. Цилиндры, мензурки, колбы, пробирки. Общие технические условия
ГОСТ 4525-77 Реактивы. Кобальт хлористый 6-водный. Технические условия
ГОСТ 22018-84 Анализаторы растворенного в воде кислорода амперометрические ГСП. Общие технические требования
ГОСТ 28498-90 Термометры жидкостные стеклянные. Общие технические требования. Методы испытаний.
Примечание. При пользовании настоящим стандартом целесообразно проверить действие ссылочных стандартов в информационной системе общего пользования - на официальном сайте Федерального агентства по техническому регулированию и метрологии в сети Интернет или по ежегодно издаваемому информационному указателю "Национальные стандарты", который опубликован по состоянию на 1 января текущего года, и по соответствующим ежемесячно издаваемым информационным указателям, опубликованным в текущем году. Если ссылочный стандарт заменен (изменен), то при пользовании настоящим стандартом следует руководствоваться заменяющим (измененным) стандартом. Если ссылочный стандарт отменен без замены, то положение, в котором дана ссылка на него, применяется в части, не затрагивающей эту ссылку.
В настоящем стандарте применены термины по
[1], а также следующий термин с соответствующим определением:
3.1. Раствор с нулевым содержанием растворенного кислорода: раствор натрия сернистокислого, ч.д.а., в дистиллированной воде.
4.1. При проведении поверки должны быть выполнены операции, указанные в таблице 1.
Таблица 1
Операции поверки
Наименование операции | Номер подраздела настоящего стандарта | Обязательность проведения операций при поверке |
первичной | периодической |
Внешний осмотр | | Да | Да |
Опробование | | Да | Да |
Определение абсолютной и относительной погрешностей анализатора при измерении массовой концентрации растворенного в воде кислорода | | Да | Да |
Определение абсолютной погрешности анализатора при измерении температуры контролируемой среды | | Да | Да |
5.1. Для проведения поверки должны быть применены средства поверки, указанные в таблице 2.
Таблица 2
Номер подраздела настоящего стандарта | Наименование и тип основного средства поверки, обозначение нормативного документа, основные технические характеристики средства поверки |
| Анализатор кислорода - рабочий эталон единицы массовой концентрации растворенного в воде кислорода <*> (диапазон измерений от 0,1 до 100000 мкг/дм 3; погрешность измерений не более 1,5%) |
| Жидкостный термостат (диапазон температур от 10 °C до 50 °C; погрешность установки и поддержания температуры +/- 0,2 °C) |
| Барометр-анероид БАММ-1 (диапазон измерений от 80 до 106 кПа; погрешность +/- 0,2 кПа) |
| Дистиллированная вода по ГОСТ 6709 (удельная электрическая проводимость не более 5·10 -4 См/м) |
| |
| |
| Магнитная мешалка ММ-5 (температура нагрева до 160 °C; скорость вращения от 400 до 1200 об/мин) |
| Термостатируемый стакан по ГОСТ 1770 (вместимость до 250 см 3; погрешность +/- 0,1 см 3) |
| Мерная колба по ГОСТ 1770 (вместимость до 250 см 3; погрешность +/- 0,1 см 3) |
| Ртутный термометр по ГОСТ 28498 (диапазон измерений от 0 °C до 100 °C; погрешность +/- 0,1 °C) |
| |
<*> Анализатор кислорода - рабочий эталон единицы массовой концентрации растворенного в воде кислорода (далее - рабочий эталон) поверяется на установке высшей точности по воспроизведению единицы концентрации растворенного в воде кислорода УВТ 108-А-2008 по методике, изложенной в руководстве по эксплуатации УВТ, с использованием поверочных газовых смесей (ПГС). |
5.2. Средства измерений должны быть исправны, иметь эксплуатационную документацию и свидетельства о поверке по
[2], а поверочное оборудование - аттестаты по
ГОСТ Р 8.568.
5.3. Допускается использование других средств измерений и испытательного оборудования с метрологическими характеристиками не хуже приведенных в
таблице 2.
6. Требования безопасности
6.1. К монтажу и обслуживанию допускаются лица, изучившие общие правила по технике безопасности и допущенные к работе с электроустановками до 1000 В.
6.2. Подключение разъемов проводят согласно маркировке при отключенном напряжении питания.
6.3. Должны быть выполнены требования безопасной работы в соответствии с
[3].
6.4. При проведении поверки необходимо соблюдать общие правила техники безопасности и производственной санитарии по
ГОСТ 12.3.019.
7. Условия проведения поверки и подготовка к ней
7.1. При проведении поверки необходимо соблюдать следующие условия:
- температура окружающего воздуха .................... (20 +/- 5) °C;
- относительная влажность воздуха .................... от 30% до 80%;
- атмосферное давление .......................... от 84 до 106,7 кПа;
- напряжение питающей сети ......................... от 207 до 244 В;
- частота питающей сети .............................. (50 +/- 1) Гц.
7.2. Подготовка к поверке
7.2.1. Для проведения операций поверки собирают установку, схема которой приведена в
Приложении А.
7.2.2. Основное и вспомогательное оборудование, указанное в
таблице 2, подготавливают к работе в соответствии с требованиями нормативных документов и эксплуатационной документации. Поверяемый анализатор в комплекте с измерительным блоком (ИБ) и датчиком подготавливают к работе в соответствии с требованиями руководства по эксплуатации (РЭ).
7.2.3. Время прогрева поверяемого анализатора - не менее 5 мин.
При проведении внешнего осмотра проверяют визуально:
- комплектность поверяемого анализатора (ИБ, датчик, соединительные провода) в соответствии с РЭ;
- целостность корпуса датчика, соединительных проводов (кабелей), отсутствие механических повреждений, препятствующих нормальному функционированию анализатора;
- чистоту и целостность соединителей;
- четкость и правильность маркировки в соответствии с РЭ (обозначение анализатора, наименование или товарный знак предприятия-изготовителя, заводской номер, обозначение переключателей, соединителей, гнезд).
Анализаторы, имеющие дефекты, которые затрудняют эксплуатацию, бракуют и к дальнейшей поверке не допускают.
Опробование осуществляют проверкой функционирования анализатора в разных режимах в соответствии с РЭ.
8.3. Определение абсолютной и относительной погрешностей анализатора при измерении массовой концентрации растворенного в воде кислорода
8.3.1. Определение погрешности анализатора проводят на установке, схема которой приведена в Приложении А,
рисунок А.1.
8.3.2. Определение погрешности анализатора при измерении массовой концентрации растворенного в воде кислорода проводят в растворе с нулевым содержанием растворенного кислорода.
8.3.2.1. В мерной колбе готовят 250 мл водного раствора сернистокислого натрия по
ГОСТ 195 массовой концентрацией 50 г/дм
3 при температуре 20 °C и отстаивают в закрытой колбе не менее 1 ч. Для ускорения процесса деоксирования раствора рекомендуется добавить в колбу 10 мг хлористого кобальта по
ГОСТ 4525. Раствор можно использовать в течение суток с момента приготовления.
8.3.2.2. Приготовленный раствор заливают в термостатируемый стакан 1 (см.
рисунок А.1) и закрывают его крышкой 9 (см.
рисунок А.1), в которую вставлены датчик поверяемого анализатора, датчик рабочего эталона и термометр.
8.3.2.3. Включают термостат 2 (см.
рисунок А.1), магнитную мешалку 3 (см.
рисунок А.1) и устанавливают температуру раствора (20 +/- 0,2) °C. При достижении заданной температуры раствор выдерживают в течение 15 мин.
8.3.2.4. Записывают показания рабочего эталона CД и поверяемого анализатора Cизм.
8.3.2.5. Определяют абсолютную погрешность анализатора

, мкг/дм
3, по формуле

(1)
8.3.2.6. Определяют относительную погрешность анализатора

, %, по формуле

(2)
8.3.2.7. Если абсолютная

или относительная

погрешности выходят за допускаемые пределы, приведенные в эксплуатационной документации на поверяемый анализатор, то операции по
8.3.2.1 - 8.3.2.6 повторяют. При получении отрицательного результата поверки вторично анализатор бракуют.
8.3.3. Определение погрешности анализатора при измерении массовой концентрации кислорода в воде, насыщенной атмосферным воздухом
8.3.3.1. Датчики поверяемого анализатора и рабочего эталона вынимают из раствора с нулевым содержанием растворенного кислорода, тщательно промывают их чувствительную часть сначала водопроводной, а затем дистиллированной водой. С помощью фильтровальной бумаги или марлевого тампона удаляют оставшиеся капли воды.
8.3.3.2. В чистый термостатируемый стакан наливают 100 см3 дистиллированной воды и выдерживают в течение 1 ч при непрерывном перемешивании. Помещают датчики поверяемого анализатора и рабочего эталона в стакан так, чтобы они находились на расстоянии (20 +/- 10) мм ниже поверхности воды.
8.3.3.3. Включают термостат 2 (см.
рисунок А.1), магнитную мешалку 3 (см.
рисунок А.1) и устанавливают температуру раствора (20 +/- 0,2) °C. Выдерживают в течение 15 мин при заданной температуре.
8.3.3.5. Если абсолютная

или относительная

погрешности выходят за допускаемые пределы, приведенные в эксплуатационной документации на поверяемый анализатор, то операции по
8.3.3.1 - 8.3.3.4 повторяют. При получении отрицательного результата поверки вторично анализатор бракуют.
8.4. Определение абсолютной погрешности анализатора при измерении температуры контролируемой среды
8.4.1. Погрешность при измерении температуры контролируемой среды определяют на отметках 10 °C, 20 °C, 30 °C, 40 °C и 50 °C сравнением показаний датчика температуры поверяемого анализатора с показаниями контрольного термометра.
8.4.2. В соответствии с
рисунком А.1 Приложения А собирают установку и проводят следующие операции.
8.4.3. Погружают чувствительную часть датчика поверяемого анализатора и контрольного термометра на глубину 20 - 30 мм в термостатируемый стакан с интенсивно перемешиваемой дистиллированной водой, имеющей температуру поверяемой отметки.
8.4.4. После выдержки в воде в течение 5 мин снимают показания контрольного термометра и датчика температуры поверяемого анализатора.
8.4.5. Абсолютная погрешность анализатора

, °C, при измерении температуры контролируемой среды рассчитывается по формуле

(3)
где tизм - температура воды, измеренная датчиком температуры поверяемого анализатора;
tД - температура воды, измеренная контрольным термометром.
8.4.6. Если значение

, рассчитанное для каждой выбранной температуры поверяемого анализатора, не превышает пределов допускаемой погрешности измерения, указанных в руководстве по эксплуатации поверяемого анализатора, результаты поверки признают удовлетворительными. В противном случае анализатор бракуют.
9. Оформление результатов поверки
9.1. При положительных результатах поверки наносят оттиск поверительного клейма в паспорт анализатора, наносят наклейку на анализатор или выдают свидетельство о поверке в соответствии с
[2].
9.2. При отрицательных результатах поверки выдают извещение о непригодности по
[2] с указанием причин непригодности.
(обязательное)
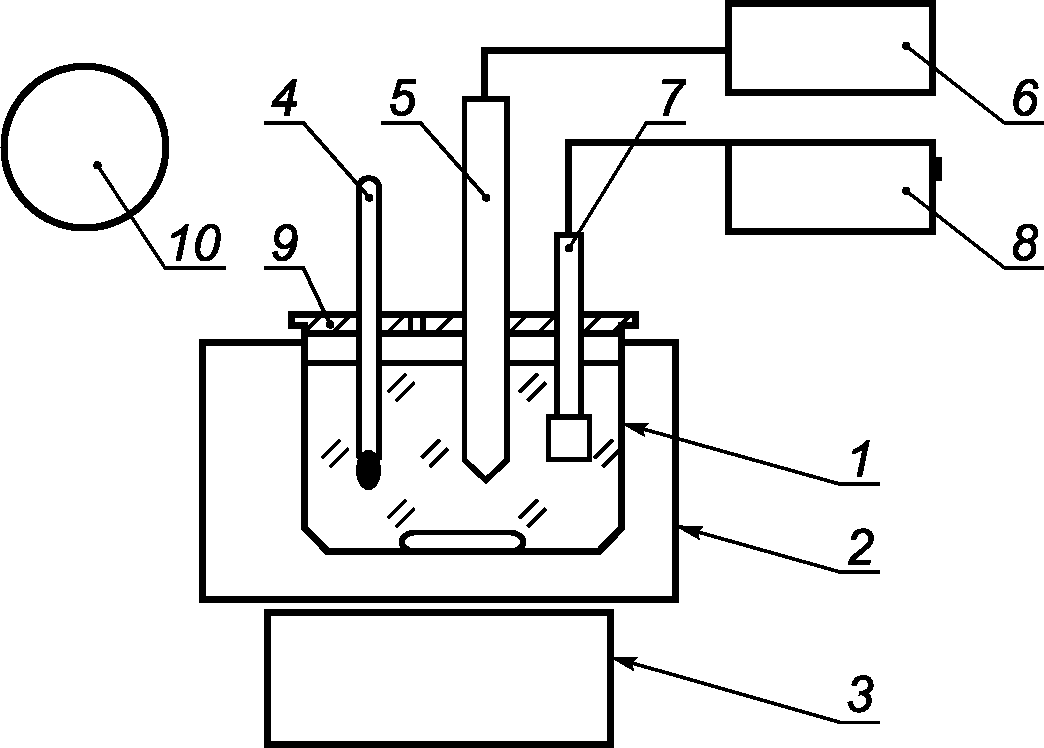
УСТАНОВКИ ДЛЯ ПОВЕРКИ АНАЛИЗАТОРА КИСЛОРОДА
Схема установки для поверки анализатора кислорода приведена на рисунке А.1.
1 - термостатируемый стакан; 2 - водяной термостат;
3 - магнитная мешалка; 4 - контрольный термометр;
5 - датчик рабочего эталона; 6 - измерительный блок
рабочего эталона; 7 - датчик поверяемого анализатора;
8 - измерительный блок поверяемого анализатора; 9 - крышка
стакана; 10 - барометр-анероид
| Рекомендации по межгосударственной стандартизации | Государственная система обеспечения единства измерений. Метрология. Основные термины и определения |
| Правила по метрологии | Государственная система обеспечения единства измерений. Порядок проведения поверки средств измерений |
| | Правила устройства и безопасной эксплуатации сосудов, работающих под давлением. |