Главная // Актуальные документы // ГОСТ Р (Государственный стандарт)
СПРАВКА
Источник публикации
М.: Стандартинформ, 2015
Примечание к документу
Документ введен в действие с 1 июля 2015 года.
Название документа
"ГОСТ Р 56199-2014. Национальный стандарт Российской Федерации. Объекты спорта. Требования безопасности на спортивных сооружениях образовательных организаций"
(утв. и введен в действие Приказом Росстандарта от 30.10.2014 N 1459-ст)

"ГОСТ Р 56199-2014. Национальный стандарт Российской Федерации. Объекты спорта. Требования безопасности на спортивных сооружениях образовательных организаций"
(утв. и введен в действие Приказом Росстандарта от 30.10.2014 N 1459-ст)


Содержание


Утвержден и введен в действие
Приказом Федерального
агентства по техническому
регулированию и метрологии
от 30 октября 2014 г. N 1459-ст
НАЦИОНАЛЬНЫЙ СТАНДАРТ РОССИЙСКОЙ ФЕДЕРАЦИИ
ОБЪЕКТЫ СПОРТА
ТРЕБОВАНИЯ БЕЗОПАСНОСТИ НА СПОРТИВНЫХ СООРУЖЕНИЯХ
ОБРАЗОВАТЕЛЬНЫХ ОРГАНИЗАЦИЙ
Sports facilities. Safety requirements for sports
facilities of educational organizations
ГОСТ Р 56199-2014
Группа Т50
ОКС 03.080.30
ОКСТУ 0131
Дата введения
1 июля 2015 года
Предисловие
1. Разработан Обществом с ограниченной ответственностью "Центральная научно-исследовательская лаборатория в области физической культуры и спорта" (ООО "ЦНИЛвОФКиС").
2. Внесен Техническим комитетом по стандартизации 444 "Спортивные и туристские изделия, оборудование, инвентарь, физкультурные и спортивные услуги".
3. Утвержден и введен в действие Приказом Федерального агентства по техническому регулированию и метрологии от 30 октября 2014 г. N 1459-ст.
4. Введен впервые.
Правила применения настоящего стандарта установлены в ГОСТ Р 1.0-2012 (раздел 8). Информация об изменениях к настоящему стандарту публикуется в ежегодном (по состоянию на 1 января текущего года) информационном указателе "Национальные стандарты", а официальный текст изменений и поправок - в ежемесячном информационном указателе "Национальные стандарты". В случае пересмотра (замены) или отмены настоящего стандарта соответствующее уведомление будет опубликовано в ближайшем выпуске информационного указателя "Национальные стандарты". Соответствующая информация, уведомление и тексты размещаются также в информационной системе общего пользования - на официальном сайте Федерального агентства по техническому регулированию и метрологии в сети Интернет (gost.ru).
1. Область применения
Настоящий стандарт устанавливает требования безопасности на спортивных сооружениях образовательных организаций при проведении учебно-тренировочных, спортивных и физкультурно-оздоровительных мероприятий и методы испытаний (проверки).
Требования настоящего стандарта распространяются на образовательные организации, в собственности или управлении которых находятся спортивные сооружения.
Настоящий стандарт может быть использован для оценки техники безопасности спортивных сооружений следующих видов:
- открытых спортивных сооружений при образовательных организациях;
- закрытых спортивных сооружений при образовательных организациях;
- бассейнов при образовательных организациях.
2. Нормативные ссылки
В настоящем стандарте использованы нормативные ссылки на следующие стандарты:
ГОСТ 112-78 Термометры метеорологические стеклянные. Технические условия
ГОСТ 6376-74 Анемометры ручные со счетным механизмом. Технические условия
ГОСТ 7502-98 Рулетки измерительные металлические. Технические условия
ГОСТ 24146-89 Зрительные залы. Метод измерения времени реверберации
ГОСТ Р 53491.1-2009 Бассейны. Подготовка воды. Часть 1. Общие требования
ГОСТ Р 54944-2012 Здания и сооружения. Методы измерения освещенности
ГОСТ Р 55529-2013 Объекты спорта. Требования безопасности при проведении спортивных и физкультурных мероприятий. Методы испытаний
ГОСТ 23337-78 (СТ СЭВ 2600-80) Шум. Методы измерения шума на селитебной территории и в помещениях жилых и общественных зданий
Примечание. При пользовании настоящим стандартом целесообразно проверить действие ссылочных стандартов в информационной системе общего пользования - на официальном сайте Федерального агентства по техническому регулированию и метрологии в сети Интернет или по ежегодному информационному указателю "Национальные стандарты", который опубликован по состоянию на 1 января текущего года, и по выпускам ежемесячного информационного указателя "Национальные стандарты" за текущий год. Если заменен ссылочный стандарт, на который дана недатированная ссылка, то рекомендуется использовать действующую версию этого стандарта с учетом всех внесенных в данную версию изменений. Если заменен ссылочный стандарт, на который дана датированная ссылка, то рекомендуется использовать версию этого стандарта с указанным выше годом утверждения (принятия). Если после утверждения настоящего стандарта в ссылочный стандарт, на который дана датированная ссылка, внесено изменение, затрагивающее положение, на которое дана ссылка, то это положение рекомендуется применять без учета данного изменения. Если ссылочный стандарт отменен без замены, то положение, в котором дана ссылка на него, рекомендуется применять в части, не затрагивающей эту ссылку.
3. Термины и определения
В настоящем стандарте применены термины по [1], ГОСТ Р 55529, а также следующие термины с соответствующими определениями:
3.1. Объект спорта при образовательных организациях: объект недвижимого имущества, представляющий собой спортивные сооружения, используемые для проведения учебно-тренировочных, спортивных и физкультурно-оздоровительных мероприятий в образовательных организациях.
3.2. Открытое спортивное сооружение: плоскостной объект спорта открытого типа, имеющий соответствующие пространственно-территориальные характеристики, разметку и оборудование для проведения учебно-тренировочных, спортивных и физкультурно-оздоровительных мероприятий.
3.3. Закрытое спортивное сооружение: объект спорта крытого типа, имеющий фиксированные пространственные характеристики и габариты, содержащий в своем составе оснащенную и размеченную соответствующим образом спортивную площадку и оборудование для проведения учебно-тренировочных, спортивных и физкультурно-оздоровительных мероприятий.
3.4. Бассейн: объект спорта крытого или открытого типа, содержащий в своем составе ванны для занятий водными видами спорта.
Примечание. Различают плавательные бассейны с универсальными (многофункциональными) ваннами и специализированные бассейны.
4. Требования к спортивным и игровым покрытиям
4.1. К покрытиям (поверхностям) беговых дорожек, спортивных и игровых площадок в объектах спорта при образовательных организациях устанавливаются следующие требования:
- поверхности и/или покрытия площадок должны быть однородными и не иметь видимых дефектов, в т.ч. разрывов, разломов, трещин и т.п.;
- поверхности и/или покрытия площадок должны быть ровными: не допускается наличие неровностей, превышающих 10 мм.
4.2. Оценку спортивных и игровых покрытий в объектах спорта при образовательных организациях проводят в соответствии с Методом 1 настоящего стандарта.
5. Требования безопасности игрового спортивного оборудования
5.1. Игровое спортивное оборудование в стационарном виде и при проведении учебно-тренировочных, спортивных и физкультурно-оздоровительных мероприятий должно соответствовать требованиям безопасности.
5.2. На поверхности игрового спортивного оборудования не допускается наличие выступающих острых элементов (например, заусенцев, неплотно сидящих гвоздей, частей проволоки из закрепляющих шнуров), которые могут послужить причиной травм. Поверхность элементов оборудования должна быть гладкой. Сварочные швы должны быть отшлифованы. Выступающие части крепежа должны быть постоянно закрыты защитными элементами, за исключением случаев, когда они надежно защищены от контакта с пользователем конструкцией оборудования.
5.3. Углы и грани, не защищенные от контакта с пользователем конструкцией оборудования, должны быть закруглены с минимальным радиусом 4 мм.
5.4. Конструкцией игрового спортивного оборудования должно быть исключено застревание отдельных частей тела.
5.4.1. Требования к обеспечению предотвращения застреваний частей тела
Все элементы конструкции оборудования, расположенные на высоте более 1200 мм от поверхности земли (например, рама поддержки сетки футбольных или гандбольных ворот), не должны иметь сужений с углом менее чем 60° и отверстий (проемов) диаметром менее 230 мм.
5.5. Все крепления игрового оборудования должны обеспечивать его безопасность, в т.ч.:
- соблюдение устойчивости к опрокидыванию ворот для мини-футбола/гандбола к горизонтальной нагрузке 1100 Н, приложенной на высоте 2 м;
- соблюдение устойчивости крепления кольца баскетбольного щита к вертикальной нагрузке 1000 Н, приложенной к наиболее удаленной от щита части кольца;
- соблюдение устойчивости крепления волейбольных стоек (прогиб не более 80 мм) к горизонтальной нагрузке 1440 Н, приложенной на уровне несущего троса;
- соблюдение устойчивости крепления теннисных стоек к горизонтальной нагрузке 2290 Н, приложенной на уровне несущего троса.
5.6. Испытания устойчивости к опрокидыванию ворот проводят в соответствии с Методом 2 настоящего стандарта.
Испытания устойчивости крепления кольца проводят в соответствии с Методом 3 настоящего стандарта.
Испытания устойчивости крепления волейбольных стоек проводят в соответствии с Методом 4 настоящего стандарта.
Испытания устойчивости крепления теннисных стоек проводят в соответствии с Методом 5 настоящего стандарта.
6. Требования безопасности гимнастического оборудования
6.1. Гимнастическое оборудование в стационарном виде и при проведении учебно-тренировочных, спортивных и физкультурно-оздоровительных мероприятий должно соответствовать требованиям безопасности.
6.2. Требования к поверхности гимнастического оборудования
6.2.1. На поверхности гимнастического оборудования не допускается наличие выступающих острых элементов (например, заусенцев, неплотно сидящих гвоздей, частей проволоки из закрепляющих шнуров), которые могут послужить причиной травм. Поверхность элементов оборудования должна быть гладкой. Сварочные швы оборудования должны быть отшлифованы. Выступающие части крепежа должны быть постоянно закрыты защитными элементами (за исключением случаев, когда они надежно защищены от контакта с пользователем конструкцией оборудования).
6.2.2. Углы и грани, не защищенные от контакта с пользователем конструкцией оборудования, должны быть закруглены с минимальным радиусом 3 мм.
6.3. Все крепления гимнастического оборудования должны обеспечивать его безопасность, в т.ч.:
- соблюдение сохранения устойчивости перекладины (турника) к горизонтальной нагрузке 3800 Н, приложенной к середине перекладины (турника);
- соблюдение деформации (прогиба) перекладины (турника) не более 100 мм при вертикальной нагрузке 2000 Н, приложенной к середине перекладины (турника);
- соблюдение устойчивости прочности закрепления шведской стенки к горизонтальной нагрузке 900 Н, приложенной к верхней и нижней перекладинам стенки;
- соблюдение деформации (прогиба) прочности жердей гимнастических брусьев не более 40 - 100 мм при вертикальной нагрузке 1350 Н, приложенной к середине жердей брусьев;
- соблюдение прочности и устойчивости закрепления гимнастических колец к нагрузке 4530 Н;
- соблюдение устойчивости гимнастического коня к нагрузке, составляющей 20% собственной массы коня, но не менее 70 Н.
6.4. Испытания сохранения устойчивости перекладины (турника) проводят в соответствии с Методом 6 настоящего стандарта.
Испытания деформации (прогиба) перекладины (турника) проводят в соответствии с Методом 6 настоящего стандарта.
Испытания устойчивости прочности закрепления шведской стенки проводят в соответствии с Методом 6 настоящего стандарта.
Испытания деформации (прогиба) прочности жердей гимнастических брусьев проводят в соответствии с Методом 7 настоящего стандарта.
Испытания прочности и устойчивости закрепления гимнастических колец проводят в соответствии с Методом 8 настоящего стандарта.
Испытания устойчивости гимнастического коня проводят в соответствии с Методом 9 настоящего стандарта.
6.5. Требования к обеспечению предотвращения застреваний частей тела
6.5.1. Конструкцией гимнастического оборудования должно быть исключено наличие или появление под нагрузкой в процессе использования свободных пространств (отверстий, углублений) или элементов, которые могут послужить причиной ущемления или застревания частей тела пользователя (прежде всего головы, шеи и пальцев).
6.5.2. Соответствие оборудования данному требованию проверяют путем проведения визуального осмотра и инспекции, а также измерений в соответствии с Методом 10 настоящего стандарта.
6.5.3. Свободные пространства (отверстия, щели), расположенные на уровне ниже 600 мм от уровня пола, не рассматриваются как представляющие опасность для головы и шеи, за исключением случаев, когда в процессе использования они могут быть перемещены выше допустимого уровня.
7. Требования безопасности открытых спортивных сооружений
7.1. Требования безопасности открытых спортивных сооружений при образовательных организациях приведены в таблице 1.
Таблица 1
Требования безопасности открытых спортивных сооружений
при образовательных организациях
Требование безопасности
Метод испытаний (проверки)
Искусственное освещение открытых спортивных сооружений
Соответствие минимальной освещенности [2] (подраздел 10.10)
Пути эвакуации с трибун
Уклон лестниц трибун, не оборудованных поручнями высотой не менее 0,9 м или устройствами, их заменяющими, - не более 1:1,6
Измерение рулеткой
Уклон лестниц трибун, оборудованных поручнями высотой не менее 0,9 м или устройствами, их заменяющими, - не более 1:1,4
Измерение рулеткой
Отсутствие лестниц или ступеней в люках на пути эвакуации
Визуально
Наличие распределительных поручней на высоте не менее 0,9 м для лестниц, проходов и люков с шириной более 4 м
Визуально, измерение рулеткой
Наличие ограждения высотой не менее 0,8 м, не мешающее видимости, установленное вдоль прохода каждого зрительного ряда при разнице отметок пола смежных рядов более 0,55 м
Визуально, измерение рулеткой
Высота барьера перед первым рядом на балконах и ярусах не менее 0,8 м
Визуально, измерение рулеткой
Ширина путей эвакуации для горизонтальных проходов, пандусов и лестниц на трибунах более 1 м
Измерение рулеткой
Ширина путей эвакуации для эвакуационных люков трибун более 1,5 м
Измерение рулеткой
Расстояние от спинки до спинки между рядами кресел, стульев или скамеек не менее 0,45 м
Измерение рулеткой
Число непрерывно установленных мест в ряду (при одностороннем входе) не более 26
Визуально, подсчет
Число непрерывно установленных мест в ряду (при двустороннем входе) не более 50
Визуально, подсчет
7.2. Для измерения необходимо использовать рулетку II класса точности по ГОСТ 7502.
8. Требования безопасности закрытых спортивных сооружений
8.1. Требования безопасности закрытых спортивных сооружений при образовательных организациях приведены в таблице 2.
Таблица 2
Требования безопасности закрытых спортивных
сооружений при образовательных организациях
Требование безопасности
Метод испытаний (проверки)
Акустические показатели
Соответствие времени реверберации звука [3] (пункт 7.2.1)
Соответствие звукового давления (дБ) [3] (пункт 7.2.1)
Соответствие уровня звука (дБА) [3] (пункт 7.2.1)
Искусственное освещение закрытых спортивных сооружений
Соответствие минимальной освещенности [3] (подраздел 7.1 и пункт 8.3.2)
Защищенность светильника от удара мячом - в залах для игр с мячом [3] (пункт 8.3.1)
Визуально
Пути эвакуации с трибун
Уклон лестниц трибун, не оборудованных поручнями высотой не менее 0,9 м или устройствами, их заменяющими, - не более 1:1,6
Измерение рулеткой
Уклон лестниц трибун, оборудованных поручнями высотой не менее 0,9 м или устройствами, их заменяющими, - не более 1:1,4
Измерение рулеткой
Отсутствие лестниц или ступеней в люках на пути эвакуации
Визуально
Наличие распределительных поручней на высоте не менее 0,9 м для лестниц, проходов и люков с шириной более 4 м
Визуально, измерение рулеткой
Наличие ограждения высотой не менее 0,8 м, не мешающего видимости, установленное вдоль прохода каждого зрительного ряда, при разнице отметок пола смежных рядов более 0,55 м
Визуально, измерение рулеткой
Высота барьера перед первым рядом на балконах и ярусах не менее 0,8 м
Визуально, измерение рулеткой
Ширина дверного проема для входа в ложи не менее 0,9 м
Измерение рулеткой
Расстояние от спинки до спинки между рядами кресел, стульев или скамеек не менее 0,45 м
Измерение рулеткой
Число непрерывно установленных мест в ряду (при одностороннем входе) не более 26
Визуально, подсчет
Число непрерывно установленных мест в ряду (при двустороннем входе) не более 50
Визуально, подсчет
Ширина кулуаров не менее 2,4 м
Измерение рулеткой
Ширина путей эвакуации для горизонтальных проходов, пандусов и лестниц на трибунах не менее 1 м
Измерение рулеткой
Ширина путей эвакуации для эвакуационных люков трибун не менее 1,35 м
Измерение рулеткой
Расстояние между выходами при устройстве партера на спортивной арене (при наличии только двух выходов) не менее половины зала
Измерение рулеткой
Ширина дверных проемов в зрительном зале не менее 1,2 м
Измерение рулеткой
Отсутствие прохода через спортивный зал путей эвакуации зрителей, находящихся на балконе
Визуально
Наличие дверей выходов из спортивного зала и на путях эвакуации самозакрывающихся с уплотненными притворами
Визуально
8.2. Для измерения необходимо использовать рулетку II класса точности по ГОСТ 7502.
9. Требования безопасности плавательных бассейнов
9.1. Требования безопасности плавательных бассейнов представлены в таблице 3.
Таблица 3
Требования безопасности плавательных бассейнов
при образовательных организациях
Требование безопасности
Метод испытаний (проверки)
Вода ванн бассейнов
Соответствие температуры воды в ванне бассейна [5]
Термометр
Соответствие качества воды в ванне бассейна ГОСТ Р 53491.1 (пункт 5.3.1)
Микроклимат бассейнов
Соответствие температуры воздуха в помещениях ванн бассейна [5]
Подвижность воздуха в помещениях ванн бассейна и залах подготовительных занятий [5]
Акустические показатели
Соответствие времени реверберации звука [5] (подраздел 9.1)
Соответствие звукового давления (дБ) [5] (подраздел 9.1)
Соответствие уровня звука (дБА) [5] (раздел 9)
Искусственное освещение помещений ванн бассейнов
Соответствие минимальной освещенности [5] (подраздел 13.2)
Система водоподготовки
Наличие сетчатых фильтров системы очистки воды
Визуально
Наличие установки дозирования коагулянта системы очистки воды фильтров очистки воды
Визуально
Наличие насыпных фильтров системы очистки воды
Визуально
Наличие системы обеззараживания воды хлорсодержащими реагентами
Визуально
Наличие автоматической системы контроля качества воды
Визуально
Ванны бассейнов
Наличие лестниц для входа в воду и выхода из воды
Визуально
Расположение лестниц в нишах
Визуально
Наличие высоких поручней для спуска в воду и выхода из воды
Визуально
Наличие специального устройства для спуска в воду инвалидов
Визуально
Наличие закругленных краев бортов ванны
Визуально
Швы между плитами тщательно затерты
Визуально
Целостность верхнего покрытия ванны бассейна, стенок бортиков и обходных дорожек
Визуально
Отсутствие сколов плитки, незакрепленной плитки
Визуально
Наличие четкого видимого края бортика ванны - контрастный цвет плитки
Визуально
Оснащенность зала (помещения) ванны спасательными средствами:
- спасательный круг (конец "Александрова") - 4 шт.;
- плавающий шест с крюком или кольцом на конце - 3 шт.;
- плотик (плавающие носилки) - 1 шт.
Визуально, подсчет
Залы (помещения) ванн бассейнов
Нескользкая поверхность обходной дорожки
Визуально
Уклон обходных дорожек в сторону трапов от 1% до 2%
Визуально, уровень
Наличие обогрева обходных дорожек
Визуально, термометр
Наличие обогрева стационарных скамеек
Визуально, термометр
Наличие обогрева полов водной зоны зала
Визуально, термометр
Закругленные сопряжения стен и колонн с полами
Визуально
Пути эвакуации из залов бассейнов
Уклон лестниц трибун, не оборудованных поручнями высотой не менее 0,9 м или устройствами, их заменяющими, - не более 1:1,6
Измерение рулеткой
Уклон лестниц трибун, оборудованных поручнями высотой не менее 0,9 м или устройствами, их заменяющими, - не более 1:1,4
Измерение рулеткой
Отсутствие лестниц или ступеней в люках на пути эвакуации
Визуально
Наличие распределительных поручней на высоте не менее 0,9 м для лестниц, проходов и люков с шириной более 4 м
Визуально, измерение рулеткой
Наличие ограждения высотой не менее 0,8 м, не мешающего видимости, установленное вдоль прохода каждого зрительного ряда, при разнице отметок пола смежных рядов более 0,55 м
Визуально, измерение рулеткой
Высота барьера перед первым рядом на балконах и ярусах не менее 0,8 м
Визуально, измерение рулеткой
Ширина дверного проема для входа в ложи не менее 0,9 м
Измерение рулеткой
Расстояние от спинки до спинки между рядами кресел, стульев или скамеек не менее 0,45 м
Измерение рулеткой
Число непрерывно установленных мест в ряду (при одностороннем входе) не более 26
Визуально, подсчет
Число непрерывно установленных мест в ряду (при двустороннем входе) не более 50
Визуально, подсчет
Ширина кулуаров не менее 2,4 м
Измерение рулеткой
Ширина путей эвакуации для горизонтальных проходов, пандусов и лестниц на трибунах не менее 1 м
Измерение рулеткой
Ширина путей эвакуации для эвакуационных люков трибун крытых спортивных сооружений не менее 1,35 м
Измерение рулеткой
Расстояние между выходами при устройстве партера на спортивной арене (при наличии только двух выходов) не менее половины зала
Измерение рулеткой
Ширина дверных проемов в зрительном зале не менее 1,2 м
Измерение рулеткой
Отсутствие прохода через зал бассейна путей эвакуации зрителей, находящихся на балконе
Визуально
Наличие дверей выходов из спортивного зала и на путях эвакуации самозакрывающихся с уплотненными притворами
Визуально
9.2. Для измерения необходимо использовать рулетку II класса точности по ГОСТ 7502.
9.3. При проверке температуры воды ванн бассейнов необходимо использовать термометр точностью измерений +/- 0,1 °C по ГОСТ 112.
9.4. При проверке подвижности воздуха в помещениях ванн бассейнов необходимо использовать анемометр точностью измерений +/- 2% по ГОСТ 6376.
10. Методы испытаний (проверки)
Оценку техники безопасности в объектах спорта при образовательных организациях проводят Методами 1 - 10, приведенными в 10.1 - 10.10.
10.1. Метод 1. Определение ровности покрытий спортивных площадок
10.1.1. Измерительное оборудование
Измерительная рейка длиной (3000 +/- 5) мм, изготовленная из достаточно жестокого материала. Максимальный прогиб в горизонтальной плоскости не должен превышать 0,5 мм.
В процессе измерений измерительная рейка не должна отклоняться от установленной длины более чем на 1,5 мм. Толщина рейки должна составлять (25 +/- 1) мм (см. рисунок 1).
1 - длина рейки; 2 - толщина рейки
Рисунок 1. Измерительная рейка
Расстояние между измерительной рейкой и покрытием определяют измерительным клином длиной (300 +/- 1) мм и шириной (25 +/- 1) мм.
Уклон клина должен быть размечен таким образом, чтобы отображать расстояние между нижней и верхней поверхностями клина с шагом 1 мм на участке первых 10 мм от начала клина и с шагом 2,5 мм далее, с точностью 0,1 мм (см. рисунок 2).
1 - длина (300 +/- 1) мм; 2 - ширина (25 +/- 1) мм
Рисунок 2. Измерительный клин
10.1.2. Процедура измерения
Перед измерением следует убедиться, что исследуемая поверхность свободна от мусора. Измерительную рейку размещают на исследуемой поверхности в любом месте и в любом направлении.
Передвигают рейку параллельно и перпендикулярно по поверхности площадки для выявления неровностей.
При обнаружении свободного пространства между рейкой и исследуемой поверхностью измеряют зазор с помощью измерительного клина, вставляя измерительный клин пространство между рейкой и исследуемой поверхностью.
Результат фиксируют на схеме площадки.
10.1.3. Обработка результатов измерений
Результаты измерений должны быть зафиксированы с точностью до 1 мм.
10.2. Метод 2. Определение устойчивости и прочности ворот для футбола и мини-футбола
10.2.1. Ворота для футбола
10.2.1.1. Проверка прочности ворот
Прикладывают вертикально направленную силу 1800 Н к центру перекладины на 1 мин +/- 10 с. Отмечают повреждения или разрушение ворот. Ослабляют приложенную силу. Проверяют наличие деформации ворот через 30 мин +/- 30 с.
10.2.1.2. Проверка стабильности футбольных ворот
Ворота устанавливают в положение, предназначенное для использования. Прикладывают горизонтально направленную силу 1100 Н к верхней части центра перекладины на 1 мин +/- 10 с, используя для этого веревку длиной 3000 мм. Ворота не должны опрокидываться или скользить (см. рисунок 3).
Рисунок 3. Проверка стабильности ворот для футбола
10.2.2. Ворота для мини-футбола
10.2.2.1. Проверка прочности
Прикладывают вертикально направленную силу 1800 Н к центру перекладины на 1 мин +/- 10 с. Отмечают повреждения или разрушение ворот. Ослабляют приложенную силу. Проверяют наличие деформации ворот через 30 мин +/- 30 с.
10.2.2.2. Проверка стабильности ворот для мини-футбола
Ворота устанавливают в положение, предназначенное для использования. Прикладывают горизонтально направленную силу 1100 Н к верхней части центра перекладины на 1 мин +/- 10 с (см. рисунок 4). Ворота не должны опрокидываться или скользить.
Рисунок 4. Проверка стабильности ворот для мини-футбола
10.3. Метод 3. Определение стабильности крепления кольца баскетбольного щита
10.3.1. Устройства для проведения испытаний
Устройство для создания нагрузки (например, лебедка, свободный груз и т.п.).
Устройство регистрации нагрузки (динамометр).
10.3.2. Проведение испытаний
Устройство для создания нагрузки устанавливают таким образом, чтобы нагрузка была приложена к наиболее удаленной от щита точке кольца.
Вертикальное усилие 1000 Н прикладывают на 1 мин +/- 10 с к наиболее удаленной от щита точке кольца. Снимают усилие. Отмечают наличия повреждений конструкции кольца и его крепления к щиту.
10.3.3. Определение результатов
Не допускается наличие постоянных деформаций конструкции кольца и его крепления к щиту размерами более 10 мм.
10.4. Метод 4. Определение стабильности устройства натяжения и крепления волейбольных стоек
10.4.1. Устройства для проведения испытаний
Устройство для создания нагрузки (например, лебедка, свободный груз и т.п.).
Устройство регистрации нагрузки (динамометр).
10.4.2. Проведение испытаний
Горизонтальное усилие F, равное 1200 Н, прикладывают к несущему тросу на высоте 2430 мм <1>) над уровнем пола спортивного зала. Натяжение увеличивают до 1,2F, равное 1440 Н, и сохраняют в течение 1 мин +/- 10 с. Затем усилие полностью снимают.
--------------------------------
<1> Высота сетки при проведении соревнований среди мужчин.
10.4.3. Определение результатов
Регистрируют возможное ослабление запорного механизма натяжного устройства или крепления сетки. Регистрируют прогиб под нагрузкой. Прогиб определяют в миллиметрах.
10.5. Метод 5. Определение стабильности устройства натяжения теннисных стоек
10.5.1. Устройства для проведения испытаний
Устройство для создания нагрузки (например, лебедка, свободный груз и т.п.).
Устройство регистрации нагрузки (динамометр).
10.5.2. Проведение испытаний
Теннисные стойки устанавливают в положение, предназначенное для использования. Стальную проволоку (диаметр 5 мм) с динамометром приводят в рабочее положение поддерживающего троса. Натяжение устройства увеличивают до 2290 Н. Усилие сохраняют в течение 10 мин.
10.5.3. Определение результатов
Регистрируют возможное ослабление натяжного устройства.
10.6. Метод 6. Определение устойчивости, прочности и прогиба турников и перекладин, в т.ч. шведских стенок
10.6.1. Устройства для проведения испытаний
Устройство для создания нагрузки (например, лебедка, свободный груз и т.п.).
Устройство регистрации нагрузки (динамометр).
Ремень шириной (100 +/- 1) мм, через который нагрузку прикладывают на проверяемый элемент гимнастического снаряда.
10.6.2. Общие требования к проведению испытаний
Все испытания под нагрузкой выполняют в нормальном рабочем положении оборудования в соответствии со спецификацией изготовителя, если иное не оговорено требованиями данной методики.
10.6.3. Определение устойчивости
10.6.3.1. Проведение испытаний
Горизонтальное усилие 3800 Н прикладывают к середине перекладины, в течение 1 мин +/- 10 с.
10.6.3.2. При проведении испытаний шведских стенок горизонтальное усилие 900 Н прикладывают к середине перекладины в течение 1 мин +/- 10 с.
10.6.3.3. Определение результатов
Отмечают наличие и динамику наклона или скольжения.
10.6.4. Определение прогиба
10.6.4.1. Проведение испытаний
Перекладину устанавливают на максимальной рабочей высоте. Вертикальное усилие 2000 Н прикладывают к середине перекладины в течение 1 мин +/- 10 с. Регистрируют прогиб. Снимают усилие. Измеряют остаточный прогиб через (30 +/- 1) мин после снятия усилия. Остаточный прогиб регистрируют.
10.6.4.2. Определение результатов
Прогиб под нагрузкой определяют в миллиметрах. Остаточный прогиб определяют в миллиметрах как прогиб через (30 +/- 1) мин после удаления усилия.
10.6.5. Определение прочности перекладин
10.6.5.1. Проведение испытаний
Вертикальное усилие 4750 Н прикладывают к середине перекладины между опорами в течение 1 мин +/- 10 с. Отмечают все изломы, трещины, дефекты снаряда.
10.6.5.2. Определение результатов
Прочность оценивают по наличию или отсутствию изломов и иных повреждений.
10.7. Метод 7. Определение устойчивости, прочности и прогиба гимнастических брусьев
10.7.1. Устройства для проведения испытаний
10.7.1.1. Устройство для создания нагрузки (например, лебедка, свободный груз и т.п.).
10.7.1.2. Устройство регистрации нагрузки (динамометр).
10.7.1.3. Ремень шириной (100 +/- 1) мм, через который нагрузку прикладывают на проверяемый элемент гимнастического снаряда.
10.7.2. Общие требования к проведению испытаний
Все испытания под нагрузкой проводят, когда жерди находятся на максимальной рабочей высоте.
10.7.3. Определение устойчивости
10.7.3.1. Проведение испытаний
Снаряд следует зафиксировать на полу, чтобы не допустить его сдвигания. Горизонтальное усилие, равное 40% собственной массы снаряда и составляющее не менее 4000 Н, прикладывают к середине жерди и вертикально к ее длине в течение (65 +/- 5) с.
Регистрируют каждый наклон снаряда. Прогиб, при необходимости, измеряют в месте шарнирного соединения в направлении приложенной силы.
10.7.3.2. Определение результатов
Отмечают наличие и динамику наклона. При необходимости, указывают прогиб в месте шарнирного соединения, в миллиметрах.
10.7.4. Определение прогиба
ИС МЕГАНОРМ: примечание.
Нумерация пунктов дана в соответствии с официальным текстом документа.
10.11.4.1. Проведение испытаний
Вертикальное усилие (1350 +/- 50) Н прикладывают к середине каждой жерди в течение (65 +/- 5) с. Позицию нагруженной части измеряют с любой удобной начальной точки. Регистрируют прогиб. Снимают усилие. Измеряют остаточный прогиб через (30 +/- 1) мин после снятия усилия. Каждый остаточный прогиб регистрируют.
10.7.4.2. Определение результатов
Прогиб под нагрузкой определяют в миллиметрах. Остаточный прогиб определяют в миллиметрах как прогиб через (30 +/- 1) мин после удаления усилия.
10.7.5. Определение прочности
10.7.5.1. Проведение испытаний
Вертикальное усилие (2850 +/- 50) Н прикладывают к середине жерди в течение (65 +/- 5) с. Регистрируют все изломы, трещины, дефекты снаряда.
10.7.5.2. Определение результатов
Прочность оценивают по наличию или отсутствию изломов и иных повреждений.
10.8. Метод 8. Определение прочности закрепления гимнастических колец
10.8.1. Устройства для проведения испытаний
10.8.1.1. Устройство для создания нагрузки (например, лебедка, свободный груз и т.п.).
10.8.1.2. Устройство регистрации нагрузки (динамометр).
10.8.1.3. Ремень шириной (100 +/- 1) мм, через который нагрузку прикладывают на проверяемый элемент гимнастического снаряда.
10.8.2. Прочность закрепления
10.8.2.1. Проведение испытаний
Вертикальное усилие 4530 Н прикладывают вертикально к верхней части оборудования, как изображено на рисунке 5.
Рисунок 5. Определение прочности закрепления
гимнастических колец
10.8.2.2. Определение результатов
Прочность закрепления оценивают по отсутствию изломов, нарушений и иных повреждений.
10.9. Метод 9. Определение устойчивости гимнастического коня
10.9.1. Общие принципы
Горизонтально направленную силу прикладывают к верхней части оборудования. Регистрируют отклонения в положении оборудования.
10.9.2. Проведение испытаний
10.9.2.1. Оборудование устанавливают на максимальной рабочей высоте. Усилие, составляющее 20% собственной массы оборудования, но не менее 70 Н, прикладывают к верхней части оборудования, как изображено на рисунке 6.
F1 - направление приложения усилия
для коня без опорных рукояток;
F2 - направление приложения усилия
для коня с опорными рукоятками
Рисунок 6. Определение устойчивости гимнастического коня
10.9.2.2. Определение результатов
Отмечают потерю контакта между опорой коня и поверхностью (как минимум одной опорой коня и поверхностью).
10.10. Метод 10. Определение соответствия гимнастического оборудования требованиям к обеспечению предотвращения застреваний частей тела
10.10.1. Общие принципы
Размеры и конфигурация свободных пространств (отверстий, углублений) или элементов, которые могут послужить причиной ущемления или застревания частей тела пользователя, проверяют с помощью тестовых щупов установленного размера.
Оценку результатов проверки проводят исходя из наиболее неблагоприятного сценария.
В ситуациях, когда невозможно вынести однозначное заключение, оборудование признается небезопасным.
10.10.2. Измерительное оборудование
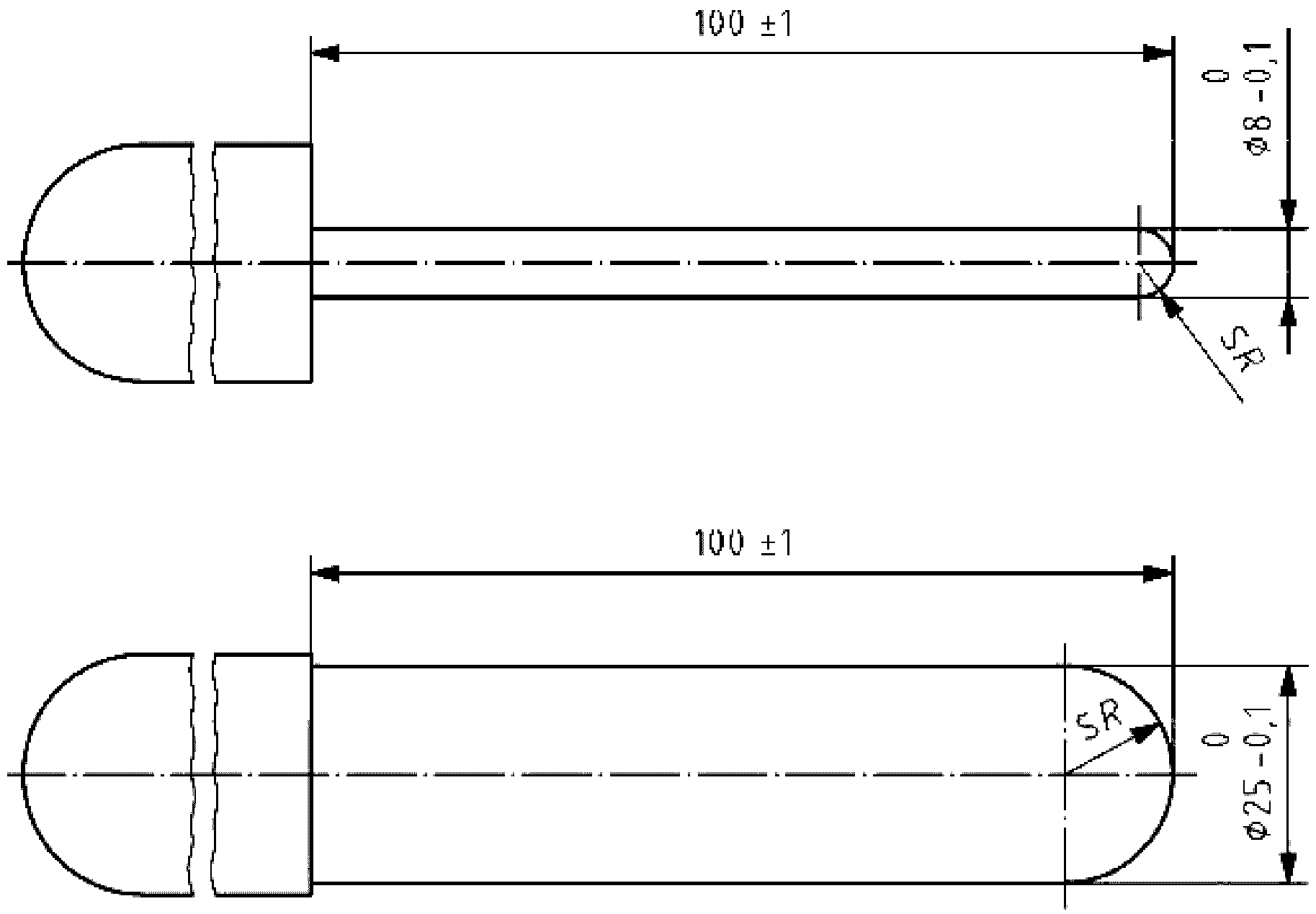
Проверку проводят с помощью измерительных щупов. Схемы измерительных щупов приведены на рисунках 7 и 8.
1 - вид в профиль
Рисунок 7. Конусообразный щуп
SR - сферический радиус
Рисунок 8. Цилиндрические щупы
10.10.3. Проведение проверки
10.10.3.1. Общие принципы
Измерительный щуп располагают по продольной оси проверяемого свободного пространства (отверстий, углублений) и двигают внутрь и обратно.
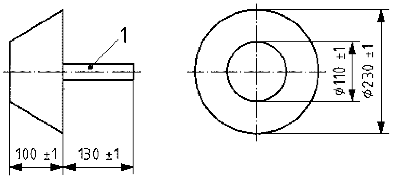
10.10.3.2. Проверка безопасности оборудования для головы и шеи
Проверку проводят конусообразным щупом.
При проверке сквозных отверстий и широких П-образных углублений, в случае если узкая часть конусообразного щупа (110 мм) проходит в свободное пространство, широкая часть щупа (230 мм) также должна беспрепятственно проходить через это же пространство.
При проверке узких П-образных и V-образных углублений, в случае если только узкая часть щупа проходит в углубление, нижняя часть щупа должна касаться дна углубления, при этом щуп не должен застревать в углублении (см. рисунок 9).
Рисунок 9. Проверка соответствия оборудования требованиям
к обеспечению предотвращения застреваний частей тела
При проверке широких V-образных углублений, в случае если широкая часть щупа проходит в углубление, нижняя часть щупа должна касаться дна углубления, при этом щуп не должен застревать в углублении (см. рисунок 10).
Рисунок 10. Проверка соответствия оборудования требованиям
к обеспечению предотвращения застреваний частей тела
10.10.3.3. Проверка безопасности оборудования для пальцев
Проверку проводят цилиндрическими измерительными щупами (диаметром 8 и 25 мм).
Цилиндрический измерительный щуп диаметром 8 мм располагают по продольной оси проверяемого свободного пространства (отверстий, углублений) и двигают внутрь и обратно. В случае если щуп не проходит внутрь отверстия, необходимо попытаться пошевелить его так, как показано на рисунке 11.
Рисунок 11. Проверка соответствия оборудования требованиям
к обеспечению предотвращения застреваний частей тела
Если цилиндрический измерительный щуп диаметром 8 мм свободно проходит внутрь отверстия, необходимо повторить попытку, используя измерительный щуп диаметром 25 мм.
Свободное пространство (отверстие, углубление) признается опасным в любом из следующих случаев:
- если в пространство проходит щуп диаметром 8 мм, но не проходит щуп 25 мм;
- если щуп диаметром 8 мм застревает при продвижении или ином перемещении;
- если щуп диаметром 25 мм проходит в пространство, но не может быть углублен на 100 мм, при этом через пространство открывается доступ к другому, потенциально опасному пространству.
БИБЛИОГРАФИЯ
[1]
Федеральный закон от 04.12.2007 N 329-ФЗ "О физической культуре и спорте в Российской Федерации" в редакции федеральных законов с изменениями и дополнениями
[2]
Свод правил СП 31-115-2006 Открытые плоскостные физкультурно-спортивные сооружения
[3]
Свод правил СП 31-112-2004 Физкультурно-спортивные залы. Часть 1
[4]
Методические указания МУК 4.3.2194-07 Контроль уровня шума на территории жилой застройки, в жилых и общественных зданиях и помещениях
[5]
Свод правил СП 31-113-2004 Бассейны для плавания