Главная // Актуальные документы // ГОСТ Р (Государственный стандарт)СПРАВКА
Источник публикации
В данном виде документ опубликован не был.
Первоначальный текст документа опубликован в издании
М.: Стандартинформ, 2013.
Информацию о публикации документов, создающих данную редакцию, см. в справке к этим документам.
Примечание к документу
Изменение N 1, утв.
Приказом Росстандарта от 25.12.2018 N 1140-ст, введено в действие с 1 апреля 2019 года.
Название документа
"ГОСТ Р 55529-2013. Национальный стандарт Российской Федерации. Объекты спорта. Требования безопасности при проведении спортивных и физкультурных мероприятий. Методы испытаний"
(утв. и введен в действие Приказом Росстандарта от 28.08.2013 N 594-ст)
(ред. от 25.12.2018)
"ГОСТ Р 55529-2013. Национальный стандарт Российской Федерации. Объекты спорта. Требования безопасности при проведении спортивных и физкультурных мероприятий. Методы испытаний"
(утв. и введен в действие Приказом Росстандарта от 28.08.2013 N 594-ст)
(ред. от 25.12.2018)
Утвержден и введен в действие
агентства по техническому
регулированию и метрологии
от 28 августа 2013 г. N 594-ст
НАЦИОНАЛЬНЫЙ СТАНДАРТ РОССИЙСКОЙ ФЕДЕРАЦИИ
ОБЪЕКТЫ СПОРТА
ТРЕБОВАНИЯ БЕЗОПАСНОСТИ ПРИ ПРОВЕДЕНИИ
СПОРТИВНЫХ И ФИЗКУЛЬТУРНЫХ МЕРОПРИЯТИЙ. МЕТОДЫ ИСПЫТАНИЙ
Sports facilities.
Safety requirements for carrying out of sports
and physical activities. Test methods
ГОСТ Р 55529-2013
| | Список изменяющих документов Росстандарта от 25.12.2018 N 1140-ст) | |
Группа Т50
ОКСТУ 0131
Дата введения
1 января 2014 года
Разработчики: Генеральный директор АНО "ЦСРФКиС" В.Ю. Егоров.
Цели и принципы стандартизации в Российской Федерации установлены Федеральным
законом от 27 декабря 2002 г. N 184-ФЗ "О техническом регулировании", а правила применения национальных стандартов Российской Федерации -
ГОСТ Р 1.0 "Стандартизация в Российской Федерации. Основные положения".
1. Разработан Обществом с ограниченной ответственностью "Центральная научно-исследовательская лаборатория в области физической культуры и спорта" (ООО "ЦНИЛвОФКиС").
2. Внесен Техническим комитетом по стандартизации 444 "Спортивные и туристские изделия, оборудование, инвентарь, физкультурные и спортивные услуги".
3. Утвержден и введен в действие
Приказом Федерального агентства по техническому регулированию и метрологии от 28 августа 2013 г. N 594-ст.
4. Введен впервые.
Правила применения настоящего стандарта установлены в ГОСТ Р 1.0-2012 (раздел 8). Информация об изменениях к настоящему стандарту публикуется в ежегодном (по состоянию на 1 января текущего года) информационном указателе "Национальные стандарты", а официальный текст изменений и поправок - в ежемесячном информационном указателе "Национальные стандарты". В случае пересмотра (замены) или отмены настоящего стандарта соответствующее уведомление будет опубликовано в ближайшем выпуске ежемесячного информационного указателя "Национальные стандарты". Соответствующая информация, уведомление и тексты размещаются также в информационной системе общего пользования - на официальном сайте национального органа Российской Федерации по стандартизации в сети Интернет (gost.ru)
Настоящий стандарт устанавливает требования безопасности на спортивных объектах различного типа при проведении спортивных и физкультурно-оздоровительных мероприятий, методы испытаний (проверки и допустимые значения указанных критериев).
Требования настоящего стандарта распространяются на организации, индивидуальных предпринимателей и физических лиц, в собственности или управлении которых находятся объекты спорта, на которых организуются и проводят физкультурные и спортивные мероприятия.
Стандарт используется для оценки:
- спортивных площадок, плоскостных спортивных сооружений, включая открытые спортивные сооружения для занятий различными видами спорта и активного отдыха;
- спортивных залов, спортивных центров, физкультурно-оздоровительных комплексов, многофункциональных арен, включая крытые залы и арены;
- крытых плавательных бассейнов, включая бассейны для обучения плаванию, оздоровительного плавания, проведения учебно-тренировочных занятий;
- спортивных комплексов с искусственным льдом;
- специализированных спортивных сооружений, включая сооружения для велоспорта, мотоциклетного спорта, парусного спорта, гребли, стрельбы, конного спорта, гольфа; сооружения для нетрадиционных видов спорта, для пляжных видов спорта, для скейтбординга и скалолазания.
В настоящем стандарте использованы нормативные ссылки на следующие стандарты:
Ссылка исключена с 1 апреля 2019 года. -
Изменение N 1, утв. Приказом Росстандарта от 25.12.2018 N 1140-ст
Ссылка исключена с 1 апреля 2019 года. -
Изменение N 1, утв. Приказом Росстандарта от 25.12.2018 N 1140-ст
Ссылка исключена с 1 апреля 2019 года. -
Изменение N 1, утв. Приказом Росстандарта от 25.12.2018 N 1140-ст
Ссылка исключена с 1 апреля 2019 года. -
Изменение N 1, утв. Приказом Росстандарта от 25.12.2018 N 1140-ст
Ссылка исключена с 1 апреля 2019 года. -
Изменение N 1, утв. Приказом Росстандарта от 25.12.2018 N 1140-ст
ГОСТ 8.472-2013 Государственная система обеспечения единства измерений. Гигрометры пьезосорбционные. Методика поверки
(ссылка введена
Изменением N 1, утв. Приказом Росстандарта от 25.12.2018 N 1140-ст)
ГОСТ 112-78 Термометры метеорологические стеклянные. Технические условия
ГОСТ 6376-74 Анемометры ручные со счетным механизмом. Технические условия
ГОСТ 7502-98 Рулетки измерительные металлические. Технические условия
ГОСТ 20403-75 Резина. Метод определения твердости в международных единицах (от 30 до 100 IRHD)
ГОСТ 23337-2014 Шум. Методы измерения шума на селитебной территории и в помещениях жилых и общественных зданий
(в ред.
Изменения N 1, утв. Приказом Росстандарта от 25.12.2018 N 1140-ст)
(ссылка введена
Изменением N 1, утв. Приказом Росстандарта от 25.12.2018 N 1140-ст)
Ссылка исключена с 1 апреля 2019 года. -
Изменение N 1, утв. Приказом Росстандарта от 25.12.2018 N 1140-ст
ГОСТ 27110-86 Резина. Метод определения эластичности по отскоку на приборе типа Шоба
ГОСТ 33393-2015 Здания и сооружения. Методы измерения коэффициента пульсации освещенности
(ссылка введена
Изменением N 1, утв. Приказом Росстандарта от 25.12.2018 N 1140-ст)
(ссылка введена
Изменением N 1, утв. Приказом Росстандарта от 25.12.2018 N 1140-ст)
Примечание. При пользовании настоящим стандартом целесообразно проверить действие ссылочных стандартов в информационной системе общего пользования - на официальном сайте Федерального агентства по техническому регулированию и метрологии в сети Интернет или по ежегодно издаваемому информационному указателю "Национальные стандарты", который опубликован по состоянию на 1 января текущего года, и по соответствующим ежегодно издаваемым информационным указателям, опубликованным в текущем году. Если ссылочный стандарт заменен (изменен), то при пользовании настоящим стандартом следует руководствоваться заменяющим (измененным) стандартом. Если ссылочный стандарт отменен без замены, то положение, в котором дана ссылка на него, применяется в части, не затрагивающей эту ссылку.
В настоящем стандарте применены термины по
[1], а также следующие термины с соответствующими определениями:
3.1 объект спорта: Объект недвижимого имущества, специально предназначенный для проведения физкультурных мероприятий и (или) спортивных мероприятий, в том числе спортивные сооружения.
3.2 техника безопасности объектов спорта: Безопасность проведения официальных физкультурных и спортивных мероприятий на объектах спорта.
3.3 оценка техники безопасности: Комплекс мероприятий, действий, измерений, испытаний, позволяющих определить возможность использования объектов спорта гражданами Российской Федерации или иными гражданами в процессе оказания физкультурно-оздоровительных услуг, а также при проведении спортивных соревнований и мероприятий различного уровня.
3.4 автодром: Специализированный объект спорта, крытого или открытого типа, содержащий замкнутую оборудованную трассу для занятий техническими видами спорта.
3.5 арена: Зрелищный объект спорта крытого типа, в основе которого находится спортивная площадка для проведения мероприятий по различным видам спорта.
3.6 ледовая арена: Зрелищный объект спорта крытого типа, в основе которого лежит площадка с искусственным льдом для занятий ледовыми видами спорта, с возможностью трансформации для проведения мероприятий по различным видам спорта, в том числе неледовым.
3.7 бассейн: Объект спорта крытого или открытого типа, содержащий в своем составе ванны для занятий водными видами спорта, включая бассейны плавательные с универсальными (многофункциональными) ваннами и бассейны специализированные.
3.8 велотрек: Специализированный объект спорта, крытого или открытого типа, с замкнутым кольцевым полотном и наклонными виражами, предназначенный для велоспорта.
3.9 спортивный зал: Объект спорта крытого типа, имеющий фиксированные пространственные характеристики и габариты, содержащий в своем составе оснащенную и размеченную соответствующим образом спортивную площадку, специально предназначенную для проведения официальных физкультурных и спортивных мероприятий по определенным видам спорта.
3.10 гребной канал: Объект спорта, водоем (часть водоема) естественного или искусственного происхождения без выраженного течения, глубиной не менее 2,5 м на всем протяжении, содержащий в своем составе специально оборудованную гребную дистанцию.
3.11 канал для гребного слалома: Специализированный объект спорта, водоем искусственного происхождения с выраженным течением, специально организованным профилем дна и глубиной, содержащий в своем составе специально оборудованную дистанцию.
3.12 биатлонно-лыжный комплекс: Комплексный объект спорта, содержащий в составе лыжный стадион, трассы и дистанции, биатлонное стрельбище, предназначенный для лыжных гонок и биатлона.
3.13 горно-лыжный комплекс: Комплексный объект спорта, совокупность склонов с горно-лыжными трассами различных категорий сложности и необходимой инженерной инфраструктурой, обеспечивающей оснежение трасс и уход за ними, подъем спортсменов к месту старта, необходимые сопутствующие сооружения.
3.14 конно-спортивный комплекс: Комплексный специализированный объект спорта, содержащий в своем составе специально оборудованные площадки, поля, трассы и дистанции для конного спорта крытого и открытого типов, а также соответствующую инфраструктуру для ухода за ними.
3.15 лыжный комплекс: Комплексный специализированный объект спорта, содержащий в составе лыжный стадион, трассы и дистанции, предназначенный для лыжных гонок.
3.16 комплекс трамплинов для прыжков на лыжах: Специализированный объект спорта, включающий в себя трамплины для прыжков на лыжах различной (или одинаковой) мощности.
3.17 легкоатлетический манеж: Специализированный объект спорта крытого типа с замкнутой кольцевой беговой дорожкой с наклонными виражами, выделенной прямой дорожкой для спринтерского бега и оборудованными секторами для легкоатлетических дисциплин.
3.18 конькобежный овал: Объект спорта крытого типа с замкнутой кольцевой искусственной ледовой дорожкой.
3.19 парк для экстремальных видов спорта: Комплексный объект спорта крытого или открытого типа, включающий выделенные зоны для велосипедного мотокросса (BMX), катания на горных велосипедах (маунтинбайк/MTB) и скейтбординга со стационарными конструктивными элементами (скейт-роллер-велоснаряды).
3.20 спортивная площадка: Плоскостной объект спорта, имеющий соответствующие габариты, разметку и оборудование по видам спорта, предназначенный для проведения официальных физкультурных и спортивных мероприятий.
3.21 спортивное поле: Плоскостной объект спорта открытого типа, имеющий соответствующие пространственно-территориальные характеристики, разметку и оборудование для проведения официальных физкультурных и спортивных мероприятий.
3.22 сноуборд-парк (фристайл-центр): Комплексный объект спорта, специально оборудованный участок склона и/или нескольких склонов, содержащий совокупность специализированных зон, необходимых для занятий сноубордическими и горнолыжными фристайльными дисциплинами.
3.23 стадион: Зрелищный объект спорта, открытого типа, в основе которого спортивное поле, покрытое синтетическим или натуральным газоном.
3.24 стрельбище: Специализированный объект спорта открытого типа, содержащий несколько стрелковых стендов со специально оборудованными траншеями, зонами стрельбы и линиями огня, для стрельбы из гладкоствольного оружия по летающим мишеням.
3.25 стрелковый тир: Специализированный объект спорта крытого или открытого типа, содержащий специально оборудованные линию мишеней, линию огня и огневую зону для пулевой и/или пневматической стрельбы из ручного нарезного оружия.
3.26 санно-бобслейная трасса: Специализированный объект спорта, представляющий собой наклонный желоб с виражами и искусственным ледовым покрытием, предназначенный для проведения спортивных мероприятий по санному спорту и бобслею с раздельными стартовыми зонами для санного спорта, бобслея и скелетона.
3.27 физкультурно-оздоровительный комплекс: Объект спорта, имеющий в составе две и более спортивных зоны для проведения официальных физкультурных и спортивных мероприятий.
3.28 полевые испытания: Испытания на объекте спорта в условиях его использования по прямому назначению с непосредственной оценкой (или контролем), в т.ч. инспекционное (техническое) обследование.
3.29 инспекционное (техническое) обследование: Осмотр, анализ и оценка, технического состояния, характеристик и параметров объекта спорта, в т.ч. проведение исследований (испытаний) и измерений.
4. Общие требования к оценке требований безопасности
Росстандарта от 25.12.2018 N 1140-ст)
4.1 Оценку требований безопасности на объектах спорта при проведении спортивных и физкультурных мероприятий осуществляют на основе Программ оценки требований безопасности, включающих в себя проведение визуального и инструментального контроля объектов спорта. В отношении путей эвакуации с трибун и путей эвакуации для маломобильных групп населения, визуальный и инструментальный контроль объекта спорта может быть заменен анализом разрешительной и проектной документации.
4.2 Оценку требований безопасности инструментальными методами при оказании физкультурно-оздоровительных и спортивных услуг на объектах спорта осуществляют испытательные лаборатории (центры), аккредитованные в порядке, установленном национальной системой аккредитации
[1а], в рамках утвержденной области аккредитации.
4.3 Оценку требований безопасности при оказании физкультурно-оздоровительных и спортивных услуг на объектах спорта проводят путем исследований (испытаний) и измерений:
- технического состояния спортивного инвентаря и оборудования;
- крепления и устойчивости спортивного оборудования;
- характеристик натурального или искусственного спортивного покрытия, в том числе в зависимости от типа покрытия: определение деформирующей способности (поглощения удара), вертикальной деформации, фрикционных характеристик, дренирующей способности, плотности покрытия и иных характеристик, определяющих безопасность эксплуатации покрытия;
- состояния специально отведенных мест для потребителей (зрителей), в том числе трибун;
- размеров и конфигурации спортивных зон объектов спорта;
- состояния конфигурации и крепления защитных конструкций объекта спорта (при наличии таких конструкций);
- микроклимата объекта спорта;
- путей эвакуации зрителей и персонала объекта спорта с трибун, в том числе маломобильных групп населения.
Результаты оценки требований безопасности на объектах спорта отражают в протоколах исследований (испытаний) и измерений.
4.4 Оценку требований безопасности при оказании физкультурно-оздоровительных и спортивных услуг вне объектов спорта проводят в виде обследования территории, на которой предоставляются услуги, с целью установления отсутствия факторов, способствующих получению участниками соревнований травм, а также анализа погодных условий для определения их пригодности для проведения соревнований.
5. Программа оценки требований безопасности
физкультурно-оздоровительных комплексов общего назначения
Программа оценки требований безопасности физкультурно-оздоровительных комплексов осуществляется путем проведения полевых испытаний и инспекционного обследования.
В ходе испытаний определяется соответствие или несоответствие объектов спорта требованиям безопасности, изложенным в настоящем разделе.
5.1. К объектам спорта при проведении полевых испытаний устанавливают следующие требования:
Размеры спортивных залов и их разметка:
- разметка спортивных залов должна быть выполнена в соответствии с правилами вида спорта, для которого предназначена разметка.
При проверке размеров и разметки спортивных залов необходимо использовать рулетку II класса точности по
ГОСТ 7502.
Полы спортивных залов (залы для спортивных игр, универсальные залы для общей физической подготовки и игр с мячом):
- покрытие полов спортивных залов должно быть однородным и не иметь видимых дефектов (разрывов, разломов, трещин и т.п.);
- поглощение удара в любой из точек проведения испытаний должно составлять от 25% до 75%.
Испытания проводят в соответствии с
Методом 2 настоящего стандарта;
- вертикальная деформация в любой из точек проведения испытаний должна составлять не более 5 мм.
Испытания проводят в соответствии с
Методом 3 настоящего стандарта;
- скольжение в любой из точек проведения испытаний должно составлять 80 - 110 ед. (по шкале прибора).
Испытания проводят в соответствии с
Методом 5 настоящего стандарта;
- отскок мяча в любой из точек проведения испытаний должен составлять не менее 90%.
Испытания проводят в соответствии с
Методом 4 настоящего стандарта.
Для проведения испытаний полов спортивных залов в отношении любого из критериев в каждом спортивном зале используются минимум четыре точки, и дополнительно минимум одна точка на каждые 500 м2 покрытия (при расчете числа точек округление всегда проводят в большую сторону).
Крепление спортивного оборудования:
- соблюдается устойчивость к опрокидыванию ворот для мини-футбола/гандбола к горизонтальной нагрузке 1100 Н, приложенной на высоте 2 м.
Испытания проводят в соответствии с
Методом 7 настоящего стандарта;
- соблюдается устойчивость крепления кольца баскетбольного щита к вертикальной нагрузке 1000 Н, приложенной к части кольца, наиболее удаленной от щита.
Испытания проводят в соответствии с
Методом 10 настоящего стандарта;
- соблюдается устойчивость крепления стоек волейбольных (прогиб не более 80 мм) к горизонтальной нагрузке 1440 Н, приложенной на уровне несущего троса.
Испытания проводят в соответствии с
Методом 9 настоящего стандарта;
- соблюдается устойчивость крепления теннисных стоек к горизонтальной нагрузке 2290 Н, приложенной на уровне несущего троса.
Испытания проводят в соответствии с
Методом 8 настоящего стандарта;
- соблюдается сохранение устойчивости перекладины (турника) к горизонтальной нагрузке 3800 Н, приложенной к середине перекладины (турника).
Испытания проводят в соответствии с
Методом 12 настоящего стандарта;
- соблюдается деформация (прогиб) перекладины (турника) не более 100 мм при вертикальной нагрузке 2000 Н, приложенной к середине перекладины (турника).
Испытания проводят в соответствии с
Методом 12 настоящего стандарта;
- соблюдается деформация (прогиб) прочности жердей гимнастических брусьев не более 40 - 100 мм при вертикальной нагрузке 1350 Н, приложенной к середине жердей брусьев.
Испытания проводят в соответствии с
Методом 11 настоящего стандарта;
- соблюдаются прочность и устойчивость закрепления гимнастических колец к нагрузке 4530 Н.
Испытания проводят в соответствии с
Методом 14 настоящего стандарта;
- соблюдается устойчивость гимнастического коня к нагрузке, составляющей 20% его собственного веса, но не менее 70 Н.
Испытания проводят в соответствии с
Методом 13 настоящего стандарта;
- соблюдается устойчивость прочности закрепления шведской стенки к горизонтальной нагрузке 900 Н, приложенной к верхней и нижней перекладинам стенки.
Испытания проводят в соответствии с
Методом 12 настоящего стандарта.
Акустические требования:
(в ред.
Изменения N 1, утв. Приказом Росстандарта от 25.12.2018 N 1140-ст)
Испытания проводят в соответствии с методикой
[3].
(в ред.
Изменения N 1, утв. Приказом Росстандарта от 25.12.2018 N 1140-ст)
Освещение:
Испытания проводят в соответствии с методикой по
ГОСТ 24940.
(в ред.
Изменения N 1, утв. Приказом Росстандарта от 25.12.2018 N 1140-ст)
- защищенность светильника от удара мячом (в залах для игр с мячом) должна соответствовать
[2] (пункт 8.3.1).
5.2. К физкультурно-оздоровительным комплексам при проведении инспекционного обследования устанавливают следующие требования:
Пути эвакуации с трибун (обследование проводится в соответствии со сводом правил
[4]):
- соблюдается уклон лестниц трибун, не оборудованных поручнями высотой не менее 0,9 м (или устройствами, их заменяющими), не более 1:1,6;
- соблюдается уклон лестниц трибун, оборудованных поручнями высотой не менее 0,9 м (или устройствами, их заменяющими), не более 1:1,4;
- соблюдается отсутствие лестниц или ступеней в люках на путях эвакуации;
- соблюдается наличие разделительных поручней на высоте не менее 0,9 м (для лестниц, проходов и люков с расчетной шириной более 4 м);
- соблюдается наличие ограждения высотой не менее 0,8 м, не мешающее видимости, установленное вдоль прохода каждого зрительного ряда при разнице отметок пола смежных рядов более 0,55 м;
- соблюдается высота барьера перед первым рядом на балконах и ярусах не менее 0,8 м;
- соблюдается расчетное время эвакуации в соответствии с расчетом времени эвакуации по
[4] (подраздел 6.22);
- соблюдается ширина кулуаров не менее 2,4 м;
- соблюдается ширина путей эвакуации для горизонтальных проходов, пандусов и лестниц на трибунах не менее 1 м;
- соблюдается ширина путей эвакуации для эвакуационных люков трибун крытых спортивных сооружений не менее 1,35 м;
- соблюдается расстояние между выходами при устройстве партера на спортивной арене (при наличии только двух выходов) не менее половины зала;
- соблюдается ширина дверных проемов в зрительном зале не менее 1,2 м;
- соблюдается ширина дверного проема для входа в ложи не менее 0,9 м;
- соблюдается расстояние от спинки до спинки между рядами кресел, стульев или скамей не менее 0,45 м;
- соблюдается число непрерывно установленных мест в ряду (при одностороннем входе) не более 26 м;
- соблюдается число непрерывно установленных мест в ряду (при двустороннем входе) не более 50 м;
- соблюдается непроход через спортивный зал путей эвакуации зрителей, находящихся на балконе;
- соблюдаются двери выходов из зрительного зала и на путях эвакуации самозакрывающиеся с уплотненными притворами;
Пути эвакуации для маломобильных групп населения (обследование проводится в соответствии с
[5]):
- соблюдается ширина (в свету) участков эвакуационных путей, используемых маломобильными группами населения (далее МГН), для переходных лоджий и балконов не менее 1,5 м;
- соблюдается ширина (в свету) участков эвакуационных путей, используемых МГН, для коридоров, пандусов, используемых для эвакуации, не менее 1,8 м;
- соблюдается минимально возможное расстояние мест обслуживания и постоянного нахождения МГН от эвакуационных выходов;
- соблюдается ширина (в свету) участков эвакуационных путей, используемых МГН, для дверей из помещений, при нахождении в них одновременно не более 15 человек не менее 0,9 м;
- соблюдается ширина (в свету) участков эвакуационных путей, используемых МГН, для дверей из помещений, при нахождении в них одновременно более 15 человек, проходов внутри помещений не менее 1,2 м;
- соблюдается наличие пожаробезопасной зоны (при невозможности обеспечить эвакуацию МГН за необходимое время), с учетом требований
[5] (
пункты 6.2.26 -
6.2.28);
(в ред.
Изменения N 1, утв. Приказом Росстандарта от 25.12.2018 N 1140-ст)
- соблюдается ширина прохода между рядами, предусмотренными для МГН (с учетом кресла-коляски), не менее 1,6 м;
- соблюдается расстояние от любого места пребывания инвалида в зальном помещении до эвакуационного выхода в коридор, фойе наружу или до эвакуационного люка трибун спортивно-зрелищных залов не менее 40 м;
- соблюдается расчет времени эвакуации с учетом требований
[5].
(в ред.
Изменения N 1, утв. Приказом Росстандарта от 25.12.2018 N 1140-ст)
6. Программа оценки требований безопасности
крытых плавательных бассейнов
Программа оценки требований безопасности плавательных бассейнов осуществляется путем проведения полевых испытаний и инспекционного обследования. В ходе испытаний определяется соответствие или несоответствие плавательного бассейна требованиям безопасности.
6.1. К плавательным бассейнам при проведении полевых испытаний устанавливают следующие требования:
Требования к воде в ванне бассейна:
При проверке температуры воды ванн бассейнов необходимо использовать термометр точностью измерений +/- 0,1 °C по
ГОСТ 112.
Испытания проводят в соответствии с
ГОСТ Р 53491.1,
таблица 1. На объекте проводят отбор проб, измерение проводит аккредитованная химическая лаборатория.
Требования к микроклимату:
При проверке температуры воздуха в помещениях ванн бассейнов необходимо использовать термометр точностью измерений +/- 0,1 °C по
ГОСТ 112.
- подвижность воздуха в помещениях ванн бассейнов и залах подготовительных занятий должна соответствовать
[6] (подраздел 11.2).
При проверке подвижности воздуха в помещениях ванн бассейнов необходимо использовать анемометр точностью измерений +/- 2% по
ГОСТ 6376.
Акустические требования к помещениям ванн бассейнов:
(в ред.
Изменения N 1, утв. Приказом Росстандарта от 25.12.2018 N 1140-ст)
Испытания проводят в соответствии с методикой
[3].
Испытания проводят в соответствии с методикой
[3].
Искусственное освещение помещений ванн бассейнов:
Испытания проводят в соответствии с методикой по
ГОСТ 24940.
(в ред.
Изменения N 1, утв. Приказом Росстандарта от 25.12.2018 N 1140-ст)
6.2. К плавательным бассейнам при проведении инспекционного обследования устанавливают следующие требования:
Химическая лаборатория (обследование проводится в соответствии с
ГОСТ Р 53491.1):
- соблюдается площадь помещения минимум 8 м2;
- соблюдается высота помещения минимум 2,5 м;
- соблюдается наличие водопровода;
- соблюдается наличие канализации;
- соблюдается наличие приточной и вытяжной вентиляции;
- соблюдается наличие сертификатов и свидетельств о включении оборудования в Государственный реестр средств измерений (по каждой единице оборудования).
| | ИС МЕГАНОРМ: примечание. В официальном тексте документа, видимо, допущена опечатка: имеется в виду ГОСТ Р 53491.1-2009, а не ГОСТ 53491.1. | |
Система водоподготовки (обследование проводится в соответствии с
ГОСТ 53491.1):
- соблюдается наличие сетчатых фильтров системы очистки воды;
- соблюдается наличие установки дозирования коагулянта системы очистки воды;
- соблюдается наличие насыпных фильтров очистки воды;
- соблюдается наличие системы обеззараживания воды хлорсодержащими реагентами;
- соблюдается наличие автоматической системы контроля качества воды.
Тумбочка (мостик) (обследование проводится в соответствии с
[6]):
- соблюдается нескользкая рабочая поверхность;
- соблюдается наличие ступеньки от поверхности обходной дорожки (для тумбочек высотой 0,55 м и более).
Ванны бассейнов (общие требования для ванн всех типов) (обследование проводится в соответствии с
[6]):
- соблюдается наличие лестниц для входа в воду и выхода из воды;
- соблюдается расположение лестниц в нишах;
- соблюдается наличие высоких поручней для безопасного спуска в воду и выхода из воды;
- соблюдается наличие устройства для безопасного спуска в воду инвалидов;
- соблюдаются закругленные края бортов ванны;
- соблюдаются тщательно затертые швы между плитами;
- соблюдается целостность верхнего покрытия ванны бассейна, стенок, бортиков и обходных дорожек (отсутствие сколов плитки, незакрепленной плитки, битой плитки);
- соблюдается четкий видимый край бортика ванны (контрастный цвет плитки);
- соблюдается оснащенность зала ванны спасательными средствами в соответствии с минимальными требованиями безопасности:
1) спасательный круг (или "конец Александрова") - 4 шт.;
2) плавающий шест (с крюком или кольцом на конце) - 3 шт.;
3) плотик (плавающие носилки) для помощи на воде - 1 шт.
Ванны бассейнов (требования для ванн для спортивного плавания) (обследование проводится в соответствии с
[6],
[7]):
- соблюдается минимальная глубина 1,35 м;
- соблюдается ширина дорожки для спортивного плавания 2,5 м;
- соблюдается нескользкая поверхность торцевых стенок ванн в надводной части на высоту не менее 0,3 м и в подводной части на глубину не менее 0,8 м;
- соблюдается число лестниц для ванн длиной 50 м (с одной продольной стороны) не менее трех;
- соблюдается число лестниц для ванн длиной 25 и 33,33 м (с одной продольной стороны) не менее двух;
- соблюдается наличие уступа для отдыха шириной 0,1 - 0,15 м (для мест глубиной более 1,2 м) по обеим продольным сторонам;
- соблюдается наличие разделяющих шнуров по всей длине бассейна;
- соблюдается закрепление разделяющих шнуров в углублениях на торцевых стенках анкерными болтами;
- соблюдается расположение анкера, чтобы поплавки у каждой торцевой стены находились на поверхности воды.
Ванны бассейнов (требования для ванн для прыжков в воду) (обследование проводится в соответствии с
[6]):
- соблюдается наличие устройства создания искусственной ряби (в ваннах для прыжков);
- соблюдается наличие удобного выхода (пологих ступеней) из воды вдоль стенки расположения прыжковых устройств;
- соблюдается на обходной дорожке в зоне выхода спортсменов из ванны наличие душевых кабин или устройств;
- соблюдается рядом с зоной выхода спортсмена из воды после прыжка наличие двух отдельных ванн с повышенной (36 °C - 40 °C) и пониженной (18 °C - 23 °C) температурой воды.
Устройства для прыжков, трамплины и вышки (обследование проводится в соответствии с
[6]):
- соблюдается наличие стационарных лестниц с поручнями или лифтов для подъема на прыжковые устройства;
- соблюдается наличие перил ограждения по периметру платформы, за исключением переднего края вышки;
- соблюдается высота перил не менее 1,2 м;
- соблюдается отступ ограждения от переднего края на 0,8 м;
- соблюдается нескользкая рабочая поверхность платформы вышки;
- соблюдается незакругленная передняя кромка платформы вышки;
- соблюдается ширина платформы при высоте 0,6 - 3 м от уровня воды не менее 0,6 м;
- соблюдается длина платформы при высоте 0,6 - 3 м от уровня воды не менее 5 м;
- соблюдается ширина платформы при высоте 5,0 - 7,5 м от уровня воды не менее 1,5 м;
- соблюдается длина платформы при высоте 5,0 - 7,5 м от уровня воды не менее 6 м;
- соблюдается ширина платформы при высоте 10 м от уровня воды не менее 3 м;
- соблюдается длина платформы при высоте 10 м от уровня воды не менее 6 м;
- соблюдается длина трамплина для прыжков не менее 4,8 м;
- соблюдается ширина трамплина для прыжков не менее 0,5 м;
- соблюдается нескользкая поверхность трамплина для прыжков.
Помещения ванн бассейнов (обследование проводится в соответствии с
[6]):
- соблюдается нескользкая поверхность обходной дорожки;
- соблюдается уклон обходных дорожек в сторону трапов от 1% до 2%;
- соблюдается наличие обогрева обходных дорожек;
- соблюдается наличие обогрева стационарных скамей;
- соблюдается наличие обогрева полов водной зоны зала ванны;
- соблюдаются закругленные сопряжения стен и колонн с полами, уступами, ступенями.
Вспомогательные помещения (обследование проводится в соответствии с
[6]):
- соблюдается наличие комнаты дежурной медсестры с выходом на обходную дорожку;
- соблюдается площадь комнаты дежурной медсестры минимум 9 м2 с выходом на обходную дорожку;
- соблюдается наличие комнаты тренера с выходом на обходную дорожку;
- соблюдается площадь комнаты тренера минимум 6 м2 с выходом на обходную дорожку.
Вспомогательные помещения с влажным и мокрым режимами (обследование проводится в соответствии с
[6]):
- соблюдается уклон полов в сторону лотков и трапов от 1% до 2%;
- соблюдается отсутствие покрытий из дерева, ткани, искусственных газонов, ковриков из пластмассы и других полимерных материалов;
- соблюдаются закругленные сопряжения стен и колонн с полами.
Помещения для пребывания людей с обнаженным телом (обследование проводится в соответствии с
[6]):
- нагревательные приборы и трубопроводы не выступают из плоскостей на высоту более 2 м от уровня пола или закрыты защитными средствами, исключающими ожоги;
- нагревательные приборы и трубопроводы не расположены в нишах наружных стен.
Пути эвакуации с трибун (обследование проводится в соответствии с
[4]):
- соблюдается уклон лестниц трибун, не оборудованных поручнями высотой не менее 0,9 м (или устройствами, их заменяющими), не более 1:1,6;
- соблюдается уклон лестниц трибун, оборудованных поручнями высотой не менее 0,9 м (или устройствами, их заменяющими), не более 1:1,4;
- соблюдается отсутствие лестниц или ступеней в люках на путях эвакуации;
- соблюдается наличие разделительных поручней на высоте не менее 0,9 м (для лестниц, проходов и люков с расчетной шириной более 4 м);
- соблюдается наличие ограждения высотой не менее 0,8 м, не мешающее видимости, установленное вдоль прохода каждого зрительного ряда при разнице отметок пола смежных рядов более 0,55 м;
- соблюдается высота барьера перед первым рядом на балконах и ярусах не менее 0,8 м;
- соблюдается расчетное время эвакуации в соответствии с расчетом времени эвакуации по
[4] (подраздел 6.22);
- соблюдается ширина кулуаров не менее 2,4 м;
- соблюдается ширина путей эвакуации для горизонтальных проходов, пандусов и лестниц на трибунах не менее 1 м;
- соблюдается ширина путей эвакуации для эвакуационных люков трибун крытых спортивных сооружений не менее 1,35 м;
- соблюдается расстояние между выходами при устройстве партера на спортивной арене (при наличии только двух выходов) не менее половины зала;
- соблюдается ширина дверных проемов в зрительном зале не менее 1,2 м;
- соблюдается ширина дверного проема для входа в ложи не менее 0,9 м;
- соблюдается расстояние от спинки до спинки между рядами кресел, стульев или скамей не менее 0,45 м;
- соблюдается число непрерывно установленных мест в ряду (при одностороннем входе) не более 26 м;
- соблюдается число непрерывно установленных мест в ряду (при двустороннем входе) не более 50 м;
- соблюдается отсутствие прохождения через спортивный зал путей эвакуации зрителей, находящихся на балконе;
- соблюдаются самозакрывающиеся с уплотненными притворами двери выходов из зрительного зала и на путях эвакуации.
Пути эвакуации для маломобильных групп населения (обследование проводится в соответствие с
[5]):
- соблюдается ширина (в свету) участков эвакуационных путей, используемых МГН, для переходных лоджий и балконов не менее 1,5 м;
- соблюдается ширина (в свету) участков эвакуационных путей, используемых МГН, для коридоров, пандусов, используемых для эвакуации не менее 1,8 м;
- соблюдается минимально возможное расстояние мест обслуживания и постоянного нахождения МГН от эвакуационных выходов;
- соблюдается ширина (в свету) участков эвакуационных путей, используемых МГН, для дверей из помещений, при одновременном нахождении в них не более 15 человек, не менее 0,9 м;
- соблюдается ширина (в свету) участков эвакуационных путей, используемых МГН, для дверей из помещений, при одновременном нахождении в них более 15 человек, для проходов внутри помещений не менее 1,2 м;
- соблюдается наличие пожаробезопасной зоны (при невозможности обеспечить эвакуацию МГН за необходимое время) с учетом требований
[5] (
пункты 6.2.26 -
6.2.28);
(в ред.
Изменения N 1, утв. Приказом Росстандарта от 25.12.2018 N 1140-ст)
- соблюдается ширина прохода между рядами, предназначенными для МГН (с учетом кресла-коляски), не менее 1,6 м;
- соблюдается расстояние от любого места пребывания инвалида в зальном помещении до эвакуационного выхода в коридор, фойе наружу или до эвакуационного люка трибун спортивно-зрелищных залов не менее 40 м;
- соблюдается расчет времени эвакуации с учетом требований
[5].
(в ред.
Изменения N 1, утв. Приказом Росстандарта от 25.12.2018 N 1140-ст)
7. Программа оценки требований безопасности ледовых арен
Программа оценки требований безопасности крытых ледовых катков осуществляется путем проведения полевых испытаний и инспекционного обследования. В ходе испытаний определяется соответствие или несоответствие крытых ледовых катков требованиям безопасности, изложенным в настоящем разделе.
7.1. К крытым ледовым аренам при проведении полевых испытаний устанавливают следующие требования:
Требования к микроклимату:
При проверке температуры воздуха в помещении катка необходимо использовать термометр с точностью измерений +/- 0,1 °C по
ГОСТ 112.
- максимально допустимая относительная влажность в помещении катка должна соответствовать
[8] (пункт 6.1.16).
При проверке влажности в помещении катка необходимо использовать гигрометр по ГОСТ Р 8.472 с точностью измерений +/- 2%.
(в ред.
Изменения N 1, утв. Приказом Росстандарта от 25.12.2018 N 1140-ст)
При проверке минимальной температуры льда необходимо использовать термометр с точностью измерений +/- 0,1 °C по
ГОСТ 112.
Акустические требования к залам крытых катков:
(в ред.
Изменения N 1, утв. Приказом Росстандарта от 25.12.2018 N 1140-ст)
Испытания проводят в соответствии с
[3].
Испытания проводят в соответствии с
[3].
Электрическое освещение залов крытых катков:
Испытания проводят в соответствии с методикой по
ГОСТ 24940.
(в ред.
Изменения N 1, утв. Приказом Росстандарта от 25.12.2018 N 1140-ст)
Испытания проводят в соответствии с методикой по
ГОСТ 24940.
(в ред.
Изменения N 1, утв. Приказом Росстандарта от 25.12.2018 N 1140-ст)
7.2. К крытым ледовым аренам при проведении инспекционного обследования устанавливают следующие требования:
Залы крытых катков для скоростного бега на коньках (обследование проводится в соответствии с
[8]):
- соблюдается наличие зоны безопасности (технической зоны) по внешнему периметру дорожки;
- соблюдается твердое, не ледовое покрытие зоны безопасности (технической зоны) по внешнему периметру дорожки;
- соблюдается ширина зоны безопасности (технической зоны) для дорожки длиной 400 м от 4 до 5 м;
- соблюдается ширина зоны безопасности (технической зоны) для дорожки длиной 333,33 м не менее 2,5 м;
- соблюдается несдвигаемый защитный элемент;
- соблюдается размещение защитных элементов в поворотах по всей длине поворотов;
- соблюдается размещение защитных элементов на прямых участках не менее 12 м после поворота;
- соблюдается толщина эластичной части защитного элемента не менее 21 см.
Площадка в залах крытых катков для хоккея с шайбой (обследование проводится в соответствии с
[8]):
- соблюдаются минимальные (56 x 26 м) и максимальные (61 x 30 м) размеры площадки;
- соблюдаются размеры площадки для соревнований, установленные Международной федерацией хоккея с шайбой (ИИХФ), (60 - 61) x (29 - 30) м;
- соблюдается скругление углов площадки (радиус дуги окружности) 7 - 8,5 м.
Борта в залах крытых катков для хоккея с шайбой (обследование проводится в соответствии с
[8]):
- соблюдается размещение бортов по границам площадки;
- соблюдается материал изготовления борта - стекловолокно;
- соблюдается высота борта от поверхности льда 1,17 - 1,22 м;
- соблюдается размещение крепежных элементов и приспособлений на наружной (от игровой поверхности) стороне борта;
- не допускаются неровности и изъяны поверхности бортов;
- соблюдается размещение у основания бортов отбойной планки, желтого цвета;
- соблюдается высота верхнего края планки 15 - 25 см от уровня льда;
- соблюдаются зазоры между панелями бортов не более 3 мм;
- соблюдаются зазоры между панелями и дверями бортов не более 5 мм;
- соблюдается направление открывания дверей борта во внешнюю сторону от площадки.
Защитное стекло в залах крытых катков для хоккея с шайбой (обследование проводится в соответствии с
[8]):
- соблюдается размещение защитного стекла на бортах площадки за исключением пространства перед скамейками игроков;
- соблюдается способ монтажа на наружной (от игровой поверхности) стороне борта;
- соблюдается высота стекла по лицевому и боковому бортам в направлении нейтральной зоны на 4 м от линии ворот 160 - 200 см;
- соблюдается высота стекла по боковым бортам 80 - 120 см;
- соблюдается зазор между панелями защитного стекла не более 5 мм;
- соблюдается наличие защитной набивки на открытых кромках стекла.
Хоккейные ворота в залах крытых катков для хоккея с шайбой (обследование проводится в соответствии с
[8] и
[9]):
- соблюдается размещение на линии ворот по центру площадки;
- соблюдается высота ворот от поверхности льда 1,22 м;
- соблюдается ширина ворот 1,63 м (в
[9] ширина 1,83 м);
- соблюдается наличие боковых стоек и перекладины ворот определенной конструкции, из материала с наружным диаметром 5 см;
- соблюдается цвет боковых стоек и перекладин - красный;
- соблюдается наличие рамы для крепления сетки в конструкции штанг и перекладины;
- соблюдаются размеры вглубь рамы 0,60 - 1,12 м;
- соблюдается белый цвет рамы;
- соблюдается наличие сетки, задерживающей шайбу внутри ворот, закрепленной сзади к каркасу ворот;
- наличие белой гасящей набивки на внутренней части каркаса (кроме боковых стоек и перекладин).
Защитные маты в залах крытых катков для шорт-трека (обследование проводится в соответствии с
[8]):
- соблюдается размещение матов по бортам площадки вдоль трассы;
- соблюдается размещение матов, полностью покрывающих борт;
- соблюдается минимальная высота матов 1 м;
- соблюдается минимальная толщина матов 15 см;
- соблюдается водонепроницаемая обивка мата;
- соблюдается неразрезаемая обивка мата;
- соблюдается наличие соединения защитных матов лентой "Велькро" (внахлест);
- соблюдается материал для изготовления мата пенополиуретан (ППУ) средней или высокой плотности;
- соблюдается крепление защитных матов к борту;
- соблюдается наличие крепления между матами.
Пути эвакуации с трибун (обследование проводится в соответствии с
[4]):
- соблюдается уклон лестниц трибун, не оборудованных поручнями высотой не менее 0,9 м (или устройствами их заменяющими), не более 1:1,6;
- соблюдается уклон лестниц трибун, оборудованных поручнями высотой не менее 0,9 м (или устройствами их заменяющими), не более 1:1,4;
- соблюдается отсутствие лестниц или ступеней в люках на путях эвакуации;
- соблюдается наличие разделительных поручней на высоте не менее 0,9 м (для лестниц, проходов и люков с расчетной шириной более 4 м);
- соблюдается наличие ограждения высотой не менее 0,8 м, не мешающего видимости, установленного вдоль прохода каждого зрительного ряда, при разнице отметок пола смежных рядов более 0,55 м;
- соблюдается высота барьера перед первым рядом на балконах и ярусах не менее 0,8 м;
- соблюдается расчетное время эвакуации в соответствии с расчетом времени эвакуации по
[4] (пункт 6.22);
- соблюдается ширина кулуаров не менее 2,4 м;
- соблюдается ширина путей эвакуации для горизонтальных проходов, пандусов и лестниц на трибунах не менее 1 м;
- соблюдается ширина путей эвакуации для эвакуационных люков трибун крытых спортивных сооружений не менее 1,35 м;
- соблюдается расстояние между выходами при устройстве партера на спортивной арене (при наличии только двух выходов) не менее половины зала;
- соблюдается ширина дверных проемов в зрительном зале не менее 1,2 м;
- соблюдается ширина дверного проема для входа в ложу не менее 0,9 м;
- соблюдается расстояние от спинки до спинки между рядами кресел, стульев или скамей не менее 0,45;
- соблюдается число непрерывно установленных мест в ряду (при одностороннем входе) не более 26;
- соблюдается число непрерывно установленных мест в ряду (при двустороннем входе) не более 50;
- соблюдается отсутствие прохождения через спортивный зал путей эвакуации зрителей, находящихся на балконе;
- соблюдаются самозакрывающиеся с уплотненными притворами двери выходов из зрительного зала и на путях эвакуации.
Пути эвакуации для маломобильных групп населения (обследование проводится в соответствие с
[5]):
- соблюдается ширина (в свету) участков эвакуационных путей, используемых МГН, для переходных лоджий и балконов не менее 1,5 м;
- соблюдается ширина (в свету) участков эвакуационных путей, используемых МГН, для коридоров, пандусов используемых для эвакуации, не менее 1,8 м;
- соблюдается минимально возможное расстояние мест обслуживания и постоянного нахождения МГН от эвакуационных выходов;
- соблюдается ширина (в свету) участков эвакуационных путей, используемых МГН, для дверей из помещений, при одновременном нахождении в них не более 15 человек, не менее 0,9 м;
- соблюдается ширина (в свету) участков эвакуационных путей, используемых МГН, для дверей из помещений, при одновременном нахождении в них более 15 человек, проходов внутри помещений не менее 1,2 м;
- соблюдается наличие пожаробезопасной зоны (при невозможности обеспечить эвакуацию МГН за необходимое время) с учетом требований
[5] (
пункты 6.2.26 -
6.2.28);
(в ред.
Изменения N 1, утв. Приказом Росстандарта от 25.12.2018 N 1140-ст)
- соблюдается ширина прохода между рядами, предусмотренными для инвалидов (с учетом кресла-коляски), не менее 1,6 м;
- соблюдается расстояние от любого места пребывания инвалида в зальном помещении до эвакуационного выхода в коридор, фойе, наружу или до эвакуационного люка трибун спортивно-зрелищных залов не менее 40 м;
- соблюдается расчет времени эвакуации с учетом требований
[5].
(в ред.
Изменения N 1, утв. Приказом Росстандарта от 25.12.2018 N 1140-ст)
8. Программа оценки требований безопасности
лыжно-спортивных комплексов, трасс для лыжных гонок,
оздоровительного (массового) катания и фристайла
Программа оценки требований безопасности лыжно-спортивных комплексов осуществляется путем проведения полевых испытаний и инспекционного обследования. В ходе испытаний определяется соответствие или несоответствие лыжно-спортивных комплексов требованиям, изложенным в настоящем разделе.
8.1. К лыжно-спортивным комплексам при проведении полевых испытаний устанавливают следующие требования:
Освещение трасс для лыжных гонок:
- освещенность на поверхности трассы в зонах старта и финиша должна составлять 20 лк.
Испытания проводят в соответствии с
[10].
- освещенность на поверхности трассы на участках спусков крутизной более 15° должна составлять 20 лк.
Испытания проводят в соответствии с
[10].
Освещение трасс для массового катания на лыжах:
- освещенность на поверхности снега в зоне трассы должна составлять 2 лк.
Испытания проводят в соответствии с
[10].
- освещенность на поверхности трассы на участках спусков с крутизной более 15° должна составлять 20 лк.
Испытания проводят в соответствии с
[10].
Освещение трасс для фристайла (акробатика):
- освещенность на поверхности стартовой площадки, зоне разгона, зоне приземления должна составлять 30 лк.
Испытания проводят в соответствии с
[10].
- освещенность на поверхности стола отрыва должна составлять 75 лк.
Испытания проводят в соответствии с
[10].
- освещенность в зоне траектории прыжка должна составлять 50 лк.
Испытания проводят в соответствии с
[10].
Освещение трасс для фристайла (могул, ски-кросс):
- освещенность на поверхности трассы должна быть 30 лк.
Испытания проводят в соответствии с
[10].
В случае несоответствия освещенности лыжно-спортивного комплекса нормативным требованиям такой объект спорта может быть признан безопасным для эксплуатации только в светлое время суток.
8.2. К лыжно-спортивным комплексам при проведении инспекционного обследования устанавливают следующие требования:
Вспомогательные помещения лыжных баз (обследование проводится в соответствии с
[11]):
- соблюдается наличие медицинского кабинета;
- площадь медицинского кабинета (для баз с пропускной способностью более 1000 человек в смену) составляет не менее 8 м2.
Общие требования к трассам для лыжных гонок и оздоровительного (массового) катания (обследование проводится в соответствии с
[11] и
[12]):
- не допускается прохождение трассы через шоссейные дороги и железнодорожные пути;
- не допускается прохождение трассы через плохо замерзающий водоем;
- не допускается прохождение трасс через участки с густым кустарником;
- не допускается наличие пней, камней, ям и аналогичных препятствий на поверхности трассы;
- ширина трассы должна быть не менее 3 м.
Требования к трассам для лыжных гонок (обследование проводится в соответствии с
[11] и
[12]):
- не допускается пересечение трасс;
- перепад высоты <1> (для трасс длиной 0,4 - 1,4 км) - не более 30 м;
- перепад высоты <1> (для трасс длиной 2,5 км) - не более 50 м;
- перепад высоты <1> (для трасс длиной 3,3 км) - не более 65 м;
- перепад высоты <1> (для трасс длиной 3,75 км) - не более 75 м;
- перепад высоты <1> (для трасс длиной 5 км) - не более 100 м;
- перепад высоты <1> (для трасс длиной 7,5 км) - не более 125 м;
- перепад высоты <1> (для трасс длиной 10 км) - не более 150 м;
- перепад высоты <1> (для трасс длиной 15 км и более) - не более 200 м.
--------------------------------
<1> Под перепадом высот понимаются разность высоты между высшей и низшей точками трассы.
Общие требования к трассам для фристайла всех типов (обследование проводится в соответствии с
[11]):
- не допускается наличие пней, камней, ям и аналогичных препятствий на поверхности склона;
- ориентация склона не должна быть в направлениях на юг, юго-запад, запад;
- должны быть в наличии ограждения по границам в виде деревьев и валунов (включая снежны валы);
- не допускается пересечение трасс;
- длина стартовой площадки - не более 4 м;
- должно присутствовать ограждение стартовой площадки.
Требования к трассам для могула (обследование проводится в соответствии с
[13]):
- уклон трассы должен быть не более 32°;
- ширина трассы для одиночного катания должна быть более 18 м;
- ширина трассы для парного катания должна быть не более 21 м;
- уклон горы приземления в зоне прыжков должен быть приблизительно 26° - 30°;
- уклон зоны финиша должен быть не более 0° - 10°;
- длина зоны финиша должна быть более 30 м.
Требования к трассам для акробатики (обследование проводится в соответствии с
[13]):
- уклон горы разгона должен быть более 25°;
- уклон горы приземления должен быть не более 35° - 37°;
- уклон стола отрыва должен быть 0°;
- длина горы приземления должна быть более 24 м;
- ширина трассы в зоне стола отрыва должна быть более 30 м;
- ширина основания зоны финиша должна быть более 35 м;
- длина зоны финиша должна быть более 30 м;
Требования к трассам для ски-кросса (обследование проводится в соответствии с
[13]):
- максимальный уклон трассы должен быть 22°;
- минимальная ширина трассы (для участков длиннее 50 м) должна быть 30 м;
- минимальная ширина трассы (для участков короче 50 м) должна быть 20 м.
Пути эвакуации с трибун (обследование проводится в соответствии с
[4]):
- соблюдается уклон лестниц трибун, не оборудованных поручнями высотой не менее 0,9 м (или устройствами их заменяющими), не более 1:1,6;
- соблюдается уклон лестниц трибун, оборудованных поручнями высотой не менее 0,9 м (или устройствами их заменяющими), не более 1:1,4;
- соблюдается отсутствие лестниц или ступеней в люках на путях эвакуации;
- соблюдается наличие разделительных поручней на высоте не менее 0,9 м (для лестниц, проходов и люков с расчетной шириной более 4 м);
- соблюдается наличие ограждения высотой не менее 0,8 м, не мешающего видимости, установленного вдоль прохода каждого зрительного ряда при разнице отметок пола смежных рядов более 0,55 м;
- соблюдается высота барьера перед первым рядом на балконах и ярусах не менее 0,8 м;
- соблюдается расчетное время эвакуации в соответствии с расчетом времени эвакуации по
[4] (подраздел 6.22);
- соблюдается ширина путей эвакуации для горизонтальных проходов, пандусов и лестниц на трибунах не менее 1 м;
- соблюдается ширина путей эвакуации для эвакуационных люков трибун открытых спортивных сооружений не менее 1,5 м;
- соблюдается расстояние от спинки до спинки между рядами кресел, стульев или скамей не менее 0,45 м;
- соблюдается число непрерывно установленных мест в ряду (при одностороннем входе) не более 26;
- соблюдается число непрерывно установленных мест в ряду (при двустороннем входе) не более 50.
Пути эвакуации для маломобильных групп населения (обследование проводится в соответствие с
[5]):
- соблюдается ширина (в свету) участков эвакуационных путей, используемых МГН, для переходных лоджий и балконов не менее 1,5 м;
- соблюдается ширина (в свету) участков эвакуационных путей, используемых МГН, для коридоров, пандусов, используемых для эвакуации, не менее 1,8 м;
- соблюдается минимально возможное расстояние мест обслуживания и постоянного нахождения МГН от эвакуационных выходов;
- соблюдается ширина прохода между рядами, предусмотренными для МГН (с учетом кресла-коляски), не менее 1,6 м;
- соблюдается расстояние от любого места пребывания инвалида в зальном помещении до эвакуационного выхода в коридор, фойе, наружу или до эвакуационного люка трибун спортивно-зрелищных залов не менее 40 м;
- соблюдается расчет времени эвакуации с учетом требований
[5].
(в ред.
Изменения N 1, утв. Приказом Росстандарта от 25.12.2018 N 1140-ст)
9. Программа оценки требований безопасности
спортивных площадок
Программа оценки требований безопасности спортивных площадок осуществляется путем проведения полевых испытаний и инспекционного обследования. В ходе испытаний определяется соответствие или несоответствие спортивных площадок требованиям, изложенным в настоящем разделе.
9.1. К спортивным площадкам при проведении полевых испытаний устанавливаются следующие требования:
9.1.1. Общие требования (для всех типов площадок)
Размеры спортивных площадок:
При проверке размеров спортивных площадок необходимо использовать рулетку II класса точности по
ГОСТ 7502.
Поверхность и/или покрытие площадок:
- поверхность и/или покрытие площадок должны быть однородными и не иметь видимых дефектов (разрывов, разломов, трещин и т.п.).
Крепление спортивного оборудования:
- соблюдается устойчивость к опрокидыванию ворот для мини-футбола/гандбола к горизонтальной нагрузке 1100 Н.
Испытания проводят в соответствии с
Методом 7 настоящего стандарта;
- соблюдается устойчивость крепления кольца баскетбольного щита к вертикальной нагрузке 1000 Н, приложенной к наиболее удаленной от щита части кольца.
Испытания проводят в соответствии с
Методом 10 настоящего стандарта;
- соблюдается устойчивость крепления стоек волейбольных (прогиб не более 80 мм) к горизонтальной нагрузке 1440 Н, приложенной на уровне несущего троса.
Испытания проводят в соответствии с
Методом 9 настоящего стандарта;
- соблюдаются сохранение стабильности натяжения и устойчивость (прогиб не более 80 мм) крепления стоек теннисных при приложении горизонтальной нагрузки 2290 Н на несущий трос.
Испытания проводят в соответствии с
Методом 9 настоящего стандарта.
Ровность поверхности:
Не допускается наличие неровностей, превышающих 10 мм.
Испытания проводят в соответствии с
Методом 6 настоящего стандарта.
Освещение:
Испытания проводят в соответствии с методикой по
ГОСТ 24940.
(в ред.
Изменения N 1, утв. Приказом Росстандарта от 25.12.2018 N 1140-ст)
9.1.2. Требования к площадкам с покрытием из искусственной травы
Для проведения испытаний площадок с покрытием из искусственной травы в отношении любого из приведенных ниже критериев на каждой площадке используют минимум четыре точки и дополнительно минимум одну точку на каждые 500 м2 площадки (при расчете числа точек округление всегда проводят в большую сторону).
9.1.2.1. Площадки, предназначенные преимущественно для футбола:
- поглощение удара в любой из точек проведения испытаний должно составлять от 55% до 60%.
Испытания проводят в соответствии с
Методом 2 настоящего стандарта;
- вертикальная деформация в любой из точек проведения испытаний должна составлять от 4 до 10 мм.
Испытания проводят в соответствии с
Методом 3 настоящего стандарта;
- скольжение в любой из точек проведения испытаний должно составлять 80 - 110 ед. (по шкале прибора).
Испытания проводят в соответствии с
Методом 5 настоящего стандарта.
9.1.2.2. Площадки, предназначенные преимущественно для регби:
- поглощение удара в любой из точек проведения испытаний должно составлять от 61% до 80%.
Испытания проводят в соответствии с
Методом 2 настоящего стандарта;
- вертикальная деформация в любой из точек проведения испытаний должна составлять от 4 до 10 мм.
Испытания проводят в соответствии с
Методом 3 настоящего стандарта.
9.1.2.3. Площадки, предназначенные преимущественно для тенниса:
- поглощение удара в любой из точек проведения испытаний должно составлять от 15% до 34%.
Испытания проводят в соответствии с
Методом 2 настоящего стандарта;
- скольжение в любой из точек проведения испытаний должно составлять 55 - 110 ед. (по шкале прибора).
Испытания проводят в соответствии с
Методом 3 настоящего стандарта.
9.1.2.4. Площадки, предназначенные преимущественно для хоккея на траве:
- поглощение удара в любой из точек проведения испытаний должно составлять от 35% до 54%.
Испытания проводят в соответствии с
Методом 2 настоящего стандарта;
- вертикальная деформация в любой из точек проведения испытаний должна составлять 3 - 10 мм.
Испытания проводят в соответствии с
Методом 3 настоящего стандарта.
9.1.2.5. Площадки, предназначенные для общей физической подготовки (ОФП) и бесконтактных видов спорта:
- поглощение удара в любой из точек проведения испытаний должно составлять от 35% до 54%.
Испытания проводят в соответствии с
Методом 2 настоящего стандарта.
9.1.3. Требования к площадкам с синтетическим эластичным покрытием
Для проведения испытаний площадок с синтетическим эластичным покрытием в отношении любого из приведенных ниже критериев на каждой площадке используют минимум четыре точки и дополнительно минимум одну точку на каждые 500 м2 площадки (при расчете числа точек округление всегда проводят в большую сторону).
9.1.3.1. Площадки, предназначенные преимущественно для легкой атлетики:
- поглощение удара в любой из точек проведения испытаний должно составлять не менее 25%.
Испытания проводят в соответствии с
Методом 2 настоящего стандарта;
- вертикальная деформация в любой из точек проведения испытаний должна составлять не более 3 мм.
Испытания проводят в соответствии с
Методом 3 настоящего стандарта;
- толщина покрытия должна составлять не менее 10 мм.
9.1.3.2. Площадки, предназначенные преимущественно для тенниса:
- поглощение удара в любой из точек проведения испытаний должно составлять не менее 25%.
Испытания проводят в соответствии с
Методом 2 настоящего стандарта;
- вертикальная деформация в любой из точек проведения испытаний должна составлять не более 3 мм.
Испытания проводят в соответствии с
Методом 3 настоящего стандарта.
9.1.3.3. Площадки универсального назначения:
- поглощение удара в любой из точек проведения испытаний должно составлять не менее 25%.
Испытания проводят в соответствии с
Методом 2 настоящего стандарта;
- вертикальная деформация в любой из точек проведения испытаний должна составлять не более 6 мм.
Испытания проводят в соответствии с
Методом 3 настоящего стандарта.
9.1.4. Требования к площадкам с натуральным травяным покрытием:
- высота стебля травы должна составлять от 20 до 60 мм.
Испытания проводят в соответствии с
Методом 1 настоящего стандарта;
- плотность травяного покрытия должна составлять не менее 70%.
Испытания проводят в соответствии с
Методом 1 настоящего стандарта.
9.1.5. Требования к площадкам с покрытием из уплотненного грунта:
- поглощение удара в любой из точек проведения испытаний (одна точка на 500 м2) должно составлять не более 10%.
Испытания проводят в соответствии с
Методом 2 настоящего стандарта. При проведении испытаний на каждой площадке используют минимум четыре точки и дополнительно минимум одну точку на каждые 500 м2 площадки (при расчете числа точек округление всегда проводят в большую сторону);
- максимальный размер гранул финишного покрытия должен составлять 3 мм.
Испытания проводят путем инспекционного обследования.
9.2. К открытым площадкам при проведении инспекционного обследования устанавливают следующие требования:
Пути эвакуации с трибун (обследование проводится в соответствии с
[4]):
- соблюдается уклон лестниц трибун, не оборудованных поручнями высотой не менее 0,9 м (или устройствами, их заменяющими), не более 1:1,6;
- соблюдается уклон лестниц трибун, оборудованных поручнями высотой не менее 0,9 м (или устройствами, их заменяющими), не более 1:1,4;
- соблюдается отсутствие лестниц или ступеней в люках на путях эвакуации;
- соблюдается наличие разделительных поручней на высоте не менее 0,9 м (для лестниц, проходов и люков с расчетной шириной более 4 м);
- соблюдается наличие ограждения высотой не менее 0,8 м, не мешающего видимости, установленного вдоль прохода каждого зрительного ряда при разнице отметок пола смежных рядов более 0,55 м;
- соблюдается высота барьера перед первым рядом на балконах и ярусах не менее 0,8 м;
- соблюдается расчетное время эвакуации в соответствии с расчетом времени эвакуации по
[4] (подраздел 6.22);
- соблюдается ширина путей эвакуации для горизонтальных проходов, пандусов и лестниц на трибунах не менее 1 м;
- соблюдается ширина путей эвакуации для эвакуационных люков трибун открытых спортивных сооружений не менее 1,5 м;
- соблюдается расстояние от спинки до спинки между рядами кресел, стульев или скамей не менее 0,45 м;
- соблюдается число непрерывно установленных мест в ряду (при одностороннем входе) не более 26;
- соблюдается число непрерывно установленных мест в ряду (при двустороннем входе) не более 50.
Пути эвакуации для маломобильных групп населения (обследование проводится в соответствие с
[5]):
- соблюдается ширина (в свету) участков эвакуационных путей, используемых МГН, для переходных лоджий и балконов не менее 1,5 м;
- соблюдается ширина (в свету) участков эвакуационных путей, используемых МГН, для коридоров, пандусов, используемых для эвакуации, не менее 1,8 м;
- соблюдается минимально возможное расстояние мест обслуживания и постоянного нахождения МГН от эвакуационных выходов;
- соблюдается ширина прохода между рядами, предусмотренными для инвалидов (с учетом кресла-коляски), не менее 1,6 м;
- соблюдается расстояние от любого места пребывания инвалида в зальном помещении до эвакуационного выхода в коридор, фойе, наружу или до эвакуационного люка трибун спортивно-зрелищных залов не менее 40 м;
- соблюдается расчет времени эвакуации с учетом требований
[5].
(в ред.
Изменения N 1, утв. Приказом Росстандарта от 25.12.2018 N 1140-ст)
10.1. Метод 1. Определение высоты и плотности травяного покрова на спортивных площадках с натуральным травяным покрытием
10.1.1. Общие рекомендации по выбору мест измерений
10.1.1.1. Для определения мест проведения измерений используется W-образная схема распределения (см.
рисунок 1). При этом необходимо стремиться к тому, чтобы места проведения измерений были как можно более равномерно распределены по проверяемой площади.
Рисунок 1. W-образное распределение
мест проведения измерений
10.1.1.2. Окончательную точку проведения измерений следует выбирать случайным, не умышленным образом. Для этих целей допускается незначительно отклоняться от места проведения измерений, определенного методом, описанным в
10.1.1.1.
10.1.1.3. Число измерений определяется методикой конкретного теста.
10.1.2. Измерение высоты травяного покрова
ВНИМАНИЕ - Измерение высоты травяного покрова осуществляется в состоянии газона "как есть", не допускается умышленное вытягивание листьев газона при проведении измерений.
10.1.2.1. Прямое измерение
Оборудование
Измерительный щуп или линейка, размеченная в миллиметрах таким образом, что нулевая отметка начинается непосредственно от края щупа (линейки). Сечение края нулевой отметки щупа (линейки) должно быть минимально возможным, то есть либо применяют максимально узкий щуп, либо линейку диагонально обрезают к краю нулевой отметки.
Процедура измерения
Располагают линейку нулевой отметкой к газону. Удерживая линейку вертикально, устанавливают ее на поверхность грунта (или войлочного слоя), но не вдавливают. Фиксируют высоту в миллиметрах ближайшего к линейке вертикально расположенного стебля травы. При проведении измерений высоты травяного покрова на газоне с относительно длинными и примятыми к земле стеблями фиксируют высоту травяного покрова в месте размещения линейки.
Число измерений
Проводят как минимум 10 измерений на площадках площадью до 100 м2, от 10 до 40 измерений на площадках площадью от 100 до 5000 м2 (число измерений увеличивают пропорционально увеличению площади) и 40 измерений на площадках площадью 5000 м2.
В случае если площадь исследуемой площадки более 5000 м2, необходимо разбить ее на меньшие участки и определить число измерений для каждого участка в отдельности.
Определение результата теста
Среднее арифметическое значение всех проведенных измерений является результатом теста.
10.1.2.2. Измерение движущимся диском
Оборудование и принцип действия
Пластиковый диск диаметром 0,5 м и толщиной 15 мм с усиливающими (армирующими) поперечными элементами свободно устанавливают на измерительный щуп толщиной 25 мм с использованием уплотняющей муфты. Измерительный щуп должен быть размечен в миллиметрах таким образом, чтобы, когда заостренный конец измерительного щупа устанавливают на поверхность грунта (или войлочного слоя), верхний край уплотняющей муфты указывал на расстояние между нижней поверхностью диска и концом измерительного щупа (см.
рисунок 2). Размеры диска могут быть изменены при условии, что отношение массы диска к его площади не превышает 0,045 на 100 мм2.
Рисунок 2. Измерительный диск
Процедура измерения
Устанавливают измерительный щуп вертикально на поверхность грунта (или войлочного слоя), но не вдавливают. Избегают установки щупа на участках с неровностями покрытия. Опускают диск не поверхность стеблей газона. Фиксируют высоту газона на измерительном щупе. Не следует использовать метод на газонах высотой менее 10 мм и более 150 мм.
Число измерений
Проводят как минимум 10 измерений на площадках площадью до 100 м2, от 10 до 40 измерений на площадках площадью от 100 до 5000 м2 (число измерений увеличивают пропорционально увеличению площади) и 40 измерений на площадках площадью 5000 м2.
В случае если площадь исследуемой площадки более 5000 м2, необходимо разбить ее на меньшие участки и определить число измерений для каждого участка в отдельности.
Определение результата теста
Среднее арифметическое значение всех проведенных измерений является результатом теста.
10.1.3. Измерение плотности травяного покрова
10.1.3.1. Оборудование
Деревянную раму размерами 750 x 750 мм разделяют на 100 ячеек размерами 75 x 75 мм каждая, используя струну или корд (см.
рисунок 3). Таким образом, одна ячейка представляет собой 1% исследуемой площади. Размеры рамы не обязательно должны соответствовать указанным, но рама должна обязательно быть разделена на равные ячейки, представляющие собой части исследуемой площади в процентах. Предложенный размер представляет собой компромисс между площадью исследуемой поверхности и удобством транспортирования оборудования.
Рисунок 3. Рама для измерения плотности травяного покрова
10.1.3.2. Процедура измерения
Общие принципы
Измерение может быть проведено двумя способами, выбираемыми в зависимости от размеров измеряемых элементов. В случае если измеряются разбросанные небольшие одиночные участки растительности или непокрытого грунта, применяется метод для измерения элементов менее размеров ячейки. В случае если измеряются значительные площади, покрытые или не покрытые растительностью, применяется метод для измерения элементов более размеров ячейки. Для метода, описанного в 3, необходимо использовать измерительную раму как минимум с 25 ячейками.
Измеряемые элементы травяного покрова менее размеров ячейки
Оценивают, как много элементов потребуется для того, чтобы заполнить ячейку. Подсчитывают общее число элементов на исследуемой площади (внутри рамы), определяют, сколько ячеек потребуется для того, чтобы их вместить. Далее рассчитывают процент площади внутри рамы, занимаемый исследуемыми элементами.
Измеряемые элементы травяного покрова более размеров ячейки
Подсчитывают, сколько ячеек полностью или более чем наполовину заполнено исследуемыми элементами, такие ячейки оценивают как "полные". Ячейки, заполненные менее чем наполовину, оценивают как "пустые". Рассчитывают плотность травяного покрова (или непокрытого грунта), в процентах, на основании соотношения "полных" и "пустых" ячеек. Метод обеспечивает достаточную точность только с использованием рамы, содержащей как минимум 25 ячеек.
10.1.3.3. Количество измерений
Проводят как минимум пять измерений на площадках площадью до 100 м2, от пяти до 20 измерений на площадках площадью от 100 до 5000 м2 (число измерений увеличивают пропорционально увеличению площади) и 20 измерений на площадках площадью 5000 м2.
В случае если площадь исследуемой площадки более 5000 м2, необходимо разбить ее на меньшие участки и определить число измерений для каждого участка в отдельности.
10.1.3.4. Определение результата теста
Среднее арифметическое значение (в процентах) всех проведенных измерений является результатом теста.
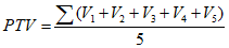
10.2. Метод 2. Определение демпфирующей способности (поглощения удара) покрытий игровых залов и плоскостных спортивных сооружений
10.2.1. Испытательная установка
1 - направляющая колонка для падения груза;
2 - электромагнит; 3 - падающий груз; 4 - демпфирующий
элемент; 5 - пружина; 6 - направляющая гильза;
7 - датчик усилия; 8 - испытательная опора
Рисунок 4. Испытательная установка
10.2.1.1. Груз массой (20 +/- 0,1) кг с закаленной ударной поверхностью, установленный на конструкцию, обеспечивающую отвесное падение с низким трением.
10.2.1.2. Спиральная пружина, установленная в испытательную установку, с коэффициентом жесткости пружины (2,000 +/- 60) Н/мм, линейной в диапазоне 0,1 - 7,5 кН, с закаленным демпфирующим элементом. Пружина должна иметь не менее трех концентрических витков, концы которых должны быть жестко связаны между собой. Этого можно достичь, например, путем фрезерования пружины из цельного куска стали.
10.2.1.3. Регулируемые опоры, которые должны быть удалены от траектории падения груза не менее чем на 250 мм при испытаниях точечно-упругих покрытий и не менее чем на 600 мм при испытаниях поверхностно-упругих покрытий.
10.2.1.4. Опорная плита из стали с закругленной нижней стороной радиусом 500 мм, радиусом закругления 1 мм, диаметром (70,0 +/- 0,1) мм и толщиной не менее 10 мм.
10.2.1.5. Направляющая металлическая гильза с внутренним диаметром (71,0 +/- 0,1) мм.
10.2.1.6. Электрический датчик усилия класса 0,2 на 10 кН.
10.2.1.7. Испытательная опора со стальным основанием, датчиком усилия, пружиной и демпфирующей пластиной (толщиной 20 мм), встроенной в направляющую гильзу. Общая масса испытательной опоры (без направляющей гильзы) составляет (3,0 +/- 0,3) кг.
10.2.1.8. Стопорное устройство для груза, с помощью которого регулируют высоту падения груза с погрешностью не более +/- 0,25 мм.
10.2.1.9. Устройство для усиления и регистрации сигнала, поступающего от датчика усилия, а также прибор для воспроизведения записи со следующими характеристиками:
- частота среза предусилителя должна составлять не менее 1 кГц;
- фильтр нижних частот Баттерворта второго порядка с частотой среза 120 Гц (-3 дБ) включают в цепь предусилителя или встраивают в предусилитель. Фильтрацию проводят аппаратно или программно. Система должна срабатывать при любой частоте ожидаемого ответного сигнала в диапазоне +/- 0,5 дБ, вычисляемого с применением функции Баттерворта;
- система должна регистрировать пиковые значения отдельных импульсов длительностью 10 мс с погрешностью не более +/- 0,2%;
- при использовании цифровых записывающих устройств дискретизация должна быть не менее 12 бит, амплитуда сигнала должна составлять не менее 25% шкалы измерительного устройства, а частота дискретизации должна быть равна удвоенной верхней границе частотного диапазона фильтровальной системы/предусилителя цифровой системы, но не менее 2 кГц.
10.2.1.10. Жесткий, невибрирующий, гладкий и ровный бетонный пол со значением

, указанным в
10.2.2.4.
10.2.2. Определение контрольной нагрузки
(калибровочные испытания)
10.2.2.1. Испытательную установку закрепляют в вертикальном положении на бетонном полу.
10.2.2.2. Нижняя поверхность груза должна находиться на высоте (55,00 +/- 0,25) мм над датчиком усилия. Груз бросают на датчик усилия. Регистрируют максимальное значение силы, действующей на поверхность во время удара.
10.2.2.3. Действия, описанные в
10.2.2.2, повторяют десять раз, чтобы общее число соударений равнялось 11. Вычисляют среднее значение максимальной силы со второго по 11 соударение и обозначают его как

.
10.2.2.4. Значение

должно находиться в диапазоне (6,60 +/- 0,25) кН. Если значение лежит за пределами этого диапазона, то результаты считаются недействительными.
10.2.2.5. Эти действия повторяют не реже чем раз в три месяца.
10.2.3. Порядок проведения испытаний
10.2.3.1. Испытательную установку закрепляют в вертикальном положении, перпендикулярно к испытуемому образцу.
10.2.3.2. Нижняя поверхность груза (ударника) должна находиться на высоте (55,00 +/- 0,25) мм над датчиком усилия. Датчик усилия регистрирует начальную нагрузку 0,01 Н/мм2, а также соответствующую деформацию поверхности. Это - нулевое положение. Груз бросают на датчик усилия.
10.2.3.3. Регистрируют силу, действующую на поверхность во время удара. Не более чем через 5 с после удара груз приподнимают и снова устанавливают в стопорном устройстве, чтобы подготовить поверхность к следующему удару.
10.2.3.4. При отсутствии дополнительных указаний с интервалом (60 +/- 10) с дважды повторяют действия, описанные в
10.2.3.2, получая таким образом результаты для трех испытаний. Вычисляют среднее значение максимальной силы при втором и третьем ударах и обозначают его как

.
10.2.3.5. Если необходимо провести дальнейшие испытания, то каждое испытание проводят на новом месте, при этом новое место испытаний должно быть удалено от предыдущего не менее чем на 100 мм.
10.2.4. Обработка результатов испытаний
10.2.4.1. Демпфирующую способность FR определяют по следующей формуле:

,
где FR - демпфирующая способность, %;

- максимальная сила, измеренная при падении груза на образец, Н;

- максимальная сила, измеренная при падении груза на бетон, Н.
10.2.4.2. Для каждого конкретного места проведения испытаний демпфирующую способность рассчитывают FR усреднением результатов второго и третьего испытаний. Результат выражают в целых числах, например, 37%.
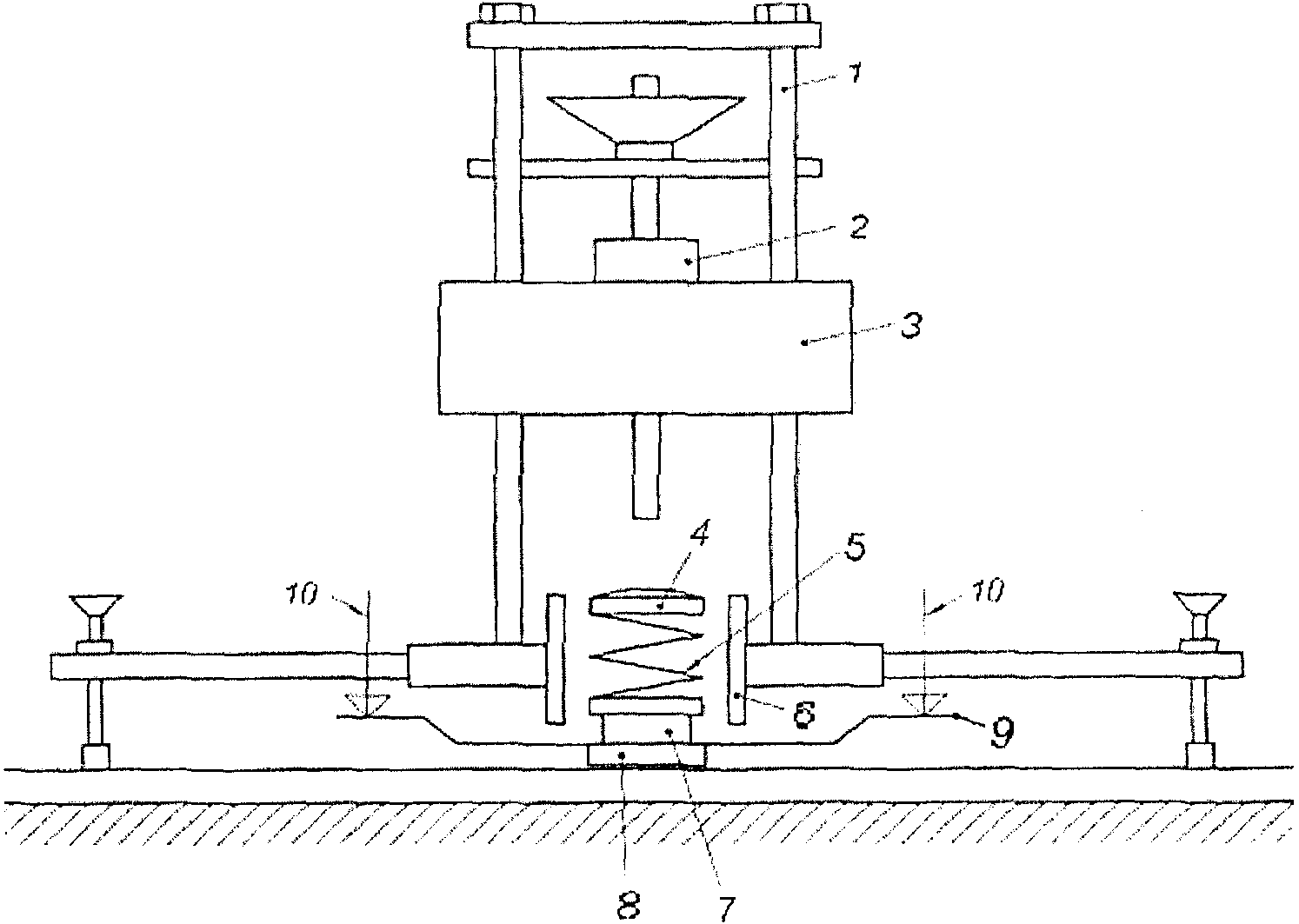
10.3. Метод 3. Определение вертикальной деформации покрытий игровых залов и плоскостных спортивных сооружений
10.3.1. Испытательная установка
1 - направляющая колонка для падения груза;
2 - электромагнит; 3 - груз; 4 - демпфирующий элемент;
5 - пружина; 6 - направляющая гильза; 7 - датчик усилия;
8 - опорная плита; 9 - горизонтальные измерительные
площадки; 10 - датчик
Рисунок 5. Испытательная установка
10.3.1.1. Груз массой (20 +/- 0,1) кг с закаленной ударной поверхностью, установленный на конструкцию, обеспечивающую отвесное падение с низким трением.
10.3.1.2. Спиральная пружина, установленная в испытательную установку, с коэффициентом жесткости пружины (40 +/- 1,5) Н/мм, линейной в диапазоне 0,1 - 1,6 кН, с закаленным демпфирующим элементом. Пружина должна иметь не менее трех концентрических витков, концы которых должны быть жестко связаны между собой. Это можно достичь, например, путем фрезерования пружины из цельного куска стали.
10.3.1.3. Регулируемые опоры, которые должны быть удалены от траектории падения груза не менее чем на 250 мм при испытаниях точечно-упругих покрытий и не менее чем на 600 мм при испытаниях поверхностно-упругих покрытий.
10.3.1.4. Опорная плита из стали с плоской нижней стороной с закруглением радиусом 1 мм, диаметром (70,0 +/- 0,1) мм и толщиной не менее 10 мм.
10.3.1.5. Направляющая металлическая гильза с внутренним диаметром (71,0 +/- 0,1) мм.
10.3.1.6. Электрический датчик усилия класса 0,2 на 10 кН.
10.3.1.7. Две горизонтальные измерительные площадки на испытательной опоре для датчиков.
10.3.1.8. Испытательная опора со стальным основанием, датчиком усилия, пружиной, измерительными площадками и демпфирующей пластиной (толщиной 20 мм), встроенной в направляющую гильзу. Общая масса испытательной опоры (без направляющей колонки) составляет (3,5 +/- 0,35) кг.
10.3.1.9. Два датчика, например, электронные датчики с диапазоном измерений +/- 10 мм и погрешностью измерений не более 0,05 мм. Расстояние между датчиками должно быть не более 125 мм.
10.3.1.10. Стопорное устройство для груза, с помощью которого регулируют высоту падения груза с погрешностью не более +/- 0,25 мм.
10.3.1.11. Устройство для усиления и регистрации сигнала, поступающего от датчика усилия, а также прибор для воспроизведения записи со следующими характеристиками:
- частота среза предусилителя должна составлять не менее 1 кГц;
- фильтр нижних частот Баттерворта второго порядка с частотой среза 120 Гц (-3 дБ) включают в цепь предусилителя или встраивают в предусилитель. Фильтрацию проводят аппаратно или программно. Система должна срабатывать при любой частоте ожидаемого ответного сигнала в диапазоне +/- 0,5 дБ, вычисляемого с применением функции Баттерворта;
- система должна регистрировать пиковое значение отдельных импульсов длительностью 10 мс с погрешностью не более +/- 0,2%;
- при использовании цифровых записывающих устройств дискретизация должна быть не менее 12 бит, амплитуда сигнала должна составлять не менее 25% шкалы измерительного устройства, а частота дискретизации должна быть равна удвоенной верхней границе частотного диапазона фильтровальной системы/предусилителя цифровой системы, но не менее 2 кГц.
10.3.2. Порядок проведения испытаний
10.3.2.1. Испытательную установку закрепляют в вертикальном положении, перпендикулярно к испытуемому образцу.
10.3.2.2. Оба датчика (например, датчики перемещения), устанавливаемые на линии соединения датчиков вдоль траектории падения груза на одинаковом расстоянии от линии падения груза, закрепляют на разъединенном штативе (суммарное расстояние между датчиками не более 125 мм). Минимальное расстояние между опорами штатива и траекторией падения груза указывают в соответствующей спецификации.
10.3.2.3. Перед началом измерений датчики перемещения должны касаться горизонтальных измерительных площадок на измерительной опоре. Записывающее устройство должно срабатывать от расцепления груза.
10.3.2.4. Верхняя поверхность груза должна находиться на высоте (120,00 +/- 0,25) мм над измерительной опорой. На верхнюю поверхность груза измерительная опора создает начальную нагрузку 0,01 Н/мм2, а также соответствующую деформацию. Это - исходное положение. Груз бросают на измерительную опору.
10.3.2.5. Измеряют значение силы, действующей на поверхность, и деформацию, возникающую вследствие удара. Не более чем через 5 с после удара груз приподнимают и снова устанавливают в стопорном устройстве, чтобы подготовить поверхность к следующему удару.
10.3.2.6. При отсутствии дополнительных указаний с интервалом в 1 мин дважды повторяют действия, описанные в
10.3.2.4, получая таким образом, результаты для трех испытаний. По результатам второго и третьего испытаний вычисляют среднее значение деформации. Если необходимо провести дальнейшие испытания на тех же испытуемых образцах, то каждое испытание проводят на новом месте, при этом новое место испытаний должно быть удалено от предыдущего не менее чем на 100 мм.
10.3.3. Обработка результатов испытаний
10.3.3.1. Значение вертикальной деформации VD определяют по следующей формуле:

,
где

- максимальная деформация покрытия спортивной площадки в точке пересечения с траекторией падения груза, мм (усредненное по времени максимальное значение);

- максимальная сила, Н.
10.3.3.2. Если нет дополнительных указаний, то для каждого места проведения испытаний вертикальную деформацию вычисляют усреднением значений деформаций, полученных за два последних испытания (удара), с точностью до 0,1 мм.
10.4. Метод 4. Определение вертикального отскока мяча от покрытий игровых залов и плоскостных спортивных сооружений (акустический метод)
10.4.1. Испытательная установка
Испытательная установка состоит из следующих частей:
10.4.1.1. Мяч, отвечающий требованиям соответствующего вида спорта и требованиям, приведенным в таблице 1.
Таблица 1
Тип мяча | Высота сброса, м | Высота отскока от бетонного покрытия, м | Эмпирический поправочный коэффициент, к | Дополнительные требования |
Баскетбольный мяч | 1,80 | 1,3 +/- 0,025 | 0,025 | Мужской баскетбольный мяч с нейлоновой оболочкой |
Футбольный мяч | 2,00 | 1,35 +/- 0,05 | - | Мяч накачан до давления 0,9 +/- 0,1 бар |
Теннисный мяч | 2,54 | 1,4 +/- 0,025 | 0,005 | - |
Мяч для игры в крикет | 3,00 | 0,95 +/- 0,025 | - | - |
Мяч для игры в хоккей на траве | 2,00 | 0,575 +/- 0,025 | - | - |
10.4.1.2. Устройство сброса мяча, работающее плавно без передачи какого-либо импульса или вращения мячу и обеспечивающее отвесное падение мяча с установленной высоты.
Примечание. Таким устройством может быть, например, электромагнитное пусковое устройство и очень маленькая, тонкая металлическая пластина, закрепленная на мяче. Могут также использоваться вакуумные и механические установки.
10.4.1.3. Акустическое регистрирующее устройство, состоящее из микрофона и хронометра, срабатывающего от акустического сигнала и выдающего измеренные значения с шагом в 1 мс. Устройство включается от звука первого удара мяча о покрытие и выключается от звука второго удара. Время между этими событиями обозначают T и выражают в секундах.
10.4.2. Порядок проведения испытаний
10.4.2.1. Определение высоты отскока от бетонного покрытия (калибровочные испытания):
- высоту сброса мяча устанавливают в соответствии с требованиями, указанными в
таблице 1. Мяч бросают на участок устойчивого бетонного покрытия размерами не менее 0,5 x 0,5 м и толщиной не менее 0,05 м. При этом мяч не должен докатываться до края покрытия как минимум на 100 мм;
- с помощью хронометра измеряют время T, с, между первым и вторым ударами мяча о покрытие;
- высоту отскока мяча H, м, рассчитывают по следующей формуле:

,
где T - время между первым и вторым ударами мяча о покрытие, с;
- испытания повторяют до получения пяти значений, при этом при каждом новом испытании мяч должен падать на покрытие в другой точке;
- результаты пяти измерений высоты H усредняют и полученное среднее значение принимают за высоту отскока мяча;
- проверяют, соответствует ли рассчитанное значение высоты отскока мяча от бетонного покрытия требованиям
10.4.1.1.
10.4.2.2. Если рассчитанное значение высоты отскока отличается от требуемого, то испытания повторяют согласно
10.4.2.1, регулируя давление внутри мяча, либо заменяя мяч, до тех пор пока высота отскока мяча не будет соответствовать требованиям
10.4.1.1.
10.4.2.3. Если рассчитанное значение высоты отскока соответствует требованиям
10.4.1.1, испытания проводят согласно
10.4.2.1 на исследуемом покрытии.
10.4.3. Расчет результатов испытаний
Относительную высоту отскока мяча от образца, %, рассчитывают по следующей формуле:
10.5. Метод 5. Определение фрикционных характеристик покрытий игровых залов и плоскостных спортивных сооружений
10.5.1. Испытательная установка
10.5.1.1. Испытательная установка изображена на
рисунке 6 и состоит из следующих основных частей:
1 - пузырьковый уровень; 2 - винт регулировки
уровня; 3 - стрелка; 4 - винт регулировки высоты;
5 - измерительная шкала; 6 - механизм высвобождения
маятника; 7 - резиновый скользящий элемент
Рисунок 6. Испытательная установка
а) Подпружиненный скользящий элемент, конструкция которого соответствует
10.5.1.3. Скользящий элемент должен быть закреплен на конце маятника таким образом, чтобы расстояние между осью маятника и наиболее удаленной от нее гранью скользящего элемента составляло (514 +/- 6) мм.
б) Конструктивные элементы, позволяющие удерживать испытательную установку в вертикальном положении.
в) Основание испытательной установки достаточно тяжелое, чтобы обеспечивать устойчивость испытательной установки во время проведения испытаний.
г) Устройство, позволяющее регулировать длину маятника в диапазоне достаточном для того, чтобы:
- маятник проходил над исследуемой поверхностью, не касаясь ее скользящим элементом;
- маятник проходил над исследуемой поверхностью, при этом длина пятна контакта скользящего элемента и поверхности составляла бы (126 +/- 1) мм (для регулировки длины пятна контакта рекомендуется использовать устройство, изображенное на
рисунке 7)
Рисунок 7. Устройство регулировки длины пятна контакта
д) Устройство удержания (в горизонтальном положении) и высвобождения маятника.
е) Вращающаяся индикаторная стрелка длиной 300 мм, установленная на оси маятника (стартовая позиция горизонтально вниз от оси маятника) и обозначающая позицию, которую достиг маятник, в ходе движения вперед. Масса стрелки не должна превышать 85 г.
Трение на оси поворота стрелки должно иметь механизм регулировки и настраиваться таким образом, чтобы при высвобождении маятника, проходящего над исследуемой поверхностью, не касаясь ее скользящим элементом, стрелка останавливалась в позиции, вертикально расположенной на (10 +/- 1) мм ниже горизонтали, проходящей через ось маятника. Данное положение стрелки соответствуют 0 на измерительной шкале.
Конструктивные элементы должны быть устойчивы к повреждениям, использованные материалы должны быть устойчивы к коррозии или иметь соответствующую обработку.
10.5.1.2. Масса маятника, включая скользящий элемент, должна составлять (1,50 +/- 0,03) кг. Центр тяжести маятника (со скользящим элементом) должен находиться на расстоянии (410 +/- 5) мм от оси маятника.
10.5.1.3. Скользящий элемент должен состоять из резиновой подошвы, размерами (76 +/- 0,5) мм в ширину и (25 +/- 0,5) мм в длину (по направлению скольжения), толщиной (6,35 +/- 0,5) мм, которая закреплена на алюминиевом основании. Общая масса скользящего элемента должна составлять (32 +/- 0,5) г.
10.5.1.4. Резиновая подошва должна быть вулканизирована на алюминиевом основании.
10.5.1.5. Скользящий элемент должен иметь центральную ось вращения, проходящую по ходу движения маятника, через которую его крепят к маятнику таким образом, чтобы находясь в максимально низкой точке прохождения маятника над поверхностью и касаясь ее ребром, скользящий элемент был бы направлен под углом 26° к поверхности по ходу движения маятника. Скользящий элемент должен иметь возможность вращаться на оси, следуя неровностям поверхности в процессе прохождения маятника.
10.5.1.6. Скользящий элемент должен быть подпружинен относительно исследуемой поверхности. Напряжение пружины должно составлять (22 +/- 0,5) Н при нахождении скользящего элемента в среднем положении (относительно хода пружины). Изменение напряжения при изменении положения скользящего элемента должно составлять не более 0,2 Н/мм.
10.5.1.7. Резиновая подошва скользящего элемента должна обладать характеристиками эластичности по отскоку (измеренной в соответствии с
ГОСТ 27110) и твердости (измеренной в соответствии с
ГОСТ 20403, соответствующими требованиям, указанным в
таблице 1. Характеристики должны быть подтверждены сертификатом соответствия, включающим в себя данные изготовителя и дату производства.
Таблица 2
Характеристики подошвы скользящего элемента
Наименование характеристик | Температура, °C |
0 | 10 | 20 | 30 | 40 |
| 43 - 49 | 58 - 65 | 66 - 73 | 71 - 77 | 74 - 79 |
| 53 - 65 |
10.5.1.8. Резиновую подошву отбраковывают в случае, если значение твердости, измеренное портативным измерительным прибором, выходит за пределы требуемых значений, или с момента изготовления подошвы прошло более года.
10.5.1.9. Края подошвы должны быть прямоугольными, без заусенцев и аналогичных повреждений, материал изготовления не должен содержать посторонних включений и загрязнений.
10.5.1.10. Перед началом использования ребро касания подошвы должно быть подготовлено путем среза ребра до достижения плоскости минимальной шириной 1 мм (см.
рисунок 8).
ВНИМАНИЕ - Такой эффект может быть достигнут проведением ряда испытаний с использованием в качестве исследуемой поверхности абразивной бумаги с размером зерна 400.
1 - ребро касания подошвы скользящего элемента;
2 - алюминиевое основание; 3 - резиновая подошва
скользящего элемента; 4 - срез ребра касания
Рисунок 8. Скользящий элемент
10.5.1.11. Резиновую подошву отбраковывают в случае, если ширина среза ребра касания превышает 3 мм или если поверхность среза ребра касания получает значительные повреждения. В этом случае скользящий элемент можно развернуть, чтобы использовать другое ребро, которое также должно быть подготовлено в соответствии с
10.5.1.10.
10.5.1.12. Скользящий элемент хранят в сухой водонепроницаемой упаковке при температуре (15 +/- 10) °C. Чем ниже температура хранения, тем дольше будут сохраняться характеристики, указанные в
таблице 2. В случае если температура скользящего элемента опускалась ниже 15 °C на период более одного дня, перед дальнейшим использованием скользящий элемент должен быть выдержан при температуре (30 +/- 2) °C в течение (18 +/- 6) ч. При проведении испытаний температура скользящего элемента должна соответствовать температуре окружающей среды.
10.5.2. Дополнительное оборудование
При проведении испытаний потребуются следующие дополнительные оборудование и реактивы:
10.5.2.1. Чистая вода и устройство, позволяющее увлажнять исследуемую поверхность.
10.5.2.2. Термометр, позволяющий измерять температуру поверхности с точностью до 1 °C.
10.5.2.3. Пузырьковый уровень длиной минимум 1 м.
10.5.2.4. Плотная, неметаллическая щетка для очистки поверхности.
10.5.3. Проведение испытаний
10.5.3.1. Следует убедиться, что скользящий элемент соответствует требованиям
10.5.1.7 и
10.5.1.8.
10.5.3.2. Измеряют температуру исследуемой поверхности в каждом месте проведения измерений.
10.5.3.3. Используя винты регулировки уровня, устанавливают испытательную установку вертикально. Далее устанавливают длину маятника таким образом, чтобы маятник проходил над исследуемой поверхностью, не касаясь ее скользящим элементом. Регулируют трение на оси поворота стрелки таким образом, чтобы при высвобождении маятника, проходящего над исследуемой поверхностью, не касаясь ее скользящим элементом, стрелка останавливалась в позиции 0 на измерительной шкале.
10.5.3.4. Устанавливают длину маятника таким образом, чтобы в момент прохождения маятника над исследуемой поверхностью длина пятна контакта скользящего элемента и поверхности составляла (126 +/- 1) мм.
10.5.3.5. Обильно увлажняют исследуемую поверхность и резиновую подошву скользящего элемента.
10.5.3.6. Приводят стрелку и маятник в исходное положение. Высвобождают маятник. После достижения маятником предельной точки при движении вперед, ловят маятник в момент начала обратного движения. Фиксируют ближайшее к стрелке значение шкалы. Возвращают маятник в исходное положение, при этом приподнимают подпружиненный скользящий элемент так, чтобы при обратном движении он не касался поверхности.
10.5.3.7. Повторяют измерение пять раз, обильно увлажняя поверхность непосредственно перед началом измерения. Каждый раз фиксируют результат измерений. Если результаты, полученные при первых пяти измерениях, различаются более чем на три деления шкалы, повторяют измерения до тех пор, пока при трех измерениях подряд не будет получено одинаковое значение (в этом случае необходимо зафиксировать это значение).
10.5.3.8. По завершении испытаний проверяют, сохранила ли установка вертикальное положение. Повторяют процедуру, описанную в
10.5.3.3, чтобы убедиться, что начальные настройки не сбились в процессе проведения испытаний и не повлияли на результаты. При необходимости аннулируют результаты и проводят испытания повторно.
10.5.3.9. По завершении испытаний также проверяют температуру поверхности и длину пятна контакта скользящего элемента и поверхности.
10.5.3.10. Повторяют испытания необходимое число раз.
10.5.4. Расчет результатов испытаний
10.5.4.1. Рассчитывают результат теста PTV как среднее арифметическое значение пяти измерений по формуле:

,
где значения с

являются значениями каждого из пяти измерений,
или
где

- значение, полученное при трех последовательных измерениях (в случае если разброс результатов первоначальных измерений оказался слишком велик, см.
10.5.3.7).
10.5.4.2. Округляют PTV до целого числа.
10.5.4.3. Корректируют PTV в зависимости от температуры поверхности в соответствии с таблицей 3.
Таблица 3
Корректировка значения PTV в зависимости от температуры
Температура поверхности, °C | Корректировка значения PTV |
40 | +3 |
30 | +2 |
20 | 0 |
15 | -2 |
10 | -3 |
5 | -5 |
10.5.4.4. Округляют

до ближайшего целого числа.
10.5.4.5.

является результатом теста.
10.6. Метод 6. Определение ровности покрытий спортивных площадок
10.6.1. Измерительное оборудование
10.6.1.1. Измерительная рейка длиной (3000 +/- 5) мм, изготовленная из достаточно жестокого материала (максимальный прогиб в горизонтальной плоскости не должен превышать 0,5 мм). В процессе измерений измерительная рейка не должна отклоняться от установленной длины более чем на 1,5 мм. Толщина рейки должна составлять (25 +/- 1) мм (см.
рисунок 9).
1 - длина рейки; 2 - толщина рейки
Рисунок 9. Измерительная рейка
10.6.1.2. Расстояние между измерительной рейкой и покрытием определяют измерительным клином длиной (300 +/- 1) мм и шириной (25 +/- 1) мм. Уклон клина должен быть размечен таким образом, чтобы отображать расстояние между нижней и верхней поверхностями клина с шагом 1 мм на участке первых 10 мм от начала клина и с шагом 2,5 мм далее, с точностью 0,1 мм (см.
рисунок 10).
1 - длина (300 +/- 1) мм; 2 - ширина (25 +/- 1) мм
Рисунок 10. Измерительный клин
10.6.2. Процедура измерения
10.6.2.1. Следует убедиться, что исследуемая поверхность свободна от мусора. Размещают измерительную рейку на исследуемой поверхности в любом месте и в любом направлении.
10.6.2.2. Передвигают рейку параллельно и перпендикулярно по поверхности площадки для выявления неровностей.
10.6.2.3. При обнаружении свободного пространства между рейкой и исследуемой поверхностью измеряют зазор с помощью измерительного клина (вставляя измерительный клин в пространство между рейкой и исследуемой поверхностью).
10.6.2.4. Фиксируют результат на схеме площадки.
10.6.3. Обработка результатов измерений
Результаты измерений должны быть зафиксированы с точностью до 1 мм.
10.7. Метод 7. Определение устойчивости и прочности ворот для футбола и мини-футбола.
10.7.1. Ворота для футбола
10.7.1.1. Проверка прочности
Прикладывают вертикально направленную силу 1800 Н к центру перекладины на 1 мин +/- 10 с. Отмечают повреждения или разрушение ворот. Ослабляют приложенную силу. Проверяют наличие деформации ворот через 30 мин +/- 30 с.
10.7.1.2. Проверка стабильности футбольных ворот
Устанавливают ворота в положение, предназначенное для использования. Прикладывают горизонтально направленную силу 1100 Н к верхней части центра перекладины на 1 мин +/- 10 с, используя для этого веревку длиной 3000 мм. Ворота не должны опрокидываться или скользить (см.
рисунок 11).
Рисунок 11. Проверка стабильности ворот для футбола
10.7.2. Ворота для мини-футбола
10.7.2.1. Проверка прочности
Прикладывают вертикально направленную силу 1800 Н к центру перекладины на 1 мин +/- 10 с. Отмечают повреждения или разрушение ворот. Ослабляют приложенную силу. Проверяют наличие деформации ворот через 30 мин +/- 30 с.
10.7.2.2. Проверка стабильности
Устанавливают ворота в положение, предназначенное для использования. Прикладывают горизонтально направленную силу 1100 Н к верхней части центра перекладины на 1 мин +/- 10 с (см.
рисунок 12). Ворота не должны опрокидываться или скользить.
Рисунок 12. Проверка стабильности ворот для мини-футбола
10.8. Метод 8. Определение стабильности устройства натяжения теннисных стоек
10.8.1. Устройства для проведения испытаний
10.8.1.1. Устройство создания нагрузки (например, лебедка, свободный груз и т.п.).
10.8.1.2. Устройство регистрации нагрузки (динамометр)
10.8.2. Проведение испытаний
Стойки устанавливают в виде, готовом к применению. Стальную проволоку (диаметр 5 мм) с динамометром приводят в рабочее положение поддерживающего троса. Натяжение устройства увеличивают до 2290 Н. Усилие сохраняют в течение 10 мин.
10.8.3. Определение результатов
Регистрируют возможное ослабление натяжного устройства.
10.9. Метод 9. Определение стабильности устройства натяжения и крепления волейбольных стоек
10.9.1. Устройства для проведения испытаний
10.9.1.1. Устройство создания нагрузки (например, лебедка, свободный груз и т.п.).
10.9.1.2. Устройство регистрации нагрузки (динамометр).
10.9.2. Проведение испытаний
Горизонтальное усилие F, равное 1200 Н, прилагают к несущему тросу на высоте 2430 мм <1> над уровнем пола спортивного зала. Натяжение увеличивают до 1,2 F, равное 1440 Н, и сохраняют в течение 1 мин +/- 10 с. Затем усилие полностью снимают.
--------------------------------
<1> Высота сетки при проведении соревнований среди мужчин.
10.9.3. Определение результатов
Регистрируют возможное ослабление запорного механизма натяжного устройства или крепления сетки. Регистрируют прогиб под нагрузкой. Прогиб определяют в миллиметрах.
10.10. Метод 10. Определение стабильности крепления кольца баскетбольного щита
10.10.1. Устройства для проведения испытаний
10.10.1.1. Устройство создания нагрузки (например, лебедка, свободный груз и т.п.).
10.10.1.2. Устройство регистрации нагрузки (динамометр).
10.10.2. Проведение испытаний
10.10.2.1. Устанавливают устройство создания нагрузки таким образом, чтобы нагрузка была приложена к наиболее удаленной от щита точке кольца.
10.10.2.2. Вертикальное усилие 1000 Н прикладывают на 1 мин +/- 10 с к наиболее удаленной от щита точке кольца. Снимают усилие. Отмечают повреждения конструкции кольца и его крепления к щиту.
10.10.3. Определение результатов
Не допускается постоянных деформаций конструкции кольца и его крепления к щиту размерами более 10 мм.
10.11. Метод 11. Определение устойчивости, прочности и прогиба гимнастических брусьев
10.11.1. Устройства для проведения испытаний
10.11.1.1. Устройство создания нагрузки (например, лебедка, свободный груз и т.п.).
10.11.1.2. Устройство регистрации нагрузки (динамометр).
10.11.1.3. Ремень шириной (100 +/- 1) мм, через который нагрузку прикладывают на проверяемый элемент гимнастического снаряда.
10.11.2. Общие требования по проведению испытаний
Все испытания под нагрузкой выполняются, когда жерди находятся на максимальной рабочей высоте.
10.11.3. Определение устойчивости
10.11.3.1. Проведение испытаний
Снаряд следует зафиксировать на полу, чтобы не допустить его сдвигания. Горизонтальное усилие, равное 40% собственной массы снаряда и составляющее не менее 4000 Н, прикладывают к середине жерди и вертикально к ее длине в течение (65 +/- 5) с.
Регистрируют каждый наклон снаряда. Прогиб, при необходимости, измеряют в месте шарнирного соединения в направлении приложенной силы.
10.11.3.2. Определение результатов
Отмечают, наблюдался ли наклон. При необходимости указывают прогиб в месте шарнирного соединения, в миллиметрах.
10.11.4. Определение прогиба
10.11.4.1. Проведение испытаний
Вертикальное усилие (1350 +/- 50) Н прикладывают к середине каждой жерди в течение (65 +/- 5) с. Позицию нагруженной части измеряют с любой удобной начальной точки. Регистрируют прогиб. Снимают усилие. Измеряют остаточный прогиб через (30 +/- 1) мин после снятия усилия. Каждый остаточный прогиб регистрируют.
10.11.4.2. Определение результатов
Прогиб под нагрузкой определяют в миллиметрах. Остаточный прогиб определяют в миллиметрах как прогиб через (30 +/- 1) мин после удаления усилия.
10.11.5. Определение прочности
10.11.5.1. Проведение испытаний
Вертикальное усилие (2850 +/- 50) Н прикладывают к середине жерди в течение (65 +/- 5) с. Регистрируют все изломы, трещины, дефекты снаряда.
10.11.5.2. Определение результатов
Прочность оценивают по наличию или отсутствию изломов и иных повреждений.
10.12. Метод 12. Определение устойчивости, прочности и прогиба турников и перекладин (в том числе шведских стенок)
10.12.1. Устройства для проведения испытаний
10.12.1.1. Устройство создания нагрузки (например, лебедка, свободный груз и т.п.)
10.12.1.2. Устройство регистрации нагрузки (динамометр).
10.12.1.3. Ремень шириной (100 +/- 1) мм, через который нагрузку прикладывают на проверяемый элемент гимнастического снаряда.
10.12.2. Общие требования по проведению испытаний
Все испытания под нагрузкой выполняют в нормальном рабочем положении оборудования в соответствии со спецификацией изготовителя, если иное не оговорено требованиями данной методики.
10.12.3. Определение устойчивости
10.12.3.1. Проведение испытаний
Горизонтальное усилие 3800 Н прикладывают к середине перекладины, в течение 1 мин +/- 10 с.
10.12.3.2. При проведении испытаний шведских стенок горизонтальное усилие 900 Н прикладывают к середине перекладины в течение 1 мин +/- 10 с.
10.12.3.3. Определение результатов
Отмечают, наблюдался ли наклон или скольжение.
10.12.4. Определение прогиба
10.12.4.1. Проведение испытаний
Перекладину устанавливают на максимальной рабочей высоте. Вертикальное усилие 2000 Н прикладывают к середине перекладины, в течение 1 мин +/- 10 с. Регистрируют прогиб. Снимают усилие. Измеряют остаточный прогиб через (30 +/- 1) мин после снятия усилия. Остаточный прогиб регистрируют.
10.12.4.2. Определение результатов
Прогиб под нагрузкой определяют в миллиметрах. Остаточный прогиб определяют в миллиметрах как прогиб через (30 +/- 1) мин после удаления усилия.
10.12.5. Определение прочности
10.12.5.1. Проведение испытаний
Вертикальное усилие 4750 Н прикладывают к середине перекладины между опорами в течение 1 мин +/- 10 с. Отмечают все изломы, трещины, дефекты снаряда.
10.12.5.2. Определение результатов
Прочность оценивают по наличию или отсутствию изломов и иных повреждений.
10.13. Метод 13. Определение устойчивости гимнастического коня
10.13.1. Общие принципы
Горизонтально направленную силу прикладывают к верхней части оборудования. Регистрируют отклонения в положении оборудования.
10.13.2. Проведение испытаний
10.13.2.1. Оборудование устанавливают на максимальной рабочей высоте. Усилие, составляющее 20% собственной массы оборудования, но не менее 70 Н, прикладывают к верхней части оборудования так, как изображено на
рисунке 13.

- направление приложения усилия для коней
без опорных рукояток;

- направление приложения
усилия для коней с опорными рукоятками
Рисунок 13. Определение устойчивости гимнастического коня
10.13.2.2. Определение результатов
Отмечают, был ли потерян контакт между как минимум одной опорой коня и поверхностью.
10.14. Метод 14. Определение прочности закрепления гимнастических колец
10.14.1. Устройства для проведения испытаний
10.14.1.1. Устройство создания нагрузки (например, лебедка, свободный груз и т.п.).
10.14.1.2. Устройство регистрации нагрузки (динамометр).
10.14.1.3. Ремень шириной (100 +/- 1) мм, через который нагрузку прикладывают на проверяемый элемент гимнастического снаряда.
10.14.2. Прочность закрепления
10.14.2.1. Проведение испытаний
Вертикальное усилие 4530 Н вертикально прикладывают к верхней части оборудования так, как изображено на
рисунке 14.
10.14.2.2. Определение результатов
Прочность закрепления оценивают по отсутствию изломов, нарушений и иных повреждений.
Рисунок 14. Определение прочности закрепления
гимнастических колец
(обязательное)
РАЗМЕТКА ШКАЛЫ ИСПЫТАТЕЛЬНОЙ УСТАНОВКИ
1 - понижение; 2 - горизонталь, проходящая через ось
вращения маятника; 3 - радиус шкалы, 305 мм
Примечания. 1. Понижение - это расстояние между точками, в которых вертикальная линия пересекает радиус шкалы и горизонтальную линию, проложенную через нулевую отметку шкалы.
2. Нулевая отметка шкалы находится на точке радиуса шкалы, вертикально расположенной на 10,2 мм ниже горизонтали, проходящей через ось маятника.
Рисунок А.1. Схема разметки шкалы испытательной установки
Таблица А.1
Разметка шкалы испытательной установки
Значение измерительной шкалы | Понижение, мм | Расстояние до горизонтали, проходящей через ось маятника, мм |
0 | 0,00 | 10,16 |
5 | 7,13 | 17,29 |
10 | 14,26 | 24,42 |
15 | 21,39 | 31,55 |
20 | 28,52 | 38,68 |
25 | 35,65 | 45,81 |
30 | 42,78 | 52,94 |
35 | 49,91 | 60,07 |
40 | 57,04 | 67,20 |
45 | 64,17 | 74,33 |
50 | 71,30 | 81,46 |
55 | 78,43 | 88,59 |
60 | 85,56 | 95,72 |
65 | 92,69 | 102,85 |
70 | 99,82 | 109,98 |
75 | 106,95 | 117,11 |
80 | 114,08 | 124,24 |
85 | 121,21 | 131,37 |
90 | 128,34 | 138,50 |
95 | 135,47 | 145,63 |
100 | 142,60 | 152,76 |
105 | 149,37 | 159,89 |
110 | 156,86 | 167,02 |
115 | 163,99 | 174,15 |
120 | 171,12 | 181,28 |
125 | 178,25 | 188,41 |
130 | 185,38 | 195,54 |
135 | 192,51 | 202,67 |
140 | 199,64 | 209,80 |
145 | 206,77 | 216,93 |
150 | 213,90 | 224,06 |
[1] Федеральный
закон от 04.12.2007 N 329-ФЗ "О физической культуре и спорте в Российской Федерации" с изменениями и дополнениями
[1а] Федеральный
закон от 28 декабря 2013 г. N 412-ФЗ "Об аккредитации в национальной системе аккредитации
(позиция введена
Изменением N 1, утв. Приказом Росстандарта от 25.12.2018 N 1140-ст)
[3] Методические указания
МУК 4.3.2194-07 Контроль уровня шума на территории жилой застройки, в жилых и общественных зданиях и помещениях
[4]
СП 118.13330.2012. Свод правил. Общественные здания и сооружения. Актуализированная редакция СНиП 31-06-2009
(в ред.
Изменения N 1, утв. Приказом Росстандарта от 25.12.2018 N 1140-ст)
[7] Правила проведения соревнований по плаванию FINA, утвержденные Президиумом Всероссийской федерации плавания (в текущей версии)
(в ред.
Изменения N 1, утв. Приказом Росстандарта от 25.12.2018 N 1140-ст)
[8] Свод правил
СП 31-112-2007 Физкультурно-спортивные залы. Часть 3. Крытые ледовые арены
[9] Федерация хоккея России. Официальная книга Правил Международной Федерации хоккея на льду (в текущей версии)
(в ред.
Изменения N 1, утв. Приказом Росстандарта от 25.12.2018 N 1140-ст)
[10] ВСН-1-73 Ведомственные строительные нормы. Нормы электрического освещения спортивных сооружений, утв. приказом Комитета по физической культуре и спорту при Совете Министров СССР 12.10.1973 N 945
[11]
СП 2.1.2.3304-15 Санитарно-эпидемиологические требования к размещению, устройству и содержанию объектов спорта
(в ред.
Изменения N 1, утв. Приказом Росстандарта от 25.12.2018 N 1140-ст)
[12] Федерация лыжных гонок России. Правила соревнований по лыжным гонкам, утвержденные приказом Минспорта России (в текущей версии)
(в ред.
Изменения N 1, утв. Приказом Росстандарта от 25.12.2018 N 1140-ст)
[13] Правила Международных соревнований по фристайлу (ICR). Книга V. Общий регламент по фристайлу, утвержденные Международным конгрессом по лыжному спорту (в текущей версии)
(в ред.
Изменения N 1, утв. Приказом Росстандарта от 25.12.2018 N 1140-ст)
[14] Свод правил
СП 31-115-2006 Открытые плоскостные физкультурно-спортивные сооружения
[15]
ВСН 62-91 Проектирование среды жизнедеятельности с учетом потребностей инвалидов и маломобильных групп населения.