Главная // Актуальные документы // ГОСТ Р (Государственный стандарт)СПРАВКА
Источник публикации
М.: Стандартинформ, 2014
Примечание к документу
Документ
введен в действие с 1 июля 2015 года.
Название документа
"ГОСТ Р 55956-2014. Национальный стандарт Российской Федерации. Уголь активированный. Стандартные методы определения содержания влаги"
(утв. и введен в действие Приказом Росстандарта от 05.03.2014 N 79-ст)
"ГОСТ Р 55956-2014. Национальный стандарт Российской Федерации. Уголь активированный. Стандартные методы определения содержания влаги"
(утв. и введен в действие Приказом Росстандарта от 05.03.2014 N 79-ст)
Утвержден и введен в действие
агентства по техническому
регулированию и метрологии
от 5 марта 2014 г. N 79-ст
НАЦИОНАЛЬНЫЙ СТАНДАРТ РОССИЙСКОЙ ФЕДЕРАЦИИ
УГОЛЬ АКТИВИРОВАННЫЙ
СТАНДАРТНЫЕ МЕТОДЫ ОПРЕДЕЛЕНИЯ СОДЕРЖАНИЯ ВЛАГИ
Activated carbon.
Standard test methods for moisture content
ГОСТ Р 55956-2014
Дата введения
1 июля 2015 года
1. Подготовлен Федеральным государственным бюджетным образовательным учреждением высшего профессионального образования "Московский государственный горный университет" (МГГУ) на основе собственного аутентичного перевода на русский язык стандарта, указанного в
пункте 4.
2. Внесен Техническим комитетом по стандартизации ТК 179 "Твердое минеральное топливо".
3. Утвержден и введен в действие
Приказом Федерального агентства по техническому регулированию и метрологии от 5 марта 2014 г. N 79-ст.
4. Настоящий стандарт является модифицированным по отношению к стандарту АСТМ Д 2867-09 "Стандартный метод определения содержания влаги в активированном угле" (ASTM D 2867-09 "Standard test method for moisture of activated carbon") путем изменения отдельных фраз, слов, которые выделены в тексте курсивом.
5. Введен впервые.
Правила применения настоящего стандарта установлены в ГОСТ Р 1.0-2012
(раздел 8). Информация об изменениях к настоящему стандарту публикуется в ежегодном (по состоянию на 1 января текущего года) информационном указателе "Национальные стандарты", а официальный текст изменений и поправок - в ежемесячном информационном указателе "Национальные стандарты". В случае пересмотра (замены) или отмены настоящего стандарта соответствующее уведомление будет опубликовано в ближайшем выпуске ежемесячного информационного указателя "Национальные стандарты". Соответствующая информация, уведомление и тексты размещаются также в информационной системе общего пользования - на официальном сайте Федерального агентства по техническому регулированию и метрологии в сети Интернет (gost.ru).
Настоящий стандарт устанавливает три метода определения содержания влаги в активированных углях: прямой гравиметрический (метод воздушно-тепловой сушки), экстракционный и термогравиметрический (далее - инструментальный). Эти методы также могут быть использованы для сушки проб, необходимых для других испытаний. Прямой гравиметрический и инструментальный методы используют в тех случаях, когда в процессе сушки наряду с влагой происходит активное удаление летучих компонентов, а также когда активированный уголь термостоек в воздушной среде (некоторые активированные угли могут самовозгораться при температуре ниже 150 °C). Экстракцию ксилолом применяют, если известно или предполагают, что активированный уголь нетермостоек или содержит нерастворимые в воде органические соединения. Прямой гравиметрический метод может быть использован как проверочный при разработке инструментальных способов определения содержания влаги в активированных углях.
Значения, указанные в единицах системы СИ, являются стандартными. Другие единицы измерений не включены в настоящий стандарт.
В настоящем стандарте не предусмотрено рассмотрение всех вопросов обеспечения безопасности, связанных с его применением. Пользователь настоящего стандарта несет ответственность за установление соответствующих правил по технике безопасности и охране здоровья, а также определяет целесообразность применения законодательных ограничений перед его использованием.
В настоящем стандарте использована нормативная ссылка на следующий стандарт:
Примечание. При пользовании настоящим стандартом целесообразно проверить действие ссылочных стандартов в информационной системе общего пользования - на официальном сайте Федерального агентства по техническому регулированию и метрологии в сети Интернет или по ежегодному информационному указателю "Национальные стандарты", который опубликован по состоянию на 1 января текущего года, и по выпускам ежемесячного информационного указателя "Национальные стандарты" за текущий год. Если заменен ссылочный стандарт, на который дана недатированная ссылка, то рекомендуется использовать действующую версию этого стандарта с учетом всех внесенных в данную версию изменений. Если заменен ссылочный стандарт, на который дана датированная ссылка, то рекомендуется использовать версию этого стандарта с указанным выше годом утверждения (принятия). Если после утверждения настоящего стандарта в ссылочный стандарт, на который дана датированная ссылка, внесено изменение, затрагивающее положение, на которое дана ссылка, то это положение рекомендуется применять без учета данного изменения. Если ссылочный стандарт отменен без замены, то положение, в котором дана ссылка на него, рекомендуется применять в части, не затрагивающей эту ссылку.
3.1. Прямой гравиметрический метод - навеску активированного угля помещают в сухой, закрывающийся бюкс (известной массы) и взвешивают вместе с крышкой. Бюкс открывают и помещают в разогретую печь вместе с крышкой. Пробу сушат до постоянной массы, затем достают из печи, закрывают бюкс и охлаждают до температуры окружающей среды. Закрытый бюкс взвешивают. Потерю массы выражают в процентах от массы исходной навески.
3.2. Метод экстракции ксилолом - навеску активированного угля помещают в колбу, туда же добавляют ксилол и соединяют колбу с приемником-ловушкой. Содержимое колбы доводят до кипения; температуру устанавливают такую, чтобы обеспечить постоянный отток жидкости. Отгонку продолжают до тех пор, пока вода не перестанет собираться в приемнике-ловушке. Массу отделенной воды выражают в процентах от массы исходной навески.
3.3. Инструментальный метод - навеску активированного угля помещают во влагомер и измеряют ее массу. Навеску сушат до постоянной массы. Потерю массы выражают в процентах от массы исходной навески.
4. Прямой гравиметрический метод
4.1. Оборудование и материалы
4.1.1. Сушильный шкаф с электронагревом и принудительной вентиляцией, способный поддерживать температуру (150 +/- 5) °C.
4.1.2. Бюксы с крышками стеклянные, низкие с пришлифованной крышкой или металлические, бесшовные с крышкой.
4.1.3. Эксикатор.
4.1.4. Осушитель - безводный хлорид кальция или другой подходящий осушитель.
4.1.5. Весы аналитические с точностью взвешивания не менее 0,2 г.
4.2. Проведение испытания активированных углей крупностью менее 300 мкм
4.2.1. Навеску массой 1 - 2 г помещают в предварительно взвешенный сухой бюкс с крышкой, закрывают его и взвешивают с точностью до 0,5 мг. Глубина слоя угля в бюксе не должна превышать 1,25 см.
4.2.2. Открывают бюкс и помещают его вместе с крышкой в предварительно разогретую печь до (150 +/- 5) °C. Закрывают печь и сушат до постоянной массы (обычно достаточно 3 ч). Открывают печь, быстро накрывают бюкс крышкой. Охлаждают его в эксикаторе до температуры окружающей среды, а затем взвешивают.
4.3. Проведение испытания активированных углей крупностью более 300 мкм
Используют навеску пробы массой 5 - 10 г и взвешивают с точностью до 2 мг. Завершают процедуру определения, как описано в
4.2.
4.4. Обработка результатов
Содержание влаги, %, в активированном угле рассчитывают по следующей формуле

(1)
где C - масса бюкса с крышкой и навеской до испытания, г;
D - масса бюкса с крышкой и навеской после испытания, г;
B - масса бюкса с крышкой, г.
5. Метод экстракции ксилолом
5.1. Оборудование и реагенты
5.1.1. Коническая колба со шлифом вместимостью 300 мл.
5.1.2. Шариковый холодильник со шлифом 300 мм.
5.1.3. Хлоркальциевая (осушительная) трубка, заполненная осушителем со стекловолоконным фильтром.
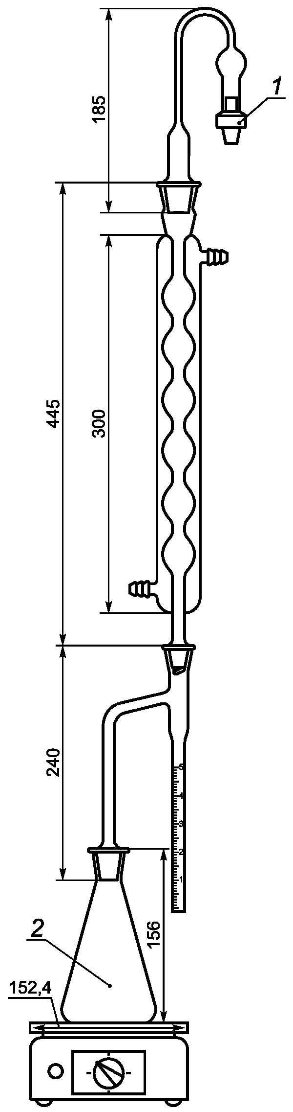
5.1.4. Приемник-ловушка со шлифом - см. рисунок 1.
1 - стекловолоконный фильтр; 2 - коническая колба
со шлифом вместимостью 300 мл
Рисунок 1. Аппарат для определения содержания влаги
Примечание. В качестве приемника-ловушки может быть использован приемник-ловушка Бидуэлла-Стерлинга емкостью 10 мл или насадка Дина-Старка со шлифом.
5.1.5. Электроплита с регулятором нагрева.
5.1.6. Ксилол каменноугольный чистый в соответствии с
ГОСТ 9949.
5.1.7. Весы аналитические с точностью взвешивания не менее 0,1 г.
5.2. Подготовка аппаратуры
Холодильник, колбу и приемник-ловушку тщательно моют и высушивают. Собирают прибор для определения влаги, как показано на
рисунке 1.
5.3. Проведение испытания
5.3.1. Навеску массой 25 - 50 г, взвешенную с точностью до 0,1 г, помещают в дистилляционную колбу. Туда же добавляют 100 мл ксилола. Колбу соединяют через приемник-ловушку с прибором. Для углей плотностью менее 0,30 г/см3 следует использовать навеску массой 25 г, при этом количество ксилола составляет 200 мл.
5.3.2. Содержимое колбы доводят до кипения на электрической плите. Перегонку ведут так, чтобы скорость стекания ксилола с конца трубки холодильника составляла 1 каплю в секунду. Перегонку прекращают, когда объем воды в приемнике-ловушке перестанет увеличиваться и будет постоянным в течение 30 мин (может потребоваться от 2 до 8 ч).
5.4. Обработка результатов
5.4.1. Содержание влаги, %, в активированном угле рассчитывают по следующей формуле

(2)
где V - объем воды, собранной в приемнике-ловушке, мл;
m - масса навески, г.
6. Инструментальный метод
6.1. Оборудование
Влагомер чувствительностью не менее 0,1 мг.
Примечание. Косвенный источник нагрева предпочтителен.
6.2. Проведение испытания активированных углей крупностью менее 300 мкм
6.2.1. Влагомер включают в соответствии с инструкцией производителя. Температура нагрева пробы не должна превышать 150 °C.
6.2.2. Навеску массой 1 - 2 г помещают во влагомер и взвешивают с точностью до 0,1 мг.
6.2.3. Крышку закрывают и включают устройство.
6.2.4. Испытание заканчивают, когда скорость потери влаги станет меньше 1 мг за 30 с. Потерю массы регистрируют с точностью до 0,1%.
6.3. Проведение испытания активированных углей крупностью более 300 мкм
6.3.1. Влагомер включают в соответствии с инструкцией производителя. Температура нагрева пробы не должна превышать 150 °C.
6.3.2. Навеску массой 5 - 10 г помещают во влагомер и взвешивают с точностью до 0,1 мг.
6.3.3. Заканчивают определение в соответствии с
6.2.3,
6.2.4.
6.4. Обработка результатов
Содержание влаги, %, в активированном угле рассчитывают по следующей формуле

(3)
где A - масса навески до нагрева, г;
B - масса навески после нагрева, г.
Межлабораторные испытания трех проб активированных углей были проведены в четырех различных лабораториях. Для испытаний использовали активированные угли номинальным уровнем влажности 1% масс., 5% масс. и 12% масс.
Результаты испытаний приведены в таблице 1.
Таблица 1
Точность внутрилабораторных и межлабораторных испытаний
Номинальная влажность, % масс. | 1 | 5 | 12 |
Прямой гравиметрический метод |
Стандартное отклонение сходимости | 19 | 3 | 6 |
Стандартное отклонение воспроизводимости | 51 | 13 | 10 |
Метод экстракции ксилолом |
Стандартное отклонение сходимости | 51 | 5 | 6 |
Стандартное отклонение воспроизводимости | 54 | 6 | 6 |
При номинальном содержании влаги активированного угля 1% масс. стандартные отклонения сходимости и воспроизводимости результатов имеют

значения. Поэтому в отчете о проведении испытаний рекомендуется указывать значения в этом диапазоне, как: "1% масс. или менее". Если необходима более высокая точность значений, масса навески может быть увеличена (см.
4.2,
4.3,
5.3).
Данные о точности и стандартной ошибке для инструментального метода в настоящее время отсутствуют.