Главная // Актуальные документы // ГОСТ Р (Государственный стандарт)
СПРАВКА
Источник публикации
М.: Стандартинформ, 2016
Примечание к документу
Документ введен в действие с 01.07.2016.

Взамен ГОСТ Р ИСО 7768-2008.
Название документа
"ГОСТ Р ИСО 7768-2015. Национальный стандарт Российской Федерации. Материалы текстильные. Метод оценки гладкости тканей после чистки"
(утв. и введен в действие Приказом Росстандарта от 19.06.2015 N 754-ст)

"ГОСТ Р ИСО 7768-2015. Национальный стандарт Российской Федерации. Материалы текстильные. Метод оценки гладкости тканей после чистки"
(утв. и введен в действие Приказом Росстандарта от 19.06.2015 N 754-ст)


Содержание


Утвержден и введен в действие
Приказом Федерального агентства
по техническому регулированию
и метрологии
от 19 июня 2015 г. N 754-ст
НАЦИОНАЛЬНЫЙ СТАНДАРТ РОССИЙСКОЙ ФЕДЕРАЦИИ
МАТЕРИАЛЫ ТЕКСТИЛЬНЫЕ
МЕТОД ОЦЕНКИ ГЛАДКОСТИ ТКАНЕЙ ПОСЛЕ ЧИСТКИ
Textiles. Test method for assessing the smoothness
appearance of fabrics after cleansing
(ISO 7768:2009, IDT)
ГОСТ Р ИСО 7768-2015
ОКС 59.080.30
Дата введения
1 июля 2016 года
Предисловие
1 ПОДГОТОВЛЕН Техническим комитетом по стандартизации ТК 412 "Текстиль", Открытым акционерным обществом "Всероссийский научно-исследовательский институт сертификации" (ОАО "ВНИИС") на основе собственного аутентичного перевода на русский язык англоязычной версии международного стандарта, указанного в пункте 4
2 ВНЕСЕН Управлением технического регулирования и стандартизации Федерального агентства по техническому регулированию и метрологии
3 УТВЕРЖДЕН И ВВЕДЕН В ДЕЙСТВИЕ Приказом Федерального агентства по техническому регулированию и метрологии от 19 июня 2015 г. N 754-ст
4 Настоящий стандарт идентичен международному стандарту ИСО 7768:2009 "Материалы текстильные. Метод оценки гладкости тканей после чистки" (ISO 7768:2009 "Textiles - Test method for assessing the smoothness appearance of fabrics after cleansing", IDT).
При применении настоящего стандарта рекомендуется использовать вместо ссылочных международных стандартов соответствующие им национальные стандарты Российской Федерации, сведения о которых приведены в дополнительном приложении ДА
5 ВЗАМЕН ГОСТ Р ИСО 7768-2008
Правила применения настоящего стандарта установлены в ГОСТ Р 1.0-2012 (раздел 8). Информация об изменениях к настоящему стандарту публикуется в ежегодном (по состоянию на 1 января текущего года) информационном указателе "Национальные стандарты", а официальный текст изменений и поправок - в ежемесячном информационном указателе "Национальные стандарты". В случае пересмотра (замены) или отмены настоящего стандарта соответствующее уведомление будет опубликовано в ближайшем выпуске ежемесячного информационного указателя "Национальные стандарты". Соответствующая информация, уведомление и тексты размещаются также в информационной системе общего пользования - на официальном сайте Федерального агентства по техническому регулированию и метрологии в сети Интернет (www.gost.ru)
1 Область применения
Настоящий стандарт устанавливает метод оценки способности сохранения первоначального вида гладкости испытуемых тканей после одной или нескольких процедур чистки.
Данный метод первоначально был разработан главным образом для процесса чистки с использованием бытовых стиральных машинах типа B, как установлено в ИСО 6330, но также может быть применен к машинам типа A, как определено в том же самом международном стандарте. Настоящий метод испытания не может быть использован для оценки гладкости тканей после других процессов чистки.
Примечание - Признано, что отпечатки и рисунки маскируют помятости, присутствующие на тканях. Однако это не умаляет представления о гладкости, дающего потребителю возможность выбора способа обращения с тканями, требующими незначительного глажения или вообще не нуждающимися в глажении.
2 Нормативные ссылки
В настоящем стандарте использованы нормативные ссылки на следующие международные стандарты. Для датированных ссылок применяют только указанное издание. Для недатированных ссылок применяют самые последние издания, включая любые изменения и поправки.
ИСО 105-A03:1993 Текстиль. Испытания на устойчивость окраски. Часть A03. Серая шкала для оценки закрашивания (ISO 105-A03:1993 Textiles - Tests for colour fastness - Part A03: Grey scale for assessing staining)
ИСО 139:2005 Изделия текстильные. Стандартные атмосферные условия для проведения кондиционирования и испытаний (ISO 139:2005 Textiles - Standard atmospheres for conditioning and testing)
ИСО 3175 (все части) Текстиль. Профессиональный уход, сухая и влажная чистка текстильных материалов и одежды (ISO 3175 Textiles - Professional care, drycleaning and wetcleaning of fabrics and garments)
ИСО 6330:2012 Текстиль. Методы домашней стирки и сушки, применяемые для испытаний текстиля (ISO 6330:2012 Textiles - Domestic washing and drying procedures for textile testing)
3 Принцип
Образцы тканей подвергают воздействию процедур, имитирующих чистку. По согласованию заинтересованных сторон используют одну из бытовых процедур стирки и сушки, установленных в ИСО 6330, или одну из профессиональных процедур, установленных в серии ИСО 3175.
4 Аппаратура
4.1 Аппаратура для стирки и сушки по ИСО 6330 или аппаратура для профессионального ухода по ИСО 3175.
4.2 Освещение
Помещением для проведения оценки должна быть затемненная комната с осветительным и просмотровым оборудованием, представленным на рисунке 1 и включающим нижеприведенные элементы. Размеры ламп должны быть выбраны такими, чтобы область освещения от них выходила за пределы пространства, занимаемого испытуемым образцом и эталонами, используемыми для оценки.
Примечание - При использовании трехмерных пластмассовых эталонов образец для испытаний помещают в середину, а трехмерные эталоны - с обеих сторон.
1 - эталон; 2 - образец для испытаний; 3 - доска для
просмотра; 4 - пример расположения флуоресцентных ламп
Рисунок 1 - Осветительное оборудование для просмотра
образцов для испытаний
4.2.1 Две флуоресцентные лампы холодного белого цвета, без отражателя или зеркала, длиной не менее 2 м каждая, расположенные параллельно.
4.2.2 Один белый эмалированный рефлектор, без отражателя или зеркала.
4.2.3 Один держатель образца.
4.2.4 Одна толстая фанерная просмотровая доска, окрашенная в серый цвет, соответствующий уровню 2 по серой шкале для оценки окрашивания, установленной в ИСО 105-A03.
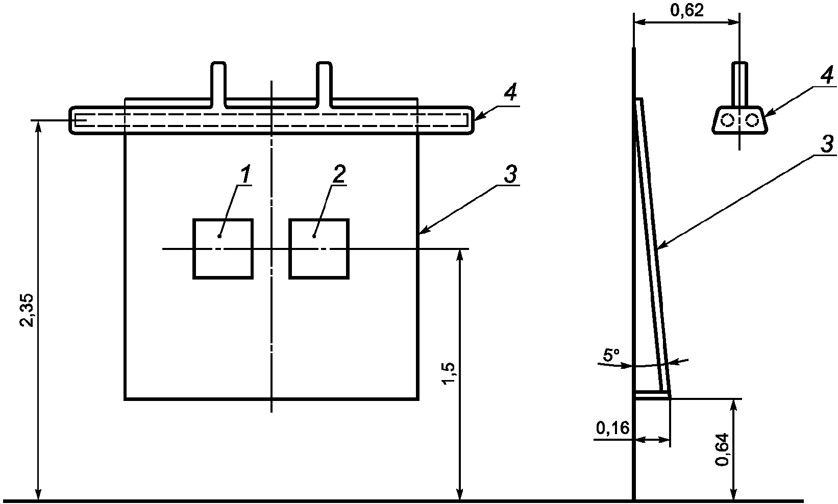
4.3 Трехмерные эталоны гладкости (см. рисунок 2) <1>.
--------------------------------
<1> Эталоны, показанные на рисунке 2, приведены только для иллюстрации. Эти эталоны могут быть приобретены в Техническом центре AATCC, One Davis Drive, P.O. Box 122215, Research Triangle Park, North Carolina 27709-2215, США; тел.: +1 919-549-8141; факс: +1 919-549-8933; http://www.aatcc.org. Эта информация приведена для удобства пользователя и не подразумевает одобрения ИСО упомянутого изделия. Разрешается использовать аналогичные изделия в том случае, если их применение приводит к тем же результатам.
Примечание - Цифровое описание эталонов гладкости приведено в приложении B.
Рисунок 2 - Трехмерные эталоны гладкости
5 Образцы для испытаний
Приготавливают три образца для испытаний размерами 38 x 38 см. Образцы отрезают параллельно направлению длины, обрабатывают зубчиками для предотвращения осыпания кромок и указывают направление длины с помощью соответствующей маркировки.
6 Процедура
6.1 Обрабатывают каждый образец для испытаний в соответствии с одной из процедур чистки, установленных в ИСО 6330 или ИСО 3175, которые определены по договоренности между заинтересованными сторонами.
6.2 Если необходимо, повторяют выбранную обработку четыре раза, чтобы провести в общей сложности пять циклов.
6.3 Кондиционируют образцы для испытаний не менее 4 ч и не более 24 ч в соответствии с ИСО 139, подвешивая каждый длиной в вертикальном направлении, без сгиба, чтобы исключить нежелательное искажение.
6.4 Для проведения оценки осуществляют этапы по 6.4.1 - 6.4.5.
6.4.1 Рейтинг каждого обработанного образца для испытаний независимо оценивают три эксперта.
6.4.2 Помещают испытуемый образец на доску для просмотра (см. 4.2.4), как показано на рисунке 1, располагая по длине в вертикальном направлении. Для упрощения проведения сравнительной оценки с каждой стороны испытуемого образца помещают трехмерные пластмассовые эталоны (см. 4.3).
Верхний флуоресцентный свет (см. 4.2.1) должен быть единственным источником освещения доски для просмотра, для чего все остальные источники света в комнате выключают. На основании опыта многих экспертов можно утверждать, что боковой свет, отраженный от стен, находящихся около доски для просмотра, может влиять на результаты проводимого рейтинга. Для устранения помех, связанных с боковым отражением, рекомендуется окрашивать стены в черный цвет или размещать с каждой стороны просмотровой доски затемняющие шторы.
6.4.3 Эксперт должен стоять непосредственно напротив образца, на расстоянии 1,2 метра от доски для просмотра. При этом было установлено, что стандартная разница в росте экспертов, приводящая к изменению уровня расположения глаз выше или ниже 1,5 м, не оказывает существенного влияния на определение сравнительного рейтинга.
6.4.4 Выбирают номер эталона, который наиболее близко подходит по внешнему виду к испытуемому образцу, или выбирают серединное значение рейтинга между теми целочисленными эталонами, которые не имеют эталонов с половинными значениями, если внешний вид образцов подтверждает это (см. таблицу 1).
Таблица 1
Рейтинги гладкости ткани
Рейтинг
Внешний вид
SA-5
Эквивалентен эталону SA-5
4,5
Промежуточный между эталонами SA-4 и SA-5
SA-4
Эквивалентен эталону SA-4
SA-3,5
Эквивалентен эталону SA-3,5
SA-3
Эквивалентен эталону SA-3
2,5
Промежуточный между эталонами SA-2 и SA-3
SA-2
Эквивалентен эталону SA-2
1,5
Промежуточный между эталонами SA-1 и SA-2
SA-1
Эквивалентен эталону SA-1 или хуже эталона SA-1
Рейтинг SA-5 эквивалентен эталону SA-5 и представляет наиболее гладкий внешний вид и наилучшее сохранение первоначального вида, тогда как рейтинг SA-1 эквивалентен эталону SA-1 и представляет наихудший внешний вид и наихудшее сохранение первоначального вида.
6.4.5 Аналогичным образом эксперт независимо оценивает рейтинг каждого из двух других образцов для испытаний. Другие эксперты проводят эту процедуру таким же образом, оценивая рейтинги независимо.
7 Представление результатов
Усредняют девять наблюдений, сделанных тремя экспертами на наборе из трех образцов для испытаний. Определяют среднее значение с точностью до половины балла.
Примечание - Данные по прецизионности и точности приведены в приложении A. Поскольку изложенная процедура испытаний является субъективной и представлены приблизительные оценки, к полученным данным применяют статистическую обработку на основе частотного распределения.
8 Протокол испытаний
Протокол испытаний должен содержать следующую информацию:
a) ссылку на настоящий стандарт;
b) подробные сведения об исследуемой пробе;
c) подробности использованных процедур чистки;
d) число использованных циклов чистки;
e) рейтинг гладкости ткани, рассчитанный в соответствии с разделом 7 и представленный в соответствии с таблицей 1;
f) подробности любого отклонения от установленной процедуры.
Приложение A
(справочное)
ПРЕЦИЗИОННОСТЬ И СИСТЕМАТИЧЕСКАЯ ПОГРЕШНОСТЬ
A.1 Предварительные испытания
Испытания были проведены в США в 1980 г. в восьми лабораториях, оценивающих четыре ткани. Было установлено, что дисперсионный анализ не применим к этим данным, поскольку их распределение не было нормальным, вследствие чего шкала рейтинга эталонов была ограниченной и прерывистой. Данные были проанализированы путем расчета предполагаемых результатов лабораторных испытаний из распределения рейтингов отдельных образцов.
Из этих данных было определено, что отдельные эксперты установили рейтинги трех образцов со следующей частотой:
- три образца к одному и тому же эталону . . . . . . . . . . . . . . . . . . . . . . . . .
0,55;
- два образца к одному и тому же эталону и один к другому . . . . . . . . . .
0,40;
- три образца различаются . . . . . . . . . . . . . . . . . . . . . . . . . . . . . . . . . . . . . .
0,05.
Только в редких случаях различия в рейтинге образца переходили за следующий шаг эталона. Это указывает на высокую степень повторяемости в экспертных оценках.
Из распределения рейтингов, произведенных экспертами, было рассчитано распределение результатов лабораторных испытаний для каждого уровня эталона, включая половинные рейтинги. Была улучшена прецизионность по всем эталонам SA.
Из частотного распределения результатов лабораторных испытаний были проведены расчеты критического различия D между двумя уровнями лабораторных испытаний. С лабораториями на одном и том же уровне:
Критическое различие
Доверительный уровень
D > 0,17
P >= 0,95
D >= 0,25
P >= 0,99
Когда две или более лаборатории хотят сравнить результаты испытаний, рекомендуется, чтобы до начала сравнительных испытаний между ними были установлены лабораторные уровни. Для этой цели могут быть использованы ткани известного происхождения и схожих характеристик.
Различия между результатами лабораторных испытаний (на одной и той же ткани, в тех же самых условиях стирки и сушки), равные или превышающие четверть единицы эталона, являются статистически значимыми при P более 0,99. Различие такой величины или более предполагает различие лабораторных уровней и указывает на необходимость сравнения лабораторных уровней.
Правильное значение гладкости ткани после повторных домашних стирок может быть определено только в условиях метода испытаний. Не существует независимого метода для определения правильного значения. Для настоящего испытания не известна систематическая погрешность.
Приложение B
(справочное)
ЦИФРОВОЕ ОПИСАНИЕ ЭТАЛОНОВ ГЛАДКОСТИ ИСО
B.1 Введение
Настоящее приложение дает цифровое описание трехмерных (3-D) эталонов. Эти данные не предназначены для использования при оценке образцов для испытаний. Когда оцениваются образцы для испытаний, необходимо использовать 3-D эталоны.
B.2 Процессы измерения и анализа
B.2.1 Для измерения цифровых изображений эталонов гладкости ИСО была использована трехмерная сканирующая система, изображенная на рисунке B.1. Требования к сканирующей системе приведены в таблице B.1.
Рисунок B.1 - Трехмерная сканирующая система
Таблица B.1
Требования к трехмерной сканирующей системе
Камера
1024 x 768 пикселей, черно-белая (B/W)
Специальный шаблон
Структурированный пучок, создаваемый галогенной лампой
Настройка фокуса
Использование координатного лазера в качестве источника света
Время измерений
Приблизительно от 70 до 80 с
Разрешение
+/- 0,05 мм
B.2.2 Область измерений показана на рисунке B.2.
1 - линии измерения
Рисунок B.2 - Область измерений эталона гладкости
B.2.3 Трехмерные измеряемые изображения записывают по отдельности как шесть участков, которые должны быть специально разделены для анализа. См. рисунок B.3.
--------------------------------
<a> Шесть областей.
1 - измеряемая область и число участков
Рисунок B.3 - Шесть участков для анализа эталонов гладкости
B.2.4 Геометрическую форму каждого стандартного эталона измеряют с использованием трехмерной лазерной сканирующей системы с интервалом 0,375 мм. Число точек измерения вдоль каждой линии определяется этими интервалами.
Чтобы проанализировать эталоны, определяют шесть параметров формы, которые оказывают влияние на класс эталона. Эти параметры являются средними значениями высот, максимальными значениями высот, разбросом высот, средними значениями частоты высот, максимальными значениями частоты высот и разбросом частоты высот. Для каждого участка могут быть получены шесть параметров.
B.3 Анализ гладкости с интервалами измерений 0,375 мм
B.3.1 Измеренные изображения эталонов гладкости
a) Класс 1
b) Класс 2
c) Класс 3
d) Класс 3,5
e) Класс 4
f) Класс 5
Рисунок B.4 - Измеренные изображения эталонов гладкости
B.3.2 Анализ параметров
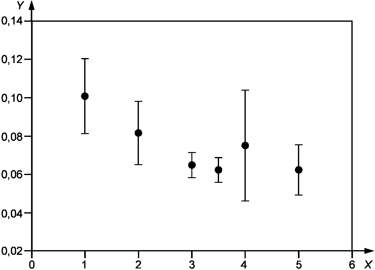
B.3.2.1 Среднее значение высоты (hmean)
На рисунке B.5 показано соотношение между классом эталона гладкости и средним значением высоты. Для подтверждения различий в этом параметре между классами были применены метод дисперсионного анализа (ANOVA) и метод Тьюки (Tukey).
X - класс эталона гладкости; Y - среднее значение высоты
Рисунок B.5 - Соотношение между классом
и средним значением высоты
По результатам анализа ANOVA различие в классах подтверждается на доверительном уровне 95%. Результаты, полученные методом Тьюки, показали отсутствие существенных различий между классами 1 и 3; между классами 2 и 3; между классами 2 и 3,5; между классами 2 и 4; между классами 3 и 3,5; между классами 3,5 и 4 и между классами 4 и 5.
Для подтверждения линейного соотношения между классами эталонов и средним значением высоты был проведен простой регрессионный анализ. По результатам этого анализа коэффициент детерминации (R-squared value) составляет 65,30%, как показано в таблице B.2.
Таблица B.2
Результаты простого регрессионного анализа
среднего значения высоты
Регрессионное уравнение
Класс = 5,81 - 3,15 hmean
R2
65,30%
B.3.2.2 Максимальное значение высоты (hmax)
На рисунке B.6 показано соотношение между классом эталона гладкости и максимальным значением высоты. Для подтверждения различий в этом параметре между классами были применены испытание ANOVA и метод Тьюки (Tukey).
X - класс эталона гладкости; Y - максимальное значение
высоты
Рисунок B.6 - Соотношение между классом и максимальным
значением высоты
По результатам анализа ANOVA различие в классах подтверждается на доверительном уровне 95%. Результаты, полученные методом Тьюки, показали отсутствие существенных различий между классами 1 и 2; между классами 1 и 3; между классами 1 и 3,5; между классами 2 и 3,5; между классами 2 и 4; между классами 3,5 и 4 и между классами 4 и 5.
Для подтверждения линейного соотношения между классами эталонов и максимальным значением высоты был проведен простой регрессионный анализ. По результатам этого анализа коэффициент детерминации (R-squared value) составляет 47,50%, как показано в таблице B.3.
Таблица B.3
Результаты простого регрессионного анализа максимального
значения высоты
Регрессионное уравнение
Класс = 5,61 - 1,40 hmax
R2
47,50%
B.3.2.3 Разброс высоты (hvar)
На рисунке B.7 показано соотношение между классом эталона гладкости и разбросом высоты. Для подтверждения различий в этом параметре между классами были применены испытание ANOVA и метод Тьюки (Tukey).
X - класс эталона гладкости; Y - разброс высоты
Рисунок B.7 - Соотношение между классом и разбросом высоты
Наряду с тем, что по результатам испытания ANOVA различие в классах было подтверждено на доверительном уровне 95%, класс 1, класс 2, класс 3,5; класс 4 и класс 5 не были четко классифицированы способом, сравнимым с методом Тьюки.
Для подтверждения линейного соотношения между классами эталонов и значением разброса высоты был проведен простой регрессионный анализ. По результатам этого анализа коэффициент детерминации (R-squared value) составляет 21,50%, как показано в таблице B.4.
Таблица B.4
Результаты простого регрессионного анализа разброса высоты
Регрессионное уравнение
Класс = 3,95 - 7,75 hvar
R2
21,50%
B.3.2.4 Среднее значение частоты высоты (dhmean)
На рисунке B.8 показано соотношение между классом гладкости и средним значением частоты высоты. Для подтверждения различий в среднем значении частоты высоты между классами были применены метод дисперсионного анализа (ANOVA) и метод Тьюки (Tukey). По результатам анализа ANOVA различие в классах подтверждается на доверительном уровне 95%. Результаты, полученные методом Тьюки, показали отсутствие существенных различий между классами 2 и 3 и между классом 3; классом 3,5; классом 4 и классом 5.
X - класс эталона гладкости; Y - среднее значение частоты
высоты
Рисунок B.8 - Соотношение между классом и средним значением
частоты высоты
Для подтверждения линейного соотношения между классами эталонов и средним значением высоты был проведен простой регрессионный анализ. По результатам этого анализа коэффициент детерминации (R-squared value) составляет 76,10%, как показано в таблице B.5.
Таблица B.5
Результаты простого регрессионного анализа среднего значения
частоты высоты
Регрессионное уравнение
Класс = 7,72 - 356 dhmean
R2
76,10%
B.3.2.5 Максимальное значение частоты высоты (dhmax)
На рисунке B.9 показано соотношение между классом гладкости и максимальным значением частоты высоты. Для подтверждения различий в максимальном значении частоты высоты между классами были применены метод дисперсионного анализа (ANOVA) и метод Тьюки (Tukey). По результатам испытаний ANOVA различие в классах подтверждается на доверительном уровне 95%. По результатам, полученным методом Тьюки, на 95%-ном доверительном уровне были подтверждены различия между классом 1 и классом 3; между классом 1 и классом 3,5; между классом 1 и классом 5.
X - класс эталона гладкости; Y - максимальное значение
частоты высоты
Рисунок B.9 - Соотношение между классом и максимальным
значением частоты высоты
Для подтверждения линейного соотношения между классами эталонов и максимальным значением высоты был проведен простой регрессионный анализ. По результатам этого анализа коэффициент детерминации (R-squared value) составляет 34,40%, как показано в таблице B.6.
Таблица B.6
Результаты простого регрессионного анализа максимального
значения частоты высоты
Регрессионное уравнение
Класс = 5,67 - 34,7 dhmax
R2
30,40%
B.3.2.6 Разброс частоты высоты (dhvar)
Значение разброса частоты высоты для всех классов почти равно "нулю". Поэтому соотношение этого параметра и классов не может быть установлено.
B.3.3 Множественный регрессионный анализ
Был проведен множественный регрессионный анализ с пятью указанными выше параметрами для получения объективного уравнения установления рейтинга гладкости образца. Эти результаты приведены в таблице B.7. Коэффициент детерминации (R-squared value) равен 85,30%, что свидетельствует о том, что это регрессионное уравнение достоверно на 95%-ном доверительном уровне. Используя это регрессионное уравнение, были сравнены субъективные и объективные классы. Для проверки и сравнения этого уравнения был проведен корреляционный анализ. В таблице B.8 приведен корреляционный коэффициент между объективными и субъективными классами. На рисунке B.10 показано соотношение между субъективным классом и объективным классом гладкости, полученное из регрессионного уравнения.
Таблица B.7
Результаты множественного регрессионного анализа
Множественное регрессионное уравнение, R2
85,30%
Таблица B.8
Результат корреляционного анализа
Корреляционный коэффициент
0,924
X - субъективный класс эталона гладкости; Y - объективный
класс, определенный с использованием множественного
регрессионного уравнения
Рисунок B.10 - Соотношение между субъективным и объективным
оцененным классом
B.4 Заключение
Из изображений эталонов были определены шесть параметров распределения высоты и частоты, которые затем были подвергнуты статистическому анализу. Результаты испытаний ANOVA подтвердили, что эти параметры имеют связь с классами эталонов, близкую к линейной. Из этих параметров были получены множественные регрессионные уравнения. Результаты, полученные из этих параметров, в совокупности показывают строгую линейную зависимость между классами эталонов и параметрами.
Множественное регрессионное уравнение было использовано с теми же самыми параметрами для получения объективных классов гладкости. Была подтверждена высокая корреляция между объективными и субъективными классами гладкости образцов. Это окончательно подтвердило, что существующие эталоны гладкости ИСО пригодны для субъективной оценки рейтинга.
Приложение ДА
(справочное)
СВЕДЕНИЯ О СООТВЕТСТВИИ ССЫЛОЧНЫХ МЕЖДУНАРОДНЫХ СТАНДАРТОВ
НАЦИОНАЛЬНЫМ СТАНДАРТАМ РОССИЙСКОЙ ФЕДЕРАЦИИ
Таблица ДА.1
Обозначение ссылочного международного стандарта
Степень соответствия
Обозначение и наименование национального стандарта
ИС МЕГАНОРМ: примечание.
ГОСТ Р ИСО 105-A03-99 утратил силу с 01.07.2015 в связи с введением в действие ГОСТ ISO 105-A03-2014 (Приказ Росстандарта от 22.08.2014 N 967-ст).
ИСО 105-A03:1993
IDT
ГОСТ Р ИСО 105-A03-99 "Материалы текстильные. Определение устойчивости окраски. Часть A03. Серая шкала для оценки степени закрашивания"
ИСО 139:2005
IDT
ГОСТ Р ИСО 139-2007 "Изделия текстильные. Стандартные атмосферные условия для кондиционирования и проведения испытаний"
ИСО 3175-1:2010
IDT
ГОСТ Р ИСО 3175-1-2011 "Материалы текстильные. Профессиональный уход, сухая и мокрая чистка тканей и одежды. Часть 1. Оценка состояния после чистки и заключительной обработки"
ИСО 3175-2:2010
IDT
ГОСТ Р ИСО 3175-2-2011 "Материалы текстильные. Профессиональный уход, сухая и мокрая чистка тканей и одежды. Часть 2. Метод проведения испытаний при чистке и заключительной обработке с использованием тетрахлорэтилена"
ИСО 3175-3:2003
IDT
ГОСТ Р ИСО 3175-3-2010 "Материалы текстильные. Профессиональный уход, сухая и мокрая чистка тканей и одежды. Часть 3. Метод проведения испытаний при чистке и заключительной обработке с применением углеводородных растворителей"
ИСО 3175-4:2003
IDT
ГОСТ Р ИСО 3175-4-2011 "Материалы текстильные. Профессиональный уход, сухая и мокрая чистка тканей и одежды. Часть 4. Метод проведения испытаний при чистке и заключительной обработке с использованием моделируемой мокрой чистки"
ИСО 3175-4:2003/Cor.1:2009
-
<*>
ИСО 6330:2012
-
<*>
<*> Соответствующий национальный стандарт отсутствует.
Примечание - В настоящей таблице использовано следующее условное обозначение степени соответствия стандартов:
- IDT - идентичные стандарты.