Главная // Актуальные документы // ГОСТ Р (Государственный стандарт)
СПРАВКА
Источник публикации
М.: Стандартинформ, 2016
Примечание к документу
Документ введен в действие с 1 октября 2016 года.
Название документа
"ГОСТ Р ИСО 10303-61-2015. Национальный стандарт Российской Федерации. Системы автоматизации производства и их интеграция. Представление данных об изделии и обмен этими данными. Часть 61. Интегрированный обобщенный ресурс. Представление системотехнических данных"
(утв. и введен в действие Приказом Росстандарта от 21.07.2015 N 932-ст)

"ГОСТ Р ИСО 10303-61-2015. Национальный стандарт Российской Федерации. Системы автоматизации производства и их интеграция. Представление данных об изделии и обмен этими данными. Часть 61. Интегрированный обобщенный ресурс. Представление системотехнических данных"
(утв. и введен в действие Приказом Росстандарта от 21.07.2015 N 932-ст)


Содержание


Утвержден и введен в действие
Приказом Федерального
агентства по техническому
регулированию и метрологии
от 21 июля 2015 г. N 932-ст
НАЦИОНАЛЬНЫЙ СТАНДАРТ РОССИЙСКОЙ ФЕДЕРАЦИИ
СИСТЕМЫ АВТОМАТИЗАЦИИ ПРОИЗВОДСТВА И ИХ ИНТЕГРАЦИЯ
ПРЕДСТАВЛЕНИЕ ДАННЫХ ОБ ИЗДЕЛИИ И ОБМЕН ЭТИМИ ДАННЫМИ
ЧАСТЬ 61
ИНТЕГРИРОВАННЫЙ ОБОБЩЕННЫЙ РЕСУРС.
ПРЕДСТАВЛЕНИЕ СИСТЕМОТЕХНИЧЕСКИХ ДАННЫХ
Industrial automation systems and integration. Product data
representation and exchange. Part 61. Integrated generic
resource. Systems engineering representation
ISO 10303-61:2011
Industrial automation systems and integration - Product data
representation and exchange - Part 61: Integrated generic
resource: Systems engineering representation
(IDT)
ГОСТ Р ИСО 10303-61-2015
ОКС 25.040.40
Дата введения
1 октября 2016 года
Предисловие
1 ПОДГОТОВЛЕН Федеральным бюджетным учреждением "Консультационно-внедренческая фирма в области международной стандартизации и сертификации "Фирма "ИНТЕРСТАНДАРТ" на основе собственного перевода на русский язык англоязычной версии международного стандарта, указанного в пункте 4
2 ВНЕСЕН Техническим комитетом по стандартизации ТК 459 "Информационная поддержка жизненного цикла изделий"
3 УТВЕРЖДЕН И ВВЕДЕН В ДЕЙСТВИЕ Приказом Федерального агентства по техническому регулированию и метрологии от 21 июля 2015 г. N 932-ст
4 Настоящий стандарт идентичен международному стандарту ИСО 10303-61:2011 "Системы автоматизации производства и их интеграция. Представление данных об изделии и обмен этими данными. Часть 61. Интегрированный обобщенный ресурс: Представление системотехнических данных" (ISO 10303-61:2011 "Industrial automation systems and integration - Product data representation and exchange - Part 61: Integrated generic resource: Systems engineering representation").
При применении настоящего стандарта рекомендуется использовать вместо ссылочных международных стандартов соответствующие им национальные стандарты Российской Федерации, сведения о которых приведены в дополнительном приложении ДА
5 ВВЕДЕН ВПЕРВЫЕ
Правила применения настоящего стандарта установлены в ГОСТ Р 1.0-2012 (раздел 8). Информация об изменениях к настоящему стандарту публикуется в ежегодном (по состоянию на 1 января текущего года) информационном указателе "Национальные стандарты", а официальный текст изменений и поправок - в ежемесячном информационном указателе "Национальные стандарты". В случае пересмотра (замены) или отмены настоящего стандарта соответствующее уведомление будет опубликовано в ближайшем выпуске ежемесячного информационного указателя "Национальные стандарты". Соответствующая информация, уведомление и тексты размещаются также в информационной системе общего пользования - на официальном сайте Федерального агентства по техническому регулированию и метрологии в сети Интернет (www.gost.ru)
Введение
Стандарты комплекса ИСО 10303 распространяются на компьютерное представление информации об изделиях и обмен данными об изделиях. Их целью является обеспечение нейтрального механизма, способного описывать изделия на всем протяжении их жизненного цикла. Этот механизм применим не только для обмена файлами в нейтральном формате, но является также основой для реализации и совместного доступа к базам данных об изделиях и организации архивирования.
Настоящий стандарт относится к серии интегрированных ресурсов.
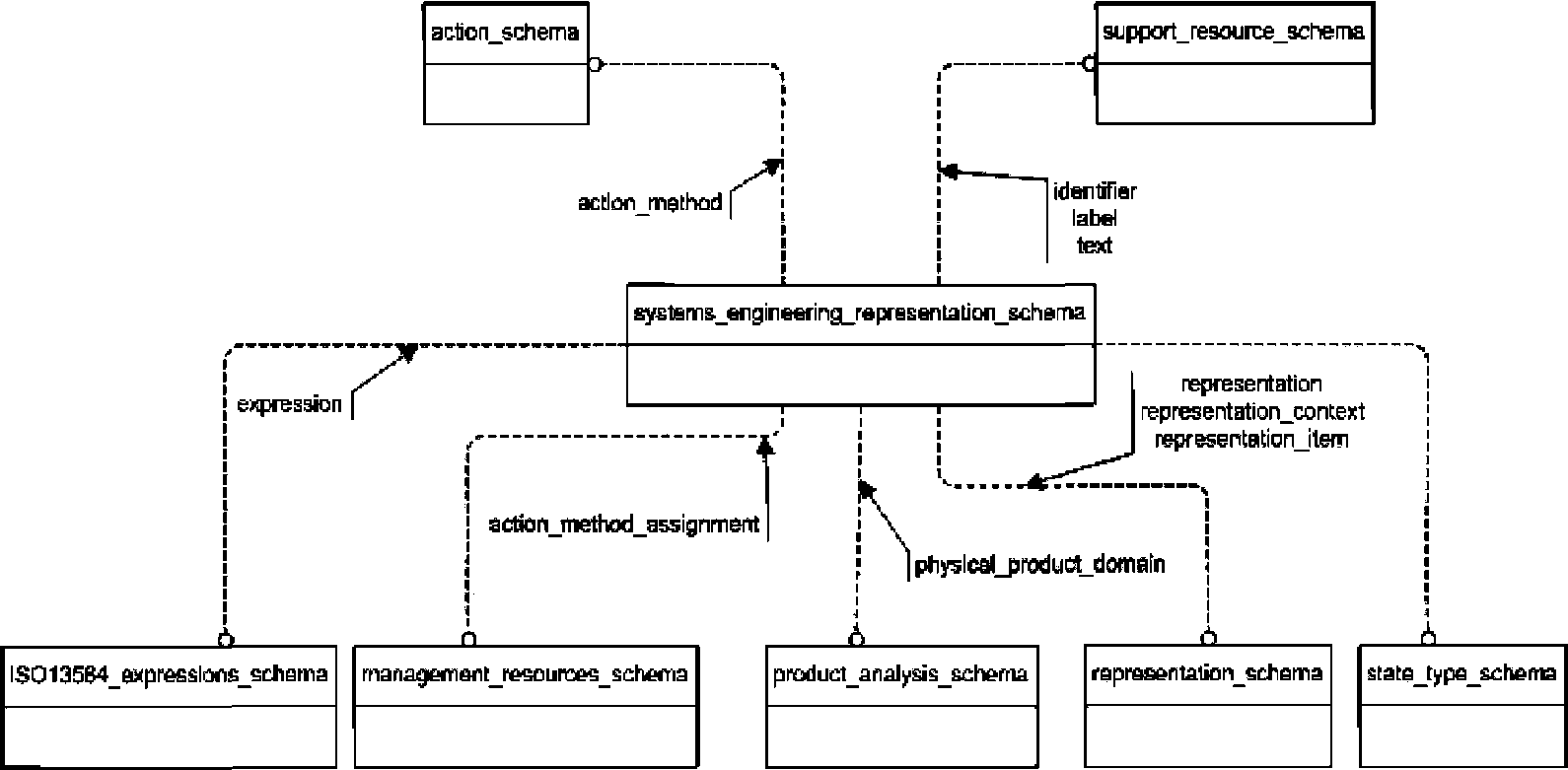
В настоящем стандарте специфицирована схема systems_engineering_representation_schema.
В схеме systems_engineering_representation_schema обозначены концепции представления, требуемые для дисциплины "Системотехника".
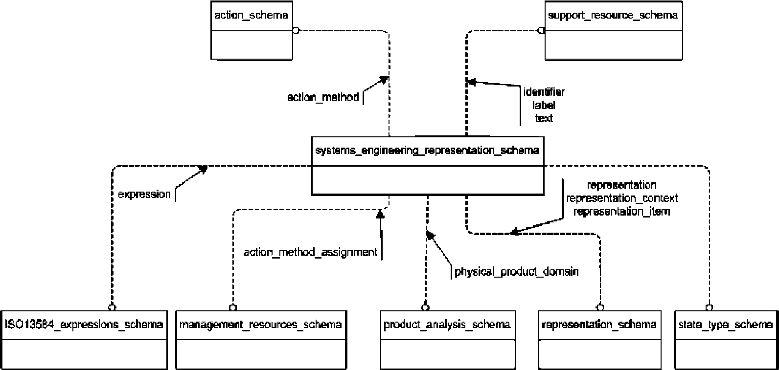
Отношения между данными схемами, определенными в настоящем стандарте, и другими схемами, определения которых даны в интегрированных ресурсах комплекса ИСО 10303, показаны на рисунке 1 с использованием графической нотации EXPRESS-G. Определение EXPRESS-G содержится в ИСО 10303-11.
Следующие схемы, показанные на рисунке 1, представлены в следующих документах:
action_schema находится в ИСО 10303-41;
ISO13584_expressions_schema находится в ИСО 13584-20;
management_resources_schema находится в ИСО 10303-41;
product_analysis_schema находится в ИСО 10303-53;
representation_schema находится в ИСО 10303-43;
state_type_schema находится в ИСО 10303-56;
support_resource_schema находится в ИСО 10303-41.
Схемы, показанные на рисунке 1, относятся к интегрированным ресурсам.
Рисунок 1 - Соотношение схем
1 Область применения
В настоящем стандарте специфицированы конструкции интегрированных обобщенных ресурсов для представления системотехнических данных. В область применения настоящего стандарта входит:
определение концепций представления поведения, основанных на состояниях;
определение концепций представления поведения, основанных на функциях;
определение концепций представления, основанных на текстовом описании.
В область применения настоящего стандарта не входит:
концепции, не связанные с представлением.
2 Нормативные ссылки
В настоящем стандарте использованы нормативные ссылки на следующие международные стандарты и документы (для датированных ссылок следует использовать указанное издание, для недатированных ссылок - последнее издание указанного документа, включая все поправки к нему):
ИСО 10303-1:1994 Системы автоматизации производства и их интеграция. Представление данных об изделии и обмен этими данными. Часть 1. Общие представления и основополагающие принципы (ISO 10303-1:1994, Industrial automation systems and integration - Product data representation and exchange - Part 1: Overview and fundamental principles)
ИСО 10303-41:2005 Системы автоматизации производства и их интеграция. Представление данных об изделии и обмен этими данными. Часть 41. Интегрированный обобщенный ресурс. Основы описания и поддержки изделий (ISO 10303-41:2005, Industrial automation systems and integration - Product data representation and exchange - Part 41: Integrated generic resource: Fundamentals of product description and support)
ИСО 10303-43 Системы промышленной автоматизации и интеграция. Представление данных о продукции и обмен данными. Часть 43. Интегрированные обобщенные ресурсы. Структуры представления (ISO 10303-43, Industrial automation systems and integration - Product data representation and exchange - Part 43: Integrated generic resource: Representation structures)
ИСО 10303-53 Системы промышленной автоматизации и интеграция. Представление данных о продукции и обмен данными. Часть 53. Интегрированные обобщенные ресурсы. Численный анализ (ISO 10303-53, Industrial automation systems and integration - Product data representation and exchange - Part 53: Integrated generic resources: Numerical analysis)
ИСО 10303-56 Системы промышленной автоматизации и интеграция. Представление данных о продукции и обмен данными. Часть 56. Интегрированные обобщенные ресурсы. Состояние (ISO 10303-56, Industrial automation systems and integration - Product data representation and exchange - Part 56: Integrated generic resource: State)
ИСО 13584-20 Системы промышленной автоматизации и интеграция. Библиотека составных частей изделия. Часть 20. Логические ресурсы. Логическая модель выражений (ISO 13584-20, Industrial automation systems and integration - Parts library - Part 20: Logical resource: Logical model of expressions)
3 Термины и сокращения
3.1 Термин, определенный в ИСО 10303-1
В настоящем стандарте применен следующий термин:
- интегрированный ресурс (integrated resource).
3.2 Сокращение
В настоящем стандарте применено следующее сокращение:
URL - унифицированный указатель информационного ресурса.
4 Схема Systems engineering representation (представление системотехнических данных)
В настоящем подразделе с применением языка EXPRESS дано определение информационных требований, которым должны соответствовать программные реализации. Ниже представлен фрагмент EXPRESS-декларации, с которой начинается описание схемы state_type_schema. В нем определены необходимые внешние ссылки.
EXPRESS-спецификация:
*)
SCHEMA systems_engineering_representation_schema;
REFERENCE FROM action_schema -- ISO 10303-41
(action method);
REFERENCE FROM ISO13584_expressions_schema -- ISO 13584-20
(expression);
REFERENCE FROM management_resources_schema -- ISO 10303-41
(action_method_assignment);
REFERENCE FROM product_analysis_schema -- ISO 10303-53
(physical_product_domain);
REFERENCE FROM representation_schema -- ISO 10303-43
(representation,
representation_context,
representation_item);
REFERENCE FROM state_type_schema; -- ISO 10303-56
REFERENCE FROM support_resource_schema -- ISO 10303-41
(identifier,
label,
text); (*
Примечания
1 Схемы, ссылки на которые приведены выше, определены в следующих документах комплекса ИСО 10303:
action_schema - ИСО 10303-41;
ISO13584_expressions_schema - ИСО 10303-20;
management_resources_schema - ИСО 10303-41;
product_analysis_schema - ИСО 10303-53;
representation_schema - ИСО 10303-43;
state_type_schema - ИСО 10303-56;
support_resource_schema - ИСО 10303-41.
2 Графическое представление этих схем приведено в приложении D.
4.1 Общие положения
В схеме systems_engineering_representation_schema представлены концепции предметной области системотехники, используемые и создаваемые в работах, относящихся к этой предметной области.
4.2 Основополагающие концепции и предположения
В предметной области системотехники существует потребность в сложных представлениях. В настоящем стандарте расширяются содержащиеся в других частях комплекса ИСО 10303 простые механизмы представления с тем, чтобы дать возможность использовать как представления или как части представлений те элементы, которые не являются непосредственными подтипами представления.
4.3 Определения типов данных схемы systems_engineering_representation_schema
4.3.1 Тип данных analysis_model_idealisation_item
Тип данных analysis_model_idealisation_item является расширяемым списком альтернативных типов данных. Настоящий тип данных предоставляет механизм для ссылки на экземпляры типов данных, включенных в список выбора типа данных analysis_model_idealisation_item или его расширения.
Примечание - Список объектных типов данных будет расширяться в прикладных ресурсах, использующих конструкции настоящего ресурса.
EXPRESS-спецификация:
*)
TYPE analysis_model_idealisation_item = EXTENSIBLE GENERIC_ENTITY SELECT
(physical_product_domain);
END_TYPE;
(*
4.3.2 Тип данных expression_element
Тип данных expression_element является списком альтернативных типов данных. Настоящий тип данных предоставляет механизм для ссылки на экземпляры типов данных, включенных в список выбора.
EXPRESS-спецификация:
*)
TYPE expression_element = SELECT
(expression);
END_TYPE;
(*
4.3.3 Тип данных representation_proxy_select
Тип данных representation_proxy_select является расширяемым списком альтернативных типов данных. Настоящий тип данных предоставляет механизм для ссылки на экземпляры типов данных, включенных в список выбора типов данных, являющихся расширениями настоящего типа данных.
Примечание - Для того чтобы обеспечить уверенность в том, что для объектов, ссылающихся на пустой расширяемый выбираемый (SELECT) тип данных, существует хотя бы один тип разрешенных экземпляров, в схемах, использующих этот тип данных, требуется его расширение.
EXPRESS-спецификация:
*)
TYPE representation_proxy_select = EXTENSIBLE GENERIC_ENTITY SELECT;
END_TYPE;
(*
4.3.4 Тип данных se_representation_proxy_select
Тип данных se_representation_proxy_select является расширением типа данных representation_proxy_select. В настоящем типе данных к списку альтернативных типов данных добавлены типы данных action_method, state_type и state_type_relationship.
EXPRESS-спецификация:
*)
TYPE se_representation_proxy_select = SELECT BASED_ON representation_proxy_select
WITH
(action_method,
state_type,
state_type_relationship);
END_TYPE;
(*
4.3.5 Тип данных state_based_behaviour_element
Тип данных state_based_behaviour_element является списком альтернативных типов данных. Настоящий тип данных предоставляет механизм для ссылки на экземпляры типов данных, включенных в список выбора.
EXPRESS-спецификация:
*)
TYPE state_based_behaviour_element = SELECT
(state_type,
state_type_relationship);
END_TYPE;
(*
4.4 Определения объектов схемы systems_engineering_representation_schema
4.4.1 Объект action_method_assignment_relationship
Объект action_method_assignment_relationship представляет связь между двумя объектами action_method_assignment, задающими способ выполнения действия.
EXPRESS-спецификация:
*)
ENTITY action_method_assignment_relationship;
relating_assignment : action_method_assignment;
related_assignment : action_method_assignment;
END_ENTITY;
(*
Определение атрибутов:
relating_assignment - связывающее задание способа выполнения действия;
related_assignment - связываемое задание способа выполнения действия.
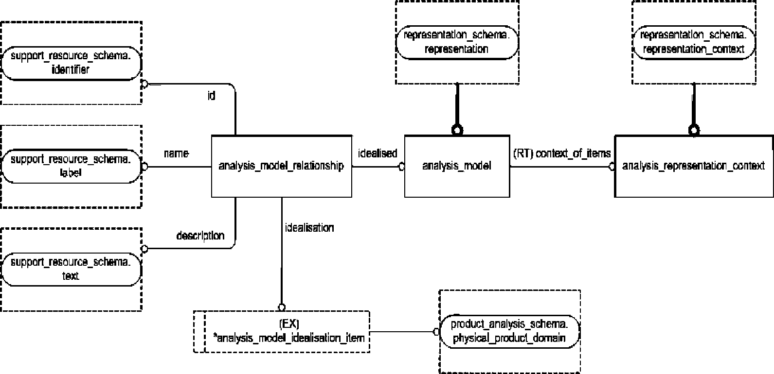
4.4.2 Объект analysis_model
Объект analysis_model является таким подтипом объекта representation, который используется для представления расчетных данных.
EXPRESS-спецификация:
*)
ENTITY analysis_model
SUBTYPE OF (representation);
SELF\representation.context_of_items : analysis_representation_context;
END_ENTITY;
(*
Определение атрибута:
context_of_items - контекст представления расчетной модели.
4.4.3 Объект analysis_model_relationship
Объект analysis_model_relationship представляет отношение, задающее то, что расчетная модель, представленная объектом analysis_model, была идеализирована посредством некоторого объекта, представленного экземпляром данных одного из типов, входящих в список выбора типа данных analysis_model_idealisation_item.
EXPRESS-спецификация:
*)
ENTITY analysis_model_relationship;
id : identifier;
name : label;
description : text;
idealised : analysis_model;
idealisation : analysis_model_idealisation_item;
(*
Определение атрибутов:
id - обозначение отношения;
name - слова, которыми называется отношение;
description - текст, предоставляющий дополнительную информацию об отношении;
idealised - объект analysis_model, представляющий расчетную модель, которая была идеализирована;
idealisation - объект, входящий в список выбора типа данных analysis_model_idealisation_item, обеспечивающий идеализацию модели.
4.4.4 Объект analysis_representation_context
Объект analysis_representation_context является подтипом объекта representation_context, используемым в определении расчетной модели.
EXPRESS-спецификация:
*)
ENTITY analysis_representation_context
SUBTYPE OF (representation_context);
END_ENTITY;
(*
4.4.5 Объект description_text
Объект description_text представляет набор слов, описывающих что-либо.
EXPRESS-спецификация:
*)
ENTITY description_text;
description : text;
END_ENTITY;
(*
Определение атрибута:
description - текст, образующий описание.
4.4.6 Объект description_text_assignment
Объект description_text_assignment представляет задание чему-либо описания.
EXPRESS-спецификация:
*)
ENTITY description_text_assignment
ABSTRACT SUPERTYPE ;
description : description_text;
END_ENTITY;
(*
Определение атрибута:
description - объект description_text, содержащий описание.
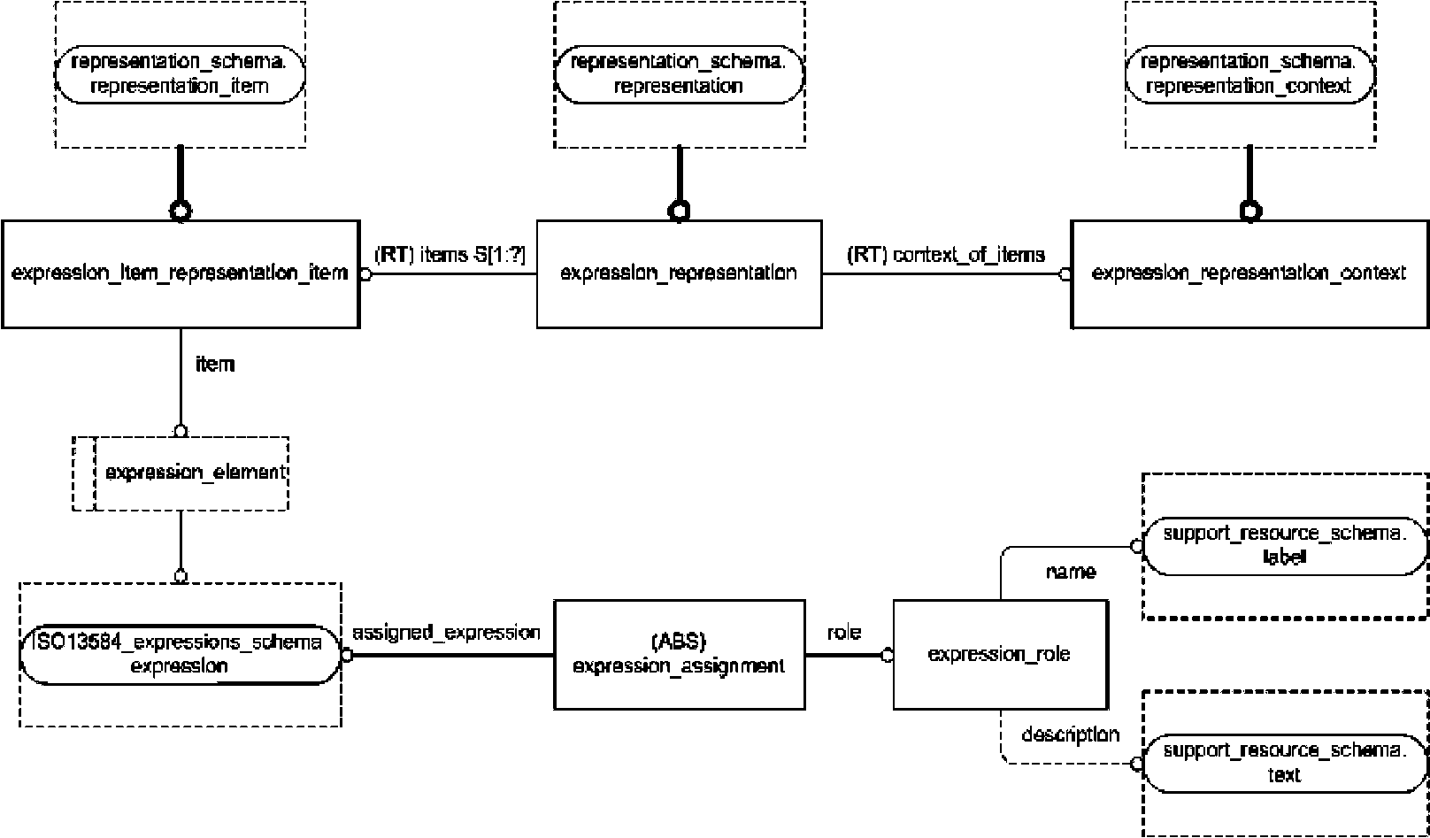
4.4.7 Объект expression_assignment
Объект expression_assignment представляет задание выражения данным об изделии.
EXPRESS-спецификация:
*)
ENTITY expression_assignment
ABSTRACT SUPERTYPE;
assigned_expression : expression;
role : expression_role;
(*
Определение атрибутов:
assigned_expression - объект expression, представляющий задаваемое выражение;
role - объект expression_role, устанавливающий роль задаваемого выражения.
4.4.8 Объект expression_item_representation_item
Объект expression_item_representation_item является таким подтипом объекта representation_item, который используется в определении представления выражения.
EXPRESS-спецификация:
*)
ENTITY expression_item_representation_item
SUBTYPE OF (representation_item);
item : expression_element;
END_ENTITY;
(*
Определение атрибутов:
item - объект expression_element, представляющий элемент представления выражения.
4.4.9 Объект expression_representation
Объект expression_representation является таким подтипом объекта representation, который представляет выражение.
EXPRESS-спецификация:
*)
ENTITY expression_representation
SUBTYPE OF (representation);
SELF\representation.context_of_items : expression_representation_context;
SELF\representation.items : SET[1:?] OF expression_item_representation_item;
END_ENTITY;
(*
Определение атрибутов:
context_of_items - объект expression_representation_context, представляющий контекст для представления выражения;
items - набор объектов expression_item_representation_item, представляющих элементы представления выражения.
4.4.10 Объект expression_representation_context
Объект expression_representation_context является таким подтипом объекта representation_context, который представляет контекст представления выражения.
EXPRESS-спецификация:
*)
ENTITY expression_representation_context
SUBTYPE OF (representation_context);
END_ENTITY;
(*
4.4.11 Объект expression_role
Посредством объекта expression_role задается роль, которую играет выражение.
EXPRESS-спецификация:
*)
ENTITY expression_role;
name : label;
description : OPTIONAL text;
(*
Определение атрибутов:
name - слова, которыми называется роль;
description - описание роли.
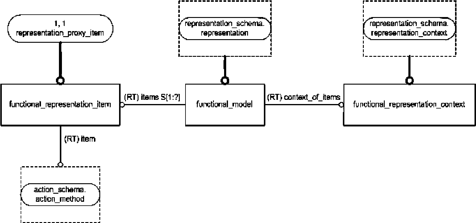
4.4.12 Объект functional_model
Объект functional_model является таким подтипом объекта representation, который используется для представления поведения в форме функциональной модели.
EXPRESS-спецификация:
*)
ENTITY functional_model
SUBTYPE OF (representation);
SELF\representation.context_of_items : functional_representation_context;
SELF\representation.items : SET[1:?] OF functional_representation_item;
END_ENTITY;
(*
Определение атрибутов:
context_of_items - объект functional_representation_context, представляющий контекст для функциональной модели;
items - экземпляры объектов functional_representation_item, используемые для представления функциональной модели.
4.4.13 Объект functional_representation_context
Объект functional_representation_context является таким подтипом объекта representation_context, который используется в определении функциональной модели. Этот объект должен включать информацию, касающуюся парадигмы функционального моделирования.
EXPRESS-спецификация:
*)
ENTITY functional_representation_context
SUBTYPE OF (representation_context);
END_ENTITY;
(*
4.4.14 Объект functional_representation_item
Объект functional_representation_item является таким подтипом объекта representation_proxy_item, который используется в определении функциональной модели.
EXPRESS-спецификация:
*)
ENTITY functional_representation_item
SUBTYPE OF (representation_proxy_item);
SELF\representation_proxy_item.item : action_method;
END_ENTITY;
(*
Определение атрибута:
item - объект action_method, представляющий способ выполнения действия, который в действительности используется для представления аспекта функциональной модели.
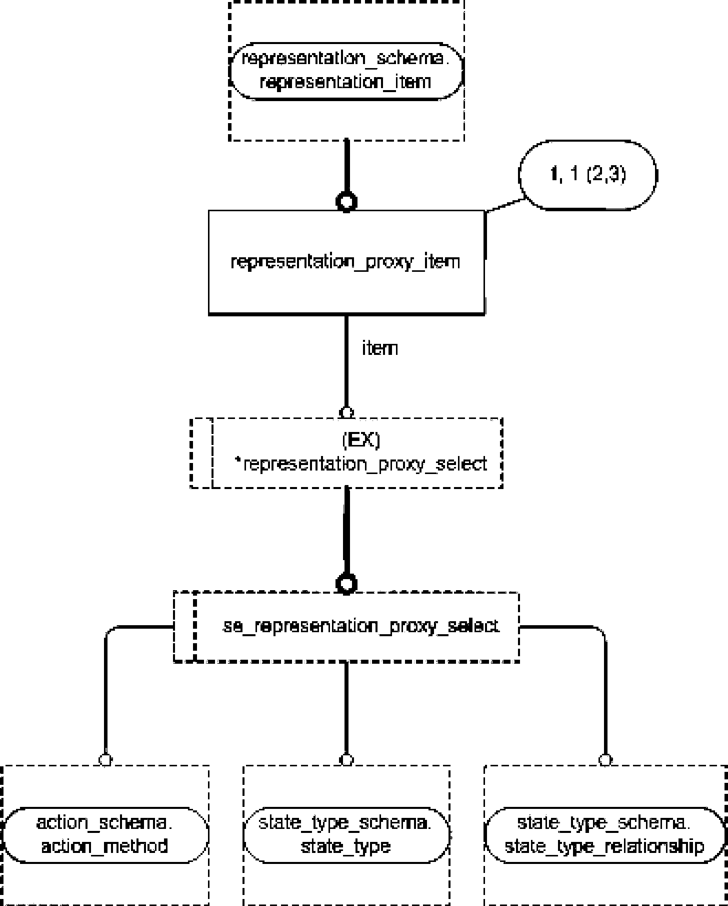
4.4.15 Объект representation_proxy_item
Объект representation_proxy_item является таким подтипом объекта representation_item, который используется в определении представления в тех случаях, когда элементы представления в действительности не являются подтипами объекта representation_item, представляющего элемент представления.
EXPRESS-спецификация:
*)
ENTITY representation_proxy_item
SUBTYPE OF (representation_item);
item : representation_proxy_select;
(*
Определение атрибута:
item - объект, представляющий элемент, используемый как элемент представления.
4.4.16 Объект state_based_behaviour_model
Объект state_based_behaviour_model является таким подтипом объекта representation, который используется в определении модели поведения, основанной на состояниях.
EXPRESS-спецификация:
*)
ENTITY state_based_behaviour_model
SUBTYPE OF (representation);
SELF\representation.context_of_items :
state_based_behaviour_representation_context;
SELF\representation.items : SET[1:?] OF
state_based_behaviour_representation_item;
END_ENTITY;
(*
Определение атрибутов:
context_of_items - объект state_based_behaviour_representation_context, представляющий контекст для модели поведения, основанной на состояниях;
items - экземпляры объектов state_based_behaviour_representation_item, используемые для представления модели поведения, основанной на состояниях.
4.4.17 Объект state_based_behaviour_representation_context
Объект state_based_behaviour_representation_context является таким подтипом объекта representation_context, который используется в определении модели поведения, основанной на состояниях.
EXPRESS-спецификация:
*)
ENTITY state_based_behaviour_representation_context
SUBTYPE OF (representation_context);
END_ENTITY;
(*
4.4.18 Объект state_based_behaviour_representation_item
Объект state_based_behaviour_representation_item является таким подтипом объекта representation_proxy_item, который используется в определении модели поведения, основанной на состояниях.
EXPRESS-спецификация:
*)
ENTITY state_based_behaviour_representation_item
SUBTYPE OF (representation_proxy_item);
SELF\representation_proxy_item.item : state_based_behaviour_element;
END_ENTITY;
(*
Определение атрибута:
item - элемент представления модели поведения, основанной на состояниях.
EXPRESS-спецификация:
*)
END_SCHEMA; -- systems_engineering_representation_schema
(*
Приложение A
(обязательное)
СОКРАЩЕННЫЕ НАИМЕНОВАНИЯ ОБЪЕКТОВ
Сокращенное наименование объектов, установленных в настоящем стандарте, приведено в таблице A.1.
Требования к использованию сокращенных наименований объектов содержатся в стандартах тематической группы "Методы реализации" комплекса ИСО 10303.
Примечание - Наименования объектов на языке EXPRESS доступны в Интернете по адресу: http://www.tc184-sc4.org/Short_Names/.
Таблица A.1
Сокращенное наименование объектов
Полное наименование
Сокращенное наименование
action_method_assignment_relationship
AMAR
analysis_model
ANL0
analysis_model_relationship
ANMDRL
analysis_representation_context
ANRPCN
description_text
DSCTXT
description_text_assignment
DSTXAS
expression_assignment
EXP0
expression_item_representation_item
EIRI
expression_representation
EXPRPR
expression_representation_context
EXRPCN
expression_role
EXP1
functional_model
FNCMDL
functional_representation_context
FNRPCN
functional_representation_item
FNRPIT
representation_proxy_item
RPPRIT
state_based_behaviour_model
SBBM
state_based_behaviour_representation_context
SBBRC
state_based_behaviour_representation_item
SBBRI
Приложение B
(обязательное)
РЕГИСТРАЦИЯ ИНФОРМАЦИОННЫХ ОБЪЕКТОВ
B.1 Обозначение документа
Для однозначного обозначения информационного объекта в открытой системе настоящему стандарту присвоен следующий идентификатор объекта:
{iso standard 10303 part(61) version(1)}
Смысл данного обозначения установлен в ИСО/МЭК 8824-1 и описан в ИСО 10303-1.
B.2 Обозначение схемы
B.2.1 Обозначение схемы systems_engineering_representation_schema
Для однозначного обозначения в открытой информационной системе схеме systems_engineering_representation_schema, установленной в настоящем стандарте, присвоен следующий идентификатор объекта:
{iso standard 10303 part(61) version(1) schema(1) systems_engineering_representation_schema(1)}
Смысл данного обозначения установлен в ИСО/МЭК 8824-1 и описан в ИСО 10303-1.
Приложение C
(справочное)
МАШИННО-ИНТЕРПРЕТИРУЕМЫЕ ЛИСТИНГИ
В данном приложении приведены ссылки на сайты, на которых находятся листинги наименований объектов на языке EXPRESS и соответствующих сокращенных наименований, установленных в настоящем стандарте, без комментариев и другого поясняющего текста. Эти листинги доступны в машинно-интерпретируемой форме и могут быть получены по следующим адресам URL:
сокращенные наименования: http://www.tc184-sc4.org/Short_Names/;
EXPRESS: http://www.tc184-sc4.org/EXPRESS/.
Таблица C.1
Листинги схемы на языке EXPRESS
Описание
Идентификатор
Схема systems_engineering_representation_schema
ISO TC184/SC4/WG12 N5968
Если доступ к этим сайтам невозможен, необходимо обратиться в центральный секретариат ИСО или непосредственно в секретариат ИСО ТК184/ПК4 по адресу электронной почты: sc4sec@tc184-sc4.org.
Примечание - Информация, представленная в машинно-интерпретированном виде по указанным выше адресам URL, является справочной. Обязательным является текст настоящего стандарта.
Приложение D
(справочное)
EXPRESS-G ДИАГРАММЫ
EXPRESS диаграммы, представленные в приложении D, соответствуют EXPRESS-схемам, специфицированным в настоящем стандарте. В диаграммах использована графическая нотация EXPRESS-G языка EXPRESS. Описание EXPRESS-G установлено в ИСО 10303-11.
Рисунок D.1 - Представление схемы
systems_engineering_representation_schema на уровне объектов
в формате EXPRESS-G (1 из 8)
Рисунок D.2 - Представление схемы
systems_engineering_representation_schema на уровне объектов
в формате EXPRESS-G (2 из 8)
Рисунок D.3 - Представление схемы
systems_engineering_representation_schema на уровне объектов
в формате EXPRESS-G (3 из 8)
Рисунок D.4 - Представление схемы
systems_engineering_representation_schema на уровне объектов
в формате EXPRESS-G (4 из 8)
Рисунок D.5 - Представление схемы
systems_engineering_representation_schema на уровне объектов
в формате EXPRESS-G (5 из 8)
Рисунок D.6 - Представление схемы
systems_engineering_representation_schema на уровне объектов
в формате EXPRESS-G (6 из 8)
Рисунок D.7 - Представление схемы
systems_engineering_representation_schema на уровне объектов
в формате EXPRESS-G (7 из 8)
Рисунок D.8 - Представление схемы
systems_engineering_representation_schema на уровне объектов
в формате EXPRESS-G (8 из 8)
Приложение ДА
(справочное)
СВЕДЕНИЯ О СООТВЕТСТВИИ ССЫЛОЧНЫХ МЕЖДУНАРОДНЫХ СТАНДАРТОВ
И ДОКУМЕНТОВ НАЦИОНАЛЬНЫМ СТАНДАРТАМ РОССИЙСКОЙ ФЕДЕРАЦИИ
Таблица ДА.1
Обозначение ссылочного международного стандарта, документа
Степень соответствия
Обозначение и наименование соответствующего национального стандарта
ИСО 10303-1:1994
IDT
ГОСТ Р ИСО 10303-1-99 "Системы автоматизации производства и их интеграция. Представление данных об изделии и обмен этими данными. Часть 1. Общие представления и основополагающие принципы"
ИСО 10303-41:2005
IDT
ГОСТ Р ИСО 10303-41-99 "Системы автоматизации производства и их интеграции. Представление данных об изделии и обмен этими данными. Часть 41. Интегрированные обобщенные ресурсы. Основы описания и поддержки изделий"
ИС МЕГАНОРМ: примечание.
ГОСТ Р ИСО 10303-43-2002 утратил силу с 1 января 2018 года в связи с введением в действие ГОСТ Р ИСО 10303-43-2016 (Приказ Росстандарта от 30.11.2016 N 1888-ст).
ИСО 10303-43
IDT
ГОСТ Р ИСО 10303-43-2002 "Системы автоматизации производства и их интеграция. Представление данных об изделии и обмен этими данными. Часть 43. Интегрированные обобщенные ресурсы. Структуры представлений"
ИСО 10303-53
-
ИСО 10303-56
-
ИСО 13584-20
IDT
ГОСТ Р ИСО 13584-20-2006 "Системы автоматизации производства и их интеграция. Библиотека деталей. Часть 20. Логический ресурс. Логическая модель выражений"
<*> Соответствующий национальный стандарт отсутствует. До его принятия рекомендуется использовать перевод на русский язык данного международного стандарта.
Примечание - В настоящей таблице использовано следующее условное обозначение степени соответствия:
- IDT - идентичные стандарты.
БИБЛИОГРАФИЯ
[1] ISO/IEC 8824-1, Information Technology - Abstract Syntax Notation One (ASN.1) - Part 1: Specification of basic notation