Главная // Актуальные документы // ГОСТ Р (Государственный стандарт)СПРАВКА
Источник публикации
М.: Стандартинформ, 2017
Примечание к документу
Документ
введен в действие с 1 декабря 2017 года.
Название документа
"ГОСТ Р ИСО 13373-3-2016. Национальный стандарт Российской Федерации. Контроль состояния и диагностика машин. Вибрационный контроль состояния машин. Часть 3. Руководство по диагностированию по параметрам вибрации"
(утв. и введен в действие Приказом Росстандарта от 24.11.2016 N 1769-ст)
"ГОСТ Р ИСО 13373-3-2016. Национальный стандарт Российской Федерации. Контроль состояния и диагностика машин. Вибрационный контроль состояния машин. Часть 3. Руководство по диагностированию по параметрам вибрации"
(утв. и введен в действие Приказом Росстандарта от 24.11.2016 N 1769-ст)
Утвержден и введен в действие
по техническому регулированию
и метрологии
от 24 ноября 2016 г. N 1769-ст
НАЦИОНАЛЬНЫЙ СТАНДАРТ РОССИЙСКОЙ ФЕДЕРАЦИИ
КОНТРОЛЬ СОСТОЯНИЯ И ДИАГНОСТИКА МАШИН
ВИБРАЦИОННЫЙ КОНТРОЛЬ СОСТОЯНИЯ МАШИН
ЧАСТЬ 3
РУКОВОДСТВО ПО ДИАГНОСТИРОВАНИЮ ПО ПАРАМЕТРАМ ВИБРАЦИИ
Condition monitoring and diagnostics of machines. Vibration
condition monitoring. Part 3. Guidelines
for vibration diagnosis
(ISO 13373-3:2015, IDT)
ГОСТ Р ИСО 13373-3-2016
Дата введения
1 декабря 2017 года
1 ПОДГОТОВЛЕН Открытым акционерным обществом "Научно-исследовательский центр контроля и диагностики технических систем" (ОАО "НИЦ КД") на основе собственного перевода на русский язык англоязычной версии международного стандарта, указанного в
пункте 4
2 ВНЕСЕН Техническим комитетом по стандартизации ТК 183 "Вибрация, удар и контроль технического состояния"
3 УТВЕРЖДЕН И ВВЕДЕН В ДЕЙСТВИЕ
Приказом Федерального агентства по техническому регулированию и метрологии от 24 ноября 2016 г. N 1769-ст
4 Настоящий стандарт идентичен международному стандарту ИСО 13373-3:2015 "Контроль состояния и диагностика машин. Вибрационный контроль состояния машин. Часть 3. Руководство по диагностированию по параметрам вибрации" (ISO 13373-3:2015 "Condition monitoring and diagnostics of machines - Vibration condition monitoring - Part 3: Guidelines for vibration diagnosis", IDT).
При применении настоящего стандарта рекомендуется использовать вместо ссылочных международных стандартов соответствующие им национальные стандарты Российской Федерации и межгосударственные стандарты, сведения о которых приведены в дополнительном
приложении ДА
5 ВВЕДЕН ВПЕРВЫЕ
Правила применения настоящего стандарта установлены в
статье 26 Федерального закона от 29 июня 2015 г. N 162-ФЗ "О стандартизации в Российской Федерации". Информация об изменениях к настоящему стандарту публикуется в ежегодном (по состоянию на 1 января текущего года) информационном указателе "Национальные стандарты", а официальный текст изменений и поправок - в ежемесячном информационном указателе "Национальные стандарты". В случае пересмотра (замены) или отмены настоящего стандарта соответствующее уведомление будет опубликовано в ближайшем выпуске ежемесячного информационного указателя "Национальные стандарты". Соответствующая информация, уведомление и тексты размещаются также в информационной системе общего пользования - на официальном сайте Федерального агентства по техническому регулированию и метрологии в сети Интернет (www.gost.ru)
Настоящий стандарт устанавливает общие процедуры, применяемые при организации диагностирования машин по параметрам вибрации. Эти процедуры включают в себя анализ структурных схем диагностирования, таблиц процессов и неисправностей и обобщены в виде логически структурированной последовательности шагов по диагностированию машин по параметрам вибрации. Вместе с тем руководство, установленное настоящим стандартом, не исключает возможность применения других подходов к диагностированию.
В стандартах серии ИСО 7919 (для измерений вибрации на вращающихся валах) и ИСО 10816 (для измерений вибрации на стационарных частях машин) установлены критерии оценки вибрации и зоны вибрационного состояния для машин разных видов и размеров, как новых, так и находящихся в эксплуатации длительное время.
В ИСО 13373-1 представлены основные процедуры, используемые при анализе вибрационных сигналов в целях контроля состояния. Они включают в себя выбор преобразователей и мест их размещения, а также диапазона частот измерений для машин разных видов, выбор вида контроля вибрации (непрерывного или периодического), анализ потенциальных проблем в работе машины.
В ИСО 13373-2, который является вводным руководством по диагностированию, рассматриваются такие аспекты, как характеристики системы формирования сигнала, методы представления сигнала вибрации во временной и частотной областях, характерные формы сигналов и признаки, которым могут и соответствовать типичные неисправности или особенности работы машины.
Руководство, установленное в настоящем стандарте, распространяется на машины всех видов. Более детальные рекомендации могут быть даны в других стандартах для машин отдельных видов.
Настоящий стандарт не устанавливает границ зон вибрационного состояния. Такие границы установлены в стандартах серии ИСО 7919 для параметров вибрации вращающихся валов и в стандартах серии ИСО 10816 для параметров вибрации на стационарных частях машин.
В настоящем стандарте приведено общее руководство по процедурам, применяемым в целях диагностирования машин вращательного действия, использование которого обеспечивает логически структурированный подход к диагностированию этих машин по параметрам вибрации. Руководство дополнено примерами неисправностей, типичными для широкого класса машин.
Примечание - Руководства для машин конкретных видов установлены другими стандартами серии ИСО 13373.
В настоящем стандарте использованы нормативные ссылки на следующие стандарты:
ISO 1925 <1> Mechanical vibration - Balancing - Vocabulary (Вибрация. Балансировка. Словарь)
--------------------------------
<1> После пересмотра данному международному стандарту будет присвоен номер ISO 21940-2.
ISO 2041 Mechanical vibration, shock and condition monitoring - Vocabulary (Вибрация, удар и контроль состояния. Словарь)
ISO 7919-1 Mechanical vibration of non-reciprocating machines - Measurements on rotating shafts and evaluation criteria - Part 1: General guidelines (Вибрация машин без возвратно-поступательного движения. Измерения на вращающихся валах и критерии оценки. Часть 1. Общее руководство)
ISO 13372 Condition monitoring and diagnostics of machines - Vocabulary (Контроль состояния и диагностика машин. Словарь)
ISO 13373-1 Condition monitoring and diagnostics of machines - Vibration condition monitoring - Part 1: General procedures (Контроль состояния и диагностика машин. Вибрационный контроль состояния. Часть 1. Общие методы)
ISO 13373-2 Condition monitoring and diagnostics of machines - Vibration condition monitoring - Part 2: Processing, analysis and presentation of vibration data (Контроль состояния и диагностика машин. Вибрационный контроль состояния. Часть 2. Обработка, анализ и представление результатов измерений вибрации)
В настоящем стандарте применены термины по ИСО 1925, ИСО 2041 и ИСО 13372.
4.1 Измерения вибрации
Результаты применения процедур, установленных настоящим стандартом, зависят от того, насколько надежными являются измерения параметров вибрации (см.
[1]).
В общем случае измерения вибрации бывают трех видов:
a) измерения на конструктивно неподвижных частях машины, таких как подшипниковая опора, корпус или фундамент машины, с использованием, например, акселерометров или преобразователей скорости (см.
[6]);
b) измерения относительного движения ротора и подшипниковой опоры с использованием, например, датчиков вибрации бесконтактного типа (см.
[9]);
c) измерения абсолютного движения вращающихся элементов, например, с использованием прижимного щупа с датчиком инерционного типа или посредством сочетания средств измерений, указанных в
перечислениях a) и
b) (см.
[9]).
Указанные виды измерений используют для оценки вибрационного состояния машин, например, в соответствии со стандартами серий
[7] и
[8].
Важно понимать, что для обнаружения неисправностей разных видов в разных машинах необходим правильный выбор соответствующих преобразователей и систем измерений вибрации. Например, от конкретного режима работы машины будет зависеть диапазон частот измерений и требуемое разрешение по частоте.
При выборе преобразователей вибрации и систем измерений вибрации следует руководствоваться рекомендациями ИСО 13373-1 и ИСО 13373-2.
4.2 Измерения рабочих характеристик машины
Вибрация машины и соответствующие диагностические признаки в значительной степени зависят от текущих значений рабочих характеристик машины, что необходимо учитывать при проведении диагностирования. Поэтому наряду с измерениями вибрации необходимо измерять также такие характеристики, как скорость вращения ротора, приложенная нагрузка, давление, температура и т.п.
Рекомендуется, чтобы базовые уровни контролируемых параметров вибрации, с которыми впоследствии сопоставляют текущие значения этих параметров, были построены для разных возможных значений рабочих характеристик.
Дополнительные рекомендации по использованию результатов измерений рабочих характеристик приведены в
[11].
5. Структурный подход к диагностированию
В настоящем стандарте процесс диагностирования описывается через такие элементы, как структурные схемы, таблицы процессов и таблицы неисправностей. Структурные схемы и таблицы процессов, по сути, представляют собой последовательность ответов на вопросы, встающие перед пользователем в ходе диагностирования. Структурные схемы используют для общего обзора событий и описания их особенностей, в то время как таблицы процессов позволяют провести более углубленный анализ этих событий. Таблицы неисправностей используют, чтобы связать основные события, которые могут произойти с машиной, и способы, которыми они себя проявляют.
В
приложении A структурный подход к диагностированию машины определен следующим образом:
a) сбор общей информации о машине, источниках вибрации и вибрационном состоянии
(раздел A.1);
b) получение ответов на ряд вопросов, направленных на диагностирование наиболее характерных неисправностей, таких как дисбаланс, несоосность, трение между движущимися частями
(раздел A.2);
c) анализ возможных действий, связанных с полученным диагнозом
(раздел A.3).
В других приложениях к настоящему стандарту рассмотрены подходы к поиску неисправностей широкого класса машин:
- неисправностей радиальных гидродинамических подшипников
(приложение C);
Более подробные рекомендации для машин разных видов приведены в других стандартах серии ИСО 13373.
Структурный подход можно рассматривать как обобщение практики опытных специалистов, работающих в сфере диагностирования машин, хотя он не исключает возможность применения других подходов.
Следует обратить внимание на такое важное обстоятельство: иногда результаты диагностирования по параметрам вибрации указывают на возможное наличие недостатков конструкции обследуемой машины. В этом случае рекомендуется обратиться за консультациями к изготовителю машины.
6. Дополнительные исследования
6.1 Общие положения
После использования основных инструментов структурного подхода (структурных схем, таблиц процессов и таблиц неисправностей) в целях более детального выяснения причинно-следственных связей могут потребоваться дополнительные исследования. В некоторых ситуациях при согласии оператора машины для этого прибегают к изменению ее физического состояния.
Типичные методы дополнительных исследований описаны в 6.2 -
6.4.
6.2 Методы без изменения рабочих характеристик
6.2.1 Общие положения
Исследования данного вида проводят в ходе нормального функционирования машины при неизменных рабочих характеристиках.
6.2.2 Анализ тренда
Цель анализа тренда состоит в отслеживании изменений состояния машины со временем на основе непрерывных или периодических измерений как контролируемых параметров вибрации, так и рабочих параметров машины. Контролируемые параметры вибрации могут представлять собой энергетические характеристики (пиковое или среднеквадратичное значение) широкополосной вибрации или характеристики отдельных узкополосных составляющих. Более детальный анализ может включать в себя исследование регрессионных зависимостей наблюдаемых параметров с возможной экстраполяцией данных.
6.2.3 Анализ фазовых соотношений
Фаза составляющей вибрации несет важную информацию о состоянии машины, которая может быть использована при наличии соответствующего сигнала сравнения. Например, информацию о фазе используют, чтобы различать между собой такие неисправности, как несоосность, дисбаланс, резонанс механической системы и трение между движущимися частями.
6.2.4 Возбуждение резонансов
Испытания с возбуждением резонансов элементов машины, например с помощью ударника молоткового типа или вибровозбудителя, проводят с целью обнаружения собственных частот, которые могут совпадать с частотами вынуждающих сил в машине. Обычно такие испытания проводят на стационарных частях машин. Схожие по характеру испытания заключаются в определении критических скоростей вращения вала или валопровода. Испытания на резонанс обычно выполняют при неработающей машине, а критические скорости вращения определяют на режимах разгона или выбега (см.
6.3.1).
6.2.5 Определение форм колебаний в рабочем режиме машины
Измерения в данном виде исследований проводят с целью визуализации вибрации машины на разных частотах (но обычно на частоте вращения ротора) в нормальном режиме ее работы. Такие измерения должны включать в себя определение не только амплитудных, но и фазовых составляющих во всех точках машины. Это позволяет исследовать движение различных частей машины относительно друг друга.
6.2.6 Анализ длинных временных реализаций
Данный метод применяют с целью получения таких временных реализаций, которые обычно не записывают в традиционных методах контроля вибрации. Длительность записи зависит от конкретного применения. Обычно такие записи получают одновременно для нескольких параметров, включая рабочие характеристики машины, и используют для выявления быстротекущих событий или для последующего детального анализа собранных данных.
6.3 Методы с изменением рабочих характеристик
6.3.1 Изменение рабочих характеристик
Возможность варьирования рабочих характеристик машины всегда должна быть согласована с ее оператором. Особенно тщательно следует подходить к ситуациям, когда предполагаемые изменения приводят к выходу за пределы допусков, установленных изготовителем. Примерами варьирования рабочих характеристик в целях диагностирования являются:
- изменение скорости машины (режим разгона, режим выбега);
- изменение температуры масла, изменение нагрузки и т.п.
6.3.2 Полный модальный анализ
Модальный анализ представляет собой мощный инструмент для описания динамического поведения машины, включая ее собственные частоты, коэффициенты демпфирования и формы мод. Такие испытания требуют больших затрат времени и средств, специального оборудования и большого опыта в их проведении, поэтому обычно применяются только в случаях крайней необходимости. Как правило, машину перед проведением таких испытаний останавливают. Однако следует иметь в виду, что характеристики, полученные для неработающей машины, могут отличаться от тех, что имеют место при ее нормальной работе, особенно в случае машины с гидродинамическими подшипниками.
6.4 Методы с изменением физического состояния машины
Изменение физического состояния машины связано с вмешательством в ее конструкцию и может включать в себя изменение положения частей машины относительно друг друга, варьирование массовых и жесткостных характеристик. Рекомендуется проводить измерения контролируемых параметров до и после вмешательства в конструкцию машины. Примерами испытаний с изменением физического состояния машины могут служить:
- определение дисбаланса ротора;
- индицирование ротора (изменение относительного положения сопрягаемых элементов на 180°);
- пуск машины с отсоединенной нагрузкой;
- дополнительные измерения соосности сопряженных валов, положения ротора в подшипниках, температуры статора и т.п.
7. Дополнительные методы диагностирования
Методы настоящего стандарта представляют собой последовательность логических действий, определяемых опытом диагностирования машин разных видов. Однако существуют также другие, хорошо зарекомендовавшие себя подходы к диагностированию, основанные на принципах:
- искусственного интеллекта;
- накопления баз знаний;
- распознавания образов;
- нейронных сетей.
Такие подходы рассмотрены в ИСО 13379-1.
8. Составление рекомендаций
Корректирующие и восстановительные действия, предпринимаемые по результатам обследования машины, зависят от многих обстоятельств, среди которых важную роль играют вопросы:
- безопасной эксплуатации;
- экономической эффективности;
- оптимальности конструкции машины.
Очевидно, что действия, следующие за поставленным диагнозом, зависят от конкретных обстоятельств и выходят за рамки рекомендаций настоящего стандарта. Однако специалисту, выполняющему работы по диагностированию, важно рассматривать возможные решения в ответ на поставленный диагноз и результаты применения соответствующих корректирующих (восстановительных) процедур.
Рекомендуемые действия зависят от степени доверия к результатам диагностирования (например, от того, правильными ли были предыдущие диагнозы для данной машины), типа неисправности и ее критичности, а также от экономических обстоятельств и обстоятельств, связанных с безопасностью эксплуатации машины. Хотя в полном объеме вопрос составления рекомендаций в настоящем стандарте не рассматривается, некоторые вопросы, сопутствующие составлению таких рекомендаций, рассмотрены в
разделе A.3.
(справочное)
ТАБЛИЦЫ ПРОЦЕССОВ, ПРИМЕНЯЕМЫЕ В РАМКАХ СТРУКТУРНОГО ПОДХОДА
К ВИБРАЦИОННОМУ АНАЛИЗУ МАШИН
A.1 Начальный сбор данных
Начальные вопросы, используемые для сбора необходимой информации и подтверждения ее достоверности, приведены в таблице A.1.
Таблица A.1
Начальные вопросы
Шаг | Вопрос | Детализация вопроса | Следующий шаг |
1 | Тип машины | Основные элементы машины (привод, приводная часть, соединения, подшипники, постоянная или переменная частота вращения и т.д.). Знаком ли специалист с машинами данного вида. Есть ли опыт работы с машинами данной или аналогичной конструкции. Место установки машины | |
| Целостность машины | Функционирует ли машина. Целесообразно ли продолжать работу машины. Целесообразен ли повторный пуск машины. Выполнен ли анализ риска для оценки возможности поддержания целостности машины в процессе ее работы, пока выполняется диагностирование | |
| Наличие аномалии в вибрационном состоянии | Могут ли быть получены значения параметров вибрации. Каково нормальное вибрационное состояние для данной машины | |
| Как была выявлена аномалия | Был ли сигнал предупреждения по параметрам вибрации. Показывают ли текущие данные вибрации наличие существенных изменений. Существенно ли отличаются текущие данные от результатов предыдущих измерений. Был ли слышен нехарактерный шум при работе машины. Показал ли визуальный осмотр наличие дефекта (например, утечку газа, масла, пара или жидкости) | |
| Достоверность результатов измерений вибрации | Выполнить проверку временных/спектральных характеристик вибрации. Соответствуют ли характеристики ожидаемым. Содержат ли они признаки неисправности (отсутствие сигнала на выходе, сдвиг нуля, повышенный низкочастотный шум). Правильно ли установлен преобразователь. Не нарушена ли целостность сигнального кабеля. Правильно ли работает устройство согласования сигнала. Рассмотреть возможность проведения независимых измерений ручным щупом. Проверить наличие явных признаков неисправности невибрационной природы (например, изменение температуры масла или подшипника, изменение положения вала, появление нехарактерного шума). Определена ли аномалия по сигналу только с одного преобразователя (см. шаг 6) | |
| Определена ли аномалия по сигналу только с одного преобразователя | Проверить вибрацию в ортогональных направлениях. Проверить вибрацию в других точках вдоль ротора. Сравнить вибрацию вала и подшипниковой опоры. Проверить состояние преобразователя и измерительной цепи. Проверить, не были ли перепутаны местами участки измерительной цепи для разных каналов измерений | |
| Какова оценка вибрационного состояния | Сравнить параметры широкополосной вибрации с границами зон вибрационного состояния, например, по ИСО 7919 или ИСО 10816. Если границы зон превышены (например, вибрационное состояние соответствует зоне C или D) или вибрация иным образом указывает на отклонения в работе машины, то определяют, какие незамедлительные мероприятия должны быть предприняты в отношении данной машины (при этом достоверность данных должна быть подтверждена в соответствии с шагами 5 и 6). В противном случае переходят к шагу 8 | |
| Какие параметры сигнала вибрации (его составляющих) рассматриваются | Общий уровень в широкой полосе частот. Амплитуда и фаза первой гармоники частоты вращения. Амплитуда и фаза второй гармоники частоты вращения. Спектральный состав сигнала и амплитуды составляющих на других характерных частотах (подсинхронной, лопастной, прохождения стержней ротора и др.) для машины данного вида | |
| Наблюдалась ли данная аномалия прежде | Что сообщают накопленные сведения о том, например, как давно аномалия имеет место, выявлены ли ее причины, вызывала ли она отказ машины | |
| Факторы времени для данной аномалии | Время проявления аномалии. Длительность проявления аномалии. Характерное время развития аномалии (например, скачкообразно, в течение нескольких секунд или плавно, в течение нескольких минут или часов). Продолжают ли изменяться параметры вибрации | |
| Рабочее состояние машины | Каким было состояние машины в момент обнаружения аномалии. Каково оно на настоящий момент. Остается ли состояние машины нормальным. Остаются ли параметры технического состояния в пределах допусков, установленных изготовителем | |
| Привели ли к аномалии изменения в функционировании машины | Оставалось ли изменение функционирования машины в пределах нормы. Когда аналогичные изменения осуществлялись в последний раз. Рассмотреть прежнее нормальное состояние машины до проведения каких-либо работ по техническому обслуживанию или изменения функционирования машины. Оставалась ли реакция машины на изменение ее функционирования в пределах нормы | |
| Привела ли аномалия к изменению функционирования машины | Каким был отклик машины. Согласуются ли эти данные с предшествующим опытом | |
| Связь аномалии с рабочими характеристиками невибрационной природы | Определить, существует ли связь между параметрами невибрационной природы (частота вращения, нагрузка, температура, давление, расход рабочей жидкости, относительное положение частей машины и т.п.) | |
| Проводились ли в недавнем прошлом работы по техническому обслуживанию машины | Есть ли связь между этими работами и выявленной аномалией. Когда подобные работы проводились в прошлом и как они отражались на вибрационном состоянии машины | |
| | | |
Вопросы, появляющиеся в ходе диагностирования, собраны в таблице A.2.
Таблица A.2
Вопросы, рассматриваемые в процессе диагностирования
Шаг | Вопрос | Детализация вопроса | Следующий шаг |
| Можно ли по записям (трендам) вибрации и других контролируемых параметров проследить предыдущее появление схожих рабочих условий | Проверить изменение амплитуды и фазы сигнала вибрации на первой и второй гармониках частоты вращения, несинхронные составляющие вибрации, составляющие на лопастной частоте и частоте прохождения стержней ротора и т.д. в зависимости от типа обследуемой машины | |
| Сосредоточена ли вибрация на первой и второй гармониках частоты вращения (в пределах 10%) | Провести анализ спектра и, при необходимости, порядкового спектра сигнала. Если других значительных составляющих в спектре нет, то перейти к шагу 19. В противном случае перейти к шагу 22 | |
| Имеет ли место скачкообразное изменение вектора первой гармоники, не связанное с изменением рабочих условий | Если ответ положителен, то провести дальнейшие исследования (проверить на резкие скачки вибрации в других точках вдоль оси ротора, в разных направлениях, на валу и на опоре ротора). Проверить возможность внезапного появления дисбаланса (например, вследствие утери части материала ротора), изменения относительного положения частей машины (в соединениях, обмотке, шпоночной канавке) или в настройке средств измерений (например, в регулировке тахометра). При отрицательном ответе перейти к шагу 20 | |
| Имеют ли место существенные изменения во второй гармонике | Если ответ положителен, то провести дальнейшие исследования. Проверить предположение о наличии трещины в вале ротора (например, по изменению соотношения между амплитудами и фазами первой и второй гармоник со временем, росту амплитуд гармоник высших порядков, изменению первых четырех гармоник на критической частоте вращения ротора в процессе разгона или выбега), угловой несоосности (например, по наличию колебаний в противофазе на подшипниках по обе стороны от соединения в осевом направлении) или осевой несоосности (например, по наличию колебаний в противофазе на подшипниках по обе стороны от соединения в радиальном направлении). При отрицательном ответе перейти к шагу 21 | |
| Провести дополнительные исследования | Плавные изменения вектора первой гармоники могут свидетельствовать о чувствительности к изменениям температуры (проверить по истории записей), наличию несоосности (не всегда приводящей к изменению второй гармоники), трению движущихся частей (проверить наличие циклических изменений амплитуды и фазы первой гармоники, наличие в спектре субгармонических и супергармонических составляющих, наличие клиппирования во временном сигнале и искажение орбиты вращения вала), ослаблению в соединениях | |
| Присутствует ли первая гармоника частоты вращения и ее субгармоники с коэффициентами 0,33 и 0,5 | Если ответ положителен, то провести дальнейшие исследования. Предположить наличие нелинейности, например связанной с трением (задеванием) между частями машины (проверить на цикличность изменений амплитуды/фазы первой гармоники, проверить наличие субгармоник с коэффициентами 0,33 и 0,5 на скоростях выше второй и третьей критической, проверить временной сигнал на наличие участков клиппирования, а также форму орбиты движения вала), ослабление механических соединений (проверить изменение вибрации по области крепления машины, ослабление крепления подшипника и связанные с этим высшие гармоники и нестабильность фазы), насыщение сигнала (проверить формы спектра и временного сигнала, использовать другие средства измерений) или образование трещины в вале ротора (проверить изменения в первых четырех гармониках сигнала, изменения отклика для этих гармоник при прохождении резонанса в процессе разгона/выбега). При отрицательном ответе перейти к шагу 23 | |
| Изменяется ли вибрация на субгармониках частоты вращения с коэффициентами от 0,4 до 0,47 в процессе разгона/выбега (при наличии данных) | Если ответ положителен, то провести дальнейшие исследования. Предположить наличие прецессии ротора в гидродинамических подшипниках. Проверить изменение положения оси вала, температуры и давления масла. Исследовать конструкцию машины и внесенные в нее модификации, которые могли бы стать причиной нестабильного поведения ротора (например, конструкцию гидродинамического подшипника, сальникового уплотнения). Проверить на возможные изменения рабочих условий (нагрузки, температуры гидродинамического подшипника), которые могли стать причиной нестабильности. При отрицательном ответе перейти к шагу 24 | |
| Присутствует ли единственная составляющая на частоте резонанса | Если ответ положителен, то провести дальнейшие исследования. Заставить машину работать на критической скорости. По возможности проверить, сохраняется ли вибрация на фиксированных частотах, когда скорость вращения при разгоне/выбеге выше критической. При положительном ответе предполагается наличие вибрации масляного клина. Проверить изменение положения оси вала, изменения температуры/давления масла в гидродинамических подшипниках. Исследовать конструкцию машины и внесенные в нее модификации, которые могли бы стать причиной нестабильного поведения ротора (например, конструкцию гидродинамического подшипника, сальникового уплотнения). Проверить на возможные изменения рабочих условий (нагрузки, температуры гидродинамического подшипника), которые могли стать причиной нестабильности. Другой причиной может быть резонанс конструкции машины, чья частота обычно остается неизменной при изменении скорости вращения ротора в процессе разгона/выбега и который может проявляться даже до достижения критической скорости (резонанс конструкции и вибрацию масляного клина часто путают, особенно если критические скорости неизвестны). При отрицательном ответе перейти к шагу 25 | |
| Присутствует ли в сигнале низкочастотный шум | Проверить спектральную и временную формы сигнала на наличие искажений в низкочастотной области. Их присутствие предполагает неисправность измерительной цепи. Проверить преобразователь, кабель, устройство согласования и другие элементы цепи. При отрицательном ответе перейти к шагу 26 при диагностировании насоса, к шагу 27 при диагностировании электрической машины | Нет - 26 (насос), 27 (электрическая машина) |
| Присутствуют ли в вибрации высокочастотные составляющие, например, лопастной частоты или ее гармоники (для насоса) | Если ответ положителен, то провести дальнейшие исследования. Изменение высокочастотных составляющих вибрации без изменения рабочих условий или операций технического обслуживания предполагает возможный износ крыльчатки/направляющего аппарата или наличие препятствий на пути потока (проверить на наличие спада производительности). Если в машине начали проявляться изменения в широком диапазоне частот, то это может свидетельствовать о появлении кавитации (проверить на наличие характерного рокочущего шума насоса). При отрицательном ответе перейти к шагу 27 | |
| Присутствуют ли в вибрации высокочастотные составляющие (для электрической машины) | Если ответ положителен, то провести дальнейшие исследования. Например, для асинхронного двигателя с короткозамкнутым ротором используют режим увеличения масштаба спектра ("лупы"), чтобы установить наличие отстоящих на удвоенную частоту скольжения боковых составляющих для первой и второй гармоник частоты прохождения стержней ротора. Наличие модуляции на удвоенной частоте скольжения предполагает возможность повреждения клетки ротора | |
| Перейти к разделу A.3 | | |
A.3 Составление рекомендаций
Рекомендации по корректирующим действиям, которые должны быть предприняты после установления диагноза, должны быть основаны на анализе рисков и учитывать степень его достоверности (в частности, верно ли ставился аналогичный диагноз в отношении других подобных машин), тип выявленной неисправности, вопросы безопасности и экономической целесообразности продолжения работы неисправной машины. Правила составления рекомендаций для всех возможных условий эксплуатации машины и установленных диагнозов выходят за рамки настоящего стандарта. Тем не менее существует несколько вопросов общего характера, которые всегда следует рассматривать при составлении таких рекомендаций. Ниже приведены некоторые из них:
a) в отношении неисправности измерительного инструмента:
- может ли инструмент быть отремонтирован или заменен без остановки машины;
- может ли быть установлено другое измерительное оборудование;
- может ли состояние машины быть определено с достаточной точностью с помощью оставшихся достоверных сигналов при используемом инструменте;
- может ли ремонт (замена) быть отложен до запланированного перерыва в работе машины или же выполняемые машиной функции и знание возможных производственных рисков диктуют совершение незамедлительных действий;
b) в отношении малосущественных неисправностей машины или неисправностей необнаруженных:
- может ли быть реализована более детальная (совершенная) схема диагностирования для определения возможных отклонений в состоянии машины при ее дальнейшем контроле;
c) в отношении существенных неисправностей машины или неисправностей обнаруженных:
- какова роль машины в общем обеспечении безопасности производства;
- какова роль машины в обеспечении непрерывности производства;
- каковы последствия для безопасности производства, экономические потери или вред окружающей среде при продолжении работы неисправной машины;
- есть ли машина, дублирующая функции неисправной;
- есть ли в резерве машины, которые могут заменить неисправную в случае ее отказа;
- могут ли быть изменены рабочие условия (нагрузка, скорость, температура), которые позволили бы смягчить негативные последствия неисправности;
- когда запланирована ближайшая остановка машины, после которой возможна ее замена или ремонт;
- имеется ли предшествующий опыт эксплуатации подобных машин с теми же неисправностями;
- может ли быть применена улучшенная схема контроля состояния для определения его дальнейших изменений;
- может ли машина продолжать работать до ближайшей запланированной остановки без недопустимого риска отказа;
- может ли машина быть выведена из рабочего режима контролируемым образом, исключающим ухудшение ее состояния.
(справочное)
ОБЩИЕ НЕИСПРАВНОСТИ МАШИН, ПРИМЕНЯЕМЫХ
В ПРОИЗВОДСТВЕННОМ ПРОЦЕССЕ
B.1 Схема вибрационного диагностирования
В настоящем приложении рассматривается диагностирование машин, участвующих в процессе производства, в части неисправностей, характерных для машин разного вида. На рисунке B.1 представлены элементы схемы диагностирования, которую следует рассматривать только в качестве общего руководства.
Рисунок B.1 - Структурная схема вибрационного
диагностирования машины, участвующей
в производственном процессе
B.2 Методология диагностирования
B.2.1 Общие положения
Общие рекомендации по методологии диагностирования машин, участвующих в производственном процессе, проиллюстрированы
рисунком B.1. Процесс включает в себя в качестве основного элемента этапы визуального контроля и спектрального анализа
[2]. В дополнение к ним при необходимости используют процедуры испытаний на резонанс
[3], анализ временного сигнала, орбит и фазовых соотношений, а также анализ формы изгибных колебаний работающей машины (ODS <1>)
[4].
--------------------------------
<1> От английского "operational deflection shape".
B.2.2 Визуальный контроль
Перед проведением любых испытаний работающей машины рекомендуется сначала провести ее визуальный осмотр с целью выявления видимых отклонений.
B.2.3 Контролируемые вибрационные параметры
Проводят измерения контролируемых параметров и сравнивают их значения с теми, что установлены соответствующими стандартами и другими нормативными документами. Если эти значения находятся внутри установленных пределов, то необходимость в поиске неисправности отсутствует.
B.2.4 Спектральный анализ
Ключевыми процедурами диагностирования машин вращательного действия являются порядковый анализ и спектральный анализ сигналов вибрации. Однако особенности этого анализа будут разными для разных видов машин. Обычно анализируемой величиной является скорость вибрации, но могут быть также использованы ускорение в случае высокоскоростных машин или перемещение для низкоскоростных машин и компрессоров.
Сигнал вибрации для анализа снимают со всех подшипников ведущей и приводной машин в трех ортогональных направлениях: вертикальном, осевом и горизонтальном. Чтобы определить природу появления в спектре тех или иных составляющих, требуется знание принципов работы данной машины. Целью анализа является выявление вибрации на частотах, характерных для тех или иных неисправностей. Если амплитуда всех составляющих указывается в заданные пределы, то работу машины считают нормальной
[5]. В противном случае необходимо связать выделяющиеся составляющие с характерными частотами для машин данного вида.
Частоты, на которых наблюдается повышенная вибрация, можно разделить на три группы:
a) первая гармоника частоты вращения.
Есть много неисправностей, которые приводят к появлению в спектре вибрации составляющей на частоте вращения вала. Среди них - механический и тепловой дисбалансы ротора, повышенные напряжения в присоединенном трубопроводе, разновысотность опорных поверхностей. Чтобы определить, какая именно из возможных неисправностей имеет место в конкретной ситуации, следует выполнить дополнительные измерения, которые включают в себя определение: временной формы сигнала, фазовых соотношений, форм изгибных колебаний работающей машины;
b) частоты (отличные от первой гармоники), характерные для машин данного вида.
Примером может служить несоосность валов, вызывающая появление в спектре сигнала помимо первой гармоники частоты вращения также второй (см. рисунок B.2) и даже третьей гармоники. Другим примером может служить уменьшение амплитуд гармоник частоты вращения (см.
рисунок B.3), что характерно для ослабления механических соединений в подшипниках или опорах машины;
X - частота, Гц; Y - среднеквадратичное значение скорости
в вертикальном направлении, мм/с
Рисунок B.2 - Несоосность валов в насосе
([2])
X - частота, Гц; Y - среднеквадратичное значение скорости
в горизонтальном направлении, мм/с
Рисунок B.3 - Ослабление в подшипнике электродвигателя
([2])
c) частоты, которые нельзя связать с конкретным видом неисправности.
В этом случае для определения источника, с которым связаны составляющие на данных частотах, проводят дополнительные исследования. Такие исследования могут включать в себя поиск резонансов (в том числе нанесением ударов по конструкции или измерениями в переходных режимах), модальный анализ или определение характеристик потока (см. рисунок B.4). Целью испытаний на резонанс является попытка связать наблюдаемые частотные составляющие с собственными частотами колебаний конструкции машины или с критическими скоростями ротора.
c) Спектр вибрации до внесения изменений
d) Отклик на ударное воздействие
e) Спектр вибрации после внесения изменений
X - частота, Гц; Y1 - среднеквадратичное значение скорости
в вертикальном направлении, мм/с; Y2 - распределение энергии
частотных составляющих вибрации, мм/с
Рисунок B.4 - Испытания вертикального насоса на резонанс
Модальные испытания являются более сложной формой испытаний на резонанс и позволяют помимо собственных частот определять также формы мод и коэффициенты демпфирования. Модальный анализ требует больших временных и финансовых затрат, и по этой причине его редко используют для диагностирования машин, участвующих в производственном процессе. Однако в обоснованных случаях он представляет собой мощный инструмент для описания динамического поведения машины, идентификации частотных составляющих спектра и формирования предложений по корректирующим действиям. Что касается определения характеристик потока, то всегда полезно убедиться, что машина работает в зоне максимальной эффективности или вблизи нее. В случае ухода от этой зоны появление больших вибраций становится весьма вероятным. Сюда входят, в частности, режимы обратного потока и кавитации насоса, помпаж компрессора.
Наибольшую трудность представляет собой случай, когда в спектре сигнала вибрации доминирует составляющая частоты вращения ротора, поскольку такая форма спектра характерна для многих неисправностей, таких как дисбаланс, несоосность, деформация корпуса, наклонный фундамент, разновысотность опор, механические напряжения в подсоединенном трубопроводе и увеличенный зазор в подшипнике. Чтобы распознать, с какой именно неисправностью связано появление первой гармоники частоты вращения, требуются дополнительные исследования, которые включают в себя анализ временного сигнала, анализ фазовых соотношений и ODS-анализ.
B.2.5 Анализ временной формы сигнала
Вид временного сигнала вибрации может быть использован, чтобы различить такие неисправности, как несоосность (см. рисунок B.5), повышенные напряжения в присоединенном трубопроводе (см.
рисунок B.6) и увеличенный зазор в подшипнике (см.
рисунок B.7). В случае повышенных механических напряжений в присоединенном трубопроводе на машину действует направленная сила, обычно лежащая в горизонтальной плоскости, и эта сила воздействует на весь корпус машины в целом. Действие направленной силы характерно и в случае несоответствующего зазора в подшипнике, однако она сосредоточена в месте установки данного подшипника. Это в особенности справедливо для подшипников специальных геометрических форм: эллиптических или лепестковых.
X - время, с; Y - перемещение в горизонтальном направлении,
мкм
Рисунок B.5 - Временной сигнал при несоосности валов
([2])
X - частота, Гц; Y - среднеквадратичное значение скорости
в вертикальном направлении, мм/с
Рисунок B.6 - Вид спектра при повышенных механических
напряжениях в присоединенном трубопроводе
([2])
X - частота, Гц; Y - среднеквадратичное значение скорости
в вертикальном направлении, мм/с
Рисунок B.7 - Увеличенный зазор в подшипнике
([2])
B.2.6 Анализ фазовых соотношений
Фазовые соотношения между первыми гармониками сигнала вибрации могут быть использованы, чтобы различить такие неисправности, как дисбаланс, несоосность, изгиб вала и деформация корпуса. Ниже приведены примеры использования фазовых соотношений в целях диагностирования:
a) если в сигналах, снятых по обе стороны от соединения, фаза изменяется на 180°, то это обычно свидетельствует о наличии несоосности. При отсутствии фазового сдвига в радиальной вибрации можно предположить наличие дисбаланса. Однако следует иметь в виду, что в некоторых случаях на место соединения приходится узел собственных изгибных колебаний валопровода, что может потребовать проведения дополнительного анализа;
b) деформацию корпуса можно определить по сдвигу фаз на 180° вибрации в горизонтальном, вертикальном или осевом направлении на разных концах вала машины;
c) при прохождении через резонанс теоретически фаза сигнала, измеряемого в одной точке, должна резко измениться на 180° (см.
рисунок B.3). В реальности наличие ненулевого демпфирования и влияние других критических скоростей приводят к тому, что скачок фазы составляет менее 180°.
Перекос подшипника может быть обнаружен по измерениям фазы по окружности подшипника и наблюдениям за ее изменениями вследствие "качания" такого подшипника. Часто сравнительный анализ фаз сигналов первых гармоник позволяет визуализировать вибрацию и облегчает поиск неисправностей.
B.2.7 ODS-анализ
Если проведенные исследования временной формы сигнала и фазовых соотношений все же не позволили установить вид неисправности, то рекомендуется использовать анализ формы изгибных колебаний работающей машины (ODS-анализ). Он помогает выявить такие проблемы, как наклонный фундамент (см. рисунок B.8), разновысокие опоры (см.
рисунок B.9), механические ослабления в опорах и параллельное смещение осей валов. Данный вид анализа требует проведения измерений фазы и амплитуды первой гармоники частоты вращения в узловых точках сетки, нанесенной на поверхность машины или опоры, и позволяет наблюдать форму отклонений под рабочей нагрузкой при рабочих скоростях. Следует отметить, что эта форма не совпадает с модой вибрации машины (если только та не находится в состоянии резонанса), но может рассматриваться как суммарный вклад всех мод на частоте вращения. Визуализация вибрации по поверхности машины (опоры) позволяет выявить проблемы, связанные с установкой машины. Так, если наблюдается узел колебаний опоры машины, то это является явным признаком разновысоких опор или наклонного фундамента. Чтобы подтвердить этот диагноз, необходимо будет провести точные геометрические измерения на фундаменте и (или) опоре.

Рисунок B.8 - ODS в случае наклонного фундамента
([2])
Рисунок B.9 - ODS в случае разновысоких опор
([2])
Таблица B.1
Таблица неисправностей машины, участвующей
в производственном процессе
Неисправность | Основной признак | Другие признаки | Рекомендации |
Несоосность (неконцентричность) | 1-я или 1-я и 2-я, иногда 3-я гармоники | Направленная сила; сдвиг фазы на 180° при прохождении через соединение | Выровнять валы |
Механические ослабления | Спадающие амплитуды гармоник | Фазовые соотношения для определения места ослабления (подшипник, опора, анкерный болт) | Подтянуть болтовые соединения |
Зазор в подшипнике | 1-я и небольшие высшие гармоники | Направленная сила | Заменить или отремонтировать подшипник |
Напряжение в трубопроводе | 1-я гармоника частоты вращения | Направленная сила, клиппирование сигнала | Устранить натяжение во фланцевых соединениях |
"Мягкая" опора | 1-я и 2-я гармоники частоты вращения | Специальные испытания | Увеличить жесткость опоры |
Задевание (трение) | Клиппирование сигнала, вращающиеся векторы гармоник | Может вызывать обратную прецессию вала | Устранить задевание друг о друга элементов машины |
Дисбаланс | 1-я гармоника частоты вращения | Отсутствие сдвига фазы при прохождении через соединение | Уравновесить машину |
Изгиб вала | 1-я гармоника, в т.ч. на низкой скорости | На определенных скоростях может компенсироваться дисбалансом | Обратиться к изготовителю машины |
Деформация корпуса | 1-я, иногда 2-я гармоники | Сдвиг фазы на 180° на разных концах вала | Устранить деформацию |
Резонанс | Высокая вибрация на определенной частоте | Собственная частота, полученная в ходе испытаний на резонанс | Изменить скорость, увеличить жесткость или добавить массу. Иногда требуется увеличение демпфирования |
Наклонный фундамент | ODS, обычно для 1-й гармоники | "Качающаяся" ODS | Обратиться к инженеру-строителю |
Разновысокие опоры | ODS, обычно для 1-й гармоники | Небольшой наклон ODS, может присутствовать узел | Выровнять высоту опор |
(справочное)
ДИАГНОСТИРОВАНИЕ РАДИАЛЬНЫХ ГИДРОДИНАМИЧЕСКИХ ПОДШИПНИКОВ
C.1 Общие сведения
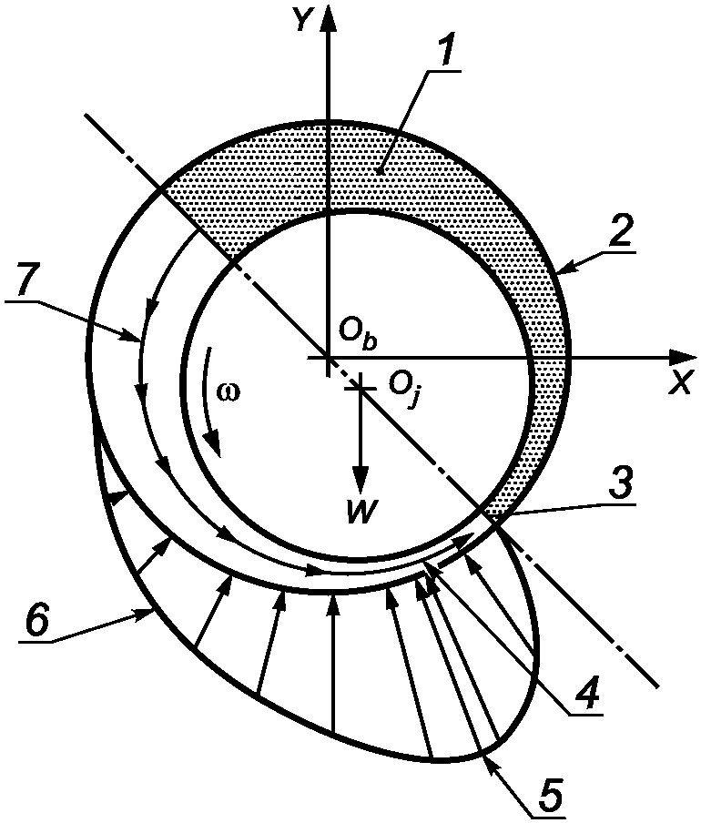
Подшипники служат опорой для вращающихся частей машины. В гидродинамических подшипниках цапфа ротора опирается на масляный, как правило, клин, образующийся в результате динамического взаимодействия вращающегося ротора и слоя масла (см. рисунок C.1).
1 - расширяющаяся масляная пленка; 2 - подшипник;
3 - минимальная толщина масляной пленки; 4 - точка
максимальной температуры масла; 5 - точка максимального
давления в слое масла; 6 - профиль гидродинамического
давления; 7 - сужающийся масляный клин; X, Y - координатные
оси; Ob - центр подшипника; Oj - центр цапфы;
W - вес ротора;

- угловая частота вращения
Примечание - Условие устойчивого вращения ротора:

и

, где

,

- суммы сил, действующих на ротор по осям
X и
Y соответственно.
Рисунок C.1 - Масляный клин в гидродинамическом подшипнике
Подшипник является только одним из узлов машины, но очень важным с точки зрения обеспечения ее жесткостных и демпфирующих свойств. В ряде случаев проблемы машины могут быть обусловлены неустойчивым поведением подшипника.
Гидродинамические подшипники используют для опирания роторов всех типов, жестких и гибких, работающих выше и ниже критических скоростей вращения. Податливость подшипниковой опоры (корпуса гидродинамического подшипника или опоры корпуса) может существенно изменяться в зависимости от степени ее старения и конструктивных особенностей машины.
C.2 Измеряемые величины
Для диагностирования подшипников важно иметь информацию о среднем положении вала и траектории его движения (орбите), что требует проведения измерений вибрации в двух направлениях под углом друг к другу. Обычно для этого используют пару ортогонально расположенных датчиков (см. рисунок C.2). Чаще из практических соображений (удобства установки и снятия) датчики располагают под углом +/- 45° к вертикальной оси (см. ИСО 10817-1).
1 - размер окружности минимального зазора по вертикали;
2 - центр подшипника; 3 - размер окружности минимального
зазора по горизонтали; 4 - орбита вала; 5 - направление
вращения; 6 - датчик 2; 7 - датчик 1
Рисунок C.2 - Измерение траектории двумя датчиками
бесконтактного типа
Среднее положение вала определяют по сигналам с датчиков, усредненных по времени, а орбита движения вала представляет собой годограф, построенный по полученным сигналам (см. рисунок C.3). На рисунке C.3 среднее положение вала и его орбита показаны в пределах окружности минимального зазора (замкнутой кривой, описываемой центром вала при его круговом перемещении с минимальным зазором по внутренней поверхности подшипника).
1 - центр подшипника; 2 - орбита вала; 3 - направление
вращения; 4 - вектор сдвига среднего положения центра вала;
5 - среднее положение центра вала; 6 - вектор
эксцентриситета; 7 - радиус окружности минимального зазора
Рисунок C.3 - Положение вала в отверстии подшипника
Изменение положения вала несет информацию о неисправностях. Так, в случае прецессии ротора на масляном клине орбита вала заполняет большую часть окружности минимального зазора, а среднее положение вала близко к центру подшипника.
На рисунке C.4 показано, как изменяется среднее положение центра вала с изменением скорости вращения. Обычно такие изменения зависят от нагрузки на подшипник. Если в процессе работы среднее положение вала близко к окружности минимального зазора (низкая скорость, высокий эксцентриситет и высокая нагрузка), то возможны задевания вала о внутреннюю поверхность подшипника. Если же среднее положение центра вала близко к центру подшипника (высокая скорость, малый эксцентриситет, низкая нагрузка), то возможен режим нестабильной работы ротора.
X - горизонтальная ось; Y - вертикальная ось;
1 - направление вращения; 2 - окружность минимального зазора
Рисунок C.4 - Изменение среднего положения центра вала
Нагрузка на подшипник изменяется вследствие действия сил внутри машины (нагруженности редуктора, давления в рабочей жидкости). Нарушение соосности валов также увеличивает нагрузку на подшипник. С помощью датчиков относительных перемещений вала можно отслеживать появление неисправностей, являющихся следствием изменившейся нагрузки или приводящих к ее изменениям.
Для машин с вертикальным расположением вала вследствие отсутствия действующей на вал силы тяжести положение его оси не будет служить характерным диагностическим признаком. Исследование состояния таких машин требует применения дополнительных мер, например предварительного нагружения подшипников.
Важными параметрами, подлежащими измерению, являются также температура подшипника и вибрация корпуса подшипника. Датчик температуры может быть встроен в подшипник, и по его показаниям можно судить об изменении нагрузки на подшипник. В идеале он должен быть установлен вблизи того места, где температура максимальна. В сегментных подшипниках такой датчик мог бы быть установлен в каждом нагруженном сегменте, а в подшипниках большой протяженности - по обеим сторонам подшипника. При заданных положениях датчиков температуры можно рассмотреть возможность применения измерительной схемы с резервированием.
Использование информации о вибрации корпуса подшипника в целях выявления и идентификации неисправности зависит от типа машины и системы подшипниковой опоры. В сочетании с бесконтактными датчиками перемещения преобразователи вибрации корпуса могут составить средство непрерывного контроля вибрации или же использоваться в определенные моменты времени. Данный вопрос рассматривается в
[12].
C.3 Вибрация в гидродинамических подшипниках
Типичные картины движения вала в гидродинамических подшипниках разных типов показаны на рисунке C.5. Простой подшипник скольжения и эллиптический подшипник имеют постоянную геометрию внутреннего отверстия, а в сегментных подшипниках она изменяется вследствие поворотов сегментов при разных условиях вращения вала.
1 - орбита вала; 2 - направление вращения; 3 - вектор
среднего положения центра вала; 4 - среднее положение
центра вала
Рисунок C.5 - Типичные картины движения вала
в гидродинамических подшипниках
Реальная вибрация может отличаться от той, что показана на
рисунке C.5. В общем, эллиптический подшипник обладает меньшей жесткостью в горизонтальном направлении, и поэтому для него можно ожидать большую горизонтальную вибрацию по сравнению с простым подшипником скольжения и сегментным подшипником. Однако ситуация может измениться в зависимости от жесткости подшипниковой опоры.
Подшипник, вибрация которого показана на
рисунке C.5 b), относится к сегментным подшипникам с опиранием вала на сегмент (шаровой палец). Из
рисунка видно, что среднее положение центра вала несколько отстоит от вертикальной оси. Это можно объяснить невертикальной реакцией шарового пальца на силу тяжести со стороны вала.
Следует отметить, что сегментным подшипникам с опиранием вала на сегмент свойственна разная жесткость в вертикальном и горизонтальном направлениях. У сегментных подшипников с опиранием вала между сегментами (шаровыми пальцами) эта асимметрия выражена меньше, поэтому для них орбита вала имеет форму, более близкую к окружности (при условии, что на нее не окажет влияния асимметрия жесткостей опоры подшипника).
Силы со стороны вала передаются через слой масла на стационарную опору подшипника, вибрацию которой обычно измеряют с помощью постоянно установленных преобразователей. Вибрацию радиальных опорных подшипников обычно измеряют в трех взаимно ортогональных направлениях.
Указанные измерения могут быть дополнены измерениями крутильной вибрации, особенно в случае, когда вращательное движение передается с вала или на вал через механический редуктор. Поэтому для анализа вибрации агрегатов, в состав которых входит валопровод, важно знать собственные частоты крутильной вибрации.
Возможные неисправности гидродинамических подшипников зависят от вида машины. Перечень некоторых из них приведен в
таблице C.1.
C.4 Диагностирование гидродинамических подшипников
C.4.1 Общие положения
Схема определения неисправностей, связанных с гидродинамическими подшипниками машины, показана на рисунке C.6, а в
таблице C.1 приведен перечень возможных неисправностей.
Рисунок C.6 - Структурная схема обнаружения и определения
неисправностей, связанных с гидродинамическими подшипниками
Таблица C.1
Таблица неисправностей, связанных с гидродинамическими
подшипниками
Неисправность | Измерения | Начальные изменения | Основные частоты | Последующие изменения | Вибрация на критической скорости | Повторяемость | Примечания |
Увеличенный зазор | Вибрация 1-й гармоники (может уменьшаться при близости резонанса) | Постепенные | 1-я гармоника | Могут появляться высшие гармоники и субгармоники, нестабильность поведения ротора | Уменьшается (если различима с 1-й гармоникой) | Есть (зависит от машины) | Обычно вызывает уменьшение жесткости, демпфирование может увеличиваться |
Разрушение баббитового слоя | Вибрация, температура | Зависит от степени разрушения | 1-я гармоника, возможны другие гармоники и субгармоники, частоты нестабильного поведения вала | Заметное изменение диагностических признаков | Может уменьшиться | | Разрушение баббита может ухудшить условия смазки и вызвать разрушение подшипника |
Коксование масла | Относительная вибрация вала | Уровень 1-й гармоники изменяется по пилообразному закону с циклом в несколько недель | 1-я гармоника | Изменения имеют циклическую природу | | Есть | Вибрация может возрасти из-за трения с подшипниковыми уплотнениями |
Ослабление подшипника в корпусе | Относительная и абсолютная вибрации вала | Могут быть связаны с установкой или техническим обслуживанием машины | 1-я и высшие гармоники и субгармоники; может приводить к нестабильности или трению; возможна направленность вибрации | | Значительно изменяется | | Влияет на общую жесткость опоры, что может вызывать нестабильное поведение ротора и задевания |
Перекос подшипника | Вибрация, температура | Связан с установкой или техническим обслуживанием машины | Возможна направленность вибрации | | | | Неравномерный зазор в подшипнике; может приводить к задеваниям |
Эффект Мортона/задевания в уплотнениях | Относительная вибрация вала, вибрация корпуса | 1-я гармоника с возможным постоянным ростом амплитуды (круговая орбита) | 1-я и 2-я гармоники | Вибрация может выйти за установленные пределы | Если частота вращения выше резонанса, то большой рост при выбеге (возможны задевания) | Не всегда | Такая вибрация может быть связана не с неисправностью подшипника |
Несоосность | Относительная вибрация вала, положение вала, вибрация корпуса | 1-я гармоника, изменение положения вала до прихода к тепловому равновесию. Удлиненная или плоская орбита. Возможны высшие гармоники | 1-я гармоника | Температура подшипников вдоль вала может расти. Возможно угловое поднятие вала. Может привести к ненагруженному состоянию подшипника или нестабильности его поведения | Может увеличиваться или уменьшаться | Есть. Может наблюдаться корреляция в рабочих условиях через их влияние на температуру | 2-я гармоника может быть следствием асимметрии вала (шпоночная канавка) или дефекта соединения, а также появляться вследствие нелинейности отклика |
Установка подшипника задом наперед | Вибрация, температура | Необычная вибрация, может приводить к нестабильности поведения вала, росту 1-й гармоники и задеваниям. Может вызывать нагрев, возмущение потока масла | | | | | Должна быть предотвращена конструктивно, но так бывает не всегда. При такой установке (или при повороте относительно нужного положения) многие подшипники работают неправильно |
C.4.2 Широкополосная вибрация
При обнаружении отклонений в работе машины первым шагом должна быть проверка относительной вибрации вала, как установлено в ИСО 7919-1. Если общий уровень вибрации невысок, то определяют среднее положение центра вала. Если данный признак демонстрирует наличие отклонения, то проверяют следующие возможные неисправности: перекос подшипника, несоосность, тепловое расширение, недостаточную/чрезмерную нагрузку на подшипник, износ подшипника.
C.4.3 Вибрация на частоте вращения вала
Ожидаемые неисправности, связанные с повышением вибрации вала на первой гармонике частоты вращения, показаны в
таблице C.1.
C.4.4 Субгармоническая вибрация
Субгармоническая вибрация может быть связана с прямой или обратной прецессией ротора.
Чаще всего причиной субгармонической вибрации является нестабильность поведения ротора на масляном клине (прямая прецессия) или вибрация масляного клина. Прецессия вала происходит в режиме автоколебаний на частоте ниже половины частоты вращения. Уровень колебаний может быть небольшим. Соответствующая частотная составляющая появляется и растет с ростом частоты вращения вала при разгоне и обычно исчезает, как только скорость вращения достигает критической. После прохождения через критическую скорость данная составляющая может появиться вновь. При достижении частотой прецессии значения, соответствующего первой критической скорости, возникает явление, известное как вибрация масляного клина. Типичный спектр такой вибрации показан на рисунке C.7
([5]). Нестабильность данного рода приводит к появлению предельного цикла колебаний ротора с большой амплитудой. При дальнейшем повышении частоты вращения ротора вибрация масляного клина будет оставаться на частоте первой критической скорости.

X - частота, мин-1; Y - размах перемещения, мкм;
1 - 1-я гармоника вибрации масляного клина (совпадает
с частотой критической скорости ротора); 2 - частота второй
критической скорости; 3 - 2-я гармоника вибрации масляного
клина; 4 - 3-я гармоника вибрации масляного клина;
5 - рабочая частота вращения ротора (5800 мин-1);
6 - 4-я гармоника вибрации масляного клина;
7 - 5-я гармоника вибрации масляного клина
Рисунок C.7 - Типичный спектр вибрации масляного клина
Другой возможной причиной прямой прецессии ротора является попадание жидкости в полость вала или в муфту соединения. При этом наблюдается вибрация на частотах, составляющих от 0,6 до 0,95 частоты вращения. Если частота субгармоники совпадает с частотой резонанса, то наблюдается субгармонический резонанс подшипника.
Обратная прецессия ротора, проявляющаяся чаще всего в виде внешних петель на орбите движения вала, может быть связана с наличием трущихся поверхностей в подшипнике.
(справочное)
ДИАГНОСТИРОВАНИЕ ПОДШИПНИКОВ КАЧЕНИЯ
D.1 Общие сведения
Подшипники качения широко используются в разнообразных машинах вращательного действия. Конструкция подшипников состоит из внутреннего и наружного колец, тел качения и направляющего их движение сепаратора.
Неисправности подшипников качения могут быть обнаружены при анализе спектра вибрации, в котором выделяют следующие характерные частоты:
a) частоту перекатывания тел качения по наружному кольцу fBPO, которая соответствует прохождениям тел качения через локальный дефект наружного кольца;
b) частоту перекатывания тел качения по внутреннему кольцу fBPI, которая соответствует прохождениям тел качения через локальный дефект внутреннего кольца;
c) частоту вращения тел качения fBS, на которой генерируется вибрация каждым телом качения при его вращении относительно сепаратора во время движения в подшипнике;
d) частоту вращения сепаратора fFT относительно оси вала.
Эти частоты могут быть рассчитаны по формулам:

, (D.1)

, (D.2)

, (D.3)

, (D.4)
где fo - частота вращения внешнего кольца;
fi - частота вращения внутреннего кольца;
N - число тел качения подшипника;
dB - диаметр тела качения;
dP - диаметр сепаратора;

- угол контакта подшипника.
D.2 Методология диагностирования
D.2.1 Общие положения
Процедура диагностирования состоит в обнаружении неисправности подшипника по результатам измерений ускорения в полосе частот от 10 Гц до 10 кГц (см. схему процесса на рисунке D.1 и карту вибрационных состояний на
рисунке D.2). Таблица неисправностей
(таблица D.1) составлена в отношении измерений в октавных полосах со среднегеометрическими частотами 4 и 8 кГц, а также других методов, требующих измерений высокочастотной вибрации вплоть до 40 кГц и выше для выделения огибающей сигнала.
Примечание - Цвета зон определены на карте вибрационных состояний
(рисунок D.2).
Рисунок D.1 - Структурная схема обнаружения и определения
неисправностей, связанных с подшипниками качения
X - среднеквадратичное значение ускорения широкополосной
вибрации (в диапазоне частот от 10 Гц до 10 кГц), м/с2;
Y - пиковое значение ускорения, м/с2; 1 - неправдоподобный
низкий уровень вибрации <a>; 2 - вибрация, соответствующая
нормальному состоянию подшипника; 3 - зона уведомления
(мягкого предупреждения) о возможной неисправности; 4 - зона
постоянного предупреждения о возможной неисправности
--------------------------------
<a> Рекомендуется провести повторные измерения.
Рисунок D.2 - Карта вибрационных состояний
для подшипников качения
Таблица D.1
Таблица неисправностей, связанных с подшипниками качения
Неисправность | Категория неисправности | Измерения | Диагностические признаки | Серьезность неисправности | Примечания (причины, следствия) |
Повреждение уровня 0 |
Несоосность внутреннего и наружного колец | Неправильная установка, неправильное нагружение | Низкочастотный спектр, спектр огибающей сил трения | Узкополосный спектр огибающей случайной силы трения на 2-й гармонике частоты вращения в осевом направлении | Низкая | |
Повышенная радиальная нагрузка | Неправильное нагружение | Низкочастотный спектр, спектр огибающей сил трения | Узкополосный спектр огибающей случайной силы трения на 1-й гармонике частоты вращения в осевом направлении | Низкая | Дисбаланс, несоосность |
Проскальзывание внутреннего кольца | Неправильная установка, дефект изготовления, неправильное нагружение | Спектр огибающей сил трения | Первая и высшие гармоники частоты вращения в спектре огибающей случайной силы трения | Высокая | Может вызвать чрезмерный нагрев и быстро ведет к выходу из строя |
Недостаточный зазор (чрезмерное расширение тел качения) | Неправильная установка, неправильное нагружение, несоответствующие рабочие условия. Внешняя среда | Низкочастотный спектр, спектр огибающей | 2-я гармоника fBS в низкочастотном спектре и в спектре огибающей сил трения | Высокая | Может вызвать перегрев подшипника |
Недостаточная или избыточная смазка | Дефект смазки | Широкополосная вибрация | Рост сил трения на высоких частотах (в октаве со среднегеометрической частотой 8 кГц) | Высокая | |
Загрязнение смазки твердыми или жидкими частицами | Дефект смазки | Широкополосная вибрация | Рост сил трения на высоких частотах (в октаве со среднегеометрической частотой 8 кГц) | Высокая | Может вызвать износ поверхностей или неправильную работу подшипника |
Ослабление в корпусе подшипника | Неправильная установка, дефект изготовления | В частотной и временной областях, низкочастотный спектр, спектр огибающей | Удары на частоте вращения и несколько гармоник или fBS с гармониками в спектре сил трения. Импульсы | Низкая или средняя | Погрешности в геометрии деталей, чрезмерные нагрузки |
Нестабильное поведение ротора | Дефект изготовления, неправильное нагружение | В частотной и временной областях, низкочастотный спектр, спектр огибающей | Удары на частоте вращения и гармониках, присутствие составляющих fBPO и fFT | Низкая, средняя или высокая | Увеличенный зазор, несоответствующие нагрузки |
Повреждение уровня 1 |
Небольшое истирание дорожки наружного кольца | Деградация подшипника 1-й стадии | Спектр огибающей сил трения | Наличие составляющей fBPO в спектре огибающей | Низкая или средняя | Связана с усталостными явлениями в зоне нагружения |
Небольшое истирание дорожки внутреннего кольца | Деградация подшипника 1-й стадии | Спектр огибающей сил трения | Наличие составляющей на 1-й гармонике частоты вращения в спектре огибающей | Средняя | Связана с усталостными явлениями в зоне нагружения |
Повреждение уровня 2 |
Выкрашивание дорожки наружного кольца | Деградация подшипника 2-й стадии | Низкочастотный спектр, спектр огибающей | Удары, модуляция сил трения на частоте fBPO и ее гармониках | Средняя | Типичное повреждение. Обычно имеет место в зоне нагружения |
Выкрашивание дорожки внутреннего кольца | Деградация подшипника 2-й стадии | В частотной и временной областях, низкочастотный спектр, спектр огибающей | Удары, модуляция сил трения на частоте fBPI и ее гармониках, модуляция на частоте вращения | Средняя или высокая | Обычно развивается после повреждения наружного кольца. Если до него, то может быть вызвана неправильной термообработкой при изготовлении |
Износ сепаратора | Деградация подшипника 2-й стадии | В частотной и временной областях, низкочастотный спектр, спектр огибающей | Модуляция сил трения на частоте fFT | Средняя или высокая | Предвестник разрыва сепаратора. Обычно указывает на несоответствующее нагружение или неправильную работу подшипника |
Повреждение уровня 3 |
Разрыв сепаратора | Деградация подшипника 3-й стадии | В частотной и временной областях, низкочастотный спектр, спектр огибающей | Удары на частоте fFT и ее гармониках, модуляция сил трения на fFT и ее гармониках | Высокая | Может серьезно повлиять на работу подшипника и привести к частичному выходу из строя |
Трещина внутреннего кольца | Деградация подшипника 3-й стадии | В частотной и временной областях, низкочастотный спектр, спектр огибающей | Удары, модуляция сил трения на fBPI и ее гармониках, модуляция на частоте вращения | Высокая | Часто быстро развивается при пуске ротора вследствие перегрева |
Повреждение тел качения | Деградация подшипника 3-й стадии | В частотной и временной областях, низкочастотный спектр, спектр огибающей | Удары на удвоенной частоте fBS, модуляция сил трения на удвоенной частоте fBS и ее гармониках, модуляция на частоте fFT. Иногда присутствует 1-я гармоника fBS | Высокая | При деградации тел качения начальные повреждения начинают развиваться быстрее |
Вмятины на поверхностях качения (бринеллирование) | Деградация подшипника 3-й стадии | В частотной и временной областях, низкочастотный спектр, спектр огибающей | Удары через регулярные промежутки времени (характерные частоты) в зависимости от локализации повреждения | Высокая | Часто является следствием неправильного транспортирования, хранения, длительного простоя (воздействие внешней вибрации) |
Бороздки на поверхностях качения | Деградация подшипника 3-й стадии | В частотной и временной областях, низкочастотный спектр, спектр огибающей | Удары через регулярные промежутки времени (характерные частоты) с очень развитыми гармониками | Высокая | Обычно вследствие электростатических разрядов в подшипнике |
Повреждение уровня 4 |
Серьезные повреждения большей части поверхностей качения | Деградация подшипника 4-й стадии | Широкополосная вибрация с фильтрацией (желательно) посторонних шумов | Сигнал становится полностью случайным, его уровень повышается более чем в 10 раз | Очень высокая | Последняя стадия развития неисправности подшипника перед его выходом из строя. Необходима замена подшипника |
Повреждение уровня 5 |
Разрушение подшипника | Деградация подшипника 5-й стадии | Широкополосная вибрация | Слабый шипящий звук | Очень высокая | После разрушения подшипника возможен отказ машины |
D.2.2 Схема диагностирования
Схема определения неисправностей подшипников качения показана на
рисунке D.1. Дефекты, связанные с ударными процессами в подшипнике, обнаруживают по измерениям пикового ускорения, а дефекты, связанные с процессами трения, - по среднеквадратичному значению ускорения.
D.2.3 Карта вибрационных состояний
На карте вибрационных состояний
(рисунок D.2) красной зоне, свидетельствующей о плохом состоянии подшипника, соответствуют высокие пиковые и среднеквадратичные значения ускорения, а зеленой зоне, свидетельствующей о хорошем состоянии подшипника, - низкие пиковые и среднеквадратичные значения ускорения. Попадание в желтую зону говорит о том, что состояние подшипника под вопросом. Если результаты измерений попадают в голубую зону, то это, скорее всего, свидетельствует об ошибке измерений, которые рекомендуется проверить и повторить.
Применять карту вибрационных состояний не рекомендуется для машин с приводом через механический редуктор (коробку передач), а также для машин, нормальная работа которых сопровождается сильным фоновым шумом.
(справочное)
СВЕДЕНИЯ О СООТВЕТСТВИИ ССЫЛОЧНЫХ МЕЖДУНАРОДНЫХ СТАНДАРТОВ
НАЦИОНАЛЬНЫМ СТАНДАРТАМ РОССИЙСКОЙ ФЕДЕРАЦИИ (И ДЕЙСТВУЮЩИМ
В ЭТОМ КАЧЕСТВЕ МЕЖГОСУДАРСТВЕННЫМ СТАНДАРТАМ)
Таблица ДА.1
Обозначение ссылочного международного стандарта | Степень соответствия | Обозначение и наименование соответствующего национального (межгосударственного) стандарта |
ISO 1925 | - | |
ISO 2041 | IDT | |
ISO 7919-1 | IDT | ГОСТ ИСО 7919-1-2002 "Вибрация. Контроль состояния машин по результатам измерений вибрации на вращающихся валах. Общие требования" |
ISO 13372 | IDT | |
ISO 13373-1 | IDT | ГОСТ Р ИСО 13373-1-2009 "Контроль состояния и диагностика машин. Вибрационный контроль состояния машин. Часть 1. Общие методы" |
ISO 13373-2 | IDT | ГОСТ Р ИСО 13373-2-2009 "Контроль состояния и диагностика машин. Вибрационный контроль состояния машин. Часть 2. Обработка, анализ и представление результатов измерений вибрации" |
<*> Соответствующий национальный стандарт отсутствует. До его утверждения рекомендуется использовать перевод на русский язык данного международного стандарта. Примечание - В настоящей таблице использовано следующее условное обозначение степени соответствия стандартов: - IDT - идентичные стандарты. |
| El-Shafei A. Measuring Vibration for Machinery Monitoring and Diagnostics. Shock and Vibration Digest. January 1993, 25 pp. 3 - 14 |
| El-Shafei A. Diagnosis of Installation Problems of Turbomachinery. Proceedings of ASME Turbo Expo, Amsterdam, The Netherlands, June 2002, ASME paper GT-2002-30284 |
| Eshleman R.L. Basic Machinery Vibrations. VIP Press, Clarendon Hills, IL, USA, 1999 |
| Eshleman R.L. Machinery Vibration Analysis II Notes. The Vibration Institute, Willowbrook, IL, USA, 1998 |
| El-Shafei A., Tawfick S.H., Raafat M.S., Aziz G.M. Some Experiments on Oil Whirl and Oil Whip. ASME Journal of Engineering for Gas Turbine and Power. January 2007, 129 (1) |
| ISO 2954, Mechanical vibration of rotating and reciprocating machinery - Requirements for instruments for measuring vibration severity |
| ISO 7919 (all parts), Mechanical vibration - Evaluation of machine vibration by measurements on rotating shafts |
| ISO 10816 (all parts), Mechanical vibration - Evaluation of machine vibration by measurements on non-rotating parts |
| ISO 10817-1, Rotating shaft vibration measuring systems - Part 1: Relative and absolute sensing of radial vibration |
[10] | ISO 13379-1, Condition monitoring and diagnostics of machines - Data interpretation and diagnostics techniques - Part 1: General guidelines |
| ISO 17359, Condition monitoring and diagnostics of machines - General guidelines |
| ISO/TR 19201, Mechanical vibration - Methodology for selecting appropriate machinery vibration standards |