Главная // Актуальные документы // ГОСТ Р (Государственный стандарт)СПРАВКА
Источник публикации
М.: Стандартинформ, 2016
Примечание к документу
Документ
введен в действие с 01.07.2017.
Название документа
"ГОСТ Р ИСО 10143-2016. Национальный стандарт Российской Федерации. Материалы углеродные для производства алюминия. Прокаленный кокс для электродов. Определение удельного электрического сопротивления частиц"
(утв. и введен в действие Приказом Росстандарта от 06.07.2016 N 818-ст)
"ГОСТ Р ИСО 10143-2016. Национальный стандарт Российской Федерации. Материалы углеродные для производства алюминия. Прокаленный кокс для электродов. Определение удельного электрического сопротивления частиц"
(утв. и введен в действие Приказом Росстандарта от 06.07.2016 N 818-ст)
Утвержден и введен в действие
по техническому регулированию
и метрологии
от 6 июля 2016 г. N 818-ст
НАЦИОНАЛЬНЫЙ СТАНДАРТ РОССИЙСКОЙ ФЕДЕРАЦИИ
МАТЕРИАЛЫ УГЛЕРОДНЫЕ ДЛЯ ПРОИЗВОДСТВА АЛЮМИНИЯ
ПРОКАЛЕННЫЙ КОКС ДЛЯ ЭЛЕКТРОДОВ. ОПРЕДЕЛЕНИЕ
УДЕЛЬНОГО ЭЛЕКТРИЧЕСКОГО СОПРОТИВЛЕНИЯ ЧАСТИЦ
Carbonaceous materials for the production of aluminium.
Calcined coke for electrodes. Determination
of the electrical resistivity of granules
(ISO 10143:2014, IDT)
ГОСТ Р ИСО 10143-2016
Дата введения
1 июля 2017 года
1 ПОДГОТОВЛЕН Открытым акционерным обществом "Уральский электродный институт" (ОАО "Уралэлектродин") на основе собственного перевода на русский язык англоязычной версии стандарта, указанного в
пункте 4
2 ВНЕСЕН Техническим комитетом по стандартизации ТК 109 "Электродная продукция"
3 УТВЕРЖДЕН И ВВЕДЕН В ДЕЙСТВИЕ
Приказом Федерального агентства по техническому регулированию и метрологии от 6 июля 2016 г. N 818-ст
4 Настоящий стандарт идентичен международному стандарту ИСО 10143:2014 "Материалы углеродные для производства алюминия. Прокаленный кокс для электродов. Определение удельного электрического сопротивления частиц" (ISO 10143:2014 "Carbonaceous materials for the production of aluminium - Calcined coke for electrodes - Determination of the electrical resistivity of granules", IDT).
Международный стандарт ИСО 10143:2014 разработан Техническим комитетом ISO/TC 226 Материалы для производства первичного алюминия.
При применении настоящего стандарта рекомендуется использовать вместо ссылочных международных стандартов соответствующие им национальные стандарты Российской Федерации, сведения о которых приведены в дополнительном
приложении ДА
5 ВВЕДЕН ВПЕРВЫЕ
Правила применения настоящего стандарта установлены в ГОСТ Р 1.0-2012 (раздел 8). Информация об изменениях к настоящему стандарту публикуется в ежегодном (по состоянию на 1 января текущего года) информационном указателе "Национальные стандарты", а официальный текст изменений и поправок - в ежемесячном информационном указателе "Национальные стандарты". В случае пересмотра (замены) или отмены настоящего стандарта соответствующее уведомление будет опубликовано в ближайшем выпуске ежемесячного информационного указателя "Национальные стандарты". Соответствующая информация, уведомление и тексты размещаются также в информационной системе общего пользования - на официальном сайте Федерального агентства по техническому регулированию и метрологии в сети Интернет (www.gost.ru)
Измерение удельного электрического сопротивления позволяет оценить степень прокалки кокса. В общем случае более прокаленный кокс будет иметь более низкое удельное сопротивление, если другие параметры, такие как размер частиц, одинаковы.
Электрическое сопротивление коксовых частиц определяет электрическое сопротивление изготавливаемых углеродных материалов.
ИСО 10143:2014 разработан Техническим комитетом ISO/TC 226 "Материалы для производства первичного алюминия". Настоящее второе издание отменяет и заменяет первое издание (ИСО 10143:1995), которое было технически пересмотрено.
Настоящий стандарт распространяется на прокаленные коксы, используемые в электродных углеродных материалах для производства алюминия, и устанавливает метод определения удельного электрического сопротивления частиц прокаленного или графитированного углерода.
Измерение удельного электрического сопротивления позволяет оценить степень прокалки кокса. В общем случае более прокаленный кокс будет иметь более низкое удельное сопротивление, если другие параметры, такие как размер частиц, одинаковы.
Электрическое сопротивление коксовых частиц определяет электрическое сопротивление изготавливаемых углеродных материалов.
Для применения настоящего стандарта обязательны следующие нормативные документы. Для датированных ссылок применяется только указанное издание. Для недатированных ссылок применяется последнее издание указанного документа (включая все изменения).
ISO 6375 Carbonaceous materials for the production of aluminium - Cokes for electrodes - Sampling (Материалы углеродные для производства алюминия. Кокс для электродов. Отбор проб)
ISO 6997 Carbonaceous materials for the production of aluminium - Calcined coke - Determination of apparent oil content - Heating method (Материалы углеродные для производства алюминия. Кокс прокаленный. Определение содержания масла. Метод нагрева)
ISO 8723 Carbonaceous materials for the production of aluminium - Calcined coke - Determination of oil content - Method by solvent extraction (Материалы углеродные для производства алюминия. Прокаленный кокс. Определение содержания масла. Метод экстракции растворителем)
ISO 11412 Carbonaceous materials for the production of aluminium - Calcined coke - Determination of water content (Материалы углеродные для производства алюминия. Прокаленный кокс. Определение содержания воды)
Фиксированный постоянный электрический ток пропускают через пробу кокса с размером частиц от 0,5 до 1,0 мм, помещенную в матрицу под давлением, обеспечивающим оптимальный электрический контакт. Измеряют падение напряжения и высоту столбика кокса и рассчитывают удельное электрическое сопротивление.
Используют стандартную лабораторную аппаратуру, включающую следующее оборудование:
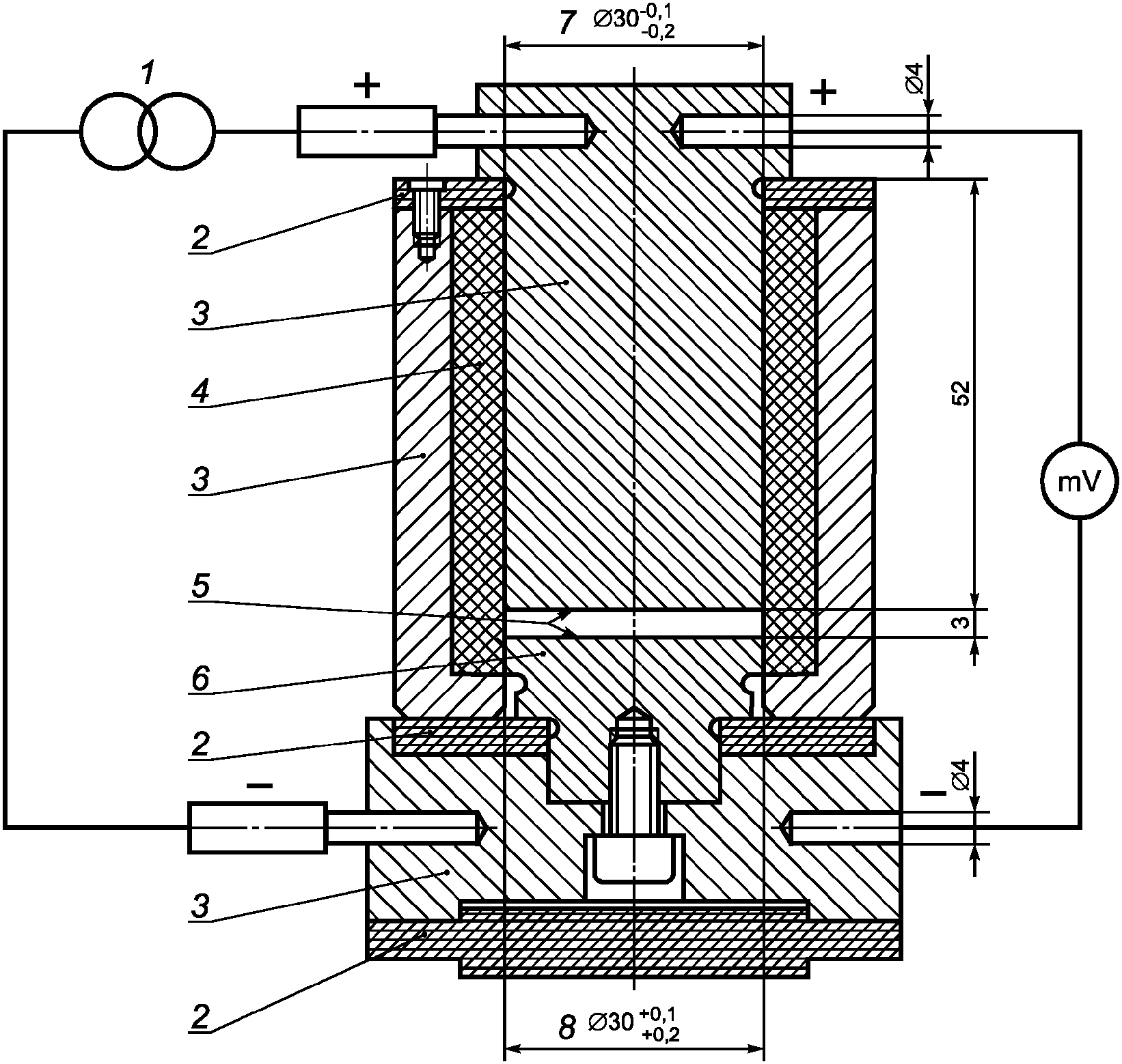
4.1 Матрица для пробы кокса со съемным основанием для чистки и плунжер, приведенные на
рисунке 1.
1 - источник постоянного тока в 1 А; 2 - электроизоляционные
прокладки PTFE; 3 - медный цилиндр сравнения; 4 - агат;
5 - твердо-хромистые поверхности; 6 - нержавеющая сталь;
7 - плунжер; 8 - матрица
Рисунок 1 - Матрица для пробы кокса и плунжер.
Схема электрической цепи установки
4.2 Измеритель перемещения плунжера, обеспечивающий точность измерения +/- 0,02 мм.
4.3 Медный цилиндр сравнения высотой (20 +/- 0,01) мм и диаметром 29 мм, использующийся для калибровки измерителя перемещения
(4.2).
4.4 Машина испытательная, имеющая центрирующее устройство матрицы (см.
4.1), обеспечивающая постоянное давление на плунжер 3 МПа +/- 1%. Скорость движения плунжера не более 50 мм/с (см.
4.1).
4.5 Источник постоянного тока, обеспечивающий силу тока (1 +/- 0,002) А.
4.6 Вольтметр, обеспечивающий измерение с точностью до +/- 0,01 мВ.
4.7 Шкаф сушильный, поддерживающий температуру (120 +/- 2) °C.
5 Отбор и подготовка пробы
5.1 Отбор пробы
Отбор пробы кокса осуществляют в соответствии с ИСО 6375.
5.2 Предварительная подготовка пробы прокаленного нефтяного кокса
Пробу помещают в сушильный шкаф
(4.7) и выдерживают при температуре (110 +/- 2) °C в течение 12 ч в соответствии с ИСО 11412. Удаляют масло путем экстракции дихлорметаном в соответствии с ИСО 8723 или путем нагревания в соответствии с ИСО 6997.
Измельчают пробу материала с размером частиц более 1,4 мм до полного прохождения через сито 1,4 мм в щековой дробилке с ходом подвижной щеки 1,5 мм. Рассеивают с использованием сит 1,4 и 1,0 мм. Фракцию от 1,0 до 1,4 мм используют для дальнейшей подготовки пробы для анализа.
5.3 Подготовка пробы
Рассеивают пробу кокса на три фракции с размером частиц:
- фракция I | более 1,0 мм; |
- фракция IIa | от 0,5 до 1,0 мм; |
- фракция III | менее 0,5 мм. |
Фракцию I измельчают до полного прохождения через сито 1 мм и отсевают фракцию от 0,5 до 1,0 мм (фракция IIb).
Перемешивают фракции IIa и IIb. Полученную пробу с размером частиц от 0,5 до 1,0 мм используют для анализа.
Подготовленную пробу обрабатывают с использованием дихлорметана в соответствии с ИСО 8723.
Пробу помещают в сушильный шкаф и выдерживают при температуре (120 +/- 2) °C в течение 30 мин, затем помещают в эксикатор. Остывшую пробу взвешивают с точностью до 1 г. Процесс нагрева, охлаждения и взвешивания повторяют до тех пор, пока разница между двумя последующими взвешиваниями будет не более 1% от начальной массы образца.
6.1 Подготовка пробы к испытанию
Для анализа отбирают (15 +/- 0,1) г смеси фракций IIa и IIb.
6.2 Подготовка испытательной машины
Устанавливают медный цилиндр сравнения
(4.3) в матрицу (см.
4.1).
Устанавливают матрицу с плунжером
(4.1) в испытательную машину
(4.4) и устанавливают давление 3 МПа. Устанавливают измеритель перемещения для измерения линейных размеров к уровню сравнения в 20 мм.
Подсоединяют электрические провода и включают источник тока
(4.5).
6.3 Определение
Засыпают испытуемую пробу в матрицу, устанавливают плунжер и собранное устройство в испытательную машину.
Задают давление 3 МПа к испытуемой пробе, выдерживают 30 с и измеряют падение напряжения на образце и высоту столбика пробы.
6.4 Число определений
Производят два определения, используя свежеприготовленную порцию пробы для каждого определения.
Тщательно очищают поверхности основания и плунжера после каждого определения.
Рассчитывают удельное электрическое сопротивление

, мкОм·м, по формуле

, (1)
где
S - площадь матрицы, мм
2 (707 мм
2 для матрицы, приведенной на
рисунке 1);
U - падение напряжения, мВ;
I - сила тока, А (1 +/- 0,002 А);
h - высота столбика кокса, мм.
За результат определения принимают среднее арифметическое из двух определений.
--------------------------------
<1> Для получения данных по прецизионности была использована датированная ссылка на ИСО 5725, который был технически пересмотрен и заменен серией стандартов ИСО 5725 (части 1 - 6) под общим заголовком "Точность (правильность и прецизионность) методов и результатов измерений". Для целей настоящего метода использован ИСО 5725-2 Точность (правильность и прецизионность) методов и результатов измерений. Часть 2. Основной метод определения повторяемости и воспроизводимости стандартного метода измерений (ISO 5725-2 Accuracy (trueness and precision) of measurement methods and results. Part 2: Basic method for the determination of repeatability and reproducibility of a standard measurement method). Для однозначного соблюдения требований настоящего стандарта, выраженных в недатированных ссылках, рекомендуется использовать данный ссылочный стандарт.
8.1 Повторяемость
Разность между величинами двух определений, выполненных в одинаковых условиях одним и тем же оператором с использованием одного и того же оборудования на пробах, взятых из одного и того же испытуемого материала, не должна превышать 3%.
8.2 Воспроизводимость
Разность между величинами средних значений двух определений, полученных двумя лабораториями, использующими этот метод для анализа одного и того испытуемого материала, не должна превышать 5%.
В протокол испытаний должна быть включена следующая информация:
a) полная идентификация пробы;
b) ссылка на настоящий стандарт;
c) размер частиц использованной фракции кокса;
d) результаты определения показателя в соответствии с
разделом 7;
e) любые необычные особенности, отмеченные в ходе определения;
f) любые действия, не включенные в настоящий стандарт или считающиеся необязательными.
(справочное)
СВЕДЕНИЯ О СООТВЕТСТВИИ ССЫЛОЧНЫХ МЕЖДУНАРОДНЫХ СТАНДАРТОВ
НАЦИОНАЛЬНЫМ СТАНДАРТАМ РОССИЙСКОЙ ФЕДЕРАЦИИ
Таблица ДА.1
Обозначение ссылочного международного стандарта | Степень соответствия | Обозначение и наименование соответствующего национального стандарта |
ISO 6375 | - | |
ISO 6997 | - | |
ISO 8723 | - | |
ISO 11412 | IDT | ГОСТ Р ИСО 11412-2014 "Материалы углеродные для производства алюминия. Прокаленный кокс. Определение содержания воды" |
<*> Соответствующий национальный стандарт отсутствует. До его принятия рекомендуется использовать перевод на русский язык данного международного стандарта. Примечание - В настоящей таблице использовано следующее условное обозначение степени соответствия стандарта: - IDT - идентичный стандарт. |
УДК 621.3.035:006.354 | | |
Ключевые слова: материалы углеродные, производство алюминия, прокаленный кокс для электродов, удельное электрическое сопротивление |