Главная // Актуальные документы // ГОСТ Р (Государственный стандарт)СПРАВКА
Источник публикации
М.: Стандартинформ, 2017
Примечание к документу
Документ
введен в действие с 01.07.2018.
Название документа
"ГОСТ Р МЭК 62194-2017. Национальный стандарт Российской Федерации. Метод оценки тепловых характеристик корпусов электронной аппаратуры"
(утв. и введен в действие Приказом Росстандарта от 08.11.2017 N 1705-ст)
"ГОСТ Р МЭК 62194-2017. Национальный стандарт Российской Федерации. Метод оценки тепловых характеристик корпусов электронной аппаратуры"
(утв. и введен в действие Приказом Росстандарта от 08.11.2017 N 1705-ст)
Утвержден и введен в действие
агентства по техническому
регулированию и метрологии
от 8 ноября 2017 г. N 1705-ст
НАЦИОНАЛЬНЫЙ СТАНДАРТ РОССИЙСКОЙ ФЕДЕРАЦИИ
МЕТОД ОЦЕНКИ ТЕПЛОВЫХ ХАРАКТЕРИСТИК КОРПУСОВ
ЭЛЕКТРОННОЙ АППАРАТУРЫ
Method of evaluating the thermal performance of enclosures
of electronic apparatus
(IEC 62194:2005,
Method of evaluating the thermal performance of enclosures,
IDT)
ГОСТ Р МЭК 62194-2017
Группа Э02
Дата введения
1 июля 2018 года
1 ПОДГОТОВЛЕН Открытым акционерным обществом "Авангард" (ОАО "Авангард") на основе официального перевода на русский язык англоязычной версии указанного в
пункте 4 стандарта, который выполнен российской комиссией экспертов МЭК/ТК 48D
2 ВНЕСЕН Техническим комитетом по стандартизации ТК 420 "Базовые несущие конструкции, печатные платы, сборка и монтаж электронных модулей", подкомитетом ПК-1 "Базовые несущие конструкции радиоэлектронных средств (РЭС)"
3 УТВЕРЖДЕН И ВВЕДЕН В ДЕЙСТВИЕ
Приказом Федерального агентства по техническому регулированию и метрологии от 8 ноября 2017 г. N 1705-ст
4 Настоящий стандарт идентичен международному стандарту МЭК 62194:2005 "Метод оценки тепловых характеристик корпусов" (IEC 62194:2005 "Method of evaluating the thermal performance of enclosures, IDT).
Наименование настоящего стандарта изменено относительно наименования указанного международного стандарта для приведения в соответствие с ГОСТ Р 1.5-2012
(пункт 3.5).
Дополнительная информация, необходимая для применения настоящего стандарта на территории Российской Федерации, приведена в тексте стандарта в виде сносок и выделена курсивом.
При применении настоящего стандарта рекомендуется использовать вместо ссылочных международных стандартов соответствующие им национальные стандарты Российской Федерации, сведения о которых приведены в дополнительном
приложении ДА
5 ВВЕДЕН ВПЕРВЫЕ
6 ФГУП "Стандартинформ" не несет ответственности за патентную чистоту настоящего стандарта. Патентообладатель может заявить о своих правах и направить во ФГУП "Стандартинформ" аргументированное предложение о внесении изменений в настоящий стандарт поправки для указания информации о наличии в стандарте объектов патентного права и о патентообладателе
Правила применения настоящего стандарта установлены в статье 26 Федерального закона от 29 июня 2015 г. N 162-ФЗ "О стандартизации в Российской Федерации". Информация об изменениях к настоящему стандарту публикуется в ежегодном (по состоянию на 1 января текущего года) информационном указателе "Национальные стандарты", а официальный текст изменений и поправок -
в ежемесячном информационном указателе "Национальные стандарты". В случае пересмотра (замены) или отмены настоящего стандарта соответствующее уведомление будет опубликовано в ежемесячном информационном указателе "Национальные стандарты". Соответствующая информация, уведомление и тексты размещаются также в информационной системе общего пользования -
на официальном сайте Федерального агентства по техническому регулированию и метрологии в сети Интернет (www.gost.ru)
При применении корпусов электронного оборудования с электронными компонентами очень важен учет климатических условий, так как работа электронных приборов происходит под влиянием температуры окружающей среды. От тепловой нагрузки и солнечного излучения корпус нагревается. Из-за недостаточной теплопроводности поверхностей корпуса может потребоваться устройство контроля климатических условий для поддержания необходимых условий внутри корпуса. Для конструкции корпуса эффект солнечного излучения оценивается по постоянному солнечному излучению или по фиксированным значениям тепловой нагрузки. Более близкое рассмотрение излучения позволяет получить более точный и недорогой метод оценки тепловой производительности корпуса.
В настоящее время существуют стандарты, определяющие условия окружающей среды корпусов для наружного применения, - IEC 61969-3 и EN 300019, и корпусов для внутренних помещений, - IEC 60721, EN 300019 и IEC 61587-1.
Стандарты, относящиеся к размерам корпусов для наружного применения, - IEC 61969-1 и IEC 61969-2, и корпусов для внутренних помещений - IEC 60297-2, EN 300119 и IEC 60917-2.
По требованиям пользователей и производителей комплексное улучшение характеристик тепловой защиты полых корпусов может быть дополнено. Настоящий стандарт устанавливает методику оценки тепловой защиты корпусов.
--------------------------------
<1> Внесено редакционное изменение текста по отношению к тексту применяемого стандарта МЭК для приведения в соответствие с терминологией, принятой в Российской Федерации.
Настоящий стандарт устанавливает метод оценки тепловых характеристик полых корпусов, устанавливаемых в помещении в соответствии с МЭК 60917 и МЭК 60297 и корпусов для наружной установки в соответствии с МЭК 61969.
Настоящий стандарт содержит критерии для определения коэффициентов поглощения тепла, связанные:
- с принципами исполнения корпуса;
- внутренней тепловой нагрузкой;
- солнечным излучением.
Коэффициент поглощения корпуса предназначен для обеспечения общего значения для сравнения и выбора корпуса, построенного в соответствии с настоящим стандартом.
В настоящем стандарте использованы нормативные ссылки на следующие международные стандарты. Для недатированных ссылок применяют последнее издание указанного нормативного документа (включая все его изменения).
IEC 60297 (все части), Dimensions of mechanical structures of the 482,6 mm (19 in) series (Размеры механических конструкций серии 482,6 мм (19")
IEC 60721-2-4, Classification of environmental conditions - Part 2-4: Environmental conditionsappearing in nature - Solar radiation and temperature (Классификация внешних воздействующих факторов. Часть 2-4. Природные внешние воздействующие факторы. Солнечное излучение и температура)
IEC 60917 (все части), Modular order for the development of mechanical structures for electronic equipment practices (Модульный принцип построения базовых несущих конструкций для электронного оборудования)
IEC 61969 (все части), Mechanical structures for electronic equipment - Outdoor enclosures (Механические конструкции для электронного оборудования. Корпуса для наружной установки)
3 Определения и обозначения
3.1 Определения основных типов корпусов
Основные типы корпусов представлены на рисунке 1.
A - корпуса с одинарными стенками; B - корпуса с двойными
стенками (с изоляцией, без изоляции; с потоком воздуха
или без потока воздуха); C - корпуса с одинарными стенками
и солнечным экраном; D - корпуса с двойными стенками
и солнечным экраном (с изоляцией, без изоляции; с воздушным
потоком или без воздушного потока)
Рисунок 1 - Типы корпусов
Примечание - Конструкция корпуса влияет на теплопередачу.
A - область поверхности корпуса, исключая дно, м2;

- коэффициент поглощения материала;

- коэффициент поглощения корпуса;
AW - поперечное сечение двойной стенки корпуса, м2;
aw - угол азимутального положения стенки;
a0 - азимутальное положение солнца (угол);
cF - поправочный коэффициент для расчета двойной стенки (простой метод);
cp, air - удельная теплоемкость воздуха, Дж/(кг·К);
h - угол наклона солнца;
k - коэффициент теплопередачи, Вт/(м2·К);
P - тепловая нагрузка, Вт;

- теплопередача через стенки корпуса, вызванная трансмиссией, Вт;

- теплопередача потоком воздуха между двойными стенками корпуса, Вт;

- диффузия солнечного излучения, Вт/м
2;

- солнечное излучение, полученное на горизонтальные поверхности, Вт/м
2;

- удельная внутренняя тепловая нагрузка, Вт/м
2;

- общее солнечное излучение (перпендикулярное направление к солнцу), полученное из атмосферы, Вт/м
2;

- солнечное излучение (прямое/диффузное) на стенки конструкции, Вт/м
2;
sj - толщина материала j, используемого для стенки, м;
TA - температура окружающего воздуха, К;
TW - температура стенки с внешней стороны корпуса, К;
ta - температура окружающего воздуха, °C;
ta, max - максимальная температура окружающего воздуха, °C;
ti - средняя температура внутри конструкции, °C;
ti, max - максимально допустимая температура внутри корпуса, °C;
tm - температура воздуха между двойными стенками корпуса, °C;
tw - температура стенки с внешней стороны корпуса, °C;
twi - температура стенки с внутренней стороны корпуса, °C;
w - скорость ветра, м/с;
ww - скорость воздушного потока между двойными стенками корпуса, м/с;

- коэффициент конвекционной передачи тепла снаружи корпуса, Вт/(м
2·К);

- коэффициент конвекционной передачи тепла внутри корпуса, Вт/(м
2·К);

- коэффициент конвекционной передачи излучения, Вт/(м
2·К);

- коэффициент излучения поверхностной обработки корпуса;

- угол падения, град.;

- теплопроводность материала
j стенки корпуса, Вт/(м
2·К);

- плотность воздуха, кг/м
3.
4 Технологическая схема для определения коэффициента поглощения
На
рисунке 2 представлена технологическая схема различных действий, которые необходимы для определения тепловых характеристик корпуса.
Рисунок 2 - Технологическая схема для определения
коэффициента поглощения
Подробная информация о различных этапах действий приведена в содержании этой схемы.
5 Определение тепловой нагрузки
Для тепловых характеристик корпуса важно знать тепловую нагрузку во внутреннем пространстве корпуса. Если тепловая нагрузка установленных компонентов неизвестна, то для определения потребления энергии установленного оборудования может быть использована формула для оценки внутренней тепловой нагрузки

(1)
6 Условия окружающей среды
6.1 Применение на открытом воздухе
6.1.1 Пределы температуры окружающей среды
Пределы температур окружающей среды необходимы для вычислений:
- максимальной температуры окружающей среды ta, max, °C;
- максимально допустимой температуры внутри корпуса ti, max, °C.
6.1.2 Солнечное излучение
Общее количество солнечного излучения

измеряют в Вт/м
2. Это зависит от места установки корпуса, времени дня, времени года, коэффициента загрязненности атмосферы. Коэффициент загрязнения в Ангстремах выражает степень рассеивания и поглощения аэрозольных частиц в атмосфере. Более подробная информация приведена в МЭК 60721-2-4.
Общее солнечное излучение состоит из прямого и рассеянного излучений. Ниже описаны различные способы для определения солнечного излучения для корпуса с помощью:
a) измерения общего количества солнечного излучения при перпендикулярном попадании его на одну из отдельных поверхностей корпуса;
b) измерения глобального излучения на месте установки. Количественная характеристика должна быть преобразована для отдельных поверхностей корпуса. Это может быть дополнено использованием геометрического уравнения, представленного
формулой (B.2) (приложение B);
c) использования метеорологических таблиц. Должно быть определено количество излучения, попадающего перпендикулярно на поверхность корпуса. Должен быть установлен метод определения солнечного излучения.
6.1.3 Ветер
Скорость ветра и температура воздуха окружающей среды влияют на теплопроводность на поверхности корпуса. Если не используется основная формула для определения коэффициентов конвекционной теплопередачи для наружных

и внутренних

поверхностей корпуса, то допускается использовать значения, приведенные в таблице 1. Значения зависят от скорости ветра.
Таблица 1
Коэффициенты конвекционной теплопередачи
Скорость ветра w, м/с | 0,3 | 0,5 | 1 | 3 | 5 | 10 | 20 |
Внешний  , Вт/(м 2·К) и внутренний  , Вт/(м 2·К) коэффициенты теплопередачи | 3,3 | 4,5 | 7 | 15 | 25 | 38 | 66 |
Так как встроенные компоненты корпуса могут содержать в себе встроенные вентиляторы, внутри корпуса присутствует принудительный поток воздуха, превышающий естественную конвекцию. Если известен внутренний поток воздуха, то используют значения из
таблицы 1. Если скорость ветра принимается за 1 м/с, то коэффициент конвекционной передачи тепла внутри конструкции

вычисляют по формуле

(2)
6.2 Применение внутри помещений
Пределы температур окружающей среды для применения внутри помещений:
- максимальная температура окружающей среды ta, max, °C;
- максимально допустимая температура внутри корпуса ti, max, °C.
7 Определение коэффициента поглощения корпуса
7.1 Комплект измерительной аппаратуры
Комплект измерительной аппаратуры для испытаний, представленный на
рисунке 3, измеряет коэффициент поглощения корпуса, который получен при измерениях самой большой стенки. Стенка должна быть направлена на юг в северном полушарии и на север - в южном полушарии. Температурный сенсор a) будет размещен в центре стенки, на которой проводят измерения. Источник тепла будет вмонтирован внутри корпуса для стимуляции тепловой нагрузки. Тепловую нагрузку

выбирают равной 250 Вт/м
2.
Рисунок 3 - Пример измерительного оборудования
для измерения коэффициента поглощения корпуса
В устойчивом состоянии определяют следующие величины:
- солнечное излучение (прямое и диффузное) на стенку корпуса

, Вт/м
2;
- температура воздуха окружающей среды ta, °C;
- температура стенки снаружи корпуса tw, °C;
- скорость ветра w, м/с.
Сенсоры b), c) и d) будут приложены таким образом, что действие обратной силы испытуемого образца на сенсоры исключается.
Примечание 1 - Если глобальное излучение

измерено, то оно будет преобразовано в соответствии с
формулой (B.2) (приложение B) при условии, что излучение падает перпендикулярно на стенку.
Коэффициент поглощения конструкции вычисляют по формулам:

(3)

(4)
где

- внутренняя тепловая нагрузка (для определения см.
раздел 5) в соответствии с
7.1, Вт/м
2;

- солнечное излучение (прямое и диффузное) на стенку корпуса, Вт/м
2;
TA - температура окружающей среды, К;
TW - температура стенки на наружной стороне корпуса, К;

- коэффициент конвекционной теплопередачи снаружи, в соответствии с
разделом 6, Вт/(м
2·К);

- коэффициент радиационной теплопередачи, Вт/(м
2·К).
Если коэффициент поглощения вычислен по
формуле (3), то все параметры, используемые для обработки, будут зарегистрированы. Определенные соответствующие условия окружающей среды могут быть изменены, если иные условия окружающей среды будут актуальны.
Примечание 1 - Новые измерения необходимы, если меняется цвет корпуса, коэффициент поглощения корпуса зависит от цвета его поверхности.
Примечание 2 - Отражение солнечного излучения и излучательная способность s поверхности корпуса неявно включены в
формулу (3) как результат измерения
7.1.
Примечание 3 - Температуры, указанные в градусах Цельсия, могут быть трансформированы в Кельвины с помощью следующей формулы:

(5)
8 Результат и его описание
8.1 Сравнение различных исполнений корпусов
Различные исполнения корпуса могут сравниваться посредством сравнения коэффициентов поглощения корпуса в соответствии с
разделом 7. Коэффициент поглощения корпуса также содержит информацию для определения средней внутренней температуры корпуса. Подробности приведены в
8.4 и
8.5.
Меньшее значение величины

указывает на хорошую тепловую защиту корпуса относительно воздействия солнечного излучения. Внутренняя температура корпуса может ожидаться более низкой.
Большее значение величины

указывает на обратное.
Пример - Измерения в соответствии с разделом 7 различных конструкций корпусов с одинаковыми размерами, одинаковыми поверхностными обработками из одинаковых материалов и будут влиять на следующие факторы поглощения корпуса:
a) одностенные корпуса 
b) корпус с двойными стенками (без изоляции и вентиляции) 
c) корпус с двойными стенками (с вентиляцией между двойной стенкой) 
d) одностенный корпус с защитой от солнца 
Итог.
Поскольку
, внутренние температуры различных корпусов при одинаковых солнечной и тепловой нагрузках будут такими же: ti,3 < ti,4 < ti,1 < ti,2.
8.2 Теплопередача через стенки
Для одностенного корпуса теплопередачу через стенки вычисляют по формуле

(6)
где A - площадь поверхности корпуса, за исключением дна, м2;
k - коэффициент теплопередачи согласно
приложению A, Вт/(м
2·К);
ta - температура окружающей среды, °C;
ti - средняя температура внутри корпуса, °C.
Рисунок 4 - Теплопередача через стенки корпуса
8.3 Воздушный поток между стенками
Если есть воздушный поток между стенками корпуса с двойными стенками, то теплопередачу вычисляют по формуле (см. также
рисунок 5)

(7)
где

;

;
AW - поперечное сечение двойной стенки корпуса, м2;
cp, air - удельная теплоемкость воздуха, Дж/(кг·К);

- теплопередача воздушного потока между двойными стенками корпуса, Вт;
ta - температура окружающей среды, °C;
tm - температура воздуха между двойными стенками корпуса, °C;
wW - скорость воздушного потока между двойными стенками корпуса, м/с;

- воздушное давление, кг/м
3.
Примечание - Если сложно определить температуру воздуха tm между двойными стенками корпуса и если tm не измерена, допустимо использовать температуру стенок, вычисленную для примерного расчета по формуле

(8)
где tm - температура воздуха между двойными стенками корпуса, °C;
tw - температура стенки снаружи конструкции, °C;
twi - температура внутренней стенки конструкции, °C.
Рисунок 5 - Воздушный поток между стенками
При использовании
формулы (8) температуры
tm,
tw или
twi должны быть измерены в верхней части стенки.
8.4 Результаты расчета для корпусов с одинарными стенками
Метод расчета внутренней температуры для корпуса с одинарной стенкой может быть представлен с помощью использования коэффициента поглощения корпуса

.
Основой расчета является
формула (3). Для более простого расчета принимается, что коэффициент поглощения корпуса одинаков для всех его стенок.
Среднюю температуру внутри корпуса вычисляют по формуле

(9)
где A - площадь поверхностей корпуса, за исключением дна, м2;
Ax - площадь стенки x (м2);

- коэффициент поглощения корпуса;

- внутренняя тепловая нагрузка (в соответствии с
разделом 5), Вт/м
2;

- солнечное излучение (прямое и диффузное) на стенку корпуса
x, Вт/м
2;
ta - температура окружающей среды, °C;
ti - средняя температура внутри корпуса, °C;

- коэффициент конвекционной теплопередачи снаружи (в соответствии с
разделом 6), Вт/(м
2·К);

- коэффициент конвекционной теплопередачи внутри (в соответствии с
разделом 6), Вт/(м
2·К);

- коэффициент теплопередачи излучением, Вт/(м
2·К);
x - идентификатор для стенок (R - для крышки, EW - для восточной стенки, NW - для северной стенки, WW - для западной стенки и SW - для южной стенки).
В таблице 2 приведены параметры, необходимые при расчете. Подробный пример для этого расчета приведен в
пункте C.1 (приложение C).
Таблица 2
Параметры расчета для корпусов с одной стенкой
Габаритные размеры | Ширина, высота, глубина |
Коэффициент поглощения корпуса | |
Солнечное излучение на стенках | |
Окружающая среда | |
Внутренняя тепловая нагрузка | |
8.5 Результаты расчета для корпусов с двойными стенками (простой метод)
Простой метод расчета внутренней температуры корпуса с двойной стенкой осуществляют с помощью следующих двух этапов.
Этап 1. Расчет ожидаемых внутренних температур для каждой стенки корпуса
ti,x в соответствии с формулой

(10)
где Ax - поверхность стенки x, м2;

- коэффициент поглощения корпуса;
AW - поперечное сечение двойной стенки, м2;
cF - поправочный коэффициент для расчета двойной стенки (простой метод);
cp, air - удельная теплоемкость воздуха, Дж/(кг·К);

- внутренняя тепловая нагрузка (в соответствии с
разделом 5), Вт/м
2;

- солнечное излучение (прямое и рассеянное) на стенку корпуса
x, Вт/м
2;
ta - температура окружающей среды, °C;
ti,x - предварительно рассчитанная внутренняя температура, просчитанная по стенке x (корпус с двойной стенкой), °C;
ww - скорость воздушного потока между двойными стенками корпуса, м/с;

- коэффициент конвекционной теплопередачи снаружи (в соответствии с
разделом 6), Вт/(м
2·К);

- коэффициент конвекционной теплопередачи внутри (в соответствии с
разделом 6), Вт/(м
2·К);

- коэффициент теплопередачи излучением, Вт/(м
2·К);

- плотность воздуха, кг/м
3;
x - идентификатор для стенок (R - для крышки, EW - для восточной стенки, NW - для северной стенки, WW - для западной стенки и SW - для южной стенки).
Примечание 1 - Согласно различным упрощениям для этого метода необходимо использовать поправочный коэффициент cF. Диапазон для cF составляет от 3,6 до 3,9.
Примечание 2 - Если скорость потока воздуха между двойными стенками ww неизвестна, то могут быть использованы значения от 0,2 до 0,4 м/с.
Этап 2. Расчет внутренней температуры корпуса
ti путем усреднения результатов
этапа 1 согласно формуле

(11)
где A - площадь поверхностей корпуса за исключением дна, м2;
Ax - площадь стенки x, м2;
ti - средняя температура внутри корпуса, °C;
ti,x - предварительно рассчитанная внутренняя температура, просчитанная по стенке x (корпус с двойной стенкой), °C;
x - идентификатор для стенок (R - для крышки, EW - для восточной стенки, NW - для северной стенки, WW - для западной стенки и SW - для южной стенки).
Параметры, необходимые для простого расчета, приведены в таблице 3. Подробный пример для этого расчета приведен в
C.2 (приложение C).
Таблица 3
Параметры для расчета внутренней температуры корпуса
с двойной стенкой (простой метод)
Габаритные размеры | Ширина, высота, глубина |
Поперечное сечение двойной стенки | AW |
Коэффициент поглощения корпуса | |
Солнечное излучение на стенках | |
Окружающая среда | |
Скорость воздушного потока между двойными стенками | Ww |
Внутренняя тепловая нагрузка | |
Поправочный коэффициент | cF |
Если требуется более точный метод определения внутренней температуры корпуса с двойной стенкой, то можно применить метод итерации, представленный в
D.1 (приложение D) и пример для этого метода в
D.2 (приложение D).
(обязательное)
КОЭФФИЦИЕНТ ТЕПЛОПЕРЕДАЧИ
Коэффициент теплопередачи k, Вт/(м2·К), вычисляют по формуле

(A.1)
где sj - толщина материала j, который использован для стенок, м;

- коэффициент конвекционной теплопередачи снаружи корпуса, Вт/(м
2·К);

- коэффициент конвекционной теплопередачи внутри корпуса, Вт/(м
2·К);

- теплопроводность материала
j, который использован для стенок, Вт/(м·К).
(справочное)
ГЕОМЕТРИЧЕСКИЕ ЗАВИСИМОСТИ ДЛЯ СОЛНЕЧНОГО ИЗЛУЧЕНИЯ
При преобразовании воздействующего солнечного излучения на вертикальные поверхности следует рассматривать угловые наклоны.
Рисунок B.1 представляет схематический обзор. Измеренные углы применимы на северном полушарии, в южном полушарии углы должны быть заменены.
Рисунок B.1 - Геометрические углы наклона
при воздействии солнечного излучения
Солнечное излучение, которое воздействует на вертикальные поверхности, вычисляют по формуле

(B.1)
Если суммарное излучение определено, то солнечное излучение вычисляют по формуле

(B.2)
где

- угол азимута солнца;

- угол азимута стены;
h - угол высоты солнца;

- диффузное солнечное излучение, Вт/м
2;

- солнечное излучение, полученное на горизонтальной поверхности, Вт/м
2;

- общее солнечное излучение (перпендикулярное направление к солнцу), полученное из атмосферы, Вт/м
2;

- солнечное излучение (прямое и рассеянное) на стенки корпуса, Вт/м
2;

- угол падения.
(справочное)
ПРИМЕР РАСЧЕТА ДЛЯ ОДИНАРНОЙ И ДВОЙНОЙ СТЕНОК
C.1 Пример расчета для одинарной стенки
Пример показывает, как рассчитывать среднюю внутреннюю температуру для корпуса с одинарной стенкой согласно
8.4.
Установленные параметры представлены в таблице C.1.
Таблица C.1
Установленные параметры для расчета корпуса
с одинарной стенкой
Размеры корпуса | ширина, м | 0,60 |
высота, м | 1,20 |
глубина, м | 0,60 |
Коэффициент поглощения корпуса,  | 0,60 |
Температура окружающей среды, ta,°C | 30 |
Коэффициенты теплопередачи |  , Вт/(м 2·К) | 5,0 |
 , Вт/(м 2·К) | 10,0 |
 , Вт/(м 2·К) | 6,8 |
Солнечное излучение на стенки |  , Вт/м 2 | 1061 |
 , Вт/м 2 | 78 |
 , Вт/м 2 | 78 |
 , Вт/м 2 | 78 |
 , Вт/м 2 | 325 |
Тепловая нагрузка, P, Вт | 250 |
Затем определяют значения:
A = 3,24 м2;
AR = 0,36 м2;
AEW = AWW = ANW = ASW = 0,72 м2;
Среднюю температуру внутри корпуса
ti можно вычислить по
формуле (11)
ti = 56,8 °C.
C.2 Пример расчета корпуса с двойными стенками (простой метод)
Пример показывает расчет средней внутренней температуры корпуса с двойными стенками согласно
8.5.
Установленные параметры приведены в таблице C.2.
Таблица C.2
Установленные параметры для расчета корпуса
с двойными стенками (простой метод)
Размеры корпуса | ширина, м | 0,60 |
высота, м | 1,20 |
глубина, м | 0,60 |
Поперечное сечение двойной стенки, AW, м2 | 0,015 |
Коэффициент поглощения корпуса,  | 0,32 |
Температура окружающей среды, ta,°C | 30 |
Коэффициент теплопередачи |  , Вт/(м 2·К) | 5,0 |
 , Вт/(м 2·К) | 10,0 |
 , Вт/(м 2·К) | 6,8 |
Солнечное излучение на стенки |  , Вт/м 2 | 1061 |
 , Вт/м 2 | 78 |
 , Вт/м 2 | 78 |
 , Вт/м 2 | 78 |
 , Вт/м 2 | 325 |
Тепловая нагрузка, P, Вт | 250 |
Поправочный коэффициент, cF | 3,8 |
Плотность воздуха,  , кг/м 3 | 1,293 |
Удельная теплоемкость воздуха, cp, air, Дж (кг·К) | 1005 |
Скорость воздушного потока между двойной стенкой, ww, м/с | 0,3 |
Затем определяют значения:
A = 3,24 м2;
AR = 0,36 м2;
AEW = AWW = ANW = ASW = 5,72 м2;
Внутренние температуры
ti,
x можно вычислить по
формуле (10):
ti,R = 58,6 °C;
ti,EW = 50,2 °C;
ti,SW = 53,4 °C;
ti,WW = 50,2 °C;
ti,NW = 50,2 °C.
Среднее значение внутренних температур можно вычислить по
формуле (11)
ti = 51,8 °C.
(справочное)
МЕТОД ИТЕРАЦИИ ДЛЯ ТОЧНЫХ РЕЗУЛЬТАТОВ РАСЧЕТА КОРПУСА
С ДВОЙНЫМИ СТЕНКАМИ
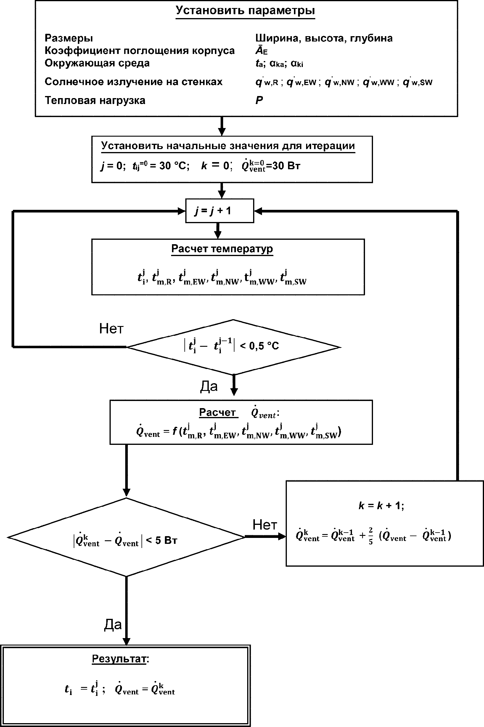
D.1 Метод итерации для точных результатов расчета корпуса с двойными стенками
Этот более точный метод, но в то же время более сложный, чем описанный в
8.5 для расчета средней внутренней температуры для корпуса с двойными стенками, состоит в использовании следующего метода итерации. Необходимо определить модель стабилизированного режима, как показано на
рисунке D.1, и решить
уравнения (D.1) и
(D.2) для каждого температурного узла с помощью итерации. Для наилучшего результата полезна вторая итерация согласно
уравнению (D.5). Процедура расчета представлена на
рисунке D.2.
Рисунок D.1 - Тепловая модель для корпуса
с двойными стенками
Рисунок D.2 - Процедура итерации для корпуса
с двойными стенками
Параметры:
A - участок поверхностей конструкции, за исключением дна, м2;
Ax - поверхность стены x, м2;

- теплопередача посредством воздушного потока между двойными стенками
x, Вт;

- внутренняя тепловая нагрузка, Вт/м
2;

- солнечное излучение (прямое и рассеянное) на стенку корпуса
x, Вт/м
2;

- тепловое сопротивление внешней поверхности стенки
x, К/Вт;

- тепловое сопротивление внутренней поверхности стенки
x, К/Вт;
ta - температура окружающей среды, °C;
ti - средняя температура внутри корпуса, °C;
tm, x - температура воздуха между двойными стенками x, °C;
x - идентификатор для стенок (R - для крышки, EW - для восточной стенки, NW - для северной стенки, WW - для западной стенки и SW - для южной стенки).
Уравнения для первой итерации на основе модели, показанной на
рисунке D.1:

(D.1)

(D.2)
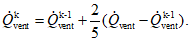
Когда первая итерация закончится, коэффициент

вычисляют по формулам:

(D.3)

(D.4)
Новую исходную величину для следующего этапа k, равную k + 1, второй итерации, вычисляют по формуле

(D.5)
Подробный пример для метода итерации корпуса с двойными стенками приведен в D.2.
D.2 Пример для расчета корпуса с двойными стенками (метод итерации)
Этот пример показывает, как может использоваться описанная в
D.1 модель для расчета ожидаемой средней внутренней температуры корпуса с двойными стенками. Заданные параметры приведены в таблице D.1 и исходные данные для итерации приведены в
таблице D.2.
Таблица D.1
Установленные параметры для расчета корпуса
с двойными стенками
Размеры корпуса | ширина, м | 0,60 |
высота, м | 1,20 |
глубина, м | 0,60 |
Коэффициент поглощения корпуса,  | 0,32 |
Температура окружающей среды, ta,°C | 30 |
Коэффициент теплопередачи |  , Вт/(м 2·К) | 5,3 |
 , Вт/(м 2·К) | 10,0 |
Солнечное излучение на стенки |  , Вт/м 2 | 1061 |
 , Вт/м 2 | 78 |
 , Вт/м 2 | 78 |
 , Вт/м 2 | 78 |
 , Вт/м 2 | 325 |
Тепловая нагрузка, P, Вт | 250 |
Таблица D.2
Исходные данные для итерации
 , °C | 30,0 |
 , Вт | 30,0 |
Результаты после вычисления первого блока, полученного путем итерации, приведены в таблице D.3; рассчитанная температура внутри корпуса будет равной 52,8 °C.
Таблица D.3
Результаты после первого итерационного блока
Итерация 1 | ti, 1 = 44,9 | tm, R1 = 38,0 | tm, EW1 = 28,5 | tm, SW1 = 32,2 | tm, WW1 = 28,5 | tm, WW1 = 28,5 |
Итерация 2 | ti, 2 = 50,1 | tm, R2 = 43,2 | tm, EW2 = 33,6 | tm, SW2 = 37,3 | tm, WW2 = 33,6 | tm, WW2 = 33,6 |
Итерация 3 | ti, 3 = 51,8 | tm, R3 = 45,0 | tm, EW3 = 35,4 | tm, SW3 = 39,1 | tm, WW3 = 35,4 | tm, WW3 = 35,4 |
Итерация 4 | ti, 4 = 52,5 | tm, R4 = 45,6 | tm, EW4 = 36,0 | tm, SW4 = 39,7 | tm, WW4 = 36,0 | tm, WW4 = 36,0 |
Итерация 5 | ti, 5 = 52,7 | tm, R5 = 45,8 | tm, EW5 = 36,2 | tm, SW5 = 40,0 | tm, WW5 = 36,2 | tm, WW5 = 36,2 |
Итерация 6 | ti, 6 = 52,8 | tm, R6 = 45,9 | tm, EW6 = 36,3 | tm, SW6 = 40,0 | tm, WW6 = 36,3 | tm, WW6 = 36,3 |
Итерация 7 | ti, 7 = 52,8 | tm, R7 = 45,9 | tm, EW7 = 36,3 | tm, SW7 = 40,1 | tm, WW7 = 36,3 | tm, WW7 = 36,3 |
|
Так как разница значений коэффициента

по сравнению с исходной величиной слишком большая, необходимо начать второй блок итерации. Новую исходную величину

, равную 35 Вт, вычисляют по
формуле (D.5). Результаты второго блока итерации приведены в таблице D.4.
Таблица D.4
Результаты после второго блока итерации
Итерация 1 | ti, 1 = 44,5 | tm, R1 = 38,0 | tm, EW1 = 28,0 | tm, SW1 = 31,7 | tm, SW1 = 28,0 | tm, NW1 = 28,0 |
Итерация 2 | ti, 2 = 49,5 | tm, R2 = 43,0 | tm, EW2 = 33,0 | tm, SW2 = 36,7 | tm, SW2 = 33,0 | tm, NW2 = 33,0 |
Итерация 3 | ti, 3 = 51,3 | tm, R3 = 44,8 | tm, EW3 = 34,8 | tm, SW3 = 38,5 | tm, SW3 = 34,8 | tm, NW3 = 34,8 |
Итерация 4 | ti, 4 = 51,9 | tm, R4 = 45,4 | tm, EW4 = 35,4 | tm, SW4 = 39,1 | tm, SW4 = 35,4 | tm, NW4 = 35,4 |
Итерация 5 | ti, 5 = 52,1 | tm, R5 = 45,8 | tm, EW5 = 35,8 | tm, SW5 = 39,3 | tm, SW5 = 35,6 | tm, NW5 = 35,6 |
Итерация 6 | ti, 6 = 52,1 | tm, R6 = 45,7 | tm, EW6 = 35,6 | tm, SW6 = 39,4 | tm, SW6 = 35,6 | tm, NW6 = 35,6 |
Итерация 7 | ti, 7 = 52,2 | tm, R7 = 45,7 | tm, EW7 = 35,7 | tm, SW7 = 39,4 | tm, SW7 = 35,7 | tm, NW7 = 35,7 |
|
Температура внутри корпуса с двойной стенкой составляет 52,2 °C.
(справочное)
СВЕДЕНИЯ О СООТВЕТСТВИИ ССЫЛОЧНЫХ МЕЖДУНАРОДНЫХ СТАНДАРТОВ
ССЫЛОЧНЫМ НАЦИОНАЛЬНЫМ СТАНДАРТАМ РОССИЙСКОЙ ФЕДЕРАЦИИ
Таблица ДА.1
Обозначение ссылочного международного стандарта | Степень соответствия | Обозначение и наименование соответствующего национального стандарта Российской Федерации |
IEC 60297-3-101(2004) | IDT | ГОСТ Р МЭК 60297-3-101-2006 "Конструкции несущие базовые радиоэлектронных средств. Блочные каркасы и связанные с ними вставные блоки. Размеры конструкций серии 482,6 мм (19 дюймов)" |
IEC 60297-3-102(2004) | IDT | ГОСТ Р МЭК 60297-3-102-2006 "Конструкции несущие базовые радиоэлектронных средств. Рукоятка инжектора-экстрактора. Размеры конструкций серии 482,6 мм (19 дюймов)" |
IEC 60297-3-103 (2004) | IDT | ГОСТ Р МЭК 60297-3-103-2006 "Конструкции несущие базовые радиоэлектронных средств. Система ключей и ловитель для установки. Размеры конструкций серии 482,6 мм (19 дюймов)" |
IEC 60297-3-104 (2006) | IDT | ГОСТ Р МЭК 60297-3-104-2009 "Конструкции несущие базовые радиоэлектронных средств. Размеры блочных каркасов и вставных блоков, зависящие от серии применяемых разъемов. Размеры конструкций серии 482,6 мм (19 дюймов) |
IEC 60721-2-4:1987 | MOD | ГОСТ Р 53615-2009 (МЭК 60721-2-4:1987) "Воздействие природных внешних условий на технические изделия. Общая характеристика. Солнечное излучение и температура" |
IEC 60917-1:1998 | IDT | ГОСТ Р МЭК 60917-1-2011 "Модульный принцип построения механических конструкций для базовых несущих конструкций для электронного оборудования. Часть 1. Общий стандарт" |
IEC 60917-2:1992 | IDT | ГОСТ Р МЭК 60917-2-2011 "Модульный принцип построения базовых несущих конструкций для электронного оборудования. Часть 2. Секционный стандарт. Координационные размеры интерфейса для несущих конструкций с шагом 25 мм" |
IEC 60917-2-1:1993 | IDT | ГОСТ Р МЭК 60917-2-1-2011 "Модульный принцип построения базовых несущих конструкций для электронного оборудования. Часть 2. Секционный стандарт. Координационные размеры интерфейса для несущих конструкций с шагом 25 мм. Раздел 1. Детальный стандарт. Размеры шкафов и стоек" |
IEC 60917-2-2:1994 | IDT | ГОСТ Р МЭК 60917-2-2-2013 "Модульный принцип построения механических конструкций для радиоэлектронных средств. Часть 2. Секционный стандарт. Координационные размеры интерфейса для несущих конструкций с шагом 25 мм. Раздел 2. Детальный стандарт. Размеры блочных каркасов, шасси, объединительных плат, передних панелей и вставных блоков" |
IEC 60917-2-3:2006 | IDT | ГОСТ Р МЭК 60917-2-3-2009 "Конструкции несущие базовые радиоэлектронных средств. Координационные размеры интерфейса для базовых несущих конструкций с шагом 25 мм. Размеры для блочных каркасов, шасси, объединительных плат, передних панелей и вставных блоков" |
Примечание - В настоящей таблице использованы следующие обозначения степени соответствия стандартов: - IDT - идентичные стандарты; - MOD - модифицированные стандарты. |
IEC 60297-2:1982 | Dimensions of mechanical structures of the 482.6 mm (19 in) series. Part 2: Cabinets and pitches of rack structures |
IEC 60721-2-4(1987) | Classification of environmental conditions. Part 2: Environmental conditions appearing in nature. Solar radiation and temperature |
IEC 60917-2(1992) | Modular order for the development of mechanical structures for electronic equipment practices; part 2: sectional specification; interface coordination dimensions for the 25 mm equipment practice |
IEC 61587-1:1999 | Mechanical structures for electronic equipment. Tests for IEC 60917 and IEC 60297. Part 1: Climatic, mechanical tests and safety aspects for cabinets, racks, subracks and chassis |
IEC 61969-1(1999) | Mechanical structures for electronic equipment. Outdoor enclosures. Design guidelines |
IEC 61969-2(2000) | Mechanical structures for electronic equipment. Outdoor enclosures. Dimensions of cabinets |
IEC 61969-3(2001) | Mechanical structures for electronic equipment. Outdoor enclosures. Part 3: The environmental demands concern, testing and safety |
EN 300019:1999 | Environmental engineering (EE) - Environmental conditions and environmental tests for telecommunications equipment |
EN 300119 | European telecommunication standard for equipment practice |
EN 13363:2003 | Solar protection devices combined with glazing - Calculation of solar and light transmittance |
УДК 621.396:69:006.354 | | Э02 | |
Ключевые слова: электронная аппаратура, корпуса, метод оценки тепловых характеристик, комплексы стандартов МЭК 60917 и МЭК 60297, расчет температурных режимов |