Главная // Актуальные документы // ГОСТ Р (Государственный стандарт)
СПРАВКА
Источник публикации
М.: Стандартинформ, 2019
Примечание к документу
Документ введен в действие с 01.04.2020.

Название документа
"ГОСТ Р ИСО 7176-2-2019. Национальный стандарт Российской Федерации. Кресла-коляски. Часть 2. Определение динамической устойчивости кресел-колясок с электроприводом"
(утв. и введен в действие Приказом Росстандарта от 29.08.2019 N 587-ст)

"ГОСТ Р ИСО 7176-2-2019. Национальный стандарт Российской Федерации. Кресла-коляски. Часть 2. Определение динамической устойчивости кресел-колясок с электроприводом"
(утв. и введен в действие Приказом Росстандарта от 29.08.2019 N 587-ст)


Содержание


Утвержден и введен в действие
Приказом Федерального
агентства по техническому
регулированию и метрологии
от 29 августа 2019 г. N 587-ст
НАЦИОНАЛЬНЫЙ СТАНДАРТ РОССИЙСКОЙ ФЕДЕРАЦИИ
КРЕСЛА-КОЛЯСКИ
ЧАСТЬ 2
ОПРЕДЕЛЕНИЕ ДИНАМИЧЕСКОЙ УСТОЙЧИВОСТИ
КРЕСЕЛ-КОЛЯСОК С ЭЛЕКТРОПРИВОДОМ
Wheelchairs. Part 2. Determination of dynamic
stability of electrically powered wheelchairs
(ISO 7176-2:2017, IDT)
ГОСТ Р ИСО 7176-2-2019
ОКС 11.180
ОКПД2 30.92.20.000
Дата введения
1 апреля 2020 года
Предисловие
1 ПОДГОТОВЛЕН Федеральным государственным унитарным предприятием "Российский научно-технический центр информации по стандартизации, метрологии и оценке соответствия" (ФГУП "СТАНДАРТИНФОРМ") на основе собственного перевода на русский язык англоязычной версии стандарта, указанного в пункте 4
2 ВНЕСЕН Техническим комитетом по стандартизации ТК 381 "Технические средства и услуги для инвалидов и других маломобильных групп населения"
3 УТВЕРЖДЕН И ВВЕДЕН В ДЕЙСТВИЕ Приказом Федерального агентства по техническому регулированию и метрологии от 29 августа 2019 г. N 587-ст
4 Настоящий стандарт идентичен международному стандарту ИСО 7176-2:2017 "Кресла-коляски. Часть 2. Определение динамической устойчивости кресел-колясок с электроприводом" (ISO 7176-2:2017 "Wheelchairs - Part 2: Determination of dynamic stability of electrically powered wheelchairs", IDT).
При применении настоящего стандарта рекомендуется использовать вместо ссылочных международных стандартов соответствующие им национальные стандарты, сведения о которых приведены в дополнительном приложении ДА
5 ВЗАМЕН ГОСТ Р ИСО 7176-2-2005
Правила применения настоящего стандарта установлены в статье 26 Федерального закона от 29 июня 2015 г. N 162-ФЗ "О стандартизации в Российской Федерации". Информация об изменениях к настоящему стандарту публикуется в ежегодном (по состоянию на 1 января текущего года) информационном указателе "Национальные стандарты", а официальный текст изменений и поправок - в ежемесячном информационном указателе "Национальные стандарты". В случае пересмотра (замены) или отмены настоящего стандарта соответствующее уведомление будет опубликовано в ближайшем выпуске ежемесячного информационного указателя "Национальные стандарты". Соответствующая информация, уведомление и тексты размещаются также в информационной системе общего пользования - на официальном сайте Федерального агентства по техническому регулированию и метрологии в сети Интернет (www.gost.ru)
Предисловие к ИСО 7176-2:2017 (E)
Международная организация по стандартизации (ИСО) является Всемирной федерацией национальных органов по стандартизации (членов ИСО). Разработка международных стандартов, как правило, ведется техническими комитетами ИСО. Каждая организация - член ИСО, проявляющая интерес к тематике, по которой учрежден технический комитет, имеет право быть представленной в этом комитете. Международные организации, государственные и негосударственные, имеющие связи с ИСО, также принимают участие в работе. ИСО тесно сотрудничает с Международной электротехнической комиссией (МЭК) по всем вопросам стандартизации в области электротехники.
Процедуры, используемые для разработки настоящего стандарта, и процедуры, предусмотренные для его дальнейшего ведения, описаны в Директивах ИСО/МЭК, Часть 1. В частности, следует отметить различные критерии утверждения, требуемые для различных типов документов ИСО. Настоящий стандарт разработан в соответствии с редакционными правилами Директив ИСО/МЭК, Часть 2 (см. www.iso.org/directives).
Необходимо обратить внимание на возможность того, что ряд элементов настоящего стандарта может быть предметом патентных прав. Международная организация ИСО не должна нести ответственности за идентификацию таких прав частично или полностью. Сведения о патентных правах, идентифицированных при разработке настоящего стандарта, указаны во Введении и/или в перечне ИСО полученных объявлений о патентном праве (см. www.iso.org/patents).
Любое торговое наименование, использованное в настоящем стандарте, является информацией, предоставляемой для удобства пользователей и не влияющей на позиционирование как товара, так и компании, его производящей.
Для объяснения значения специфических терминов и выражений ИСО, применяемых для оценки соответствия, равно как информации о соблюдении ИСО принципов ВТО по техническим барьерам в торговле, приведен следующий URL: Foreword-Supplementary Information.
Настоящий стандарт разработан Техническим комитетом ИСО/ТК 173 "Вспомогательные средства для лиц с ограничениями жизнедеятельности", подкомитетом ПК 1 "Кресла-коляски".
Настоящий стандарт отменяет и заменяет второе издание (ИСО 7176-2:2001), которое было технически пересмотрено.
Главные изменения по сравнению с предыдущим изданием состоят в следующем:
- пересмотр требований, предъявляемых к наклонной плоскости;
- включение положений по испытаниям при дистанционном управлении.
Перечень всех частей (стандартов) серии ИСО 7176 можно найти на официальном сайте ИСО.
Введение
Чтобы правильно подобрать кресло-коляску и осуществить его регулировку, нужно знать характеристики, связанные с его динамической устойчивостью. Пользователи и врачи должны понимать последствия с точки зрения безопасности, в частности, когда дело касается систем регулировки положения кресел (сидения), отличающихся большим разнообразием конфигураций. Нужно учитывать среду, в которой будет использоваться кресло-коляска, и возможные опасности в данной среде с тем, чтобы выбирать подходящие конфигурации кресел-колясок.
Настоящий стандарт устанавливает испытания на динамическую устойчивость в диапазоне эксплуатационных условий с разнообразными конфигурациями кресла-коляски. По процедурам, приведенным в настоящем стандарте, оценивают эффективность систем контроля устойчивости.
Потеря устойчивости кресла-коляски чревата получением травм. Поэтому желательно, чтобы все стороны, связанные с поставками кресел-колясок, понимали факторы, влияющие на потерю устойчивости. Настоящий стандарт может быть полезен конструкторам и изготовителям, врачам, проектировщикам зданий, организациям, оказывающим социальные услуги, а также лабораториям.
Цель настоящего стандарта состоит в описании тех испытаний, которые будут стабильно выявлять пределы динамической устойчивости в заданных условиях испытаний. Такие испытания необходимы для определения того, как те или иные регулировки и конфигурации влияют на параметры динамической устойчивости.
Настоящий стандарт поможет заинтересованным сторонам определиться с подходящей средой и предназначенным использованием кресла-коляски.
Несмотря на то, что настоящий стандарт не устанавливает требований, он необходим в качестве справочной информации для других документов, устанавливающих требования к устойчивости.
1 Область применения
Настоящий стандарт описывает методы испытаний для определения динамической устойчивости кресел-колясок с электроприводом.
Настоящий стандарт распространяется на кресла-коляски с электроприводом, в том числе одноместные скутера, скорость которых не превышает 15 км/ч, предназначенные для перемещения одного человека. Настоящий стандарт не распространяется на кресла-коляски с ручным приводом, оборудованные комплектами электроустройств для расширения функциональных возможностей, используемые или помогающие движению кресла-коляски.
2 Нормативные ссылки
В настоящем стандарте использованы нормативные ссылки на следующие стандарты. Для датированных ссылок применяют только указанное издание. Для недатированных - последнее издание ссылочного стандарта (включая все изменения к нему):
ISO 7176-11, Wheelchairs - Part 11: Test dummies (Кресла-коляски. Часть 11: Испытательные манекены)
ISO 7176-13, Wheelchairs - Part 13: Determination of coefficient of friction of test surfaces (Кресла-коляски. Часть 13: Определение коэффициента трения испытательных поверхностей)
ISO 7176-15, Wheelchairs - Part 15: Requirements for information disclosure, documentation and labelling (Кресла-коляски. Часть 15: Требования к информационному описанию, документированию и маркировке)
ISO 7176-22, Wheelchairs - Part 22: Set-up procedures (Кресла-коляски. Часть 22: Правила установки)
ISO 7176-26, Wheelchairs - Part 26: Vocabulary (Кресла-коляски. Часть 26: Словарь)
3 Термины и определения
В настоящем стандарте применены термины по ИСО 7176-26, а также следующий термин с соответствующим определением.
ИСО и МЭК поддерживают актуализированные базы данных по терминологии в целях стандартизации со следующими адресами:
- ISO Online browsing platform: http://www.iso.org/obp.
- IEC Electropedia: http://www.electropedia.org/.
3.1 отрыв колеса (wheel lift): Потеря контакта колеса с поверхностью испытательной плоскости, возникающая в условиях потери устойчивости.
Примечание 1 - Отрыв колеса не подразумевает кратковременную потерю контакта вследствие неровности поверхности или перехода с одной поверхности на другую.
Примечание 2 - Отрыв колеса не подразумевает преднамеренную потерю контакта в таких случаях, как переход на вспомогательные колеса или вращение объединенных колес.
4 Принцип
Кресло-коляску подвергают ряду испытаний, имитирующих нормальный режим эксплуатации кресла-коляски; при этом ведут наблюдение за движением кресла-коляски, в частности появлением определенных состояний потери устойчивости. При этом вспомогательные принадлежности не рассматриваются.
5 Аппаратура
5.1 Испытательная горизонтальная плоскость, имеющая ровную твердую поверхность достаточного размера с коэффициентом трения, превышающим 0,6, измеренным по ИСО 7176-13. Испытательная плоскость должна иметь поверхность, лежащую между двумя мнимыми горизонтальными плоскостями, отстоящими друг от друга на 20 мм, с изменением в уклоне или поперечном уклоне, не превышающем 0,5°.
Испытательная плоскость должна быть достаточной длины, чтобы кресло-коляска могло достигнуть максимальной скорости.
Примечание - Площадь размерами 10 м x 3 м является достаточной, но для испытания более больших и/или быстрых кресел-колясок может потребоваться испытательная плоскость большего размера.
5.2 Испытательная наклонная плоскость - твердая ровная плоскость с регулируемыми углами наклона, должна быть достаточной длины, чтобы кресло-коляска могло достигнуть максимальной скорости и остановиться в пределах указанного наклона.
Испытательная наклонная плоскость должна иметь достаточную длину, чтобы кресло-коляска могло остановиться в пределах указанного наклона, допуск которого должен быть +/- 1°.
Испытательная наклонная плоскость должна иметь поверхность, лежащую между двумя мнимыми горизонтальными плоскостями, отстоящими друг от друга на 50 мм.
Испытательная наклонная плоскость должна иметь коэффициент трения, отвечающий требованиям ИСО 7176-13.
Испытательная наклонная плоскость должна примыкать непосредственно к испытательной горизонтальной плоскости через место перехода с радиусом скругления менее 25 мм.
Поверхность участка должна быть без рыхлого грунта и ступенек, высота которых превышает 5 мм.
Площадь размерами 10 м x 3 м является достаточной для наклонной плоскости, но для испытания более больших и/или быстрых кресел-колясок может потребоваться наклонная плоскость большего размера.
Примечание 1 - Испытательная наклонная плоскость может быть регулируемой по углу наклона, или могут быть использованы три отдельно установленные наклонные плоскости.
Примечание 2 - Нет необходимости в соответствии вышеуказанному критерию для участков заезда и съезда с наклонной плоскости.
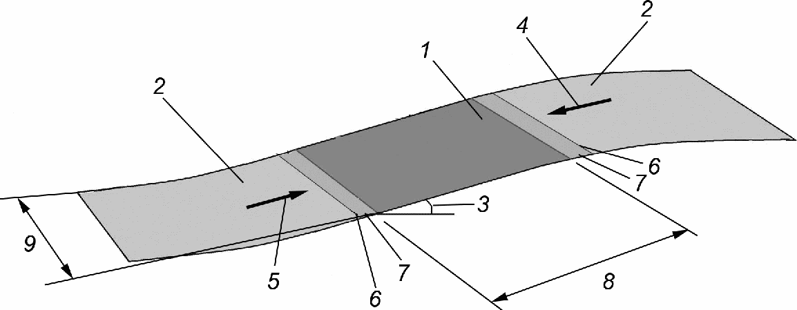
Примечание 3 - На рисунке 1 показана рекомендуемая конфигурация наклонной плоскости и мест перехода.
Примечание 4 - Площадь размерами 10 м x 3 м является достаточной для наклонной плоскости, но для испытания более больших и/или быстрых кресел-колясок может потребоваться наклонная плоскость большего размера.
1 - испытательная плоскость; 2 - участок заезда/съезда;
3 - заданный угол уклона; 4 - нисходящая траектория;
5 - восходящая траектория; 6 - место перехода;
7 - переходный участок; 8 - длина испытательной плоскости;
9 - ширина испытательной плоскости - достаточная для того,
чтобы было возможно выполнить испытание по разделу 10
Рисунок 1 - Общая схема испытательной плоскости
5.3 Недеформируемая вертикальная ступень, имеющая следующие свойства:
a) ступень должна связывать горизонтальную испытательную плоскость с другой горизонтальной плоскостью, на которую кресло-коляска будет попадать при прохождении через данную ступень;
b) ступень может иметь регулируемую высоту, равную 15 мм, 25 мм, 50 мм, а также по требованию изготовителя более высокую ступень, высота которой должна быть кратна 25 мм;
c) верхний край ступени должен иметь скругление радиусом 6 мм +/- 1 мм;
d) допуск по высоте ступени не должен превышать +/- 2 мм.
Примечание 1 - Это может быть либо одна ступень регулируемой высоты или несколько отдельных нерегулируемых ступеней.
Примечание 2 - Площадь размерами 1 м x 5 м достаточна для верхней плоскости.
5.4 Испытательный манекен по ИСО 7176-11.
5.5 Средства для дистанционного управления, используемые по усмотрению проводящего испытания персонала, для управления скоростью кресла-коляски и осуществления поворота на угол вплоть до 90° на заданном радиусе.
Пример 1 - Для кресел-колясок, управляемых с помощью джойстика - это аппаратура дистанционного управления с пропорциональным сервоприводом, для контроля перемещения джойстика в продольном (вперед-назад) и поперечном (боковом) направлении (см. приложение A).
Пример 2 - Для кресел-колясок с рулевым управлением - это дистанционно управляемый пропорциональный сервопривод для управления скоростью и пружинный механизм нагрузки с дистанционным контролем за отпуском рулевого рычага, так чтобы при отпускании руля пружина заставляла его поворачиваться по заданному радиусу (см. приложение A). Для тех испытаний, где требуется изменяемый радиус поворота согласно 10.6, вместо соединяемого с рулем провода может использоваться актуатор. Или же может использоваться устройство, ограничивающее вращения руля на заданных углах поворота.
6 Подготовка кресла-коляски к испытанию
6.1 Общие положения
Подготавливают кресло-коляску к испытанию в соответствии с ИСО 7176-22 с настройкой (сборкой) для уровня 2 с модификациями, указанными в 6.2.
6.2 Устройства против опрокидывания
Кресло-коляска должно быть испытано с устройствами против опрокидывания, если они предусмотрены и если в инструкциях говорится о том, что они должны использоваться. Если устройства против опрокидывания могут регулироваться, их устанавливают в наименее эффективную позицию. Если они могут быть отрегулированы так, что они не будут касаться опорной поверхности при наклоне кресла-коляски, то это может считаться наименее эффективной позицией.
Если устройства против опрокидывания не предусмотрены и в инструкциях не говорится о том, что они должны использоваться, то кресло-коляску испытывают без них.
6.3 Аккумуляторные батареи
Кресло-коляска должно быть оснащено аккумуляторными батареями в соответствии с инструкцией изготовителя. Однако батареи с жидким электролитом могут представлять собой опасность в случае его вытекания. Такие батареи могут быть заменены эквивалентными батареями примерно такой же емкости с абсорбированным электролитом (абсорбирующая прокладка из стекловолокна) или гелевыми батареями, имеющими такую же массу и центр тяжести (при необходимости, с дополнительными грузами).
6.4 Испытательная нагрузка
6.4.1 Общие положения
Выбирают испытательную нагрузку и устанавливают ее так, как определено в 6.4.2 или 6.4.3.
6.4.2 Испытательный манекен
a) Выбирают, располагают и закрепляют подходящий манекен по ИСО 7176-22.
b) Устанавливают средства дистанционного управления креслом-коляской, если предполагается задействовать систему дистанционного управления. При установке средств дистанционного управления см. приложение A.
6.4.3 Испытатель
Некоторые испытания проводят с помощью испытателя. В таких случаях при выборе подходящего человека следует руководствоваться ИСО 7176-22 и пользоваться рекомендациями по безопасности, приведенными в приложении B.
7 Методика испытаний
Проводят испытания, описанные в разделах 8, 9 и 10, применяя систему баллов, указанную в приложении C, для количественной оценки динамической реакции кресла-коляски.
Во всех случаях, когда это практически осуществимо, при проведении испытаний используют испытательный манекен согласно 6.4.2. Когда испытательный манекен не может быть использован, проводят испытания с помощью испытателя, как определено в 6.4.3.
По соображениям безопасности каждое испытание следует начинать с минимальной скорости движения, постепенно увеличивая ее до получения реакции кресла-коляски с оценкой "0" или до достижения максимальной скорости.
Испытания могут быть проведены в любой последовательности.
Если при некотором угле наклона испытательной плоскости или некоторой высоте ступени устойчивость в баллах оказалось равной 1 или 0, следует прекратить испытание и внести в протокол оценку 0 для более высоких уровней по данному испытанию.
Примечание 1 - Продолжение может быть опасным для испытателя и повредить кресло-коляску.
Примечание 2 - Видеозапись движения кресла-коляски, воспроизводимая замедленно и в режиме стоп-кадр, может помочь при наблюдении и количественной оценке реакции кресла-коляски.
8 Испытания на заднюю динамическую устойчивость
8.1 Общие положения
Оставаясь в установленных пределах, указанных (санкционированных) изготовителем в руководстве по эксплуатации, все части кресла-коляски, регулируемые пользователем и продавцами, должны устанавливаться в положение, при котором кресло-коляска будет иметь наименее устойчивую конфигурацию или конфигурации. Чтобы определить такую конфигурацию или конфигурации, может потребоваться несколько итераций.
Таблица 1 служит руководством по установке кресла-коляски в наименее устойчивую конфигурацию. Некоторые кресла-коляски имеют конфигурации, при которых скорость движения будет ограничена. Часто будет требоваться задействовать разнообразные возможные конфигурации, включая и те из них, при которых скорость движения кресла-коляски будет ограничена. Для испытаний, описанных в 8.3, 8.4, 8.5, 8.6, 8.7 и 8.8, наименее устойчивые конфигурации могут отличаться. Для каждого испытания должна определяться наименее устойчивая конфигурация. Кресло с наименее устойчивой конфигурацией в каждом испытании будет получать наименьший балл.
8.2 Подготовка кресла-коляски к испытаниям
Подготавливают кресло-коляску в соответствии с разделом 6 с учетом следующих дополнительных требований: устанавливают все регулируемые элементы в положение, соответствующее конфигурации наименьшей задней устойчивости кресла-коляски в пределах, указанных изготовителем в руководстве по эксплуатации креслом-коляской для пользователя. Эти элементы в том числе включают: положение заднего колеса, положение самоориентирующегося колеса относительно рамы, положение сиденья, положение спинки, угол между сиденьем и спинкой, угол наклона подножки относительно сиденья, а также высоту сиденья и скорость. Типичные установки для элементов кресла-коляски, при которых последнее будет иметь наименьшую заднюю устойчивость, приведены в таблице 1. Если какая-либо регулировка приведет к нежелательной конфигурации, например при которой самоориентирующиеся колеса будут соприкасаться с любой другой частью кресла-коляски, достаточно скорректировать настройки ровно настолько, чтобы обеспечить надлежащее функционирование кресла-коляски. Стараются минимизировать вибрацию самоориентирующихся колес во время испытаний. Имеется несколько способов, позволяющих этого добиться, в том числе регулировка наклона и скоса самоориентирующегося колеса.
Таблица 1
Типичные конфигурации наименьшей задней устойчивости
Регулируемый элемент кресла-коляски
Конфигурация наименьшей устойчивости
Положение задних колес в продольном направлении
Вперед
Крепление самоориентирующихся колес к раме, по продольному направлению
Назад
Положение сиденья по продольному направлению
Назад
Положение сиденья по вертикали
Вверх
Положение спинки сидения, откидывание
Назад
Положение сиденья, наклонное
Назад
Положение спинки по продольному направлению
Назад
Угол наклона подножки относительно сидения
Минимальный
Скорость
Максимальная
8.3 Трогание с места при движении вперед
Примечание - Данное испытание проводят с целью определить устойчивость кресла-коляски при его трогании с места на горизонтальной поверхности и при движении на подъем.
a) Помещают кресло-коляску на горизонтальную испытательную плоскость.
b) Из неподвижного положения, воздействуя на устройство управления, приводят кресло-коляску в движение в направлении вперед с максимальным ускорением.
c) Ведут наблюдение за динамической реакцией кресла-коляски и дают этой реакции количественную оценку по балльной шкале согласно приложению C.
d) Повторяют действия от b) до c) на испытательной плоскости с углами наклона, равными 3°, 6° и 10°, или другими углами наклона, установленными изготовителем, или теми, кто заказывает испытания, начиная движение кресла-коляски передним ходом вверх на каждой из указанных наклонных плоскостей. Если изготовителем рекомендуется какой-либо способ для движения по наклонной плоскости, то проводят испытание с использованием этого способа. Если изготовителем указывается максимальный угол наклона, испытания проводят для всех углов наклона, увеличивая угол вплоть до максимального значения, указанного изготовителем, в противном случае способы испытаний оставляют в неизменном виде.
8.4 Торможение при движении вперед на горизонтальной поверхности или на подъем
Примечание - Данное испытание проводят с целью определить устойчивость кресла-коляски, когда оно останавливается на горизонтальной поверхности и в качестве обратного движения совершает качательное движение назад. Кроме того, данное испытание определяет устойчивость кресла при его остановке во время движения на подъем в случае, если кресло-коляска откатывается или совершает качательное движение назад, прежде чем произойдет полная остановка.
a) Приводят кресло-коляску в движение вперед с максимальной скоростью по горизонтальной испытательной плоскости.
b) Применяют торможение, отпустив устройство управления.
c) Ведут наблюдение за динамической реакцией кресла-коляски и дают этой реакции количественную оценку по балльной шкале согласно приложению C.
d) Повторяют действия от a) до c), применив торможение путем отключения электропитания кресла-коляски.
e) Повторяют действия от a) до c), применяя торможение, быстро переключив кресло-коляску на движение задним ходом с максимальной скоростью, удерживая устройство управления на уровне максимального торможения до прекращения движения колес.
f) Вносят в протокол наименьшее число баллов, полученных в результате применения трех способов торможения, указанных в перечислениях a) - e), и отмечают тот способ торможения, при котором был получен данный результат.
g) Повторяют действия от a) до f) при движении кресла-коляски передним ходом на подъем по испытательным плоскостям с углами наклона, равными 3°, 6° и 10°, или другими углами наклона, указанными изготовителем. Если изготовителем рекомендуется какой-либо способ для движения по наклонной плоскости, то проводят испытание с использованием этого способа. Если изготовителем указывается максимальный угол наклона, испытания проводят для всех углов наклона, увеличивая угол вплоть до максимального значения, указанного изготовителем, в противном случае способы испытаний оставляют в неизменном виде.
8.5 Торможение при движении задним ходом
Примечание - Данное испытание проводят с целью определить устойчивость кресла-коляски при его резкой остановке при движении задним ходом с максимальной скоростью на горизонтальной поверхности и под уклон.
a) Приводят кресло-коляску в движение задним ходом с максимальной скоростью по горизонтальной испытательной плоскости.
b) Применяют торможение, отпустив устройство управления.
c) Ведут наблюдение за динамической реакцией кресла-коляски и дают этой реакции количественную оценку по балльной шкале согласно приложению C.
d) Повторяют действия от a) до c), применив торможение путем отключения электропитания кресла-коляски.
e) Повторяют действия от a) до c), применяя торможение, быстро переключив кресло-коляску на движение передним ходом с максимальной скоростью, удерживая устройство управления на уровне максимального торможения до прекращения движения колес.
f) Вносят в протокол наименьшее число баллов, полученных в результате применения трех способов торможения, указанных в перечислениях a) - e), и отмечают тот способ торможения, при котором был получен данный результат.
g) Повторяют действия от a) до f) при движении кресла-коляски задним ходом вниз по испытательным наклонным плоскостям с углами наклона, равными 3°, 6° и 10°, или другими углами наклона, указанными изготовителем. Если изготовителем рекомендуется какой-либо способ для движения по наклонной плоскости, то проводят испытание с использованием этого способа. Если изготовителем указывается максимальный угол наклона, испытания проводят для всех углов наклона, увеличивая угол вплоть до максимального значения, указанного изготовителем, в противном случае, способы испытаний оставляют в неизменном виде.
8.6 Подъем на ступень передним ходом без предварительного разгона
a) Если устройства для преодоления бордюра тротуара входят в стандартную или дополнительную комплектацию кресла-коляски, то кресло-коляску испытывают вместе с этими устройствами. При этом они должны быть установлены в их нормальное положение для въезда кресла-коляски на бордюр. Если устройства для преодоления бордюра тротуара снимаются без помощи специального инструмента, проводят испытание кресла-коляски без этих устройств.
b) Помещают кресло-коляску на горизонтальную испытательную плоскость так, чтобы его передние колеса были прижаты к ступени высотой 15 мм и их положение соответствовало движению вперед.
c) Придают максимальное ускорение, используя устройство управления, пока все колеса не въедут на ступени.
d) Ведут наблюдение за динамической реакцией кресла-коляски и дают этой реакции количественную оценку по балльной шкале согласно приложению C.
e) Повторяют действия от b) до d) при высоте ступени, равной 25 и 50 мм.
f) Если в инструкции изготовителя заявлено, что кресло-коляска способно преодолевать и более высокие ступени, повторяют действия от b) до d) для ступени высотой, кратной 25 мм, увеличивая высоту ступени вплоть до высоты, заявленной изготовителем, но оканчивая испытание в том случае, когда кресло-коляска не сможет преодолеть ступень, получая оценку 2 балла или более.
Примечание - Для достижения указанной изготовителем высоты ступени может использоваться увеличение высоты ступени меньше чем на 25 мм.
8.7 Въезд на ступень передним ходом при движении с максимальной скоростью
Примечание 1 - В ходе данного испытания столкновением кресла-коляски со ступенью вызывают его наклон назад независимо от того, сможет ли кресло-коляска преодолеть ступень. Процедура данного испытания очень похожа на процедуру, описанную в 9.5 применительно к передней устойчивости кресла-коляски.
a) Если устройства для преодоления бордюра тротуара входят в стандартную или дополнительную комплектацию кресла-коляски, то кресло-коляску испытывают вместе с этими устройствами. При этом они должны быть установлены в их нормальное положение для въезда кресла-коляски на бордюр. Если устройства для преодоления бордюра тротуара снимаются без помощи специального инструмента, проводят испытание кресла-коляски без этих устройств.
b) Помещают кресло-коляску на горизонтальную плоскость на достаточном удалении от ступени высотой 15 мм, чтобы кресло-коляска могло разогнаться до максимальной скорости.
Примечание 2 - На минимальной скорости может произойти наклон кресла-коляски вперед, но это маловероятно на более высокой скорости.
c) Приводят кресло-коляску в движение вперед с максимальной скоростью по горизонтальной испытательной плоскости, так чтобы оно могло наехать на ступень под углом 90° +/- 5°.
d) Ведут наблюдение за динамической реакцией кресла-коляски и дают этой реакции количественную оценку по балльной шкале согласно приложению C.
e) Повторяют действия от b) до d) при высоте ступени, равной 25 и 50 мм.
f) Если в инструкции изготовителя заявлено, что кресло-коляска способно преодолевать и более высокие ступени, повторяют действия от b) до d) для ступени высотой, кратной 25 мм, увеличивая высоту ступени вплоть до высоты, заявленной изготовителем, но оканчивая испытание в том случае, когда кресло-коляска не сможет преодолеть ступень, получая оценку 2 балла или более.
Примечание 3 - Для достижения указанной изготовителем высоты ступени может использоваться увеличение высоты ступени, меньше чем на 25 мм.
8.8 Спуск со ступени задним ходом при нулевой начальной скорости
a) Помещают кресло-коляску на горизонтальную плоскость так, чтобы его задние колеса были на краю ступени высотой 15 мм, и их положение соответствовало движению назад.
b) Приводят кресло-коляску в движение задним ходом с минимальной скоростью, используя устройство управления, пока все колеса не съедут со ступени.
Примечание 1 - На минимальной скорости может произойти наклон кресла-коляски назад, но это вряд ли произойдет на более высокой скорости.
c) Ведут наблюдение за динамической реакцией кресла-коляски и дают этой реакции количественную оценку по балльной шкале согласно приложению C.
d) Повторяют действия от a) до c) при высоте ступени равной 25 и 50 мм.
e) Если в инструкции изготовителя заявлено, что кресло-коляска способно преодолевать и более высокие ступени, повторяют действия от b) до d) для ступени высотой, кратной 25 мм, увеличивая высоту ступени вплоть до высоты, заявленной изготовителем, но оканчивая испытание в том случае, когда кресло-коляска не сможет преодолеть ступень, получая оценку 2 балла или более.
Примечание 2 - Для достижения указанной изготовителем высоты ступени может использоваться увеличение высоты ступени меньше чем на 25 мм.
9 Испытания на заднюю динамическую устойчивость
9.1 Общие положения
Оставаясь в установленных пределах, указанных изготовителем, все части кресла-коляски, регулируемые пользователем и продавцами, должны устанавливаться в положение, при котором кресло-коляска будет иметь наименее устойчивую конфигурацию. Чтобы определить такую конфигурацию, может потребоваться несколько итераций.
Перечень конфигураций, рекомендованных в таблице 2, не является полным. Чтобы определить наименее устойчивую конфигурацию для кресла-коляски, могут потребоваться многократные действия, сопряженные со сравнением целого ряда конфигураций. Некоторые кресла-коляски имеют конфигурации, при которых скорость движения будет ограничена. Часто будет требоваться задействовать разнообразные возможные конфигурации, включая и те из них, при которых скорость движения кресла-коляски будет ограничена. Для испытаний, описанных в 9.3, 9.4, 9.5 и 9.6, наименее устойчивые конфигурации могут отличаться. Для каждого испытания должна определяться наименее устойчивая конфигурация. Кресло с наименее устойчивой конфигурацией в каждом испытании будет получать наименьший балл.
9.2 Подготовка кресла-коляски к испытаниям
Подготавливают кресло-коляску в соответствии с разделом 6 с учетом следующих дополнительных требований: устанавливают все регулируемые элементы в положение, соответствующее конфигурации наименьшей передней устойчивости кресла-коляски в пределах, указанных изготовителем в руководстве по эксплуатации креслом-коляской для пользователя. Эти элементы в том числе включают: положение заднего колеса, положение самоориентирующегося колеса относительно рамы, положение сиденья, положение спинки, угол между сиденьем и спинкой, угол наклона подножки относительно сиденья, а также высоту сиденья и скорость. Типичные установки для элементов кресла-коляски, при которых последнее будет иметь наименьшую переднюю устойчивость, приведены в таблице 2. Если какая-либо регулировка приведет к нежелательной конфигурации, например при которой самоориентирующиеся колеса будут соприкасаться с любой другой частью кресла-коляски, достаточно скорректировать настройки ровно настолько, чтобы обеспечить надлежащее функционирование кресла-коляски. Старайтесь минимизировать вибрацию самоориентирующихся колес во время испытаний. Имеется несколько способов, позволяющих этого добиться, в том числе отрегулировав наклон и скос самоориентирующегося колеса.
Таблица 2
Типичные конфигурации наименьшей передней устойчивости
Регулируемый элемент кресла-коляски
Конфигурация наименьшей устойчивости
Положение задних колес в продольном направлении
Вперед
Крепление самоориентирующихся колес к раме, по продольному направлению
Назад
Положение сиденья по продольному направлению
Вперед
Положение сиденья по вертикали
Вверх
Положение сиденья, наклон
Отсутствие наклона назад
Положение спинки сидения, откидывание
Без откидывания
Положение спинки по продольному направлению
Вперед
Скорость
Максимальная
9.3 Торможение при движении вперед по горизонтальной плоскости или под уклон
a) Приводят кресло-коляску в движение вперед с максимальной скоростью по горизонтальной испытательной плоскости.
b) Применяют торможение, отпустив устройство управления.
c) Ведут наблюдение за динамической реакцией кресла-коляски и дают этой реакции количественную оценку по балльной шкале согласно приложению C.
d) Повторяют действия от a) до c), применив торможение путем отключения электропитания кресла-коляски.
e) Повторяют действия от a) до c), применяя торможение, быстро переключив кресло-коляску на движение задним ходом с максимальной скоростью, удерживая устройство управления на уровне максимального торможения до прекращения движения колес.
f) Вносят в протокол наименьшее число баллов, полученных в результате применения трех способов торможения, указанных в перечислениях a) - e), и отмечают тот способ торможения, при котором был получен данный результат.
g) Повторяют действия от a) до f) при движении кресла-коляски под уклон передним ходом по испытательным наклонным плоскостям с углами наклона, равными 3°, 6° и 10°, или другими углами наклона, указанными изготовителем. Если изготовителем рекомендуется какой-либо способ для движения по наклонной плоскости, то проводят испытание с использованием этого способа. Если изготовителем указывается максимальный угол наклона, испытания проводят для всех углов наклона, увеличивая угол вплоть до максимального значения, указанного изготовителем, в противном случае, способы испытаний оставляют в неизменном виде.
9.4 Переход от спуска передним ходом по наклонной плоскости к движению по горизонтальной поверхности
a) Кресло-коляска съезжает по испытательной плоскости с углом наклона 3° передним ходом с максимальной скоростью и въезжает на горизонтальную испытательную плоскость.
b) Ведут наблюдение за динамической реакцией кресла-коляски и дают этой реакции количественную оценку по балльной шкале согласно приложению C.
c) Повторяют действия от a) до b) на испытательных плоскостях с углами наклона, равными 6° и 10° или другими углами наклона, указанными изготовителем. Если изготовителем рекомендуется какой-либо способ для движения по наклонной плоскости, то проводят испытание с использование этого способа. Если изготовителем указывается максимальный угол наклона, испытания проводят для всех углов наклона, увеличивая угол вплоть до максимального значения, указанного изготовителем, в противном случае способы испытаний оставляют в неизменном виде.
9.5 Въезд на ступень передним ходом при движении с максимальной скоростью
Примечание 1 - В ходе данного испытания столкновением кресла-коляски со ступенью вызывают его наклон вперед независимо от того, сможет ли кресло-коляска преодолеть ступень. Процедура данного испытания очень похожа на процедуру, описанную в 8.7, применительно к наименьшей задней устойчивости кресла-коляски.
a) Если устройства для преодоления бордюра тротуара входят в стандартную или дополнительную комплектацию кресла-коляски, то кресло-коляску испытывают вместе с этими устройствами. При этом они должны быть установлены в их нормальное положение для въезда кресла-коляски на бордюр. Если устройства для преодоления бордюра тротуара снимаются без помощи специального инструмента, проводят испытание кресла-коляски без этих устройств.
b) Помещают кресло-коляску на горизонтальную испытательную плоскость на достаточном удалении от ступени, так чтобы оно могло разогнаться до максимальной скорости.
c) Приводят кресло-коляску в движение вперед с максимальной скоростью по горизонтальной испытательной плоскости так, чтобы оно могло наехать на ступень высотой 15 мм под углом 90° +/- 5°.
d) Ведут наблюдение за динамической реакцией кресла-коляски и дают этой реакции количественную оценку по балльной шкале согласно приложению C.
e) Повторяют действия от a) до d) при высоте ступени, равной 25 и 50 мм.
f) Если в инструкции изготовителя заявлено, что кресло-коляска способно преодолевать и более высокие ступени, повторяют действия от a) до d) для ступени высотой, кратной 25 мм, увеличивая высоту ступени вплоть до высоты, заявленной изготовителем, но оканчивая испытание в том случае, когда кресло-коляска не сможет преодолеть ступень, получая оценку 2 балла или более.
Примечание 2 - Для достижения указанной изготовителем высоты ступени может использоваться увеличение высоты ступени, меньше чем на 25 мм.
9.6 Спуск со ступени передним ходом при нулевой начальной скорости
Примечание 1 - Данное испытание проводят с целью определить устойчивость кресла-коляски, когда оно очень медленно съезжает со ступени.
a) Помещают кресло-коляску на горизонтальную испытательную плоскость так, чтобы его передние колеса были на краю ступени.
b) Приводят кресло-коляску в движение вперед с минимально возможной скоростью вниз со ступени высотой 15 мм под углом 90° +/- 5° к краю ступени.
c) Ведут наблюдение за динамической реакцией кресла-коляски и дают этой реакции количественную оценку по балльной шкале согласно приложению C.
d) Повторяют действия от a) до c) при высоте ступени, равной 25 и 50 мм.
e) Если в инструкции изготовителя заявлено, что кресло-коляска способно преодолевать и более высокие ступени, повторяют действия от a) до c) для ступени высотой, кратной 25 мм, увеличивая высоту ступени вплоть до высоты, заявленной изготовителем, но оканчивая испытание в том случае, когда кресло-коляска не сможет преодолеть ступень, получая оценку 2 балла или более.
Примечание 2 - Для достижения указанной изготовителем высоты ступени может использоваться увеличение высоты ступени, меньше чем на 25 мм.
10 Испытания на боковую динамическую устойчивость
10.1 Общие положения
Оставаясь в установленных пределах, указанных изготовителем, все части кресла-коляски, регулируемые пользователем и продавцами, должны устанавливаться в положение, при котором кресло-коляска будет иметь наименее устойчивую конфигурацию. Чтобы определить такую конфигурацию, может потребоваться несколько итераций. В тех случаях, когда имеют место неустойчивые конфигурации, изделие должно иметь предупреждающую этикетку, расположенную рядом с регулировочными механизмами, призывающую ознакомиться с процедурами изготовителя по установке кресла-коляски, описанными в руководстве по эксплуатации, предназначенном для пользователей данного изделия.
Перечень конфигураций, рекомендованных в таблице 3, не является полным. Чтобы определить наименее устойчивую конфигурацию для кресла-коляски, могут потребоваться многократные действия, сопряженные со сравнением целого ряда конфигураций. Некоторые кресла-коляски имеют конфигурации, при которых скорость движения будет ограничена. Часто будет требоваться задействовать разнообразные возможные конфигурации, включая и те из них, при которых скорость движения кресла-коляски будет ограничена. Для испытаний, описанных в 10.3, 10.4, 10.5 и 10.6, наименее устойчивые конфигурации могут отличаться. Для каждого испытания должна определяться наименее устойчивая конфигурация. Кресло с наименее устойчивой конфигурацией в каждом испытании будет получать наименьший балл.
10.2 Подготовка кресла-коляски
Подготавливают кресло-коляску в соответствии с разделом 6 с учетом следующих дополнительных требований: устанавливают все регулируемые элементы в положение, соответствующее конфигурации наименьшей боковой устойчивости кресла-коляски в пределах, указанных изготовителем в руководстве по эксплуатации креслом-коляской для пользователя. Эти элементы в том числе включают: положение заднего колеса, положение самоориентирующегося колеса относительно рамы, положение сиденья, положение спинки, угол между сиденьем и спинкой, угол наклона подножки относительно сиденья, а также высоту сиденья и скорость. Типичные установки для элементов кресла-коляски, при которых последнее будет иметь наименьшую боковую устойчивость, приведены в таблице 3. Если какая-либо регулировка приведет к нежелательной конфигурации, например при которой самоориентирующиеся колеса будут соприкасаться с любой другой частью кресла-коляски, достаточно скорректировать настройки ровно настолько, чтобы обеспечить надлежащее функционирование кресла-коляски. Старайтесь минимизировать вибрацию самоориентирующихся колес во время испытаний. Имеется несколько способов, позволяющих этого добиться, в том числе отрегулировав наклон и скос самоориентирующегося колеса.
Таблица 3
Типичные конфигурации наименьшей боковой устойчивости
Регулируемый элемент кресла-коляски
Конфигурация наименьшей устойчивости
Положение задних колес, развал
Наименее узкая колея
Крепление самоориентирующихся колес к раме, по продольному направлению (вперед-назад)
Назад
Крепление самоориентирующихся колес к раме, внутрь-наружу
Внутрь
Положение сиденья по продольному направлению
Вперед
Положение сиденья по вертикали
Вверх
Положение спинки сиденья, наклон
Отсутствие наклона назад
Положение спинки по продольному направлению
Вперед
Скорость
Максимальная
Положение сиденья, наклон
Отсутствие наклона назад
10.3 Поворот на плоскости из неподвижного начального состояния
a) Помещают кресло-коляску на горизонтальную испытательную плоскость.
b) При неподвижном начальном состоянии кресла-коляски приводят его в движение с левым поворотом с максимальной скоростью при минимальном радиусе поворота и продолжают это движение до тех пор, пока кресло-коляска не развернется в обратном направлении. Если кресло-коляска имеет рулевое управление с прямым приводом, устанавливают управляемые колеса в положение минимального радиуса поворота, а затем придают максимальную мощность для движения вперед.
c) Ведут наблюдение за динамической реакцией кресла-коляски и дают этой реакции количественную оценку по балльной шкале согласно приложению C.
d) Повторяют действия от a) до c), поворачивая направо, и вносят в протокол более низкую из полученных оценок, а также отмечают соответствующее этой оценке направление поворота кресла-коляски.
e) Повторяют действия от b) до d) на наклонных плоскостях с углами наклона, равными 3°, 6° и 10°, или другими углами наклона, указанными изготовителем, начиная движение кресла-коляски передним ходом под уклон с разворотом на 180°. Если изготовителем рекомендуется какой-либо способ для движения по наклонной плоскости, то проводят испытание с использованием этого способа. Если изготовителем указывается максимальный угол наклона, испытания проводят для всех углов наклона, увеличивая угол вплоть до максимального значения, указанного изготовителем, в противном случае способы испытаний оставляют в неизменном виде.
10.4 Движение по кругу с максимальной скоростью
a) Приводят кресло-коляску в движение вперед с максимальной скоростью по горизонтальной испытательной плоскости.
b) Делают поворот и двигаются по круговым траекториям уменьшающегося радиуса, продолжая движение с максимально возможной скоростью. Для каждого круга вносят в протокол число баллов согласно приложению C.
c) Определяют минимальный диаметр круговой траектории, округляя значение до 100 мм, по которой кресло-коляска будет проезжать с максимально возможной скоростью, получая оценку 2 балла или более.
d) Измеряют диаметр круга, описываемого осевой линией кресла-коляски.
e) Повторяют действия от a) до d), делая поворот в противоположном направлении.
f) Вносят в протокол значение большего из диаметров, а также регистрируют соответствующее направление поворота кресла-коляски.
Примечание - Чтобы было легче следовать круговой траектории движения, можно использовать оставляющий след мел на стержне, прикрепленном к креслу-коляске.
10.5 Резкий поворот на максимальной скорости
Большинство кресел-колясок, имеющих рулевое управление с прямым приводом, не будут сохранять устойчивость во время данного испытания. В процессе этого испытания следует соблюдать осторожность.
a) Приводят кресло-коляску в движение вперед с максимальной скоростью по прямой линии на горизонтальной испытательной плоскости.
b) Воздействуют на устройство управления так, чтобы выполнить поворот на 90° с минимальным радиусом.
c) Ведут наблюдение за динамической реакцией кресла-коляски и дают этой реакции количественную оценку по балльной шкале согласно приложению C.
d) Повторяют действия от a) до c), делая поворот в противоположном направлении.
e) Вносят в протокол более низкую из полученных оценок, а также регистрируют соответствующее направление поворота кресла-коляски.
10.6 Съезд со ступени передним ходом под углом
a) Приводят кресло-коляску в движение вперед с минимально и с максимально возможной скоростью, так чтобы осевая линия кресла-коляски составляла угол 10° +/- 2° по отношению к краю ступени высотой 15 мм, пока все колеса кресла-коляски не съедут со ступени.
b) Ведут наблюдение за динамической реакцией кресла-коляски и дают этой реакции количественную оценку по балльной шкале согласно приложению C.
c) Повторяют действия a) и b) для съезда кресла-коляски со ступени под углом, используя противоположную сторону кресла-коляски.
d) Вносят в протокол более низкую из полученных оценок, а также отмечают, какой стороне кресла-коляски эта оценка соответствует.
e) Повторяют действия от a) до d) при высоте ступеней, равной 25 и 50 мм.
f) Если в инструкции изготовителя заявлено, что кресло-коляска способно преодолевать и более высокие ступени, повторяют действия от a) до c) для ступени высотой, кратной 25 мм, увеличивая высоту ступени вплоть до высоты, заявленной изготовителем, но оканчивая испытание в том случае, когда кресло-коляска не сможет съехать со ступени, получая оценку 2 балла или более.
Примечание - Для достижения указанной изготовителем высоты ступени может использоваться увеличение высоты ступени, меньше чем на 25 мм.
11 Протокол испытаний
Протокол испытаний должен содержать следующую информацию:
a) ссылку на настоящий стандарт;
b) наименование и адрес учреждения, которое проводило испытания, с указанием того, соответствует ли данное учреждение требованиям ИСО/МЭК 17025;
c) наименование и адрес изготовителя кресла-коляски;
d) дату выдачи протокола испытаний;
e) тип кресла-коляски, номер серии и партии;
f) массу испытательного манекена или, если испытания проводились с участием человека, массу испытателя и дополнительных грузов;
g) параметры регулируемых элементов кресла-коляски, указанные в ИСО 7176-22, включая комплектацию и настройки, а также все дополнительные подробности относительно установки регулируемых элементов, как указано в разделе 6;
h) как минимум две фотографии, показывающие обе стороны, вид спереди и сзади кресла-коляски в той комплектации, как это имело место при проведении испытаний;
i) описание изменений, в том числе дополнительные фотографии кресла-коляски в той окончательной конфигурации, испытания которой проводились по процедурам разделов 8, 9 и 10;
j) предусмотрены ли для данного кресла-коляски антиопрокидывающие устройства и устройства для преодоления бордюра;
k) сведения об устройстве управления креслом-коляской с указанием, имеется ли рулевое управление с прямым приводом;
l) результаты испытаний, описанные в разделах 8, 9 и 10.
Примечание - В приложении D дана рекомендуемая форма представления результатов испытаний.
12 Сообщение о результатах
В листах спецификаций изготовителя, выполненных по форме, установленной в ИСО 7176-15, должны быть представлены следующие результаты:
- "Задняя динамическая устойчивость на наклонной плоскости: x°",
где x - максимальный угол наклона плоскости (например, 0°, 3°, 6°, 10°), при котором реакцию кресла-коляски при испытаниях по 8.3, 8.4 и 8.5 оценивают в 2 балла или более;
- "Передняя динамическая устойчивость на наклонной плоскости: x°",
где x - максимальный угол наклона плоскости (например, 0°, 3°, 6°, 10°), при котором реакцию кресла-коляски при испытаниях по 9.3 и 9.4 оценивают в 2 балла или более;
- "Боковая динамическая устойчивость на наклонной плоскости: x°",
где x - максимальный угол наклона плоскости (например, 0°, 3°, 6°, 10°), при котором реакцию кресла-коляски при испытаниях по 10.3 оценивают в 2 балла или более;
- "Боковая динамическая устойчивость при движении по кругу: x",
где x - минимальный диаметр круга в метрах, при котором реакцию кресла-коляски при испытаниях по 10.4 оценивают в 2 балла или более;
- "Боковая динамическая устойчивость при резком повороте: x",
где x - "Да" или "Нет" при ответе на вопрос, оценена ли реакция кресла-коляски при испытаниях по 10.5 в 2 балла или более;
- "Задняя динамическая устойчивость при въезде на ступень передним ходом: x",
где x - максимальная высота ступени (например, 15, 25, 50 мм или более, если указано изготовителем), при которой реакцию кресла-коляски при испытаниях по 8.6 и 8.7 оценивают в 2 балла или более;
- "Задняя динамическая устойчивость при съезде со ступени задним ходом: x",
где x - максимальная высота ступени (например, 15, 25, 50 мм или более, если указано изготовителем), при которой реакцию кресла-коляски при испытаниях по 8.8 оценивают в 2 балла или более;
- "Передняя динамическая устойчивость при въезде на ступень передним ходом: x",
где x - максимальная высота ступени (например, 15, 25, 50 мм или более, если указано изготовителем), при которой реакцию кресла-коляски при испытаниях по 9.5 оценивают в 2 балла или более;
- "Передняя динамическая устойчивость при съезде со ступени задним ходом: x",
где x - максимальная высота ступени (например, 15, 25, 50 мм или более, если указано изготовителем), при которой реакцию кресла-коляски при испытаниях по 9.6 оценивают в 2 балла или более;
- "Боковая устойчивость при съезде со ступени передним ходом под углом: x",
где x - максимальная высота ступени (например, 15, 25, 50 мм или более, если указано изготовителем), при которой реакцию кресла-коляски при испытаниях по 10.6 оценивают в 2 балла или более.
Приложение A
(справочное)
УСТАНОВКА КРЕСЛА-КОЛЯСКИ ПРИ ДИСТАНЦИОННОМ УПРАВЛЕНИИ
A.1 Принцип
Для того чтобы управлять креслом-коляской, рекомендуется использовать устройства радиоуправления, как те, что используются для радиоуправляемых моделей. Сервоприводы для таких элементов имеют небольшой вес и стоят недорого. Для оснащения кресла-коляски такими сервоприводами понадобится минимальная модификация.
A.2 Аппаратура
A.2.1 Общие положения
Способ установки определяется способом управления креслом-коляской, т.е. управление с помощью джойстика или рулевое управление (обычно используемое для скутеров).
Выбирают и загружают испытательный манекен, соответствующий ИСО 7176-11, таким образом, как это определено в ИСО 7176-22. Вносят в протокол массу выбранного манекена.
A.2.2 Управление с помощью джойстика
Джойстик может быть управляемым двумя сервоприводами на кронштейне, прикрепленном к модулю джойстика и двигающим джойстик вперед/назад и в боковых направлениях, как показано на рисунке A.1.
1 - модуль управления джойстиком; 2 - поворотный
переключатель сервопривода левого/правого хода;
3 - сервопривод левого/правого хода; 4 - поворотный
переключатель сервопривода переднего/заднего хода;
5 - сервопривод переднего/заднего хода;
6 - ручка управления джойстиком; 7 - манжета
(соединяющая приводы с рукояткой)
Рисунок A.1 - Принадлежности дистанционного управления
для входного устройства джойстика
A.2.3 Рулевое управление
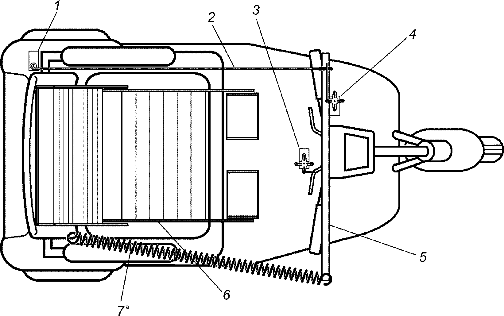
Кресла-коляски, использующие рулевой механизм, имеют растягивающуюся при нагружении пружину, присоединенную к одной из рукояток рулевого рычага. К другой рукоятке прикреплен гибкий шнур, который дает креслу-коляске двигаться по прямой линии. Гибкий шнур отпускается сервоприводом, давая пружине поворачивать руль. Заранее настроенные упоры, включенные в рулевой механизм, задают радиус поворота. Другой сервопривод установлен для управления скоростью. Чертеж системы показан на рисунке A.2.
1 - сервопривод для регулировки положения руля
(дополнительно); 2 - рулевой фал; 3 - сервопривод
для управления скоростью; 4 - сервопривод для отпуска
рулевого фала; 5 - держатель фала и пружины;
6 - испытательный манекен; 7 - растягивающаяся
при нагружении пружина; a - держатель жестко прикреплен
к рулевому рычагу
Рисунок A.2 - Принадлежности дистанционного управления
для входного устройства рулевого рычага
Для регулировки положения руля рекомендуется третий сервопривод, который позволяет креслу-коляске двигаться по прямой линии.
Приложение B
(справочное)
ИСПОЛЬЗОВАНИЕ ИСПЫТАТЕЛЯ
B.1 Принцип
Испытательным лабораториям рекомендуется вместо испытателей загружать в кресла-коляски испытательные манекены, соответствующие ИСО 7176-11, поскольку некоторые испытания, описанные в настоящем стандарте, чреваты получением травм. К тому же практика показывает, что испытатели имеют тенденцию перемещать свой центр тяжести, чтобы сбалансировать потерю устойчивости креслом-коляской, что ставит под сомнение результаты испытаний. Рекомендуется рассматривать альтернативные методы, описанные в приложении A.
Следует признать, что в некоторых случаях необходимо использовать испытателей, и должны приниматься соответствующие меры предосторожности с тем, чтобы минимизировать риск получения травмы и движения испытателя.
Использование испытателя не является рекомендованной практикой из-за возможности получения травм и погрешностей в результатах.
B.2 Устройства, применяемые при использовании испытателя
Если при испытаниях планируется использовать испытателя, следует предпринять все возможные меры предосторожности для предотвращения травм. Следует использовать защитные средства, включая защитный шлем, перчатки, мотоциклетную куртку и наколенники.
Чтобы ограничить движение испытателя в кресле-коляске или скутере и тем самым минимизировать перемещение его центра тяжести, необходимо использовать средства боковой поддержки туловища и подголовник.
B.3 Критерии, подлежащие соблюдению при использовании испытателя
Испытатель должен иметь опыт управления коляской более четырех часов.
Должны применяться приспособления, не позволяющие испытателю наклоняться вперед или в стороны.
Движение испытателя не должно ограничиваться ремнями, которые не позволят ему при необходимости покинуть кресло.
Испытателя выбирают в соответствии с ИСО 7176-22.
Приложение C
(обязательное)
СИСТЕМА ОЦЕНКИ УСТОЙЧИВОСТИ КРЕСЛА-КОЛЯСКИ
Наблюдаемая динамическая реакция кресла-коляски на испытательные маневры должна быть выражена количественно, как указано в таблице C.1.
Таблица C.1
Система количественной оценки реакции кресла-коляски
на испытательные маневры
Наблюдаемая динамическая реакция кресла-коляски
Оценка, балл
Отрыв колес не происходит
По меньшей мере три колеса все время остаются на испытательной плоскости
3
Кратковременный отрыв колес
Менее трех колес остаются в контакте с испытательной плоскостью и хотя бы одно колесо, оторвавшееся от плоскости, опускается обратно на испытательную плоскость независимо от того, контактирует ли антиопрокидывающее устройство с испытательной плоскостью или нет
2
Упор на антиопрокидывающее устройство <a>
По меньшей мере одно антиопрокидывающее устройство приходит в соприкосновение с испытательной плоскостью, а кресло-коляска становится в упор на антиопрокидывающее(ие) устройство(а)
1
Опрокидывание
Кресло-коляска опрокидывается (хотя бы одна часть кресла-коляски, кроме колеса или антиопрокидывающее устройство соприкасается с испытательной плоскостью), если этому не воспрепятствует какое-либо удерживающее устройство или проводящий испытания персонал
0
<a> Когда определяют, встало ли кресло-коляска в упор на антиопрокидывающее(ие) устройство(а), подразумевают, что сидящий в кресле-коляске человек не может возвратить кресло-коляску в вертикальное положение без посторонней помощи. Если кресло-коляска не оборудовано антиопрокидывающим устройством, оценку в 1 балл не дают.
Приложение D
(справочное)
РЕКОМЕНДУЕМАЯ ФОРМА ПРЕДСТАВЛЕНИЯ РЕЗУЛЬТАТОВ ИСПЫТАНИЙ
Испытательная нагрузка: масса ........ кг
Манекен по ИСО или испытатель: .................
Испытания на заднюю динамическую устойчивость
Описание регулировок кресла-коляски, предпринятых для установки наименее устойчивой конфигурации для каждого испытания на заднюю динамическую устойчивость (см. 8.2).
Фотография кресла-коляски в наименее устойчивой конфигурации.
Испытания на переднюю динамическую устойчивость
Описание регулировок кресла-коляски, предпринятых для установки наименее устойчивой конфигурации для каждого испытания на переднюю динамическую устойчивость (см. 9.3).
Фотография кресла-коляски в наименее устойчивой конфигурации.
Испытания на боковую динамическую устойчивость
Описание регулировок кресла-коляски, предпринятых для установки наименее устойчивой конфигурации для каждого испытания на боковую динамическую устойчивость (см. 10.2).
Фотография кресла-коляски в наименее устойчивой конфигурации.
Дополнительные наблюдения:
- Когда в ходе испытания применяют торможение, записывают в протокол, какой именно способ торможения вызвал потерю устойчивости, в соответствии с нижеследующим:
R - торможение при отпускании устройства управления;
P - экстренное торможение путем отключения электропитания;
A - подача команды на движение в обратном направлении с помощью устройства управления.
- Регистрируют каждый случай скольжения колес, имевший место при маневрировании.
- Ставят "X" в тех случаях, когда испытание не может быть выполнено, и указывают причину. Это не относится к случаям, когда испытания не проводили, поскольку оценка 0 уже была получена при меньшем угле наклона плоскости, меньшей высоте ступени или меньшей скорости. Как указано в разделе 7, в таких случаях в протокол должна быть внесена оценка 0.
- В графах, обозначенных "xx", указывают высоту ступени.
- При каждом испытании оценку устойчивости выводят при использовании порядковой шкалы в соответствии с приложением C.
- N/A = не применяется.
Таблица D.1
Рекомендуемая форма представления результатов испытаний
Испытание
Антиопрокидывающие устройства
Способ торможения
Оценка устойчивости
Угол наклона плоскости (°)
Примечания
0
3
6
10
Задняя динамическая устойчивость
8.3 Трогание с места при движении вперед
С антиопрокидывающими устройствами
Без антиопрокидывающих устройств
8.4 Торможение при движении вперед на горизонтальной поверхности или на подъем
С антиопрокидывающими устройствами
R
P
A
Без антиопрокидывающих устройств
R
P
A
8.5 Торможение при движении задним ходом
С антиопрокидывающими устройствами
R
P
A
Без антиопрокидывающих устройств
R
P
A
Передняя динамическая устойчивость
9.3 Торможение при движении вперед по горизонтальной плоскости или под уклон
N/A
R
P
A
9.4 Переход от спуска передним ходом по наклонной плоскости к движению по горизонтальной поверхности
N/A
N/A
N/A
Боковая динамическая устойчивость
10.3 Поворот на плоскости из неподвижного начального состояния
N/A
N/A
10.4 Движение по кругу с максимальной скоростью
N/A
N/A
N/A
N/A
N/A
10.5 Резкий поворот на максимальной скорости
N/A
N/A
N/A
N/A
N/A
Таблица D.2
Рекомендуемая форма представления результатов испытаний
Испытание
Устройства для преодоления бордюра тротуара
Оценка устойчивости
Примечания
Высота ступени, мм
15
25
50
xx
xx
Задняя динамическая устойчивость
8.6 Подъем на ступень передним ходом без предварительного разгона
С устройствами для преодоления бордюра тротуара
Без устройств для преодоления бордюра тротуара
8.7 Въезд на ступень передним ходом при движении с максимальной скоростью
С устройствами для преодоления бордюра тротуара
Без устройств для преодоления бордюра тротуара
8.8 Спуск со ступени задним ходом при нулевой начальной скорости
N/A
Передняя динамическая устойчивость
9.5 Въезд на ступень передним ходом при движении с максимальной скоростью
С устройствами для преодоления бордюра тротуара
Без устройств для преодоления бордюра тротуара
9.6 Спуск со ступени передним ходом при нулевой начальной скорости
N/A
Боковая динамическая устойчивость
10.6 Съезд со ступени передним ходом под углом
N/A
Приложение ДА
(справочное)
СВЕДЕНИЯ О СООТВЕТСТВИИ ССЫЛОЧНЫХ МЕЖДУНАРОДНЫХ СТАНДАРТОВ
НАЦИОНАЛЬНЫМ СТАНДАРТАМ
Таблица ДА.1
Обозначение ссылочного международного стандарта
Степень соответствия
Обозначение и наименование соответствующего национального стандарта
ISO 7176-11
IDT
ГОСТ Р ИСО 7176-11-2015 "Кресла-коляски. Часть 11. Испытательные манекены"
ISO 7176-13
IDT
ГОСТ Р ИСО 7176-13-96 "Кресла-коляски. Методы испытаний для определения коэффициента трения испытательных поверхностей"
ISO 7176-15
IDT
ГОСТ Р ИСО 7176-15-2007 "Кресла-коляски. Часть 15. Требования к документации и маркировке для обеспечения доступности информации"
ISO 7176-22
IDT
ГОСТ Р ИСО 7176-22-2018 "Кресла-коляски. Часть 22. Правила установки"
ISO 7176-26
IDT
ГОСТ Р ИСО 7176-26-2011 "Кресла-коляски. Часть 26. Словарь"
Примечание - В настоящей таблице использовано следующее условное обозначение степени соответствия стандартов:
- IDT - идентичные стандарты.
БИБЛИОГРАФИЯ
[1]
ISO/IEC 17025, General requirements for the competence of testing and calibration laboratories (Общие требования к компетентности испытательных и калибровочных лабораторий)
УДК 615.478.3.001.4:006.354
ОКС 11.180
ОКПД2 30.92.20.000
Ключевые слова: кресла-коляски, динамическая устойчивость, кресла-коляски с электроприводом