Главная // Актуальные документы // ГОСТ Р (Государственный стандарт)СПРАВКА
Источник публикации
М.: Стандартинформ, 2019
Примечание к документу
Документ
введен в действие с 1 февраля 2020 года.
Название документа
"ГОСТ Р 8.959-2019. Национальный стандарт Российской Федерации. Государственная система обеспечения единства измерений. Наилучшие доступные технологии. Автоматические измерительные системы для контроля вредных промышленных выбросов. Методика поверки"
(утв. и введен в действие Приказом Росстандарта от 18.06.2019 N 316-ст)
"ГОСТ Р 8.959-2019. Национальный стандарт Российской Федерации. Государственная система обеспечения единства измерений. Наилучшие доступные технологии. Автоматические измерительные системы для контроля вредных промышленных выбросов. Методика поверки"
(утв. и введен в действие Приказом Росстандарта от 18.06.2019 N 316-ст)
Утвержден и введен в действие
по техническому регулированию
и метрологии
от 18 июня 2019 г. N 316-ст
НАЦИОНАЛЬНЫЙ СТАНДАРТ РОССИЙСКОЙ ФЕДЕРАЦИИ
ГОСУДАРСТВЕННАЯ СИСТЕМА ОБЕСПЕЧЕНИЯ ЕДИНСТВА ИЗМЕРЕНИЙ.
НАИЛУЧШИЕ ДОСТУПНЫЕ ТЕХНОЛОГИИ
АВТОМАТИЧЕСКИЕ ИЗМЕРИТЕЛЬНЫЕ СИСТЕМЫ ДЛЯ КОНТРОЛЯ
ВРЕДНЫХ ПРОМЫШЛЕННЫХ ВЫБРОСОВ
МЕТОДИКА ПОВЕРКИ
State system for ensuring the uniformity of measurements.
Best available techniques. Automated measuring systems
for control of harmful industrial emissions. Verification
procedure
ГОСТ Р 8.959-2019
Дата введения
1 февраля 2020 года
1 РАЗРАБОТАН Федеральным государственным унитарным предприятием "Всероссийский научно-исследовательский институт метрологии им. Д.И. Менделеева" (ФГУП "ВНИИМ им. Д.И. Менделеева")
2 ВНЕСЕН Техническим комитетом по стандартизации ТК 206 "Эталоны и поверочные схемы", подкомитетом ПК 206.5 "Эталоны и поверочные схемы в области измерения физико-химического состава и свойств веществ"
3 УТВЕРЖДЕН И ВВЕДЕН В ДЕЙСТВИЕ
Приказом Федерального агентства по техническому регулированию и метрологии от 18 июня 2019 г. N 316-ст
4 ВВЕДЕН ВПЕРВЫЕ
Правила применения настоящего стандарта установлены в статье 26 Федерального закона от 29 июня 2015 г. N 162-ФЗ "О стандартизации в Российской Федерации". Информация об изменениях к настоящему стандарту публикуется в ежегодном (по состоянию на 1 января текущего года) информационном указателе "Национальные стандарты", а официальный текст изменений и поправок - в ежемесячном информационном указателе "Национальные стандарты". В случае пересмотра (замены) или отмены настоящего стандарта соответствующее уведомление будет опубликовано в ближайшем выпуске ежемесячного информационного указателя "Национальные стандарты". Соответствующая информация, уведомление и тексты размещаются также в информационной системе общего пользования - на официальном сайте Федерального агентства по техническому регулированию и метрологии в сети Интернет (www.gost.ru)
Настоящий стандарт распространяется на автоматические измерительные системы для контроля промышленных выбросов (отходящих газов) (далее - АИС КВ), устанавливаемые на стационарные источники загрязнения окружающей среды и обеспечивающие автоматические измерения и учет показателей выбросов загрязняющих веществ, фиксацию и передачу информации о показателях выбросов загрязняющих веществ в государственный реестр объектов, оказывающих негативное воздействие на окружающую среду
[1],
[2].
Стандарт устанавливает основные методы и средства поверки АИС КВ, оснащенных оптическим измерительным каналом определения содержания взвешенных (твердых) частиц в отходящих газах, газоаналитическими измерительными каналами с системой пробоотбора и измерительными каналами параметров газового потока (температуры, давления, скорости/объемного расхода).
В настоящем стандарте использованы нормативные ссылки на следующие стандарты:
ГОСТ 2.601 Единая система конструкторской документации. Эксплуатационные документы
ГОСТ 2.610 Единая система конструкторской документации. Правила выполнения эксплуатационных документов
ГОСТ 8.558 Государственная система обеспечения единства измерений. Государственная поверочная схема для средств измерений температуры
ГОСТ 8.606 Государственная система обеспечения единства измерений. Государственная поверочная схема для средств измерений дисперсных параметров аэрозолей, взвесей и порошкообразных материалов
ГОСТ 12.1.005 Система стандартов безопасности труда. Общие санитарно-гигиенические требования к воздуху рабочей зоны
ГОСТ 12.2.007.0 Система стандартов безопасности труда. Изделия электротехнические. Общие требования безопасности
ГОСТ 9293 (ИСО 2435-73) Азот газообразный и жидкий. Технические условия
ГОСТ Р 8.563 Государственная система обеспечения единства измерений. Методики (методы) измерений
ГОСТ Р 8.753 Государственная система обеспечения единства измерений. Стандартные образцы материалов (веществ). Основные положения
ГОСТ Р 8.840 Государственная система обеспечения единства измерений. Государственная поверочная схема для средств измерений абсолютного давления в диапазоне 1 - 1·10
6 Па
ГОСТ Р 8.886 Государственная система обеспечения единства измерений. Государственная поверочная схема для средств измерений скорости воздушного потока
ГОСТ Р 8.958 Государственная система обеспечения единства измерений. Наилучшие доступные технологии. Автоматические измерительные системы для контроля вредных промышленных выбросов. Методы и средства испытаний
ГОСТ Р 8.960 Государственная система обеспечения единства измерений. Наилучшие доступные технологии. Метрологическое обеспечение автоматических измерительных систем для контроля вредных промышленных выбросов. Основные положения
ГОСТ Р ИСО 9096 Выбросы стационарных источников. Определение массовой концентрации твердых частиц ручным гравиметрическим методом
Примечание - При пользовании настоящим стандартом целесообразно проверить действие ссылочных стандартов в информационной системе общего пользования - на официальном сайте Федерального агентства по техническому регулированию и метрологии в сети Интернет или по ежегодному информационному указателю "Национальные стандарты", который опубликован по состоянию на 1 января текущего года, и по выпускам ежемесячного информационного указателя "Национальные стандарты" за текущий год. Если заменен ссылочный стандарт, на который дана недатированная ссылка, то рекомендуется использовать действующую версию этого стандарта с учетом всех внесенных в данную версию изменений. Если заменен ссылочный стандарт, на который дана датированная ссылка, то рекомендуется использовать версию этого стандарта с указанным выше годом утверждения (принятия). Если после утверждения настоящего стандарта в ссылочный стандарт, на который дана датированная ссылка, внесено изменение, затрагивающее положение, на которое дана ссылка, то это положение рекомендуется применять без учета данного изменения. Если ссылочный стандарт отменен без замены, то положение, в котором дана ссылка на него, рекомендуется применять в части, не затрагивающей эту ссылку.
3 Термины, определения и сокращения
3.1 В настоящем стандарте применены термины по
[1] -
[4], а также следующие термины с соответствующими определениями:
3.1.1 автоматическая измерительная система для контроля промышленных выбросов; АИС КВ: Измерительная система, устанавливаемая на объектах, оказывающих негативное воздействие на окружающую среду, принимаемая как законченное изделие непосредственно на месте эксплуатации и представляющая собой комплекс технических средств, осуществляющих автоматические измерения и учет показателей выбросов загрязняющих веществ (массовых выбросов), фиксацию и передачу информации о показателях выбросов загрязняющих веществ в государственный реестр объектов, оказывающих негативное воздействие на окружающую среду.
3.1.2
измерительный канал; ИК: Конструктивно или функционально выделяемая часть измерительной системы, выполняющая законченную функцию от восприятия измеряемой величины до получения результата ее измерений, выражаемого числом или соответствующим ему кодом, или до получения аналогового сигнала, один из параметров которого - функция измеряемой величины. |
3.1.3 массовый выброс: Масса загрязняющего вещества, поступающего в атмосферу от источника загрязнения атмосферы в единицу времени.
3.1.4 система пробоотбора: Набор технических средств, предназначенных для отбора пробы газа и подачи ее к газоаналитическому устройству, состоящий из пробоотборных устройств (зонд, трубопровод для передачи пробы, устройства для измерения и регулирования расхода, нагнетательный насос) и устройств подготовки проб (фильтр для улавливания взвешенных (твердых) частиц, предварительный отделитель примесей).
Примечание - В зависимости от принципа действия газоаналитического ИК система пробоотбора может включать другие дополнительные устройства подготовки проб.
3.1.5
нулевой газ: Газовая смесь, как правило, используемая для установления нулевой точки градуировочной кривой путем данной аналитической процедуры в пределах данного диапазона градуировки. [ГОСТ Р МЭК 61207-1-2009, статья 3.3] |
3.1.6 стационарный источник загрязнения окружающей среды (стационарный источник): Источник загрязнения окружающей среды, местоположение которого определено с применением единой государственной системы координат.
3.2 В настоящем стандарте применены следующие сокращения:
АИС КВ - автоматическая измерительная система для контроля промышленных выбросов;
АЛ - аккредитованная лаборатория;
АРМ - автоматизированное рабочее место;
ГС - газовая смесь;
ГСО-ПГС - поверочная газовая смесь - стандартный образец утвержденного типа;
ИК - измерительный канал;
МИ - методика (метод) измерений;
МП - методика поверки;
МХ - метрологическая характеристика;
ОТ - описание типа средств измерений (приложение к свидетельству об утверждении типа);
ПО - программное обеспечение;
СИ - средство измерений;
ФИФ по ОЕИ - Федеральный информационный фонд по обеспечению единства измерений;
ЭД - эксплуатационная документация.
Примечание - К ЭД, согласно настоящему стандарту, относятся: руководство по эксплуатации, паспорт (формуляр) по
ГОСТ 2.601,
ГОСТ 2.610.
4.1 Типовая АИС КВ состоит:
- из комплекса средств измерений (измерительных каналов), включающего измерительные газоаналитические каналы (для измерения содержания загрязняющих веществ, содержания кислорода, содержания диоксида углерода, содержания паров воды), измерительный канал содержания взвешенных (твердых) частиц (для измерения содержания взвешенных (твердых) частиц), измерительные каналы параметров газового потока (для измерения температуры, давления, скорости/объемного расхода, содержания паров воды);
- технических средств фиксации и передачи информации, включающих контроллер, автономное специализированное ПО и АРМ оператора системы.
Измерительные каналы осуществляют автоматические непрерывные измерения указанных параметров и передают результаты измерений техническим средствам фиксации и передачи информации (контроллеру системы).
Контроллер проводит преобразование, обработку и хранение результатов измерений, осуществляет передачу на АРМ оператора системы и во внешнюю сеть на удаленный сервер по согласованному протоколу показателей выбросов загрязняющих веществ в формате усредненных за установленный промежуток времени и приведенных к стандартизированным условиям значений массовых концентраций и массовых выбросов загрязняющих веществ, а также информацию о состоянии системы и возникающих в ходе ее работы ошибках.
Примечания
1 В состав газоаналитических ИК входят система пробоотбора и газоаналитические СИ.
2 В АИС КВ без предварительного удаления паров воды перед подачей пробы в газоаналитические СИ содержание паров воды (влажность) измеряют с помощью газоаналитического ИК; в АИС КВ, предусматривающих предварительное удаление паров воды, для измерения влажности служит отдельный ИК. В обоих случаях определение МХ измерений влажности при поверке проводят по
10.3.3.4.
4.2 Поверку АИС КВ проводят в соответствии с
порядком, установленным в
[5], по методике поверки, которую разрабатывают в ходе испытаний системы в целях утверждения типа в соответствии с требованиями настоящего стандарта.
4.3 Поверку АИС КВ проводит АЛ, аккредитованная на право поверки СИ в соответствующей области измерений.
4.4 Первичную поверку АИС КВ проводят после монтажа системы, прошедшей испытания на стационарном источнике загрязнений, и ее опытной эксплуатации в течение не менее 1 мес, а также после ремонта ИК системы.
4.5 Периодические поверки АИС КВ проводят в сроки в соответствии с интервалом между поверками, установленным в ходе проведения испытаний АИС КВ в целях утверждения типа и приведенным в свидетельстве об утверждении типа.
4.6 Поверка АИС КВ включает следующие операции:
- определение МХ газоаналитических ИК АИС КВ, ИК взвешенных (твердых) частиц, ИК параметров газового потока;
- проверку технических средств фиксации и передачи информации.
Примечание - При проведении первичной и периодических поверок ИК взвешенных (твердых) частиц устанавливают поправочные калибровочные коэффициенты, соответствующие параметрам реальной газодисперсной среды.
4.7 Проверка технических средств фиксации и передачи информации включает проверку передачи информации от аналитического оборудования на АРМ системы при определении МХ каждого ИК, а также подтверждение соответствия параметров автономного специализированного ПО параметрам, указанным в ОТ АИС КВ (см.
10.2.2).
4.8 Если при проведении той или иной операции поверки ИК системы получен отрицательный результат, дальнейшая поверка системы прекращается.
5.1 При проведении поверки выполняют операции, указанные в
таблице 1.
Таблица 1
Наименование операции | Номер пункта стандарта | Обязательность проведения операции |
при первичной поверке | при периодической поверке |
1 Внешний осмотр | | Да | Да |
2 Опробование | | Да | Да |
2.1 Проверка общего функционирования | | Да | Да |
2.2 Подтверждение соответствия программного обеспечения | | Да | Да |
2.3 Проверка герметичности газовых коммуникаций системы | | Да | Да |
3 Определение метрологических характеристик | | | |
3.1 Определение погрешности газоаналитических ИК | | Да | Да |
3.2 Определение погрешности ИК взвешенных (твердых) частиц | | Да | Да |
3.3 Определение погрешности ИК параметров газового потока (температуры, давления, скорости/объемного расхода, содержания паров воды (влажности) <1> | | Да | Да |
Примечание - Перечень операций поверки может быть дополнен в зависимости от принципа действия, реализуемого в поверяемой АИС КВ, и особенностей ее конструкции, в соответствии с МП, разработанной в ходе проведения испытаний АИС КВ в целях утверждения типа. |
--------------------------------
5.2 При определении метрологических характеристик АИС-КВ проводятся следующие операции:
- определение МХ газоаналитических ИК на стационарном источнике загрязнений (по ГСО-ПГС и реальной среде с использованием мобильного поверочного комплекса) или с отбором проб и последующим анализом проб в лабораторных условиях;
- определение МХ ИК взвешенных (твердых) частиц в лабораторных условиях;
- определение МХ ИК температуры, давления, скорости/объемного расхода, влажности на стационарном источнике загрязнений и (или) в лабораторных условиях.
6 Средства и методы поверки
6.1 При проведении поверки используют следующие средства и методы:
1) для газоаналитических ИК:
- стандартные образцы утвержденного типа состава многокомпонентных газовых смесей в баллонах под давлением (ГСО-ПГС) не ниже 1-го разряда согласно действующей государственной поверочной схеме для средств измерений содержания компонентов в газовых и газоконденсатных средах
[6];
- мобильный поверочный комплекс, оснащенный системой пробоотбора и включающий аналитическое оборудование для определения содержания газовых компонентов в промышленных выбросах (эталонный многокомпонентный газоанализатор) и для определения параметров газового потока (температура, давление, влажность).
2) для ИК взвешенных (твердых) частиц:
- рабочий эталон 1-го разряда в соответствии с действующей государственной поверочной схемой для средств измерений дисперсных параметров аэрозолей, взвесей и порошкообразных материалов по ГОСТ 8.606.
3) для ИК параметров газового потока:
- рабочие эталоны 1-го разряда и поверочные средства в соответствии с действующими государственными поверочными схемами для СИ по данным видам измерений по
ГОСТ 8.558,
ГОСТ Р 8.840,
ГОСТ Р 8.886;
- эталонная система измерения параметров газопылевого потока с МХ рабочего эталона 1-го разряда.
Примечание - При отсутствии многокомпонентных ГСО-ПГС утвержденного типа допускается применение бинарных ГСО-ПГС не ниже 1-го разряда.
6.2 При проведении поверки АИС КВ допускается использование прошедших метрологическую аттестацию в установленном порядке МИ по измерению содержания газовых компонентов, паров воды (влажности) и взвешенных (твердых) частиц в промышленных выбросах.
6.3 Отношение погрешности применяемых при поверке эталонов или аттестованных МИ к пределу допускаемой погрешности соответствующих ИК АИС КВ должно быть не более 1:2.
6.4 Все средства поверки должны иметь действующие свидетельства о поверке, ГСО-ПГС и чистые газы в баллонах под давлением - действующие паспорта (сертификаты).
6.5 Допускается применение других средств поверки, обеспечивающих определение метрологических характеристик поверяемых средств измерений с требуемой точностью.
7 Требования безопасности
7.1 При проведении операций поверки на объекте без демонтажа системы должны соблюдаться требования промышленной безопасности, в том числе требования безопасности при работе на высоте в соответствии с
[7].
7.2 Помещение для проведения поверочных операций должно быть оборудовано приточно-вытяжной вентиляцией.
7.3 Содержание вредных компонентов в воздухе рабочей зоны должно соответствовать требованиям
ГОСТ 12.1.005.
7.4 Должны выполняться требования техники безопасности для защиты персонала от поражения электрическим током согласно классу I
ГОСТ 12.2.007.0.
7.5 Требования техники безопасности при эксплуатации ГС в баллонах под давлением должны соответствовать Федеральным
нормам и правилам в области промышленной безопасности в соответствии с
[8].
7.6 Не допускается сбрасывать газовые смеси в атмосферу рабочих помещений.
7.7 К поверке допускаются лица, изучившие настоящий стандарт, методику поверки АИС КВ, ЭД на АИС КВ, знающие правила эксплуатации электроустановок, в том числе во взрывоопасных зонах (
главы 3.4 и
7.3 [9]), правила устройства и безопасной эксплуатации сосудов, работающих под давлением, правила по охране труда при работе на высоте, и прошедшие необходимый инструктаж.
7.8 Для получения данных, необходимых для поверки, допускается участие в поверке оператора, обслуживающего систему (под контролем поверителя).
8.1 При проведении операций поверки в помещениях следует соблюдать нормальные условия.
Примечание - Нормальные условия соответствуют следующим значениям параметров окружающей среды:
- температура окружающей среды, °C | 20 +/- 5; |
- атмосферное давление, кПа | от 90,6 до 104,8; |
- относительная влажность воздуха, % | от 30 до 80. |
8.2 При проведении операций поверки на объекте в условиях эксплуатации условия поверки должны соответствовать условиям эксплуатации АИС КВ и средств поверки, указанным в ЭД.
9.1 Перед проведением поверки выполняют следующие подготовительные работы:
1) подготавливают средства измерений и устройства, входящие в состав системы, к работе в соответствии с требованиями ЭД;
2) проверяют наличие паспортов и сроки годности ГСО-ПГС;
3) выдерживают баллоны с ГСО-ПГС в помещении проведения поверки в течение 24 ч;
4) подготавливают к работе средства поверки в соответствии с требованиями их эксплуатационной документации;
5) предупреждают эксплуатационный персонал о выполняемой операции;
6) для блокирующих параметров - отключают блокировку по соответствующему параметру;
7) обеспечивают одновременную фиксацию показаний с дисплеев ИК и печатного протокола АРМ (с использованием средств фотофиксации).
9.2 При проведении поверки газоаналитического ИК подготавливают оборудование в соответствии со схемами, приведенными на
рисунках А.1 -
А.4 приложения А.
9.3 При проведении поверки ИК взвешенных (твердых) частиц подготавливают оборудование в соответствии со схемами, приведенными на
рисунке А.5 приложения А (при поверке с использованием тестового аэрозоля) или на
рисунке А.6 приложения А (при поверке с использованием светофильтров).
9.4 При проведении поверки ИК параметров газового потока подготавливают оборудование в соответствии со схемой, приведенной на
рисунке А.7 приложения А.
9.5 Перед поверкой системы выполняют регламентные работы, предусмотренные ЭД, в том числе корректировку нулевых показаний и чувствительности отдельных ИК в соответствии с ЭД.
10.1.1 Внешний осмотр системы проводят в порядке, указанном в
таблице 2.
Таблица 2
Этап | Содержание |
1 | Отсутствие внешних повреждений, влияющих на работоспособность системы: корпусов датчиков, контроллеров |
2 | Отсутствие повреждений линий связи (информационных каналов и линий питания): а) наличие канала связи с датчиком; б) наличие исправной линии питания контроллера и датчика |
3 | Надежность присоединения кабелей (определяется визуально - просмотр ввода кабеля в кабельные сальники, факт использования паспортных способов крепления кабелей и мануально - кабель не должен вытягиваться из кабельных сальников усилием руки и т.д.) |
4 | Исправность органов управления |
5 | Соответствие маркировки устройств, входящих в состав системы, требованиям нормативной документации на систему |
6 | Четкость надписей на лицевых панелях элементов системы |
7 | Соответствие температуры пробоотбора, указанной в паспорте, температуре точки росы для конкретного объекта с учетом запаса 15 °C |
10.1.2 Результаты проверки считают положительными, если система соответствует всем перечисленным выше требованиям.
10.2.1 Проверка общего функционирования
Проверку общего функционирования средств измерений и устройств в составе системы проводят в процессе тестирования при их запуске в соответствии с ЭД.
Результаты проверки считают положительными, если:
- отсутствует информация об отказах элементов, входящих в состав системы;
- на дисплеях ИК индицируется текущая информация об измеряемых параметрах;
- на мониторе АРМ для всех ИК поверяемой системы индицируется текущая информация об измеряемых параметрах.
10.2.2 Подтверждение соответствия программного обеспечения
10.2.2.1 Проверка правильности алгоритма расчета массового выброса
Проводят проверку наличия заключения об экспертизе алгоритма расчета массового выброса, выданного организацией, уполномоченной Минприроды России.
Проводят проверку наличия сертификата соответствия автономного ПО расчета массового выброса, выданного при испытании системы.
Результат проверки считается положительным при наличии указанных документов.
10.2.2.2 Подтверждение соответствия ПО системы проводится путем проверки соответствия ПО, тому ПО, которое было зафиксировано при испытаниях в целях утверждения типа.
Для проверки соответствия ПО выполняют следующие операции:
- просмотр идентификационных данных - номера версии;
- проверку контрольной суммы метрологически значимых частей ПО.
Номер версии ПО идентифицируется по начальному экрану запуска программы либо (при исполнении программы в среде ОС WindowsTM) по информации на вкладке "Подробно" пункта "Свойства" контекстного меню, появляющегося при нажатии правой кнопки мыши при выделении исполняемого файла ПО.
Проверка контрольной суммы исполняемого кода метрологически значимых частей ПО осуществляется с помощью утилиты rhash.exe независимого разработчика (http://sourceforge.net/projects/rhash/files/rhash/1.2.5/rhash-1.2.5-win32.zip/download) или любой другой утилитой, реализующей алгоритм определения контрольной суммы MD5.
Сравнивают полученные данные с идентификационными данными, установленными при проведении испытаний в целях утверждения типа и указанными в ОТ.
Результат подтверждения соответствия ПО считают положительным, если идентификационные данные соответствуют указанным в ОТ.
10.2.3 Проверка герметичности газовых коммуникаций системы
Проверка осуществляется подачей на вход газоаналитического ИК, имеющего канал измерений содержания кислорода, через систему пробоотбора поочередно двух газовых смесей: нулевого газа (азот газообразный в баллоне под давлением по
ГОСТ 9293) и ГСО-ПГС O
2/N
2 со значением объемной доли O
2, соответствующим середине диапазона измерений кислорода, указанного в ОТ.
Результаты проверки считают положительными, если отклонение показаний ИК от значения содержания кислорода, приведенного в паспорте на ГСО-ПГС и в
ГОСТ 9293, не превышает значения погрешности измерений кислорода, указанного в ОТ.
10.3 Определение метрологических характеристик измерительных каналов системы
10.3.1 Определение МХ газоаналитических ИК
Определение МХ газоаналитических ИК АИС КВ проводят без демонтажа системы на стационарном источнике загрязнений следующими методами:
- с отбором проб отходящих газов и их последующим анализом в лабораторных условиях в АЛ или на объекте;
- с использованием смесей ГСО-ПГС;
- с использованием мобильного поверочного комплекса с отбором проб отходящих газов;
- с использованием мобильного поверочного комплекса на среде, имитирующей реальную среду.
Примечание - Выбор конкретного метода определения МХ газоаналитических ИК определяют в зависимости от принципа действия, реализуемого в поверяемых газоаналитических ИК АИС КВ, особенностей их конструкции и в соответствии с МП, разработанной в ходе проведения испытаний АИС КВ в целях утверждения типа.
10.3.1.1 Определение МХ газоаналитических ИК АИС КВ с отбором проб отходящих газов и последующим анализом в лабораторных условиях
Определение МХ проводят с отбором проб отходящих газов по схеме, представленной на
рисунке А.1 приложения А.
Место отбора проб отходящих газов выбирают в газоходе как можно ближе к вводу в газоход зонда для отбора проб системы пробоотбора АИС КВ - I вариант либо через тройник, установленный на трубопроводе для транспортировки пробы АИС КВ (при условии транспортировки пробы через обогреваемый трубопровод с температурой выше точки кислотной росы) - II вариант (см. схему на
рисунке А.1 приложения А).
Одновременно с отбором проб фиксируют показания дисплея поверяемого газоаналитического ИК и показания монитора АРМ. Общая продолжительность измерений составляет 20 мин.
Проводят анализ отобранных проб в лабораторных условиях по МИ, аттестованной в соответствии с
ГОСТ Р 8.563.
Количество отобранных проб и число измерений проб должно соответствовать требованиям МИ.
По результатам измерений рассчитывают значения приведенной погрешности содержания
i-го компонента (

, %) для диапазонов измерений, в которых нормированы пределы допускаемой приведенной погрешности по формуле

, (10.1)
где

- содержание
i-го компонента по показаниям монитора АРМ (среднее арифметическое значение за 20 мин), мг/м
3 (млн
-1, % об.);
Ci,в, Ci,н - верхнее и нижнее значения диапазона измерений содержания определяемого компонента, соответственно, мг/м3 (млн-1, % об.);
Ci,МИ - содержание i-го компонента по аттестованной МИ, мг/м3 (млн-1, % об.).
Значения относительной погрешности (

, %) для
i-го компонента для диапазонов измерений, в которых нормированы пределы допускаемой относительной погрешности, рассчитывают по формуле

. (10.2)
Результаты поверки считают положительными, если:
- полученные значения погрешности не превышают значений, указанных в ОТ или МП для поверяемого ИК;
- расхождение показаний дисплея газоаналитического ИК и показаний монитора АРМ не превышает 0,2 долей от пределов допускаемой погрешности.
10.3.1.2 Определение МХ газоаналитического ИК АИС КВ с использованием ГСО-ПГС
Определение МХ проводят по схеме, представленной на
рисунке А.2 приложения А.
ГСО-ПГС - стандартные образцы утвержденного типа по
ГОСТ Р 8.753, по номенклатуре компонентов и диапазону содержания должны соответствовать данным, указанным в ОТ или МП.
Для определения МХ газоаналитического ИК используют три ГСО-ПГС с номинальным содержанием компонентов и пределами допускаемых отклонений от него, приведенными в
таблице 3.
Таблица 3
Количество и характеристики ГСО-ПГС
Порядковый номер газовых смесей, полученных на основе ГСО-ПГС с содержанием определяемых компонентов, соответствующим различным точкам диапазона измерений | Содержание определяемых компонентов в ГСО-ПГС, % от максимального значения |
1 | 5 +/- 5 |
2 | 50 +/- 5 |
3 | 95 +/- 5 |
ГСО-ПГС в последовательности NN 1-2-3-2-1-3 подают через тройник-переключатель на вход системы пробоотбора АИС КВ или в трубопровод транспортировки пробы перед системой пробоподготовки (при ее наличии) поверяемого газоаналитического ИК. Во время подачи ГСО-ПГС подачу отходящих газов в АИС КВ прекращают.
Продолжительность времени подачи каждой ГС составляет не менее тройного значения предела допускаемого времени установления выходного сигнала по уровню 90%.
Продолжительность измерений (после установления требуемого уровня выходного сигнала) составляет 20 мин, число измерений не менее четырех.
Проводят считывание показаний с дисплея поверяемого ИК АИС КВ и монитора АРМ.
По результатам измерений рассчитывают значения приведенной погрешности содержания
i-го компонента (

, %) для диапазонов измерений, в которых нормированы пределы допускаемой приведенной погрешности, по формуле

, (10.3)
где

- содержание
i-го компонента при анализе
j-й ГСО-ПГС по показаниям монитора АРМ (среднее арифметическое значение за 20 мин), мг/м
3 (млн
-1, % об.);
Ci,в, Ci,н - верхнее и нижнее значения диапазона измерений определяемого компонента, соответственно, мг/м3 (млн-1, % об.);
Ci,j,ат - содержание i-го компонента в j-й ГСО-ПГС (аттестованное значение), мг/м3 (млн-1, % об.).
Относительную погрешность содержания
i-го компонента (

, %) для диапазонов измерений, в которых нормированы пределы допускаемой относительной погрешности, рассчитывают по формуле

. (10.4)
Результаты поверки считают положительными, если:
- полученные значения погрешности не превышают значений, указанных в ОТ или МП для поверяемого ИК;
- расхождение показаний дисплея поверяемого ИК и показаний монитора АРМ не превышает 0,2 долей от пределов допускаемой погрешности.
Примечание - Состав и МХ ГСО-ПГС определяют в процессе проведения испытаний в целях утверждения типа АИС КВ и приводят в МП.
10.3.1.3 Определение МХ газоаналитических ИК АИС КВ с использованием мобильного поверочного комплекса
Определение МХ проводят по схеме, представленной на
рисунке А.3 приложения А, при одновременной подаче отходящих газов в газоаналитические ИК и в систему пробоотбора мобильного поверочного комплекса (см.
6.1), характеристики которого обеспечивают измерения содержания газовых компонентов в высокотемпературных увлажненных многокомпонентных газовых смесях с помощью эталонного многокомпонентного газоанализатора с точностью на уровне рабочего эталона 1-го разряда для определения действительного значения содержания газовых компонентов в отходящих газах.
Общая продолжительность измерений - 20 мин, число измерений не менее четырех.
Проводят считывание показаний с дисплея поверяемого ИК, монитора АРМ и дисплея эталонного многокомпонентного газоанализатора.
По результатам измерений рассчитывают значения приведенной погрешности содержания
i-го компонента (

, %) для диапазонов измерений, в которых нормированы пределы допускаемой приведенной погрешности, по формуле

, (10.5)
где

- содержание
i-го компонента по показаниям монитора АРМ (среднее арифметическое значение за 20 мин), мг/м
3 (млн
-1, % об.);
Ci,в, Ci,н - верхнее и нижнее значения диапазона измерений определяемого компонента, соответственно, мг/м3 (млн-1, % об.);

- содержание
i-го компонента в отходящих газах по показаниям дисплея эталонного многокомпонентного газоанализатора (среднее арифметическое значение за 20 мин), мг/м
3 (млн
-1, % об.).
Относительную погрешность содержания
i-го компонента (

, %) для диапазонов измерений, в которых нормированы пределы допускаемой относительной погрешности, рассчитывают по формуле

. (10.6)
Результаты поверки считают положительными, если:
- полученные значения погрешности не превышают значений, указанных в ОТ или МП для поверяемого ИК;
- расхождение показаний дисплея газоаналитического ИК и показаний монитора АРМ не превышает 0,2 долей от пределов допускаемой погрешности.
10.3.1.4 Поверка газоаналитических ИК АИС КВ на среде, имитирующей реальную среду, с использованием мобильного поверочного комплекса
Поверку проводят по схеме, представленной на
рисунке А.4 приложения А.
Газовую среду с параметрами, соответствующими реальной среде отходящих газов (номенклатура компонентов, температура, давление, влажность), получают на основе ГСО-ПГС с помощью комплекса газосмесительного оборудования, в состав которого входят газовый генератор, рабочая камера-смеситель, перистальтический насос для подачи воды. ГСО-ПГС - стандартные образцы утвержденного типа по
ГОСТ Р 8.753, по номенклатуре компонентов и диапазону содержания должны соответствовать данным, указанным в ОТ или МП. В качестве газа-носителя используют нулевой газ-азот газообразный по
ГОСТ 9293 или очищенный воздух, полученный с помощью генератора нулевого воздуха.
Осуществляют подачу ГСО-ПГС и воды на вход газового генератора.
Полученные на выходе рабочей камеры увлажненные высокотемпературные ГС с концентрациями компонентов, соответствующим указанным в
таблице 3, подают в последовательности NN 1-2-3-2-1-3 с помощью тройника-переключателя на вход системы пробоотбора АИС КВ или в трубопровод для транспортировки проб до системы пробоподготовки (при ее наличии). Далее ГС поступают в поверяемый ИК и, одновременно на вход системы пробоотбора мобильного поверочного комплекса (см.
6.1). При подаче ГС отбор и подачу отходящих газов в поверяемый ИК прекращают.
Продолжительность времени подачи каждой ГС составляет не менее тройного значения предела допускаемого времени установления выходного сигнала по уровню 90%.
Продолжительность измерений (после установления требуемого уровня выходного сигнала) составляет 20 мин, число измерений не менее четырех.
Проводят считывание показаний с дисплея поверяемого ИК, монитора АРМ и дисплея эталонного газоанализатора.
По результатам измерений рассчитывают значения приведенной погрешности содержания
i-го компонента (

, %) для диапазонов измерений, в которых нормированы пределы допускаемой приведенной погрешности, по формуле

, (10.7)
где

- содержание
i-го компонента при анализе
j-й ГС по показаниям монитора АРМ (среднее арифметическое значение за 20 мин), мг/м
3 (млн
-1, % об.);
Ci,в, Ci,н - верхнее и нижнее значения диапазона измерений определяемого компонента, соответственно, мг/м3 (млн-1, % об.);

- содержание
i-го компонента в
j-й ГС по показаниям дисплея эталонного многокомпонентного газоанализатора (среднее арифметическое значение за 20 мин), мг/м
3 (млн
-1, % об.).
Относительную погрешность содержания
i-го компонента (

, %) для диапазонов измерений, в которых нормированы пределы допускаемой относительной погрешности, рассчитывают по формуле

. (10.8)
Результаты поверки считают положительными, если:
- полученные значения погрешности не превышают значений, указанных в ОТ или МП для поверяемого ИК;
- расхождение показаний дисплея газоаналитического ИК и показаний монитора АРМ не превышает 0,2 долей от пределов допускаемой погрешности.
Примечание - Содержание воды в увлажненных высокотемпературных ГС должно соответствовать концу диапазона измерений содержания паров воды (влажности), приведенном в ОТ или МП АИС КВ.
10.3.2 Определение МХ ИК взвешенных (твердых) частиц
Определение МХ ИК взвешенных (твердых) частиц проводят с демонтажем системы в лабораторных условиях в АЛ или на объекте с использованием тестового аэрозоля и (или) светофильтров.
Примечания
1 При проведении первичной поверки ИК взвешенных (твердых) частиц устанавливают калибровочные коэффициенты, соответствующие параметрам реальной газодисперсной среды.
2 При невозможности использования светофильтров периодическая поверка ИК взвешенных (твердых) частиц проводится только по тестовым аэрозолям.
10.3.2.1 Определение погрешности ИК взвешенных (твердых) частиц с использованием тестового аэрозоля
Определение погрешности ИК взвешенных (твердых) частиц с использованием тестового аэрозоля проводят в лабораторных условиях в АЛ, по схеме, представленной на
рисунке А.5 приложения А, с использованием оборудования рабочего эталона единицы массовой концентрации частиц в аэродисперсных средах.
Подготавливают к работе оборудование, входящее в состав рабочего эталона в соответствии с ЭД (анализатор взвешенных частиц, генератор аэрозоля, тестовая камера).
Размещают ИК взвешенных (твердых) частиц в тестовой камере согласно рекомендациям по монтажу, приведенным в его ЭД.
Подключают анализатор взвешенных частиц и генератор аэрозоля к тестовой камере.
Устанавливают на генераторе скорость подачи тестового аэрозоля, обеспечивающую значение массовой концентрации частиц тестового аэрозоля в камере, соответствующей середине диапазона измерения содержания взвешенных (твердых) частиц поверяемым ИК. Контроль значения массовой концентрации частиц тестового аэрозоля осуществляют с помощью анализатора взвешенных частиц, входящего в состав рабочего эталона.
Проводят считывание показаний с дисплея поверяемого ИК, монитора АРМ и дисплея анализатора, входящего в состав рабочего эталона.
Вычисляют калибровочный коэффициент k ИК взвешенных частиц для тестового аэрозоля по формуле

, (10.9)
где Cч, д - действительное значение массовой концентрации частиц тестового аэрозоля по показаниям анализатора рабочего эталона, мг/м3;
Cч, и - измеренное значение массовой концентрации частиц тестового аэрозоля по показаниям дисплея поверяемого ИК содержания взвешенных (твердых) частиц, мг/м3.
Вносят значение калибровочного коэффициента в ПО поверяемого ИК содержания взвешенных (твердых) частиц в соответствии с его ЭД.
Продувают камеру чистым воздухом после окончания измерений.
Проводят измерения массовой концентрации тестового аэрозоля в камере ИК взвешенных (твердых) частиц и анализатором, входящим в состав рабочего эталона, устанавливая скорость подачи смеси таким образом, чтобы последовательно получить в камере как минимум 3 смеси тестового аэрозоля со значениями массовой концентрации взвешенных (твердых) частиц, соответствующих началу, середине и концу диапазона их измерения, указанного в МП на ИК.
Относительную погрешность массовой концентрации частиц тестового аэрозоля (

, %) для диапазонов измерений, в которых нормированы пределы допускаемой относительной погрешности, рассчитывают по формуле

. (10.10)
Результат поверки считают положительным, если:
- полученные значения погрешности не превышают значений, указанных в ОТ или МП для поверяемого ИК;
- расхождение показаний дисплея поверяемого ИК и показаний монитора АРМ не превышает 0,2 долей от пределов допускаемой погрешности.
10.3.2.2 Определение МХ ИК взвешенных (твердых) частиц с использованием светофильтров
Определение МХ ИК взвешенных (твердых) частиц с использованием светофильтров проводят с демонтажем ИК в лабораторных условиях в АЛ или на объекте по схеме, представленной на
рисунке А.6 приложения А.
Определение погрешности ИК взвешенных (твердых) частиц с использованием светофильтров проводят по спектральному коэффициенту направленного пропускания в такой последовательности.
Проводят измерения коэффициента светопропускания для всех светофильтров из комплекта с фиксацией результата измерения на дисплее ИК.
Вычисляют относительную погрешность поверяемого ИК (

, %) по каналу измерений коэффициента светопропускания по формуле

, (10.11)
где Dи - измеренное значение коэффициента светопропускания по показаниям дисплея поверяемого ИК, %;
Dд - действительное значение коэффициента светопропускания, приведенное в свидетельстве о поверке (протоколе поверки или паспорте) на комплект светофильтров, %.
Результат поверки считают положительным, если полученные значения погрешности не превышают значений, указанных в ОТ или МП для поверяемого ИК.
10.3.2.3 Определение поправочного калибровочного коэффициента на объекте (на реальной среде)
Поправочный калибровочный коэффициент массовой концентрации взвешенных (твердых) частиц в реальной среде отходящих газов определяют при первичной и периодических поверках ИК взвешенных (твердых) частиц после монтажа ИК на стационарном источнике загрязнений в условиях стабильных технологических режимов работы оборудования объекта.
При существенном изменении технологических режимов работы объекта (замена топлива, ввод в действие нового оборудования), запуска оборудования после плановой остановки или других нештатных ситуаций, процедуру определения поправочного калибровочного коэффициента проводят заново.
Определение поправочного калибровочного коэффициента проводят с использованием данных, полученных в соответствии с
ГОСТ Р ИСО 9096 по измерениям массовой концентрации взвешенных (твердых) частиц в отходящих газах гравиметрическим методом.
Место отбора пробы выбирают в непосредственной близости от места монтажа поверяемого ИК и с учетом рекомендаций
ГОСТ Р ИСО 9096.
Методика измерений содержания взвешенных (твердых) частиц в пробе, включая продолжительность отбора пробы и количество измерений, должна соответствовать
ГОСТ Р ИСО 9096.
Во время отбора пробы каждые 5 мин фиксируют значения массовой концентрации взвешенных (твердых) частиц на дисплее поверяемого ИК.
Значение поправочного калибровочного коэффициента (kп) рассчитывают по формуле

, (10.12)
где C
ч,гр - значение массовой концентрации взвешенных (твердых) частиц в реальной среде отходящих газов, определенное гравиметрическим методом по
ГОСТ Р ИСО 9096, мг/м
3;

- значение массовой концентрации взвешенных (твердых) частиц в реальной среде отходящих газов по показаниям дисплея поверяемого ИК (среднее арифметическое значение за время отбора пробы), мг/м
3.
Определение поправочного калибровочного коэффициента проводят не менее трех раз, и среднеарифметическое значение вводят в ПО ИК взвешенных (твердых) частиц и заносят в свидетельство о поверке на систему.
Примечание - Допускается применение других стандартизованных методов, оформленных в виде ГОСТ или МИ, аттестованных по
ГОСТ Р 8.563, а также средств определения МХ ИК взвешенных (твердых) частиц в промышленных выбросах, внесенных в ФИФ по ОЕИ, имеющих МХ, соответствующих требованиям
6.3, и действующее свидетельство о поверке.
10.3.3 Определение МХ ИК параметров газового потока
К ИК параметров газового потока относят следующие измерительные каналы:
- ИК температуры;
- ИК давления;
- ИК скорости/объемного расхода;
- ИК влажности <1>.
--------------------------------
10.3.3.1 Определение МХ ИК температуры газового потока
Определение МХ ИК температуры газового потока осуществляют двумя методами:
1) с демонтажем ИК температуры с использованием калибратора температуры в лабораторных условиях в АЛ или на объекте;
2) без демонтажа ИК на объекте на реальной среде отходящих газов с использованием эталонной системы для измерения параметров газопылевого потока.
Первичную поверку проводят только по первому методу.
Периодические поверки ИК температуры проводят по первому или второму методу в сроки, соответствующие интервалу между поверками, установленному в свидетельстве об утверждении типа. При этом, по первому методу проводят каждую четвертую поверку, а также поверку после ремонта аналитического оборудования ИК. В остальных случаях периодические поверки ИК температуры проводят по второму методу.
Первый метод поверки ИК температуры предусматривает следующую процедуру.
После демонтажа ИК температуры его датчик помещают в калибратор температуры.
Определение абсолютной погрешности ИК температуры газового потока проводят при последовательном задании значений температуры на калибраторе, соответствующих 5%, 30%, 50%, 70%, 95% диапазона измерений с допускаемым относительным отклонением +/- 5%.
Число измерений в каждой точке диапазона измерений - не менее двух.
Проводят считывание показаний с дисплея поверяемого ИК и с монитора АРМ.
Абсолютную погрешность (

, °C) в
i-й точке диапазона измерений температуры, приведенного в МП, рассчитывают по формуле

, (10.13)
где

- измеренное значение температуры в
i-й точке диапазона измерений по показаниям монитора АРМ (среднее арифметическое значение), °C;
Ti,д - действительное значение температуры для i-й точки диапазона измерений, заданное на калибраторе, °C.
Результаты поверки считают положительными, если:
- полученные значения абсолютной погрешности не превышают значений, приведенных в ОТ или МП для поверяемого ИК;
- расхождение показаний дисплея поверяемого ИК и показаний монитора АРМ не превышает 0,2 долей от пределов допускаемой погрешности.
Второй метод поверки ИК температуры предусматривает следующую процедуру (схема на
рисунке А.7 приложения А).
Зонд эталонной системы для измерения параметров газопылевого потока вводят в газоход, где находится зонд поверяемого ИК. Место ввода зонда эталонной системы должно находиться как можно ближе к зонду поверяемого ИК.
Проводят отсчет показаний дисплея поверяемого ИК, монитора АРМ и дисплея ИК температуры эталонной системы.
Абсолютную погрешность (

, °C) измеренного значения температуры в месте измерения, рассчитывают по формуле

, (10.14)
где Tи - измеренное значение температуры по показаниям монитора АРМ, °C;
Tд - действительное значение температуры по показаниям дисплея ИК температуры эталонной системы, °C.
Результаты поверки считают положительными, если:
- полученные значения абсолютной погрешности не превышают значений, приведенных в ОТ или МП для поверяемого ИК;
- расхождение показаний дисплея поверяемого ИК и показаний монитора АРМ не превышает 0,2 долей от пределов допускаемой погрешности.
10.3.3.2 Определение МХ ИК давления газового потока
Определение МХ ИК давления газового потока осуществляют двумя методами:
1) с демонтажем ИК давления с использованием калибратора давления в лабораторных условиях в АЛ или на объекте;
2) без демонтажа ИК на объекте на реальной среде отходящих газов с использованием эталонной системы для измерения параметров газопылевого потока.
Первичную поверку проводят только по первому методу, предусматривающему демонтаж ИК.
Периодические поверки ИК давления проводят по первому или второму методу в сроки, соответствующие интервалу между поверками, установленному в свидетельстве об утверждении типа. При этом, по первому методу проводят каждую четвертую поверку, а также поверку после ремонта аналитического оборудования ИК. В остальных случаях периодические поверки ИК давления проводят по второму методу.
Первый метод поверки ИК давления предусматривает следующую процедуру.
После демонтажа ИК давления, его датчик помещают в калибратор давления.
Определение абсолютной погрешности ИК давления газового потока проводят при последовательном задании значений давления на калибраторе, соответствующих 5%, 30%, 50%, 70%, 95% диапазона измерений с допускаемым относительным отклонением +/- 5%.
Проводят считывание показаний с дисплея поверяемого ИК и с монитора АРМ.
Число измерений в каждой точке диапазона измерений - не менее двух.
Абсолютную погрешность (

, кПа) в
i-й точке диапазона измерений давления рассчитывают по формуле

, (10.15)
где

- измеренное значение давления в
i-й точке диапазона измерений по показаниям монитора АРМ системы (среднее арифметическое значение), кПа;
pi,д - действительное значение давления для i-й точки диапазона измерений, заданное на калибраторе, кПа.
Результаты поверки считают положительными, если:
- полученные значения абсолютной погрешности не превышают значений, приведенных в ОТ или МП для поверяемого ИК;
- расхождение показаний дисплея поверяемого ИК и показаний монитора АРМ не превышает 0,2 долей от пределов допускаемой погрешности.
Второй метод поверки ИК давления предусматривает следующую процедуру (схема на
рисунке А.7 приложения А).
Зонд эталонной системы для измерения параметров газопылевого потока вводят в газоход, где находится зонд поверяемого ИК. Место ввода зонда эталонной системы должно находиться как можно ближе к зонду поверяемого ИК.
Снимают показания дисплея поверяемого ИК, монитора АРМ и дисплея ИК давления эталонной системы.
Абсолютную погрешность (

, кПа) измеренного значения давления в месте измерения рассчитывают по формуле

, (10.16)
где pи - измеренное значение давления по показаниям монитора АРМ, кПа;
pд - действительное значение давления по показаниям дисплея ИК давления эталонной системы, кПа.
Результаты поверки считают положительными, если:
- полученные значения абсолютной погрешности не превышают значений, приведенных в ОТ или МП для поверяемого ИК;
- расхождение показаний дисплея поверяемого ИК и показаний монитора АРМ не превышает 0,2 долей от пределов допускаемой погрешности.
10.3.3.3 Определение МХ ИК скорости/объемного расхода газового потока
Определение МХ ИК скорости/объемного расхода газового потока осуществляют с демонтажем ИК с использованием рабочего эталона единицы скорости воздушного потока в соответствии с
ГОСТ Р 8.886 в лабораторных условиях в АЛ.
После демонтажа ИК скорости/объемного расхода газового потока устанавливают в зоне равных скоростей рабочего участка аэродинамической установки, входящей в состав рабочего эталона по
ГОСТ Р 8.886.
В рабочем участке аэродинамической установки последовательно устанавливают значения скорости воздушного потока, соответствующие 10%, 30%, 50%, 70% диапазона измерений скорости газового потока с допускаемым относительным отклонением +/- 10%.
Проводят считывание показаний с дисплея поверяемого ИК и с монитора АРМ.
Число измерений в каждой точке диапазона измерений - не менее двух.
Рассчитывают абсолютную погрешность измерителя канала скорости воздушного потока (

, м/с), для
i-й точки диапазона измерений по формуле

, (10.17)
где

- значение скорости воздушного потока в
i-й точке диапазона измерений по показаниям монитора АРМ (среднее арифметическое значение), м/с;
vi,э - значение скорости воздушного потока в рабочем участке аэродинамической установки рабочего эталона в i-й точке диапазона измерений, м/с.
Результаты поверки считают положительными, если:
- полученные значения абсолютной погрешности не превышают значений, приведенных в ОТ или МП для поверяемого ИК;
- расхождение показаний дисплея поверяемого ИК и показаний монитора АРМ не превышает 0,2 долей от пределов допускаемой погрешности.
Примечание - Значение объемного расхода газового потока рассчитывают умножением значения скорости газового потока на площадь газохода в измерительном сечении.
10.3.3.4 Определение МХ ИК содержания паров воды (влажности)
Определение МХ ИК содержания паров воды (влажности) проводят без демонтажа ИК на стационарном источнике загрязнений двумя методами:
1) с отбором проб отходящих газов и их последующим анализом в лабораторных условиях по МИ, аттестованной в соответствии с
ГОСТ Р 8.563;
2) с использованием мобильного поверочного комплекса на среде, имитирующей реальную среду.
При определении МХ ИК влажности по первому методу проводят отбор проб отходящих газов по схеме, представленной на
рисунке А.1 приложения А.
Место отбора проб отходящих газов выбирают в газоходе как можно ближе к вводу в газоход зонда для отбора проб системы пробоотбора АИС КВ - I вариант, либо через тройник, установленный на трубопроводе для транспортировки пробы АИС КВ (при условии транспортировки пробы через обогреваемый трубопровод с температурой выше точки кислотной росы) - II вариант (см. схему на
рисунке А.1 приложения А).
Количество отобранных проб и число измерений проб должно соответствовать требованиям МИ.
Одновременно с отбором проб фиксируют значения влажности на дисплее газоаналитического ИК или на дисплее ИК влажности и на мониторе АРМ. Продолжительность измерений составляет 20 мин.
Проводят анализ отобранных проб в соответствии с МИ в лабораторных условиях.
По результатам измерений рассчитывают значения приведенной погрешности содержания паров воды (влажности) (

, %) для диапазонов измерений, в которых нормированы пределы допускаемой приведенной погрешности по формуле

, (10.18)
где

- содержание паров воды (влажность) по показаниям монитора АРМ (среднее арифметическое значение за 20 мин), объемная доля, %;
Xв, Xн - верхнее и нижнее значения диапазона измерений содержания паров воды (влажности), соответственно, объемная доля, %;
XМИ - содержание паров воды (влажность) по МИ, объемная доля, %.
Значения относительной погрешности (

, %) содержания паров воды (влажности) для диапазонов измерений, в которых нормированы пределы допускаемой относительной погрешности, рассчитывают по формуле

. (10.19)
Результаты поверки считают положительными, если:
- полученные значения погрешности не превышают значений, указанных в ОТ или МП для поверяемого ИК;
- расхождение показаний дисплея газоаналитического ИК и показаний монитора АРМ не превышает 0,2 долей от пределов допускаемой погрешности.
При определении МХ влажности по второму методу используют схему, представленную на
рисунке А.4 приложения А.
Увлажненную нагретую газовую среду получают на основе нулевого газа (азот газообразный по
ГОСТ 9293) с помощью комплекса газосмесительного оборудования, в состав которого входят газовый генератор, рабочая камера-смеситель, перистальтический насос для подачи воды. Осуществляют подачу нулевого газа и воды на вход газового генератора. При этом подачу воды с помощью насоса варьируют таким образом, чтобы на выходе рабочей камеры получались увлажненные высокотемпературные смеси с содержанием паров воды, соответствующим 10%, 50% и 90% верхнего значения диапазона измерений содержания паров воды (влажности).
Полученные смеси с помощью тройника-переключателя подают на вход системы пробоотбора АИС КВ или в трубопровод для транспортировки проб до системы пробоподготовки (при ее наличии) и одновременно на вход системы пробоотбора мобильного поверочного комплекса
(6.1). При подаче ГС отбор и подачу отходящих газов в поверяемый ИК прекращают.
Продолжительность времени подачи каждой ГС составляет не менее тройного значения предела допускаемого времени установления выходного сигнала по уровню 90%. Проводят считывание показаний с дисплея газоаналитического ИК или ИК влажности, монитора АРМ и дисплея мобильного поверочного комплекса.
Общая продолжительность измерений - 20 мин, число измерений не менее четырех.
По результатам измерений рассчитывают значения приведенной погрешности содержания паров воды (

, %) для
i-й точки диапазона измерений, в котором нормированы пределы допускаемой приведенной погрешности, по формуле

, (10.20)
где

- содержание паров воды (влажность) в
i-й точке диапазона измерений по показаниям монитора АРМ (среднее арифметическое значение за 20 мин), объемная доля, %;

- содержание паров воды в
i-й точке диапазона измерения по показаниям дисплея мобильного поверочного комплекса (среднее арифметическое значение за 20 мин), объемная доля, %.
Относительную погрешность содержания паров воды (

, %) для
i-й точки диапазона измерений, в котором нормированы пределы допускаемой относительной погрешности, рассчитывают по формуле

. (10.21)
Результаты поверки считают положительными, если:
- полученные значения абсолютной погрешности не превышают значений, приведенных в ОТ или МП для поверяемого ИК;
- расхождение показаний дисплея поверяемого ИК и показаний монитора АРМ не превышает 0,2 долей от пределов допускаемой погрешности.
11 Оформление результатов поверки
11.1 При проведении поверки системы составляется протокол результатов измерений, в котором указывается соответствие системы предъявляемым к ней требованиям.
Форма протокола поверки приведена в приложении Б.
11.2 Системы, удовлетворяющие требованиям методики поверки, признаются годными к применению.
11.3 Положительные результаты поверки оформляют свидетельством о поверке по форме, установленной в
[5].
11.4 При отрицательных результатах поверки применение системы запрещается и выдается извещение о непригодности.
11.5 Знак поверки наносится на свидетельство о поверке.
(обязательное)
СХЕМЫ ПОВЕРКИ ИК АИС КВ
1 - газоход; 2 - зонд-пробоотборник АИС КВ; 3 - трубопровод
транспортировки пробы АИС КВ; 4 - тройник; 5 - аналитический
блок для определения влажности (для АИС КВ с предварительным
удалением паров воды при подготовке пробы); 6 - система
подготовки пробы АИС КВ; 7 - газоаналитический блок АИС КВ;
8 - зонд-пробоотборник для отбора пробы для анализа по МИ;
9 - трубопровод транспортировки пробы по МИ; 10 - сосуды
с поглотительным раствором - при определении содержания
газов (при определении влажности - сосуды для сбора
конденсата); 11 - холодильник (при определении влажности);
12 - мановакуумметр; 13 - аспиратор; 14 - ротаметр
I - первый вариант отбора пробы;
II - второй вариант отбора пробы
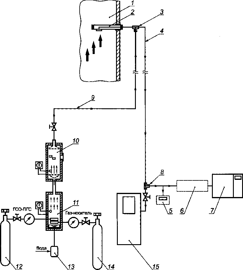
Рисунок А.1 - Схема поверки газоаналитического ИК АИС КВ
и ИК влажности с отбором проб отходящих газов и их
последующим анализом в лабораторных условиях
1 - газоход; 2 - зонд-пробоотборник АИС КВ;
3 - тройник-переключатель; 4 - трубопровод транспортировки
пробы АИС КВ; 5 - аналитический блок для определения
влажности (для АИС КВ с предварительным удалением паров воды
при подготовке пробы); 6 - система подготовки пробы АИС КВ;
7 - газоаналитический блок АИС КВ; 8 - линия
для транспортировки ГСО-ПГС; 9 - баллон с газовой смесью
ГСО-ПГС
Рисунок А.2 - Схема поверки газоаналитического ИК АИС КВ
с использованием ГСО-ПГС
1 - газоход; 2 - зонд-пробоотборник АИС КВ; 3 - тройник;
4 - трубопровод транспортировки пробы АИС КВ;
5 - аналитический блок для определения влажности (для АИС КВ
с предварительным удалением паров воды при подготовке
пробы); 6 - система подготовки пробы АИС КВ;
7 - газоаналитический блок АИС КВ; 8 - трубопровод
транспортировки пробы в мобильный поверочный комплекс;
9 - мобильный поверочный комплекс
Рисунок А.3 - Схема поверки газоаналитического ИК АИС КВ
с использованием мобильного поверочного комплекса
1 - газоход; 2 - зонд-пробоотборник АИС КВ;
3 - тройник-переключатель; 4 - трубопровод транспортировки
пробы АИС КВ; 5 - аналитический блок для определения
влажности (для АИС КВ с предварительным удалением паров воды
при подготовке пробы); 6 - система подготовки пробы АИС КВ;
7 - газоаналитический блок АИС КВ; 8 - тройник; 9 - линия
для транспортировки многокомпонентной увлажненной ГС
на основе ГСО-ПГС; 10 - рабочая камера-смеситель;
11 - газовый генератор для получения многокомпонентной
увлажненной ГС на основе ГСО-ПГС; 12 - баллон
с многокомпонентной ГСО-ПГС; 13 - насос для подачи воды;
14 - баллон с газом-носителем - азотом; 15 - мобильный
поверочный комплекс (с каналом определения влажности)
Рисунок А.4 - Схема поверки газоаналитического ИК АИС КВ
и ИК влажности на среде, имитирующей реальную среду,
с использованием мобильного поверочного комплекса
1 - вентилятор; 2 - генератор аэрозоля; 3 - смесительная
камера; 4 - поверяемый анализатор (передатчик);
5 - поверяемый анализатор (приемник); 6 - испытательная
динамическая камера; 7 - СИ массовой концентрации аэрозоля
(рабочий эталон); 8 - пробоотборная трубка;
9 - воздушный фильтр
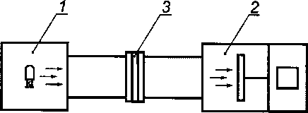
Рисунок А.5 - Схема поверки ИК взвешенных (твердых) частиц
АИС КВ с использованием тестового аэрозоля
1 - поверяемый анализатор (передатчик); 2 - поверяемый
анализатор (приемник); 3 - фильтродержатель со сменными
светофильтрами
Рисунок А.6 - Схема поверки ИК взвешенных (твердых) частиц
АИС КВ с использованием светофильтров
1 - газоход; 2 - зонд(ы) параметров газового потока АИС КВ
с датчиками температуры и давления; 3 - аналитический блок
параметров газового потока АИС КВ; 4 - зонд параметров
газового потока эталонной системы с датчиками температуры
и давления газового потока; 5 - эталонная система измерения
параметров газового потока
Рисунок А.7 - Схема поверки ИК параметров газового потока
АИС КВ с использованием эталонной системы измерения
параметров газового потока
(рекомендуемое)
Наименование СИ: ____________________________________________________
Зав. N _______________________________________________________________
Дата выпуска _________________________________________________________
Регистрационный номер: _______________________________________________
Заказчик: ____________________________________________________________
Серия и номер клейма предыдущей поверки ______________________________
Дата предыдущей поверки: _____________________________________________
Методика поверки: ____________________________________________________
Основные средства поверки: ____________________________________________
Условия поверки:
температура окружающей среды _________________ °C
относительная влажность воздуха ________________%
атмосферное давление ________________________ кПа
РЕЗУЛЬТАТЫ ПОВЕРКИ
1 Результаты внешнего осмотра _________________________________________
_____________________________________________________________________
_____________________________________________________________________
_____________________________________________________________________
2 Результаты опробования
2.1 Проверка общего функционирования __________________________________
_____________________________________________________________________
_____________________________________________________________________
2.2 Подтверждение соответствия программного обеспечения ________________
_____________________________________________________________________
_____________________________________________________________________
3 Результаты определение метрологических характеристик
3.1 Результаты определения погрешности измерительных каналов ____________
_____________________________________________________________________
_____________________________________________________________________
_____________________________________________________________________
Заключение: на основании результатов первичной (или периодической) поверки система признана соответствующей установленным в описании типа метрологическим требованиям и пригодна к применению.
Поверку произвел: _________________
Дата поверки: _____________________
| Федеральный закон от 21 июля 2014 г. N 219-ФЗ | О внесении изменений в Федеральный закон "Об охране окружающей среды" и отдельные законодательные акты Российской Федерации |
| Федеральный закон от 29 июля 2018 г. N 252-ФЗ | О внесении изменений в Федеральный закон "Об охране окружающей среды" и статьи 1 и 5 Федерального закона "О внесении изменений в Федеральный закон "Об охране окружающей среды" и отдельные законодательные акты Российской Федерации" в части создания систем автоматического контроля выбросов загрязняющих веществ, сбросов загрязняющих веществ |
[3] | Федеральный закон от 26 июня 2008 г. N 102-ФЗ (ред. 2014 г.) | Об обеспечении единства измерений |
| | Государственная система обеспечения единства измерений. Метрология. Основные термины и определения |
| Приказ Министерства промышленности и торговли Российской Федерации от 2 июля 2015 г. N 1815 | Об утверждении Порядка проведения поверки средств измерений, требования к знаку поверки и содержанию свидетельства о поверке |
| Приказ Федерального агентства по техническому регулированию и метрологии от 14 декабря 2018 г. N 2664 | Об утверждении государственной поверочной схемы для средств измерений содержания компонентов в газовых и газоконденсатных средах |
| Приказ Министерства труда и социальной защиты Российской Федерации от 28 марта 2014 г. N 155н | Об утверждении правил по охране труда при работе на высоте |
| Приказ Федеральной службы по экологическому, технологическому и атомному надзору от 25 марта 2014 г. N 116 | Об утверждении Федеральных норм и правил в области промышленной безопасности опасных производственных объектов, на которых используется оборудование, работающее под избыточным давлением |
| | Правила устройства электроустановок, издание 7-е (с изменениями от 20 декабря 2017 г.) |