Главная // Актуальные документы // ГОСТ Р (Государственный стандарт)СПРАВКА
Источник публикации
М.: Стандартинформ, 2020
Примечание к документу
Документ
введен в действие с 01.04.2021.
Название документа
"ГОСТ Р 59094-2020. Национальный стандарт Российской Федерации. Требования к оформлению документов на технологические процессы изготовления изделий методом порошковой металлургии"
(утв. и введен в действие Приказом Росстандарта от 09.10.2020 N 788-ст)
"ГОСТ Р 59094-2020. Национальный стандарт Российской Федерации. Требования к оформлению документов на технологические процессы изготовления изделий методом порошковой металлургии"
(утв. и введен в действие Приказом Росстандарта от 09.10.2020 N 788-ст)
Утвержден и введен в действие
по техническому регулированию
и метрологии
от 9 октября 2020 г. N 788-ст
НАЦИОНАЛЬНЫЙ СТАНДАРТ РОССИЙСКОЙ ФЕДЕРАЦИИ
ТРЕБОВАНИЯ К ОФОРМЛЕНИЮ ДОКУМЕНТОВ НА ТЕХНОЛОГИЧЕСКИЕ
ПРОЦЕССЫ ИЗГОТОВЛЕНИЯ ИЗДЕЛИЙ МЕТОДОМ ПОРОШКОВОЙ МЕТАЛЛУРГИИ
Requirements for arrangement of documents on technological
processes for parts production by powder metallurgy method
ГОСТ Р 59094-2020
Дата введения
1 апреля 2021 года
1 РАЗРАБОТАН Федеральным государственным унитарным предприятием "Российский научно-технический центр информации по стандартизации, метрологии и оценке соответствия" (ФГУП "СТАНДАРТИНФОРМ")
2 ВНЕСЕН Техническим комитетом по стандартизации ТК 182 "Аддитивные технологии"
3 УТВЕРЖДЕН И ВВЕДЕН В ДЕЙСТВИЕ
Приказом Федерального агентства по техническому регулированию и метрологии от 9 октября 2020 г. N 788-ст
4 ВВЕДЕН ВПЕРВЫЕ
Правила применения настоящего стандарта установлены в статье 26 Федерального закона от 29 июня 2015 г. N 162-ФЗ "О стандартизации в Российской Федерации". Информация об изменениях к настоящему стандарту публикуется в ежегодном (по состоянию на 1 января текущего года) информационном указателе "Национальные стандарты", а официальный текст изменений и поправок - в ежемесячном информационном указателе "Национальные стандарты". В случае пересмотра (замены) или отмены настоящего стандарта соответствующее уведомление будет опубликовано в ближайшем выпуске ежемесячного информационного указателя "Национальные стандарты". Соответствующая информация, уведомление и тексты размещаются также в информационной системе общего пользования - на официальном сайте Федерального агентства по техническому регулированию и метрологии в сети Интернет (www.gost.ru)
Настоящий стандарт устанавливает требования к оформлению технологической документации на технологические процессы изготовления изделий методами порошковой металлургии, применяемые при различных способах проектирования единичных и типовых (групповых) процессов (операций) в отраслях машиностроения и приборостроения.
В настоящем стандарте использованы нормативные ссылки на следующие стандарты:
ГОСТ 2.004 Единая система конструкторской документации. Общие требования к выполнению конструкторских и технологических документов на печатающих и графических устройствах вывода ЭВМ
ГОСТ 2.503 Единая система конструкторской документации. Правила внесения изменений
ГОСТ 3.1102-2011 Единая система технологической документации. Стадии разработки и виды документов. Общие положения
ГОСТ 3.1103 Единая система технологической документации. Основные надписи. Общие положения
ГОСТ 3.1105 Единая система технологической документации. Формы и правила оформления документов общего назначения
ГОСТ 3.1118 Единая система технологической документации. Формы и правила оформления маршрутных карт
ГОСТ 3.1119 Единая система технологической документации. Общие требования к комплектности и оформлению комплектов на единичные технологические процессы
ГОСТ 3.1120 Единая система технологической документации. Общие правила отражения и оформления требований безопасности труда в технологической документации
ГОСТ 3.1121 Единая система технологической документации. Общие требования к комплектности и оформлению комплектов документов на типовые и групповые технологические процессы (операции)
ГОСТ 3.1122 Единая система технологической документации. Формы и правила оформления документов специального назначения. Ведомости технологические
ГОСТ 3.1123 Единая система технологической документации. Формы и правила оформления технологических документов, применяемых при нормировании расхода материала
ГОСТ 3.1129 Единая система технологической документации. Общие правила записи технологической информации в технологических документах на технологические процессы и операции
ГОСТ 3.1130 Единая система технологической документации. Общие требования к формам и бланкам документов
ОК 015-94 (МК 002-97) Общероссийский классификатор единиц измерения (ОКЕИ)
Примечание - При пользовании настоящим стандартом целесообразно проверить действие ссылочных стандартов (классификаторов) в информационной системе общего пользования - на официальном сайте Федерального агентства по техническому регулированию и метрологии в сети Интернет или по ежегодному информационному указателю "Национальные стандарты", который опубликован по состоянию на 1 января текущего года, и по выпускам ежемесячного информационного указателя "Национальные стандарты" за текущий год. Если заменен ссылочный документ, на который дана недатированная ссылка, то рекомендуется использовать действующую версию этого документа с учетом всех внесенных в данную версию изменений. Если заменен ссылочный документ, на который дана датированная ссылка, то рекомендуется использовать версию этого документа с указанным выше годом утверждения (принятия). Если после утверждения настоящего стандарта в ссылочный документ, на который дана датированная ссылка, внесено изменение, затрагивающее положение, на которое дана ссылка, то это положение рекомендуется применять без учета данного изменения. Если ссылочный документ отменен без замены, то положение, в котором дана ссылка на него, рекомендуется применять в части, не затрагивающей эту ссылку.
3 Термины, определения и сокращения
3.1 В настоящем стандарте применены следующие термины с соответствующими определениями:
3.1.1
атрибут документа: Идентифицированная (именованная) характеристика части реквизита. |
3.1.2
| | ИС МЕГАНОРМ: примечание. В официальном тексте документа, видимо, допущена опечатка: имеется в виду ст. 3.1.2 ГОСТ 2.051-2013, а не 3.1.27. | |
|
аутентичный документ: Документ, одинаковый с исходным по содержанию и отличный от исходного по формату и (или) кодам данных. Примечание - Аутентичные документы могут быть выполнены на одинаковых или различных видах носителя данных. |
3.1.3
реквизит документа: Элемент оформления документа, содержащий сведения о нем. Примечание - Как правило, реквизит состоит из атрибутов (составной реквизит). |
3.1.4
электронный технологический документ: Документ, выполненный как структурированный набор данных, создаваемых программно-техническим средством, и имеющий содержательную и реквизитную части, в том числе установленные подписи. Примечание - Установленные подписи в электронном документе выполняют в виде электронной цифровой подписи. |
3.1.5 основная надпись и дополнительные графы: Совокупность реквизитов и атрибутов, содержащихся в графах информационных блоков установленной формы, помещаемых на технологическом документе.
3.1.6 дополнительный элемент (реквизитной части документа): Элемент документа, наличие которого в структуре документа определяется в рамках выбора, допускаемого дополнительно требованиями соответствующих нормативных документов.
3.2 В настоящем стандарте применены следующие сокращения:
АТ - аддитивные технологии;
ВТД - ведомость технологических документов;
ВТО - ведомость деталей к операции;
ВТП - ведомость деталей (сборочных единиц) к типовому (групповому) технологическому процессу;
ВУН - ведомость удельных норм расхода материалов;
ГО - групповая операция;
ГТП - групповой технологический процесс;
ЕСТД - единая система технологической документации;
КОИД - количество одновременно изготавливаемых деталей при выполнении одной операции;
КТИ - карта технологической информации;
КТО - карта типовой (групповой) операции;
КТП - карта технологического процесса;
КТТП - карта типового (группового) технологического процесса;
КЭ - карта эскизов;
МК - маршрутная карта;
НД - нормативная документация;
ОК - операционная карта;
Tв - суммарное вспомогательное время на операцию;
ТД - технологическая документация;
Tо - суммарное основное время на операцию;
ТО - типовая операция;
ТП - технологический процесс;
Tп.з - норма подготовительно-заключительного времени на операцию;
ТТП - типовой технологический процесс;
Tшт - норма штучного времени на операцию;
ЭВМ - электронно-вычислительная машина.
4 Виды и комплектность технологической документации
4.1 Виды и назначение технологической документации на производственные процессы изготовления изделий методами порошковой металлургии для всех типов производства, стадий разработки ТД и для любой степени детализации описания ТП (маршрутное, маршрутно-операционное, операционное) приведены в
таблице 1.
Таблица 1
Виды и назначение технологических документов
на производственные процессы изготовления изделий
методом порошковой металлургии
Наименование вида документа и обозначение формы документа | Условное обозначение вида документа, функции которого выполняет документ | Назначение технологической документации | Указания по применению |
Документ специального назначения (СН) | Документ общего назначения (ОН) |
| КТП; КТТП | СН | - | Для операционного описания технологического процесса изготовления изделий методом порошковой металлургии в технологической последовательности при полном описании всех операций с указанием переходов, технологических режимов и данных о средствах технологического оснащения, материальных и трудовых затрат. Маршрутное описание следует применять для сокращенного описания всех технологических операций в последовательности их выполнения без указания переходов и технологических режимов |
КТИ | СН | - | Карта технологической информации для указания переменной информации к типовому (групповому) технологическому процессу, к типовой (групповой) технологической операции по каждому изделию взамен ведомости деталей к типовому (групповому) технологическому процессу (операции) на изделие одного обозначения |
| ОК | СН | - | Для операционного описания единичных технологических операций |
КТО | СН | - | Для указания постоянной информации на группу деталей (сборочных единиц, изделий), изготавливаемых (ремонтируемых) по типовой или групповой операции |
Карта типового (группового) технологического процесса по ГОСТ 3.1121, формы 1, 1а | КТТП | СН | - | Для разработки типовых (групповых) технологических процессов с указанием общих данных для всей группы изделий. Применяется совместно с ВТП |
Ведомость деталей (сборочных единиц) к ТТП, ГТП по ГОСТ 3.1121, формы 2, 2а, 3, 3а, 4, 4а, 6, 6а | ВТП (ВТО) | СН | - | Для указания переменной информации на группу деталей (сборочных единиц, изделий) с записью соответствующих данных по каждому их обозначению в порядке расположения |
Ведомость удельных норм расхода материалов по ГОСТ 3.1123, формы 4, 4а, 5, 5а | ВУН | СН | - | Для указания состава компонентов при приготовлении порошковых материалов и их норм расхода |
Технологическая инструкция по ГОСТ 3.1105, формы 5, 5а | ТИ | - | ОН | Допускается применять взамен МК/КТТП и МК/ОК для описания технологических процессов (операций), действий, связанных с приготовлением смесей, подготовкой к формованию, спеканию, а также с наладкой оборудования и т.п. |
| КЭ | - | ОН | Для указания дополнительной графической информации в виде эскизов, схем и таблиц |
Ведомость технологических документов по ГОСТ 3.1122, формы 4, 4а, 5, 5а | ВТД | СН | - | Для указания состава изделий и документов в комплекте документов на типовой/групповой технологические процессы |
Примечания 1 Применение документов других видов по ГОСТ 3.1102 устанавливается разработчиком технологической документации на уровне отрасли или организации (предприятия). 2 Выбор соответствующих форм технологической документации устанавливает разработчик документации. |
ТД подразделяют на документацию общего и специального назначения по
ГОСТ 3.1102.
К ТД общего назначения относят документацию, применяемую в отдельности или в комплектах документов на ТП изготовления изделий методами порошковой металлургии, независимо от применяемых методов изготовления или ремонта изделий.
К ТД специального назначения относят документацию, применяемую при описании ТП изготовления изделий (составных частей изделий) методами порошковой металлургии, в зависимости от типа и вида производства.
4.2 По согласованию с заказчиком для изготовления изделий с применением ТП, ранее не применявшихся для их изготовления, например на основе аддитивных технологий, допускается разрабатывать самостоятельный комплект ТД (в соответствии с
пунктом 3.13 ГОСТ 3.1102-2011).
4.3 Общие требования к комплектности и оформлению комплектов ТД устанавливают:
- для единичных технологических процессов - по
ГОСТ 3.1119;
- для типовых (групповых) технологических процессов (операций) - по
ГОСТ 3.1121.
4.4 Допускаются следующие варианты комплектования ТД на электронных носителях:
- данные ТД на электронном носителе без управляющей системы;
- данные ТД на электронном носителе с управляющей системой.
5 Требования к оформлению технологической документации на технологические процессы
5.1 Требования к оформлению содержательной формы ТД и основной надписи установлены:
Расположение графических изображений блоков основной надписи, выполняемых на МК, приведены в
приложениях А,
Б.
Идентификация реквизитов и их атрибутов по блокам приведена в
приложении Г.
5.2 При применении форм МК, выполняющих функции ТД других видов, маршрутные карты следует оформлять в соответствии с правилами, предусмотренными соответствующими стандартами ЕСТД, приведенными в
таблице 1.
При визуализации (отображении) ТД на электронном устройстве (например, экране дисплея) или печати его на бумажном носителе с элементами оформления в соответствии с требованиями стандартов ЕСТД в графах форм информационных блоков указывают значения реквизитов или атрибутов по
разделу 7 ГОСТ 3.1103-2011 в части:
граф 1 - 7 Блока адресной (поисковой) информации Б1;
граф 12 - 15 Блока состава исполнителей Б2;
граф 16 - 20 Блока внесения изменений Б3;
граф 21 - 27 Блока дополнительной информации Б4;
граф 28 - 32 Блока вспомогательной информации Б5;
граф 33 - 36 Блока вида и назначения документа Б6.
Для форм бланков МК, выполненных типографским способом, в графе 33 блока Б6 основной надписи следует записывать после символа "косая черта" условное обозначение соответствующего вида документа, функцию которого выполняет МК, например, МК/КТТП, МК/КТП, МК/ОК и т.д.
В графе 34 блока Б6 основной надписи - наименование документа или краткое наименование технологического метода формообразования, обработки, сборки и тому подобного (процесса или операции), который описывается в данном документе. Например, для ОК - обработка на одношпиндельном токарно-револьверном автомате; для КТИ - к ТТП литья в песчаные формы (ТТП АТ). Для МК, КЭ, КК, ТИ, ВТП и тому подобного допускается графу не заполнять.
В графе 35 блока Б6 основной надписи - имя файла, содержащего документ в электронной форме. Графу заполняют только для документов, изготавливаемых в бумажной форме с помощью ЭВМ.
В графе 36 блока Б6 основной надписи - номер версии электронного документа, с которого на устройствах вывода ЭВМ получен документ в бумажной форме.
В графе 37 дополнительной графы - код документа в зависимости от характера использования.
Для электронных документов применяют следующие коды:
0 - рабочий документ (документ, не имеющий подписи разработчика);
1 - оригинал (документ, имеющий подпись разработчика);
2 - подлинник (документ, имеющий все обязательные подписи в блоке Б2 и инвентарный номер);
3 - дубликат;
4 - копия.
В графе 38 дополнительной графы - признак аутентичного документа в электронной форме (обязательный для аутентичных документов).
При применении форм МК/ОК запись информации в графах следует выполнять с учетом следующих дополнений:
- в графе "Масса заготовки" следует указывать массу навески изделия по
ОК 015-94 (МК 002-97);
- в графах "Норма подготовительно-заключительного времени на операцию" ("Tп.з") и "Норма штучного времени на операцию" ("Tшт") следует вносить данные по суммарному вспомогательному времени на операцию ("Tв") и суммарному основному времени на операцию ("Tо").
При этом:
- в строке с привязкой к служебному символу Б - данные по Tв и Tо на операцию вносят без заполнения остальных граф;
- в строке с привязкой к служебному символу О - данные по Tв и Tо на переход вносят после текста содержания перехода.
5.3 В целях обеспечения возможности для указания данных по нормам расхода материалов допускается применять МК
(приложение В). В этом случае в основную надпись формы следует вводить дополнительную строку с привязкой к служебному символу К/М.
5.4 При разработке документов ТП (операции) приготовления порошковых материалов (шихты) сведения о материалах следует указывать в графах МК или КТП, относящихся к служебному символу К/М или Н/М. При этом допускается указывать:
- в графе "КИ" - массовую долю компонентов шихты в частях или процентное содержание компонентов шихты;
- в графе "Норма расхода" - количество материалов, необходимых для приготовления шихты.
Перед текстом содержания операции (перехода) допускается записывать:
- насыпную плотность порошковых материалов;
- размер частиц порошковых материалов (гранулометрический состав);
- текучесть порошковой смеси;
- прессуемость металлического порошка.
5.5 При разработке технологической документации типового технологического процесса в графах "Ведомость деталей (сборочных единиц) к типовому (групповому) технологическому процессу" (ВТП) допускается указывать:
- в графе "Масса заготовки" - массу навески изделия;
- в графе "КОИД" - количество изделий в приспособлении.
5.6 Данные по технологическим режимам изготовления изделий методом порошковой металлургии следует указывать в последовательности, предусмотренной НД предприятия-изготовителя в зависимости от технологических возможностей оборудования.
5.7 Учет и оформление общих требований безопасности труда в технологических документах - по
ГОСТ 3.1120.
6 Внесение изменений в технологическую документацию
6.1 Внесение изменений в основную ТД необходимо проводить одновременно с изменением вспомогательной технологической документации.
6.2 Графы "Порядковый номер изменения", "Указания об изменении листа", "Номер документа, на основании которого производится изменение", "Подпись лица, внесшего изменения" и "Дата внесения изменения" заполняют аналогично графам Блока Б3 блока внесения изменений по
ГОСТ 3.1103.
6.3 Допускается не указывать Блок Б3 при условии применения "Листа регистрации изменений" по
ГОСТ 2.503.
(рекомендуемое)
РАСПОЛОЖЕНИЕ ГРАФИЧЕСКИХ ИЗОБРАЖЕНИЙ БЛОКОВ
ОСНОВНОЙ НАДПИСИ НА ФОРМЕ МАРШРУТНОЙ КАРТЫ
А.1 Пример расположения графических изображений блоков основной надписи на форме МК приведен на
рисунке А.1.
Рисунок А.1 - Пример расположения графических изображений
блоков основной надписи для форм документов формата A4
с горизонтальным расположением поля подшивки
(рекомендуемое)
ГРАФИЧЕСКОЕ ИЗОБРАЖЕНИЕ ИНФОРМАЦИОННЫХ БЛОКОВ
Б.1 Блоки основной надписи, применяемые при использовании графических печатающих устройств вывода ЭВМ, приведены на
рисунках Б.1 -
Б.6, размеры приведены в
таблицах Б.1 и
Б.2.
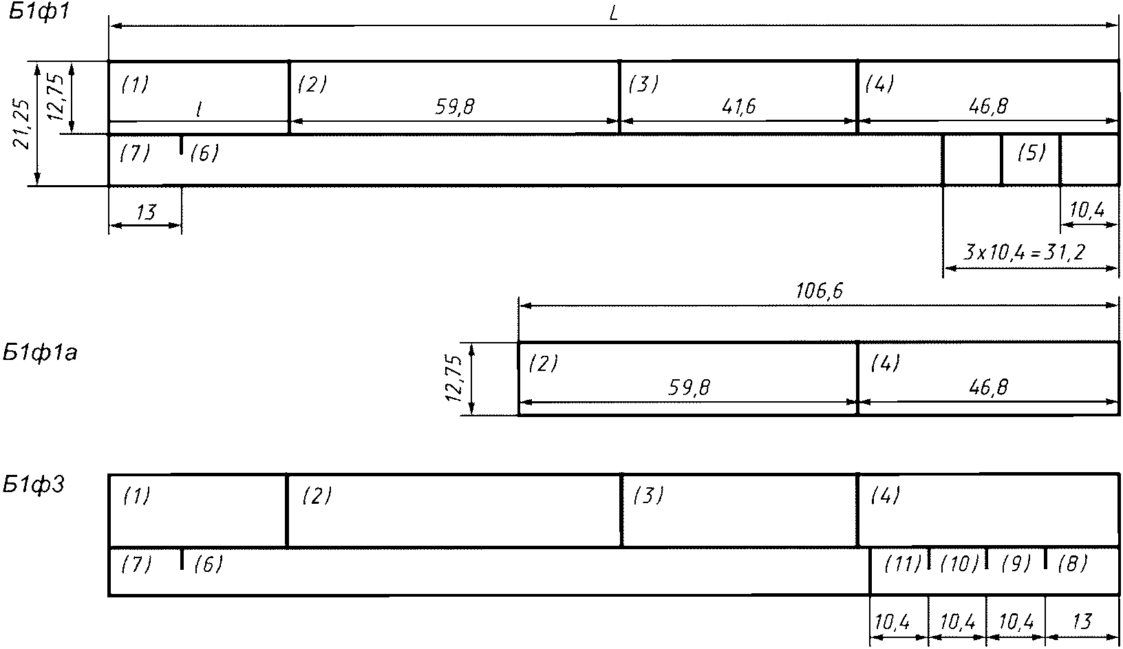
Рисунок Б.1 - Блок Б1 - Блок адресной (поисковой) информации
Таблица Б.1
Формат документа | L, мм | l, мм |
A4 с вертикальным расположением поля подшивки | 182 | 33,8 |
A4 с горизонтальным расположением поля подшивки | 189,8 | 41,6 |
A3 | 189,8 | 41,6 |
Рисунок Б.2 - Блок Б2 - Блок состава исполнителей
Рисунок Б.3 - Блок Б3 - Блок внесения изменений
Рисунок Б.4 - Блок Б4 - Блок дополнительной информации
Рисунок Б.5 - Блок вспомогательной информации
Рисунок Б.6 - Блок вида и назначения документа
Таблица Б.2
Формат документа | L, мм | l, мм |
A4 с вертикальным расположением поля подшивки | 182 | Размер устанавливает разработчик |
A4 с горизонтальным расположением поля подшивки | 286 |
A3 | 390 |
(справочное)
ФОРМЫ БЛОКОВ ОСНОВНОЙ НАДПИСИ В ЗАВИСИМОСТИ ОТ СПОСОБА
ВЫПОЛНЕНИЯ БЛАНКА ДОКУМЕНТА
В.1 Формы блоков основной надписи в зависимости от способа выполнения бланка документа приведены в
таблице В.1
Таблица В.1
Формы блоков основной надписи
Обозначение формы блока | Лист документа | Способ выполнения бланка документа | Вид документа |
| 1-й | Типографский | МК, КТП, КТТП, КТИ <*>, ВУН, ВТП, ВТД |
Б1 ф1а | Последующие | Типографский | МК, КТП, КТТП, КТИ <*>, ВУН, ВТП, ВТД |
Б1ф2 | 1-й | С применением АЦПУ | МК, КТП, КТТП, КТИ <*>, ВУН, ВТП, ВТД |
Б1ф2а | Последующие | С применением АЦПУ | МК, КТП, КТТП, КТИ <*>, ВУН, ВТП, ВТД |
| 1-й | Типографский | КЭ, ОК, КТО, КТИ <*>, КК, ТНК <*>, ККИ, КН, ВТО, ВДО, ВСТ |
Б1ф3а | Последующие | Типографский | КЭ, ОК, КТО, КТИ <*>, КК, ТНК <*>, ККИ, КН, ВТО, ВДО, ВСТ |
Б1ф4 | 1-й | С применением АЦПУ | КЭ, ОК, КТО, КТИ <*>, КК, ТНК <*>, ККИ, КН, ВТО, ВДО, ВСТ |
Б1ф4а | Последующие | С применением АЦПУ | КЭ, ОК, КТО, КТИ <*>, КК, ТНК <*>, ККИ, КН, ВТО, ВДО, ВСТ |
Б2ф1 | 1-й | Типографский | Все виды документов |
Б2ф2 | 1-й | С применением АЦПУ | Все виды документов |
Б3ф1 | 1-й | Типографский | Все виды документов формата A4 (с вертикальным расположением поля подшивки) и формата A3 |
Б3ф1а | 1-й Последующие Оборотная сторона | Типографский | Все виды документов |
Б3ф1б Б3ф1г | 1-й Последующие Оборотная сторона | Типографский | Все виды документов, кроме документов формата A4 с вертикальным расположением поля подшивки (1-й лист) |
Б3ф1в | 1-й | Типографский | Все виды документов |
Б3ф2 | Последующие 1-й | С применением АЦПУ | Все виды документов, кроме документов с tmax = 110 |
Б3ф2а | Последующие | Все виды документов |
Б3ф2б | | Все виды документов с tmax = 63 |
Б4ф1 | 1-й Последующие | Типографский | Все виды документов |
Б4ф2 | 1-й Последующие | С применением АЦПУ | Все виды документов, кроме документов, не подлежащих размножению. В этом случае блок применять не следует |
Б4ф3 | 1-й Последующие | С применением АЦПУ | Все виды документов, кроме документов с tmax = 110 |
Б5ф1 | 1-й | Типографский | Все виды документов |
Б5ф1а | Последующие | Типографский | Все виды документов |
Б5ф1б | Оборотная сторона | Типографский | Все виды документов формата A4 с горизонтальным расположением поля подшивки |
Б5ф1в | Оборотная сторона | Типографский | Все виды документов формата A4 (с вертикальным расположением поля подшивки) и формата A3 |
Б5ф2 | 1-й | С применением АЦПУ | Все виды документов |
Б5ф2а | Последующие | С применением АЦПУ | Все виды документов |
Б5ф2б | Последующие | С применением АЦПУ | Все виды документов с tmax = 63 |
Б6ф1 | 1-й Последующие | Типографский | Все виды документов |
Б6ф2 | 1-й Последующие | С применением АЦПУ | Все виды документов |
<*> Документы, для которых выбор формы блоков основной надписи устанавливает исполнитель, исходя из назначения документа. Например, если КТИ разработана на несколько операций, то следует выбирать Б1ф1, если на одну операцию - Б1ф3. |
(рекомендуемое)
ИДЕНТИФИКАТОРЫ ЭЛЕМЕНТОВ РЕКВИЗИТНОЙ ЧАСТИ
ЭЛЕКТРОННОГО ТЕХНОЛОГИЧЕСКОГО ДОКУМЕНТА
Г.1 Номенклатура идентификаторов реквизитов основной надписи приведена в
таблице Г.1.
Таблица Г.1
Номенклатура идентификаторов реквизитов
Наименование реквизита | Идентификатор |
1 Наименование или код организации | td_company_code |
2 Обозначение документа | td_designator |
3 Код вида документа | td_doc_type_code |
4 Наименование документа или технологического метода | td_doc_title_or_method |
5 Обозначение изделия или классификационного кода | td_product_id_or_class_code |
6 Наименование изделия или применяемого метода | td_product_or_method_title |
7 Код классификационных группировок или операции | td_group_or_operation_code |
8 Единица нормирования | td_unit_of_norme |
9 Номер операции | td_operation_number |
10 Номер рабочего места | td_work_place_id |
11 Номер участка | td_area_id |
12 Номер цеха | td_shop_id |
13 Сведения о подписании документа | td_person_vise |
14 Сведения об изменениях документа | td_chg_data |
15 Инвентарный номер подлинника | td_forig_inv_number |
16 Сведения о приемке подлинника в службу технической документации | td_forig_archive_data |
17 Инвентарный номер подлинника, взамен которого выпущен данный подлинник | td_forig_change_number |
18 Инвентарный номер дубликата | td_dbl_inv_number |
19 Литера | td_litera |
20 Сведения о приемке дубликата в службу технической документации | td_dbl_archive_data |
21 Дополнительная информация | td_add_info |
22 Обозначение номера изделия | td_product_number |
23 Обозначение основного документа | td_main_doc_designator |
24 Общее количество листов документа | td_total_pages |
25 Порядковый номер листа | td_page_number |
26 Сведения о визировании документа | td_doc_vise_data |
27 Имя файла документа | td_file_name |
28 Версия документа | td_version |
29 Код документа в зависимости от характера использования | td_state_code |
30 Признак аутентичного документа | td_autentity_code |
31 Уровень конфиденциальности документа | td_restriction_level |
32 Сведения об утверждении документации соответствующей литеры | td_litera_approval_data |
33 Сведения об утверждении документации | td_doc_approval_data |
34 Данные файла содержательной части | td_content_file |
Г.2 Номенклатура идентификаторов атрибутов составных реквизитов приведена в
таблицах Г.2 -
Г.11.
Таблица Г.2
Номенклатура идентификаторов атрибутов реквизита
"Наименование изделия или применяемого метода"
Наименование реквизита | Идентификатор |
Наименование изделия | product_name |
Наименование группы изделий | product_group_name |
Наименование применяемого метода | method_name |
Таблица Г.3
Номенклатура идентификаторов атрибутов реквизита
"Код классификационных группировок или операции"
Наименование реквизита | Идентификатор |
Код классификационных группировок технологических признаков, общих для групп деталей (сборочных единиц) | class_group_code |
Код операции | operation_code |
Таблица Г.4
Номенклатура идентификаторов атрибутов реквизита
"Сведения о подписании документа" (td_person_vise)
Наименование реквизита | Обязательность | Идентификатор | Описание атрибутов |
ФИО | | ds_person | ФИО уполномоченного лица Графа 13 Блок Б2 |
Роль | | ds_role | Роль уполномоченного лица Графа 12 Блок Б2 |
Дата и время | | ds_date | Дата и время визирования Графа 15 Блок Б2 |
Сертификат | | ds_cert | Идентификатор сертификата ключа электронной подписи |
Алгоритм | | ds_hash_alg | Обозначение алгоритма, использованного для расчета контрольной функции |
Контрольная функция | | ds_hash | Значение контрольной функции |
ЭЦП | | ds_sign_value | Значение ЭЦП |
Условные обозначения:  - реквизит обязательный;  - реквизит необязательный. |
Таблица Г.5
Номенклатура идентификаторов атрибутов реквизита
"Сведения об изменениях документа"
Наименование реквизита | Идентификатор |
Порядковый номер изменения | revision_number |
Указания об изменении листа | page_number |
Номер документа, на основании которого проводится изменение | doc_reference |
Подпись лица, внесшего изменения | td_person_vise |
Дата внесения изменения | chg_date |
Таблица Г.6
Номенклатура идентификаторов атрибутов реквизита "Сведения
о приемке подлинника в службу технической документации"
Наименование реквизита | Идентификатор |
Подпись лица, принявшего подлинник | td_person_vise |
Дата приемки | forig_reg_date |
Таблица Г.7
Номенклатура идентификаторов атрибутов реквизита "Сведения
о приемке дубликата в службу технической документации"
Наименование реквизита | Идентификатор |
Подпись лица, принявшего дубликат | td_person_vise |
Дата приемки дубликата | dbl_reg_date |
Таблица Г.8
Номенклатура идентификаторов атрибутов реквизита
"Сведения о визировании документа"
Наименование реквизита | Идентификатор |
Подпись должностного лица | td_person_vise |
Резолюция | comment |
Таблица Г.9
Номенклатура идентификаторов атрибутов реквизита "Сведения
об утверждении документации соответствующей литеры"
Наименование реквизита | Идентификатор |
Номер решения | litera_appr_vote_id |
Год утверждения | vote_appr_year |
Таблица Г.10
Номенклатура идентификаторов атрибутов реквизита
"Сведения об утверждении документации"
Наименование реквизита | Идентификатор |
Номер решения | vote_appr_id |
Год утверждения | vote_appr_year |
Таблица Г.11
Номенклатура идентификаторов атрибутов реквизита
"Данные файла содержательной части"
Наименование реквизита | Идентификатор | Описание атрибутов |
Наименование | File_name | Наименование файла в файловой системе |
Тип | File_Type | Тип программного продукта, в котором разработан файл |
Размер | File_Size | Размер файла в байтах |
Контрольная функция | File_hash | Контрольная функция для файла |
Алгоритм | File_hash_algoritm | Алгоритм расчета контрольной функции |
УДК 691.3:006.354 | |
Ключевые слова: технологический процесс, технологическая документация, оформление документов, проектирование процессов, порошковая металлургия |