Главная // Актуальные документы // ГОСТ Р (Государственный стандарт)
СПРАВКА
Источник публикации
М.: ФГБУ "РСТ", 2022
Примечание к документу
Документ введен в действие с 01.09.2022.
Название документа
"ГОСТ Р 70041-2022. Национальный стандарт Российской Федерации. Сваи железобетонные заводского изготовления сплошного прямоугольного сечения. Технические условия"
(утв. и введен в действие Приказом Росстандарта от 23.03.2022 N 148-ст)

"ГОСТ Р 70041-2022. Национальный стандарт Российской Федерации. Сваи железобетонные заводского изготовления сплошного прямоугольного сечения. Технические условия"
(утв. и введен в действие Приказом Росстандарта от 23.03.2022 N 148-ст)


Содержание


Утвержден и введен в действие
Приказом Федерального
агентства по техническому
регулированию и метрологии
от 23 марта 2022 г. N 148-ст
НАЦИОНАЛЬНЫЙ СТАНДАРТ РОССИЙСКОЙ ФЕДЕРАЦИИ
СВАИ ЖЕЛЕЗОБЕТОННЫЕ ЗАВОДСКОГО ИЗГОТОВЛЕНИЯ
СПЛОШНОГО ПРЯМОУГОЛЬНОГО СЕЧЕНИЯ
ТЕХНИЧЕСКИЕ УСЛОВИЯ
Factory-made reinforced concrete piles of solid
rectangular cross-section. Specifications
ГОСТ Р 70041-2022
ОКС 91.080.40
Дата введения
1 сентября 2022 года
Предисловие
1 РАЗРАБОТАН Акционерным обществом "Научно-исследовательский центр "Строительство" (АО "НИЦ "Строительство") - Научно-исследовательским проектно-изыскательским и конструкторско-технологическим институтом оснований и подземных сооружений имени Н.М. Герсеванова (НИИОСП им. Н.М. Герсеванова)
2 ВНЕСЕН Техническим комитетом по стандартизации ТК 465 "Строительство"
3 УТВЕРЖДЕН И ВВЕДЕН В ДЕЙСТВИЕ Приказом Федерального агентства по техническому регулированию и метрологии от 23 марта 2022 г. N 148-ст
4 ВВЕДЕН ВПЕРВЫЕ
Правила применения настоящего стандарта установлены в статье 26 Федерального закона от 29 июня 2015 г. N 162-ФЗ "О стандартизации в Российской Федерации". Информация об изменениях к настоящему стандарту публикуется в ежегодном (по состоянию на 1 января текущего года) информационном указателе "Национальные стандарты", а официальный текст изменений и поправок - в ежемесячном информационном указателе "Национальные стандарты". В случае пересмотра (замены) или отмены настоящего стандарта соответствующее уведомление будет опубликовано в ближайшем выпуске ежемесячного информационного указателя "Национальные стандарты". Соответствующая информация, уведомление и тексты размещаются также в информационной системе общего пользования - на официальном сайте Федерального агентства по техническому регулированию и метрологии в сети Интернет (www.rst.gov.ru)
1 Область применения
1.1 Настоящий стандарт распространяется на цельные сваи заводского изготовления из тяжелого бетона сплошного прямоугольного сечения с напрягаемой и ненапрягаемой арматурой, на составные сваи сплошного прямоугольного сечения с ненапрягаемой арматурой и устанавливает требования к их изготовлению.
1.2 Настоящий стандарт не распространяется на составные сваи для гидротехнических сооружений.
2 Нормативные ссылки
В настоящем стандарте использованы нормативные ссылки на следующие документы:
ГОСТ 535 Прокат сортовой и фасонный из стали углеродистой обыкновенного качества. Общие технические условия
ГОСТ 14098 Соединения сварные арматуры и закладных изделий железобетонных конструкций. Типы, конструкции и размеры
ГОСТ 19804 Сваи железобетонные заводского изготовления. Общие технические условия
СП 28.13330.2017 "СНиП 2.03.11-85 Защита строительных конструкций от коррозии"
Примечание - При пользовании настоящим стандартом целесообразно проверить действие ссылочных стандартов (сводов правил) в информационной системе общего пользования - на официальном сайте Федерального агентства по техническому регулированию и метрологии в сети "Интернет" или по ежегодному информационному указателю "Национальные стандарты", который опубликован по состоянию на 1 января текущего года, и по выпускам ежемесячного информационного указателя "Национальные стандарты" за текущий год. Если заменен ссылочный документ, на который дана недатированная ссылка, то рекомендуется использовать действующую версию этого документа с учетом всех внесенных в данную версию изменений. Если заменен ссылочный документ, на который дана датированная ссылка, то рекомендуется использовать версию этого документа с указанным выше годом утверждения (принятия). Если после утверждения настоящего стандарта в ссылочный документ, на который дана датированная ссылка, внесено изменение, затрагивающее положение, на которое дана ссылка, то это положение рекомендуется применять без учета данного изменения. Если ссылочный документ отменен без замены, то положение, в котором дана ссылка на него, рекомендуется применять в части, не затрагивающей эту ссылку.
3 Термины и определения
В настоящем стандарте применены следующие термины с соответствующими определениями:
3.1 железобетонная свая заводского изготовления: Конструкция, изготовляемая в заводских условиях из тяжелого или мелкозернистого бетона, погруженная вертикально или наклонно в грунт, предназначенная для передачи нагрузки от здания или сооружения на грунтовое основание.
Примечание - Выделяют цельные и составные сваи. Составная свая состоит из нескольких секций, которые соединяют между собой в процессе погружения.
3.2 составной стык железобетонной сваи заводского изготовления: Конструктивный узел, соединяющий секции составной сваи между собой и обеспечивающий их соосность, равнопрочность со стволом сваи, а также защиту от выколов бетона узла и коррозии металла узла и секций сваи.
4 Типы, основные размеры и условные обозначения
4.1 Типы свай определяются видом армирования, наличием стыков и секций, ударостойкостью, наличием приставного каркаса острия.
4.2 Основные размеры свай принимают по ГОСТ 19804. Сваи обозначают марками по ГОСТ 19804. Классы бетона и виды арматуры принимают по ГОСТ 19804.
4.3 Условные обозначения свай
4.3.1 Примеры условных обозначений цельных прямоугольных свай с ненапрягаемой арматурой:
- свая обычной ударостойкости сплошного квадратного сечения длиной 8 м, сечением 0,3 м, типа армирования 2:
С 80.30-2.
Примечания
1 В условных обозначениях здесь и далее длину сваи приводят в дециметрах, сечение - в сантиметрах.
2 Типы армирования в зависимости от диаметра и класса продольной арматуры приведены в таблице 1.
- свая обычной ударостойкости сплошного квадратного сечения с приставным каркасом острия <*>, длиной 8 м, сечением 0,3 м, типа армирования 2:
С 80.30-2.1;
- свая повышенной ударостойкости (ударостойкая) <**>, длиной 8 м, сечением 0,3 м, типа армирования 2:
С 80.30-2.у;
- свая сплошного квадратного сечения повышенной ударостойкости (ударостойкая) с приставным каркасом острия, длиной 8 м, сечением 0,3 м, типа армирования 2:
С 80.30-2.1.у.
--------------------------------
<*> Приставной каркас острия обозначается арабской цифрой 1 через точку после типа армирования в конце условного обозначения сваи.
<**> В конце условного обозначения русская строчная "у" через точку после типа армирования.
Таблица 1
Условное обозначение армирования
Диаметр и класс продольной арматуры
1
12 А300
2
12 А400
3
14 А400
4
16 А400
5
18 А400
6
20 А400
4.3.2 Примеры условных обозначений составных свай с ненапрягаемой арматурой:
- свая составная железобетонная сплошного квадратного сечения, длиной 14 м, сечением 0,3 м, со стаканным стыком:
С 140.30-С;
а) верхняя секция (В):
С 60.30-ВС.1,
б) нижняя секция (Н):
С 80.30-НС.1;
- свая составная железобетонная сплошного квадратного сечения, длиной 14 м, сечением 0,3 м, со сварным стыком (Св):
С 140.30-Св.
Примечание - Составные сваи, предназначенные для вибропогружения (усиленные), отмечаются во второй группе обозначения через точку буквенным индексом "Вп":
С 140.30-Св.Вп;
а) верхняя секция (В):
С 140.30-ВСв.1,
б) нижняя секция (Н):
С 80.30-НСв.1.
4.3.3 Примеры условных обозначений цельных свай сплошного прямоугольного сечения с напрягаемой арматурой:
- свая сплошного квадратного сечения с напрягаемой проволочной арматурой, длиной 12 м, сечением 0,3 м, класса продольной арматуры ВрII:
Снпр 120.30-ВрII;
- свая сплошного квадратного сечения, длиной 15 м, сечением 0,3 м, с напрягаемой стержневой арматурой класса продольной арматуры А:
Сн 150.30-А.
5 Технические требования
5.1 Общие требования
5.1.1 Изготовление цельных и составных свай осуществляется по ГОСТ 19804 и настоящему стандарту.
5.1.2 Цельные сваи длиной 7 м и более изготовляют с обычной и повышенной ударостойкостью.
5.1.3 Головы свай при изготовлении должны быть усилены сетками, а острие - приставным каркасом.
5.2 Сваи сплошного прямоугольного сечения с ненапрягаемой арматурой
5.2.1 Сваи сплошного прямоугольного сечения с ненапрягаемой арматурой следует изготовлять из тяжелого бетона класса по прочности на сжатие не ниже:
- для свай сечением 300 x 300 мм длиной 3 x 7 м - B15;
- для свай сечением 350 x 350 мм длиной 4 - 6 м и сечением 400 x 400 мм длиной 4 - 12 м - B20;
- для свай сечением 300 x 300 мм длиной 8 - 12 м и сечением 350 x 350 мм длиной 7 - 12 м - B20 для свай обычной ударостойкости и B25 для свай повышенной ударостойкости;
- для свай сечением 400 x 400 мм длиной 13 - 16 м - B25 и B30 для свай обычной ударостойкости и B35 и выше для свай повышенной ударостойкости.
5.2.2 Допускается изменение диаметра и класса продольной арматуры свай, что должно быть отражено в марке сваи и указано в заказной спецификации.
5.2.3 Допускается применение проволоки диаметром 4 мм класса B500 для свай с продольной арматурой диаметром не более 16 мм.
5.2.4 Для свай с продольной арматурой диаметром 22 мм и более диаметр спирали поперечной арматуры следует принимать равным не менее 0,25d, где d - диаметр продольной арматуры. При этом в качестве поперечной арматуры допускается применять арматурную сталь класса А240.
5.2.5 Поперечная арматура должна быть приварена контактной точечной сваркой либо привязана к продольной арматуре не реже чем через один шаг спирали.
5.2.6 Монтажные петли изготовляют из горячекатаной арматурной стали класса А240 марок Ст245. При расчетной зимней температуре монтажа минус 40 °C и ниже применять полуспокойную сталь не допускается.
5.3 Составные сваи сплошного прямоугольного сечения с ненапрягаемой арматурой
5.3.1 Секции составных свай следует изготовлять из тяжелого бетона класса по прочности на сжатие не ниже B25.
5.3.2 Стальные элементы стыков следует выполнять из углеродистой стали по ГОСТ 535. Соединения секций составных свай приведены в приложении А.
5.3.3 Отпускная прочность бетона составных свай в момент отгрузки с предприятия-изготовителя должна быть не ниже 100% проектной.
5.3.4 Сварные соединения стальных элементов стыков следует выполнять по ГОСТ 14098.
5.3.5 Отклонения от проектных размеров элементов стаканного стыка не должны превышать, мм:
а) для верхних секций:
- диаметр рифленой части ......................... +/- 2;
- длина рифленой части ........................... +/- 5;
- высота рифления ................................ +/- 2;
- шаг рифления ................................... +/- 2;
б) для нижних секций:
- длина рабочей полости .......................... +/- 2.
5.3.6 Отклонения от проектных размеров элементов сварных стыков не должны превышать, мм:
- сторона стальной обоймы ........................ +/- 5;
- размеры накладок ............................... +/- 5.
5.3.7 Незащищенные бетоном стальные элементы стыков составных свай должны иметь защиту от коррозии, выполняемую в две стадии:
- антикоррозионное покрытие, выполняемое на предприятии - изготовителе секций составных свай. Вид антикоррозионного покрытия назначается проектной организацией в соответствии с СП 28.13330 в зависимости от условий эксплуатации свай и указывается в заказной спецификации. Степень агрессивного воздействия среды определяется с учетом технологических особенностей сооружения, прогноза изменения гидрогеологии застраиваемой территории в период как строительства, так и эксплуатации сооружения;
- защитное покрытие, предназначенное для предохранения антикоррозионного покрытия от повреждения при погружении составной сваи в грунт, выполняемое на строительной площадке после соединения секций составной сваи. Защитное покрытие выполняется по проекту производства работ. В качестве защитного покрытия могут быть использованы рулонные, пленочные и другие достаточно прочные материалы.
5.4 Цельные сваи прямоугольного сечения с напрягаемой арматурой
5.4.1 Для армирования цельных свай с напрягаемой арматурой следует в соответствии с ГОСТ 19804 применять арматурную сталь следующих видов:
- высокопрочная проволока периодического профиля;
- горячекатаная стержневая;
- термомеханически упрочненная стержневая;
- арматурные канаты.
В качестве конструктивной арматуры (спирали, петли, сетки, хомуты) используют обыкновенную проволоку периодического профиля, стержневую горячекатаную гладкую арматуру.
5.4.2 Натяжение высокопрочной проволоки периодического профиля и арматурных канатов следует выполнять механическим способом; натяжение горячекатаной стержневой и термомеханически упрочненной стержневой арматуры осуществляют электромеханическим (для свай длиной до 12 м включительно) или механическим способами.
Допускается использовать электрический способ для натяжения высокопрочной проволоки периодического профиля.
При натяжении электрохимическим способом высокопрочной проволоки периодического профиля и термически упрочненной стержневой арматуры дополнительно следует проводить контрольные испытания арматуры на растяжение после электронагрева.
Отпуск натяжения следует производить после достижения бетоном требуемой прочности, составляющей 70% прочности бетона на сжатие.
5.4.3 Предельную величину предварительного напряжения арматуры принимают в зависимости от способа натяжения.
После отпуска натяжения арматура должна быть срезана заподлицо с бетоном.
Шаг спирали поперечной арматуры по обоим концам свай на длине 1 м должен быть равным 100 мм, в средней части для свай длиной до 12 м включительно - 300 мм, для свай длиной 13 м и более - 200 мм.
5.4.4 Нормируемая отпускная прочность бетона свай должна быть равна 100% класса бетона по прочности на сжатие.
5.4.5 Поперечная арматура должна быть привязана вязальной проволокой к продольной арматуре в каждом четвертом пересечении, с тем чтобы шаг спирали был зафиксирован.
5.4.6 Сетки, петли и каркас острия должны быть привязаны к продольной арматуре вязальной проволокой.
6 Правила приемки
Приемка свай заводского изготовления проводится в соответствии с ГОСТ 19804.
7 Методы контроля
7.1 Методы контроля свай заводского изготовления должны соответствовать ГОСТ 19804 и настоящему стандарту.
7.2 Сваи и секции составных свай длиной 8 м и более должны быть испытаны на раскрытие трещин путем укладки их на две опоры, расположенные по схеме, приведенной на рисунке 1.
Рисунок 1 - Схема испытания свай
После укладки сваи на две опоры через 10 мин проводят осмотр ее верхней грани над опорами. Сваю считают выдержавшей испытания, если ширина раскрытия трещин не превышает 0,2 мм. Ширину раскрытия трещин измеряют с точностью до 0,05 мм.
Испытания на раскрытие трещин свай, в которых площадь поперечного сечения продольной арматуры увеличена или принят более высокий класс арматуры, проводят в соответствии со схемой, которая должна быть приложена к заказной спецификации.
8 Комплектность, транспортирование и хранение
Требования к комплектности, транспортированию и хранению - по ГОСТ 19804.
Приложение А
(обязательное)
СОЕДИНЕНИЕ СЕКЦИЙ СВАЙ
1 - верхняя секция сваи; 2 - нижняя секция сваи
Рисунок А.1 - Соединение секций свай со стаканным стыком
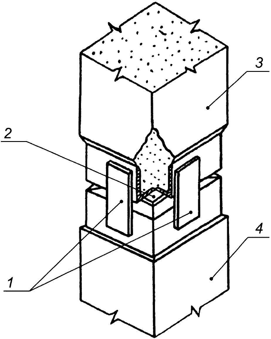
1 - накладки; 2 - стальная прокладка; 3 - верхняя
секция сваи; 4 - нижняя секция сваи
Рисунок А.2 - Соединение секций свай со сварным стыком
УДК 624.155:624.154-4:006.354
ОКС 91.080.40
Ключевые слова: железобетонные сваи, заводское изготовление, сплошное прямоугольное сечение, цельные сваи, составные сваи, ударостойкость, тип армирования