Список изменяющих документов Извещения от 20.11.2013 N 32 ЦВ 27-2013, |
ПОСТРОЕН 127 02.10.2006 | КР 02.10.2017 | ДР 02.10.2008 |
ПОСТРОЕН 127 02.10.2006 | КР 140 02.04.2015-2027 | ДР 412 02.04.2006-2009 |
632-2011 ПКБ ЦВ | ||||||||||
Изм. | Лист | N докум. | Подп. | Дата | ||||||
Разраб. | Голышева Е.В. | Знаки и надписи на вагонах грузового парка железных дорог колеи 1520 мм. Альбом-справочник | Лит. | Лист | Листов | |||||
Пров. | Лебедев Г.В. | 1 | ||||||||
ПКБ ЦВ ОАО "РЖД" | ||||||||||
Заказчик | Зеленков В.И. | |||||||||
Утв. | Иванов А.О. | |||||||||
ДР 412 02.04.2006-2009 ПРОБЕГ |
ДР 02.04.2010 ПРОБЕГ |
ДР 412 02.04.2010 |
КРП 112 01.12.2009 Срок сл. до 01.2014 |
ТР 321 12.09.2005 | ИСПЫТАН 97 07.03.2009 |
МОДЕРН 97 06.02.98 |
ПОД ИСКЛ 321 129-2010 |
Лист | ||||||
632-2011 ПКБ ЦВ | 2 | |||||
Изм. | Лист | N докум. | Подп. | Дата |
Лист | ||||||
632-2011 ПКБ ЦВ | 3 | |||||
Изм. | Лист | N докум. | Подп. | Дата |
Лист | ||||||
3а | ||||||
Изм | Лист | N докум. | Подп. | Дата | ||
(лист 3а введен Протоколом от 08.06.2021 N 74) | ||||||
Лист | ||||||
632-2011 ПКБ ЦВ | 4 | |||||
Изм. | Лист | N докум. | Подп. | Дата |


N шрифта | 1 | 2 | 3 | 4 | 5 | 6 | 7 | |
Размеры букв и цифр | Н | 154 | 126 | 84 | 70 | 49 | 28 | 21 |
В | 22 | 18 | 12 | 10 | 7 | 4 | 3 | |
Лист | ||||||
632-2011 ПКБ ЦВ | 5 | |||||
Изм. | Лист | N докум. | Подп. | Дата |

N шрифта | 1 | 2 | 3 | 4 | 5 | 6 | 7 | |
Размеры цифр | Н | 154 | 126 | 84 | 70 | 49 | 28 | 21 |
В | 22 | 18 | 12 | 10 | 7 | 4 | 3 | |
Лист | ||||||
632-2011 ПКБ ЦВ | 6 | |||||
Изм. | Лист | N докум. | Подп. | Дата |
Лист | ||||||
632-2011 ПКБ ЦВ | 7 | |||||
Изм. | Лист | N докум. | Подп. | Дата |

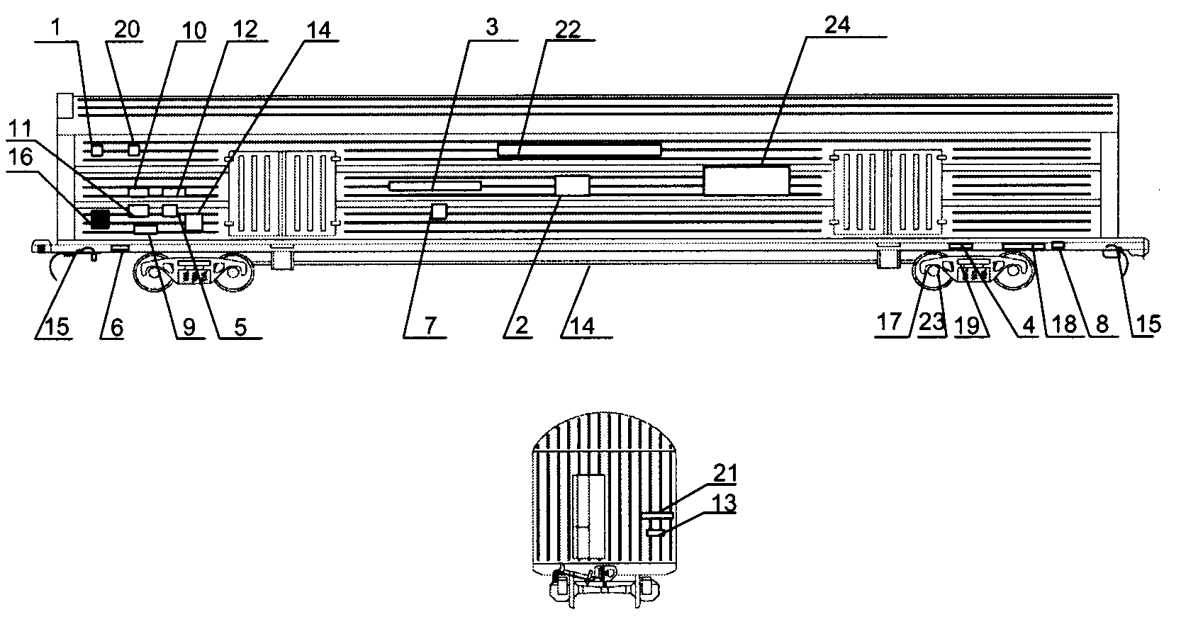
22 | Место нанесения логотипа | На кузове - поле не более (1700*1200)мм. | 2 | - | ||||||||||||
21 | Знак проведения текущего ремонта колесной пары | На бирке | ТР XII 11 | 4 | 48 | |||||||||||
Знак проведения восстановления профиля поверхности катания колес | О1 II 12 | |||||||||||||||
(п. 21 в ред. Протокола от 05.11.2015 N 63) | ||||||||||||||||
Надпись | На раме - Авторежим | 2 | 5 | |||||||||||||
Маркировка литых элементов тележки | На надрессорной балке и рамах боковых | при кап. рем. | 6 | 6 | ||||||||||||
99-122-8-5461 | ||||||||||||||||
при деп. рем. | ||||||||||||||||
8-546 | ||||||||||||||||
(в ред. Протокола от 05.11.2015 N 63) | ||||||||||||||||
18 | Надпись | На кузове - Пробег | 2 | 41 | ||||||||||||
17 | Средний и капитальный ремонт колесной пары | 4 | 48 | |||||||||||||
На бирке - | III | 83 | 342 | |||||||||||||
0005123482 | ||||||||||||||||
20 | ||||||||||||||||
(в ред. Протокола от 05.11.2015 N 63) | ||||||||||||||||
16 | Знак маневрового захвата | На раме - ![]() | 4 | 49 | ||||||||||||
(в ред. Протокола от 05.11.2015 N 63) | ||||||||||||||||
15 | Гидравлическое испытание запасного резервуара | На запасном резервуаре | Испытан 143 22.10.2010 | 1 | 41 | |||||||||||
(в ред. Протокола от 05.11.2015 N 63) | ||||||||||||||||
14 | место для меловых надписей | На кузове - | прямоугольник черного цвета 500x600 мм | 2 | - | |||||||||||
13 | Текущий ремонт | На торцевой стене - | ТР 462 10.04.2011 | 2 | 41 | |||||||||||
12 | Деповской ремонт | На кузове - | ДР 462 22.10.2001-2008 | 2 | 41 | |||||||||||
11 | Капитальный ремонт | На кузове - | КР 14 22.10.2001-2013 | 2 | 41 | |||||||||||
10 | Дата постройки вагона | На кузове - | Построен 27 22.10.2001 | 2 | 41 | |||||||||||
9 | Тара вагона | На кузове - ТАРА 22 т | 2 | 42 | ||||||||||||
(в ред. Протокола от 05.11.2015 N 63) | ||||||||||||||||
8 | Цифровой железнодорожный код страны | На раме - [20] | 2 | 52 | ||||||||||||
7 | Цифровой железнодорожный код страны | На кузове - 20 | 2 | 52 | ||||||||||||
6 | Табличка завода- изготовителя | На раме - | табличка с указанием даты и места постройки | 2 | - | |||||||||||
5 | Полезный объем | На кузове - 86,4 м3 | 2 | 42 | ||||||||||||
4 | Номер вагона | На раме - ххх ххххх | 2 | 6 | ||||||||||||
3 | Номер вагона | На кузове - ххх ххххх | 2 | 6 | ||||||||||||
2 | Грузоподъемность | На кузове - 68 т | 2 | 42 | ||||||||||||
Буквенный код | На кузове | 2 | 52 | |||||||||||||
N поз. | Наименование знака или надпись | Место нанесения и содержание | Кол. на вагон | Лист | ||||||||||||
Лист | ||||||||||||||||
632-2011 ПКБ ЦВ | 8 | |||||||||||||||
Изм. | Лист | N докум. | Подп. | Дата | ||||||||||||

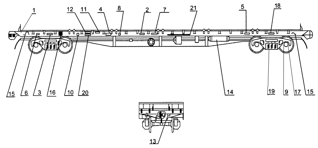
22 | Место нанесения логотипа | На кузове - поле не более (1700*1200)мм. | 2 | - | |||||||||||
Надпись | На раме - Авторежим | 2 | 5 | ||||||||||||
20 | Знак проведения текущего ремонта колесной пары | На бирке | ТР XII 11 | 4 | 48 | ||||||||||
Знак проведения восстановления профиля поверхности катания колес | О1 II 12 | ||||||||||||||
(п. 20 в ред. Протокола от 05.11.2015 N 63) | |||||||||||||||
Маркировка литых элементов тележки | На надрессорной балке и рамах боковых | при кап. рем. | при деп. рем. | 6 | 6 | ||||||||||
99-122-8-546 | 8-546 | ||||||||||||||
(в ред. Протокола от 05.11.2015 N 63) | |||||||||||||||
18 | Надпись | На кузове - Пробег | 2 | 41 | |||||||||||
(в ред. Протокола от 05.11.2015 N 63) | |||||||||||||||
17 | Средний и капитальный ремонт колесной пары | 4 | 48 | ||||||||||||
III | 83 | 342 | |||||||||||||
На бирке - | 0005123482 | ||||||||||||||
20 | |||||||||||||||
16 | Место для меловых надписей | На кузове - | прямоугольник черного цвета 500x600 мм | 2 | - | ||||||||||
15 | Знак маневрового захвата | На раме - ![]() | 4 | 49 | |||||||||||
(в ред. Протокола от 05.11.2015 N 63) | |||||||||||||||
14 | Гидравлическое испытание запасного резервуара | На запасном резервуаре | Испытан 127 22.10.2005 | 1 | 41 | ||||||||||
(в ред. Протокола от 05.11.2015 N 63) | |||||||||||||||
13 | Текущий ремонт | На торцевой стене - | ТР 462 10.04.2005 | 2 | 41 | ||||||||||
12 | Деповской ремонт | На кузове - | ДР 462 10.04.99-2001 | 2 | 41 | ||||||||||
11 | Капитальный ремонт | На кузове - | КР 142 22.10.99-2011 | 2 | 41 | ||||||||||
10 | Дата постройки вагона | На кузове - | Построен 27 22.10.99 | 2 | 41 | ||||||||||
9 | Тара вагона | На кузове - ТАРА 23 т | 2 | 42 | |||||||||||
8 | Цифровой железнодорожный код страны | На раме - [20] | 2 | 52 | |||||||||||
7 | Цифровой железнодорожный код страны | На кузове - 20 | 2 | 52 | |||||||||||
6 | Табличка завода- изготовителя | На раме - | табличка с указанием даты и места постройки | 2 | - | ||||||||||
Полезный объем | На кузове - 120 м3 | 2 | 42 | ||||||||||||
4 | Номер вагона | На раме - ххх ххххх | 2 | 6 | |||||||||||
3 | Номер вагона | На кузове - ххх ххххх | 2 | 6 | |||||||||||
2 | Грузоподъемность | На кузове - 68 т | 2 | 42 | |||||||||||
Буквенный код | На кузове | 2 | 52 | ||||||||||||
N поз. | Наименование знака или надпись | Место нанесения и содержание | Кол. на вагон | Лист | |||||||||||
Лист | |||||||||||||||
632-2011 ПКБ ЦВ | 9 | ||||||||||||||
Изм. | Лист | N докум. | Подп. | Дата | |||||||||||

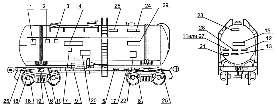
24 | Место нанесения логотипа | На кузове - поле не более (2000*1500) мм. | 2 | - | ||||||||||
23 | Знак проведения текущего ремонта колесной пары | На бирке | ТР XII 11 | 4 | 48 | |||||||||
Знак проведения восстановления профиля поверхности катания колес | О1 II 12 | |||||||||||||
(п. 23 в ред. Протокола от 05.11.2015 N 63) | ||||||||||||||
Надпись | На кузове - Легковые автомобили | 2 | 5 | |||||||||||
21 | Надпись | На торцевой стене - | Срочный возврат ст. Тольятти КБШ. | 2 | 45 | |||||||||
20 | Знак длиннобазности | На кузове - (ДБ) | 2 | 49 | ||||||||||
Маркировка литых элементов тележки | На надрессорной балке и рамах боковых | при кап. рем. | при деп. рем. | 6 | 6 | |||||||||
2-122-8-546 | 8-546 | |||||||||||||
(в ред. Протокола от 05.11.2015 N 63) | ||||||||||||||
18 | Надпись | На раме - Авторежим | 2 | 5 | ||||||||||
17 | Средний и капитальный ремонт колесной пары | 4 | 48 | |||||||||||
На бирке - | III | 84 | 342 | |||||||||||
20 | 0005123482 | |||||||||||||
16 | Место для меловых надписей | На кузове - | прямоугольник черного цвета 500x600 мм | 2 | - | |||||||||
15 | Знак маневрового захвата | На раме - ![]() | 4 | 49 | ||||||||||
14 | Гидравлическое испытание запасного резервуара | На запасном резервуаре | Испытан 135 22.12.2005 | 1 | 41 | |||||||||
13 | Текущий ремонт | На торцевой стене - | ТР 462 10.04.2005 | 2 | 41 | |||||||||
12 | Деповской ремонт | На кузове - | ДР 462 10.08.2003-2005 | 2 | 41 | |||||||||
11 | Капитальный ремонт | На кузове - | КР 14 10.04.98-2008 | 2 | 41 | |||||||||
10 | Дата постройки вагона | На кузове - | Построен 27 22.10.99 | 2 | 41 | |||||||||
9 | Тара вагона | На кузове - ТАРА 23 т | 2 | 42 | ||||||||||
8 | Цифровой железнодорожный код страны | На раме - [20] | 2 | 52 | ||||||||||
7 | Цифровой железнодорожный код страны | На кузове - 20 | 2 | 52 | ||||||||||
6 | Табличка завода- изготовителя | На раме - табличка с указанием даты и места постройки | 2 | - | ||||||||||
5 | Условное обозначение и код дороги приписки | На кузове - Приписан ВЧД12 МСК. | 2 | 51 | ||||||||||
(в ред. Протокола от 05.11.2015 N 63) | ||||||||||||||
4 | Номер вагона | На раме - ххх ххххх | 2 | 6 | ||||||||||
3 | Номер вагона | На кузове - ххх ххххх | 2 | 6 | ||||||||||
2 | Грузоподъемность | На кузове - 42 т | 2 | 42 | ||||||||||
Буквенный код | На кузове | 2 | 52 | |||||||||||
N поз. | Наименование знака или надпись | Место нанесения и содержание | Кол. на вагон | Лист | ||||||||||
Лист | ||||||||||||||
632-2011 ПКБ ЦВ | 10 | |||||||||||||
Изм. | Лист | N докум. | Подп. | Дата | ||||||||||

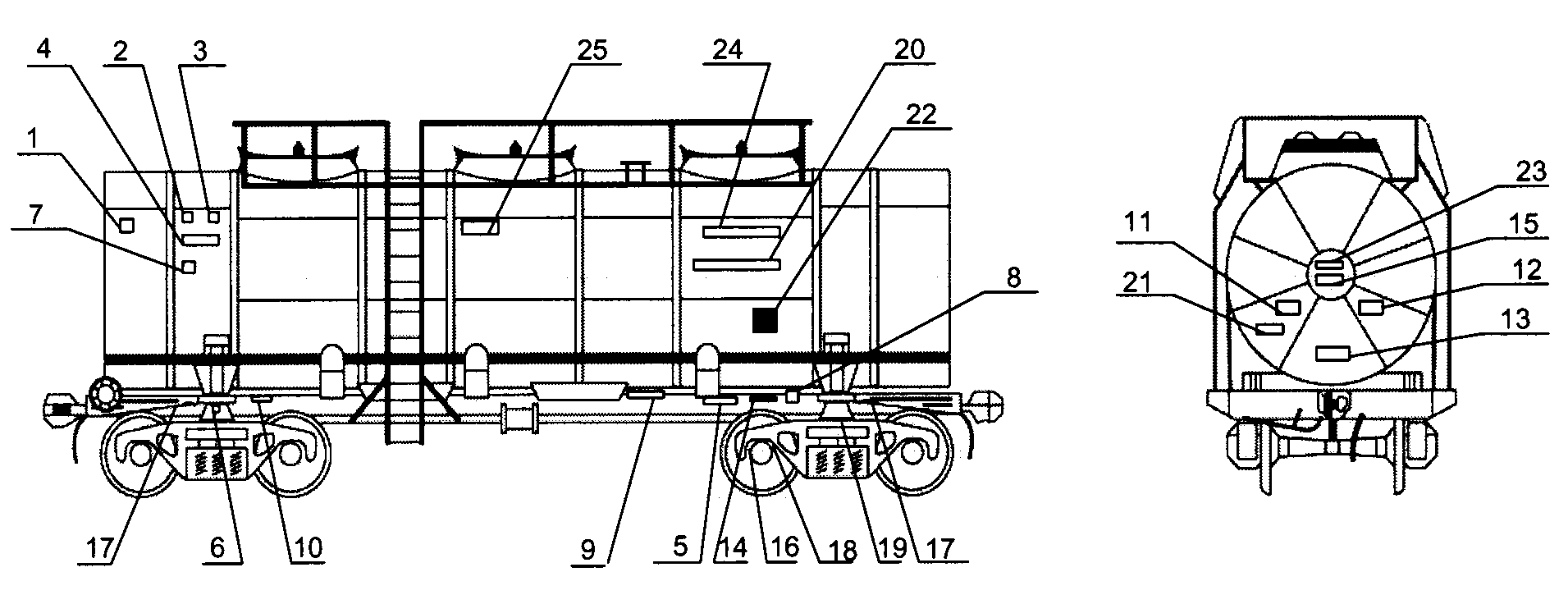
25 | Место нанесения логотипа | На кузове - поле не более (2000*1200)мм | 2 | - | |||||||||||
24 | Средний и капитальный ремонт колесной пары | 4 | 48 | ||||||||||||
На бирке | III | 84 | 342 | ||||||||||||
0005123482 | |||||||||||||||
20 | |||||||||||||||
23 | Условное обозначение и код дороги приписки | На кузове - Приписан ВЧД12 МСК. | 2 | 51 | |||||||||||
(в ред. Протокола от 05.11.2015 N 63) | |||||||||||||||
22 | Надпись | На раме | Тормоз | Отпуск | 2 | 43 | |||||||||
(в ред. Протокола от 05.11.2015 N 63) | |||||||||||||||
Маркировка литых элементов тележки | На надрессорной балке и рамах боковых | при кап. рем. | при деп. рем. | 6 | 6 | ||||||||||
92-122-8-546 | 8-546 | ||||||||||||||
(в ред. Протокола от 05.11.2015 N 63) | |||||||||||||||
20 | Знак длиннобазности | На кузове - (ДБ) | 2 | 49 | |||||||||||
19 | Знак маневрового захвата | На раме - ![]() | 4 | 49 | |||||||||||
18 | Надпись | На торцевой стене - Срочный возврат ст. Тольятти КБШ | 2 | 45 | |||||||||||
Надпись | На кузове - легковые автомобили | 2 | 5 | ||||||||||||
Надпись | На раме - Авторежим | 2 | 5 | ||||||||||||
15 | Знак проведения текущего ремонта колесной пары | На бирке | ТР XII 11 | 4 | 48 | ||||||||||
Знак проведения восстановления профиля поверхности катания колес | О1 II 12 | ||||||||||||||
(п. 15 в ред. Протокола от 05.11.2015 N 63) | |||||||||||||||
14 | Гидравлическое испытание запасного резервуара | На запасном резервуаре | Испытан 172 22.10.2003 | 1 | 41 | ||||||||||
(в ред. Протокола от 05.11.2015 N 63) | |||||||||||||||
13 | Табличка завода- изготовителя | На раме - табличка с указанием даты и места постройки | 2 | - | |||||||||||
12 | Место для меловых надписей | На кузове - | прямоугольник черного цвета 500x600 мм | 2 | - | ||||||||||
11 | Дата постройки вагона | На кузове - | Построен 27 22.10.94 | 2 | 41 | ||||||||||
10 | Текущий ремонт | На торцевой стене - | ТР 462 10.04.2004 | 2 | 41 | ||||||||||
9 | Капитальный ремонт | На кузове - | КР14 10.04.2003-2013 | 2 | 41 | ||||||||||
8 | Деповской ремонт | На кузове - | ДР 462 10.04.2003-2005 | 2 | 41 | ||||||||||
7 | Тара вагона | На кузове - ТАРА 35 т | 2 | 42 | |||||||||||
6 | Цифровой железнодорожный код страны | На раме - [20] | 2 | 52 | |||||||||||
5 | Цифровой железнодорожный код страны | На кузове - 20 | 2 | 52 | |||||||||||
4 | Номер вагона | На раме - ххх ххххх | 2 | 6 | |||||||||||
3 | Номер вагона | На кузове - ххх ххххх | 2 | 6 | |||||||||||
2 | Грузоподъемность | На кузове - 42 т | 2 | 42 | |||||||||||
Буквенный код | На кузове | 2 | 52 | ||||||||||||
N поз. | Наименование знака или надпись | Место нанесения и содержание | Кол. на вагон | Лист | |||||||||||
Лист | |||||||||||||||
632-2011 ПКБ ЦВ | 11 | ||||||||||||||
Изм. | Лист | N докум. | Подп. | Дата | |||||||||||

39 | Надпись | на полураме с двух сторон - ОПИРАЮЩАЯСЯ ЧАСТЬ | 2 | 5 | |||||||
Надпись | на полураме с двух сторон - ПЯТНИКОВАЯ ЧАСТЬ | 2 | 5 | ||||||||
37 | Знак проведения текущего ремонта колесной пары | На бирке - ![]() | 6 | 48 | |||||||
Знак проведения восстановления профиля поверхности катания колес | |||||||||||
36 | Надпись | На кузове - 2 (для опирающейся секции) | 2 | 5 | |||||||
35 | Надпись | На кузове - 1 (для секции с пятником) | 2 | 5 | |||||||
| |||||||||||
34 | Надпись | На кузове - ВНИМАНИЕ. открывать крышу при отсутствии устройств и сооружений внутри габарита приближения строений <...> | 4 | 5 | |||||||
33 | Трафарет о наличии на вагоне эластомерного поглощающего аппарата | На концевой белке рамы - | 2 | 42 | |||||||
32 | Надпись | На бирке - ![]() | 6 | 48 | |||||||
31 | Надпись | На боковой балке рамы - отпуск | 2 | 43 | |||||||
30 | Знак габарита | На кузове - 1 · Т | 2 | 5 | |||||||
29 | Надпись | На кузове - ПРОБЕГ | 2 | 41 | |||||||
28 | Предупреждающий знак | На кузове | 2 | 54 | |||||||
27 | Место для меловых надписей | На кузове - прямоугольник черного цвета 500 x 600мм | 4 | - | |||||||
26 | Технический осмотр | На концевой белке рамы - ![]() | 2 | 53 | |||||||
25 | Знак приватного вагона | На кузове и раме - P | 4 | 54 | |||||||
Маркировка литых элементов тележки | На надрессорной балке и рамах боковых - ![]() | 12 | 6 | ||||||||
23 | Надпись | На кузове - СОБСТВЕННИК | 2 | 53 | |||||||
22 | Гидравлическое испытание запасного резервуара | На запасном резервуаре - ![]() | 1 | 41 | |||||||
21 | Текущий ремонт | На концевой балке рамы - ![]() | 2 | 41 | |||||||
Авторежим | На боковой балке рамы - АВТОРЕЖИМ | 2 | 5 | ||||||||
19 | Дата последнего ремонта или осмотра | На кузове - | 2 | 59 | |||||||
18 | Деповской ремонт | На кузове - ![]() | 2 | 41 | |||||||
17 | Капитальный ремонт | На кузове - ![]() | 2 | 41 | |||||||
16 | Цифровой железнодорожный код страны | На боковой балке рамы - [20] | 2 | 52 | |||||||
15 | Цифровой железнодорожный код страны | На кузове - 20 | 2 | 52 | |||||||
14 | Знак - место для домкрата | На боковой балке ремы - | 8 | 42 | |||||||
13 | Табличка завода-изготовителя | На боковой балке рамы с указанием даты и места постройки, порядкового номера секции | 2 | - | |||||||
12 | Знак маневрового захвата | На боковой балке рамы над маневровыми захватами - | 4 | 49 | |||||||
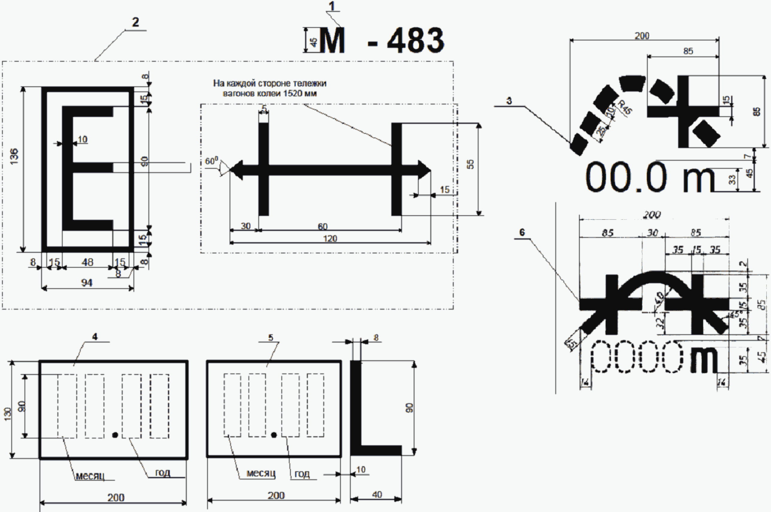
11 | Тип автоматического тормоза | На боковой балке рамы - М-483 | 4 | 56 | |||||||
10 | Место для логотипа собственника | На кузове - поле не более 1700 x 1200 мм | 2 | - | |||||||
9 | Дата постройки вагона | На кузове - ![]() | 2 | 41 | |||||||
8 | Тара вагона | На раме - 48 000 кг | 2 | 58 | |||||||
7 | Номер вагона | На раме XXXX XXXX | 2 | 6 | |||||||
6 | Номер вагона | На кузове XXXX XXXX | 2 | 6 | |||||||
5 | Полезный объем секции | На кузове - 115 м3 | 2 | 42 | |||||||
4 | Полезный объем общий | На кузове - 230 м3 | 2 | 42 | |||||||
Грузоподъемностъ секции | На кузове - 46,5 т | 2 | 58 | ||||||||
Грузоподъемностъ общая | На кузове - 93,0 т | 2 | 58 | ||||||||
Буквенный код | На кузове | 2 | 52 | ||||||||
N поз. | Наименование знака или надписи | Место нанесения и содержание | Кол. на вагон | Лист | |||||||
Лист | |||||||||||
11а | |||||||||||
Изм | Лист | N докум. | Подп. | Дата | |||||||

27 | Место нанесения логотипа | На кузове - поле не более (1500*900)мм. | 2 | - | ||||||||||
26 | Надпись | На раме - Авторежим | 2 | 5 | ||||||||||
Надпись | На кузове - | Ревизия разгрузочных устройств 576 15.08.2003 | 2 | 5 6 | ||||||||||
Надпись | На кузове - | Перед разгрузкой открыть два загрузочных люка | 2 | 5 | ||||||||||
Маркировка литых элементов тележки | На надрессорной балке и рамах боковых | при кап. рем. | при деп. рем. | 6 | 6 | |||||||||
92-122-8-345 | 8-345 | |||||||||||||
(в ред. Протокола от 05.11.2015 N 63) | ||||||||||||||
22 | Условное обозначение и код дороги приписки | На кузове - Приписан ВЧД12 МСК | 2 | 51 | ||||||||||
(в ред. Протокола от 05.11.2015 N 63) | ||||||||||||||
21 | Знак проведения текущего ремонта колесной пары | На бирке | ТР XII 11 | 4 | 48 | |||||||||
Знак проведения восстановления профиля поверхности катания колес | О1 II 12 | |||||||||||||
(п. 21 в ред. Протокола от 05.11.2015 N 63) | ||||||||||||||
20 | Надпись | На кузове - Пробег | 2 | 41 | ||||||||||
(в ред. Протокола от 05.11.2015 N 63) | ||||||||||||||
19 | Средний и капитальный ремонт колесной пары | 4 | 48 | |||||||||||
На бирке - | III | 84 | 342 | |||||||||||
20 | 0005123482 | |||||||||||||
(в ред. Протокола от 05.11.2015 N 63) | ||||||||||||||
18 | Место для меловых надписей | На кузове - | прямоугольник черного цвета 500x600 мм | 2 | - | |||||||||
17 | Знак маневрового захвата | На нижней обвязке кузова ![]() | 4 | 49 | ||||||||||
(в ред. Протокола от 05.11.2015 N 63) | ||||||||||||||
Надпись | На кузове - | Запрещается оставлять люки открытыми | 2 | 44 | ||||||||||
15 | Надпись | На кузове - | Минеральные удобрения | 2 | 5 | |||||||||
14 | Гидравлическое испытание запасного резервуара | На запасном резервуаре | Испытан 92 22.10.2004 | 1 | 41 | |||||||||
(в ред. Протокола от 05.11.2015 N 63) | ||||||||||||||
13 | Текущий ремонт | На концевой балке - | ТР 432 14.05.2010 | 2 | 41 | |||||||||
(в ред. Протокола от 05.11.2015 N 63) | ||||||||||||||
12 | Деповской ремонт | На кузове - | ДР 10.04.2010-2011 | 2 | 41 | |||||||||
(в ред. Протокола от 05.11.2015 N 63) | ||||||||||||||
11 | Капитальный ремонт | На кузове - | КР 17 10.04.99-2006 | 2 | 41 | |||||||||
(в ред. Протокола от 05.11.2015 N 63) | ||||||||||||||
10 | Дата постройки вагона | На кузове - | Построен 27 22.10.99 | 2 | 41 | |||||||||
(в ред. Протокола от 05.11.2015 N 63) | ||||||||||||||
9 | Тара вагона | На нижней обвязке кузова - ТАРА 22 т | 2 | 42 | ||||||||||
(в ред. Протокола от 05.11.2015 N 63) | ||||||||||||||
8 | Цифровой железнодорожный код страны | На раме - [20] | 2 | 52 | ||||||||||
7 | Цифровой железнодорожный код страны | На кузове - 20 | 2 | 52 | ||||||||||
6 | Табличка завода- изготовителя | На кузове - | табличка с указанием даты и места постройки | 2 | - | |||||||||
5 | Полезный объем | На кузове - 73 м3 | 2 | 42 | ||||||||||
(в ред. Протокола от 05.11.2015 N 63) | ||||||||||||||
4 | Номер вагона | На кузове - ххх ххххх | 2 | 6 | ||||||||||
3 | Номер вагона | На нижней обвязке кузова - ххх ххххх | 2 | 6 | ||||||||||
2 | Грузоподъемность | На кузове - 42 т | 2 | 42 | ||||||||||
(в ред. Протокола от 05.11.2015 N 63) | ||||||||||||||
Буквенный код | На кузове | 2 | 52 | |||||||||||
N поз. | Наименование знака или надпись | Место нанесения и содержание | Кол. на вагон | Лист | ||||||||||
Лист | ||||||||||||||
632-2011 ПКБ ЦВ | 12 | |||||||||||||
Изм. | Лист | N докум. | Подп. | Дата | ||||||||||

28 | Место нанесения логотипа | На кузове - поле не более (1500*900) мм. | 2 | - | |||||||||||
27 | Надпись | На кузове - ПРОБЕГ | 2 | 41 | |||||||||||
26 | Надпись | На раме | Откр. | ![]() | Закр. | 2 | 43 | ||||||||
Надпись | На кузове - | Ревизия разгрузочных устройств 546 15.03.2009 | 2 | 5, 6 | |||||||||||
(в ред. Протокола от 05.11.2015 N 63) | |||||||||||||||
Надпись | На кузове - | Перед разгрузкой открыть два загрузочных люка | 2 | 5 | |||||||||||
23 | Надпись | На кузове - Штурвалы зафиксировать | 2 | 43 | |||||||||||
(в ред. Протокола от 05.11.2015 N 63) | |||||||||||||||
Надпись | На кузове - | Запрещается оставлять люки открытыми | 2 | 44 | |||||||||||
21 | Надпись | На кузове - ЗЕРНО | 2 | 5 | |||||||||||
(в ред. Протокола от 05.11.2015 N 63) | |||||||||||||||
Маркировка литых элементов тележки | На надрессорной балке и рамах боковых | при кап. рем. | при деп. рем. | 6 | 6 | ||||||||||
92-122-8-546 | 8-546 | ||||||||||||||
(в ред. Протокола от 05.11.2015 N 63) | |||||||||||||||
19 | Знак проведения текущего ремонта колесной пары | На бирке | ТР XII 11 | 4 | 48 | ||||||||||
Знак проведения восстановления профиля поверхности катания колес | О1 II 12 | ||||||||||||||
(п. 19 в ред. Протокола от 05.11.2015 N 63) | |||||||||||||||
Надпись | На раме - Авторежим | 2 | 5 | ||||||||||||
17 | Средний и капитальный ремонт колесной пары | 4 | 48 | ||||||||||||
На бирке - | III | 84 | 342 | ||||||||||||
20 | 0005123482 | ||||||||||||||
16 | Место для меловых надписей | На кузове - | прямоугольник черного цвета 500*600 мм | 2 | - | ||||||||||
15 | Знак маневрового захвата | На раме ![]() | 4 | 49 | |||||||||||
14 | Гидравлическое испытание запасного резервуара | На запасном резервуаре | Испытан 271 22.12.2003 | 1 | 41 | ||||||||||
13 | Текущий ремонт | На концевой балке - | ТР462 10.04.2003 | 2 | 41 | ||||||||||
12 | Деповской ремонт | На кузове - | ДР346 10.2001-2002 | 2 | 41 | ||||||||||
11 | Капитальный ремонт | На кузове - | КР17 10.2001-2009 | 2 | 41 | ||||||||||
10 | Дата постройки вагона | На кузове - | Построен 27 22.10.2001 | 2 | 41 | ||||||||||
9 | Цифровой железнодорожный код страны | На раме - [20] | 2 | 52 | |||||||||||
8 | Цифровой железнодорожный код страны | На кузове - 20 | 2 | 52 | |||||||||||
7 | Табличка завода- изготовителя | На хребтовой балке - | табличка с указанием даты и места постройки | 2 | - | ||||||||||
(в ред. Протокола от 05.11.2015 N 63) | |||||||||||||||
6 | Тара вагона | На раме - ТАРА 23 т | 2 | 42 | |||||||||||
(в ред. Протокола от 05.11.2015 N 63) | |||||||||||||||
5 | Полезный объем | На кузове - 94 м3 | 2 | 42 | |||||||||||
4 | Номер вагона | На кузове - ххх ххххх | 2 | 6 | |||||||||||
3 | Номер вагона | На раме - ххх ххххх | 2 | 6 | |||||||||||
2 | Грузоподъемность | На кузове - 70 т | 2 | 42 | |||||||||||
Буквенный код | На кузове | 2 | 52 | ||||||||||||
N поз. | Наименование знака или надписи | Место нанесения и содержание | Кол. на вагон | Лист | |||||||||||
Лист | |||||||||||||||
632-2011 ПКБ ЦВ | 13 | ||||||||||||||
Изм. | Лист | N докум. | Подп. | Дата | |||||||||||

28 | Место нанесения логотипа | На кузове - поле не более (1500*900) мм. | 2 | - | |||||||||||
27 | Надпись | На кузове - ПРОБЕГ | 2 | 41 | |||||||||||
26 | Знак проведения текущего ремонта колесной пары | На бирке | ТР XII 11 | 4 | 48 | ||||||||||
Знак проведения восстановления профиля поверхности катания колес | О1 II 12 | ||||||||||||||
(п. 26 в ред. Протокола от 05.11.2015 N 63) | |||||||||||||||
25 | Надпись | На раме | Откр. | ![]() | Закр. | 2 | 43 | ||||||||
Надпись | На кузове - | Ревизия разгрузочных устройств 576 15.08.2002 | 2 | 5, 6 | |||||||||||
(в ред. Протокола от 05.11.2015 N 63) | |||||||||||||||
Надпись | На кузове - | Перед разгрузкой открыть два загрузочных люка | 2 | 5 | |||||||||||
Маркировка литых элементов тележки | На надрессорной балке и рамах боковых | при кап. рем. | при деп. рем. | 6 | 6 | ||||||||||
92-122-8-546 | 8-546 | ||||||||||||||
(в ред. Протокола от 05.11.2015 N 63) | |||||||||||||||
Надпись | На кузове - Авторежим | 2 | 5 | ||||||||||||
(в ред. Протокола от 05.11.2015 N 63) | |||||||||||||||
20 | Надпись | На раме - Штурвалы зафиксировать | 2 | 43 | |||||||||||
19 | Средний и капитальный ремонт колесной пары | 4 | 48 | ||||||||||||
На бирке - | III | 84 | 342 | ||||||||||||
0005123482 | |||||||||||||||
20 | |||||||||||||||
18 | Место для меловых надписей | На кузове - | прямоугольник черного цвета 500x600 мм | 2 | - | ||||||||||
17 | Знак маневрового захвата | На раме - ![]() | 4 | 49 | |||||||||||
16 | Надпись | На кузове - ЦЕМЕНТ | 2 | 5 | |||||||||||
(в ред. Протокола от 05.11.2015 N 63) | |||||||||||||||
15 | Гидравлическое испытание запасного резервуара | На запасном резервуаре | Испытан 271 22.10.2004 | 1 | 41 | ||||||||||
(в ред. Протокола от 05.11.2015 N 63) | |||||||||||||||
Надпись | На кузове - | Запрещается оставлять люки открытыми | 2 | 44 | |||||||||||
13 | Текущий ремонт | На концевой балке - | ТР 462 10.04.2001 | 2 | 41 | ||||||||||
12 | Деповской ремонт | На кузове - | ДР 462 10.04.99-2002 | 2 | 41 | ||||||||||
11 | Капитальный ремонт | На кузове - | КР 14 10.04.99-2006 | 2 | 41 | ||||||||||
10 | Табличка завода- изготовителя | На хребтовой балке - | табличка с указанием даты и места постройки | 2 | - | ||||||||||
(в ред. Протокола от 05.11.2015 N 63) | |||||||||||||||
9 | Дата постройки вагона | На кузове - | Построен 27 22.10.99 | 2 | 41 | ||||||||||
8 | Цифровой железнодорожный код страны | На раме - [20] | 2 | 52 | |||||||||||
7 | Цифровой железнодорожный код страны | На кузове - 20 | 2 | 52 | |||||||||||
6 | Тара вагона | На кузове - ТАРА 19,5 т | 2 | 42 | |||||||||||
5 | Полезный объем | На кузове - 60 м3 | 2 | 42 | |||||||||||
4 | Номер вагона | На кузове - ххх ххххх | 2 | 6 | |||||||||||
3 | Номер вагона | На раме - ххх ххххх | 2 | 6 | |||||||||||
2 | Грузоподъемность | На кузове - 72 т | 2 | 42 | |||||||||||
Буквенный код | На кузове | 2 | 52 | ||||||||||||
N поз. | Наименование знака или надпись | Место нанесения и содержание | Кол. на вагон | Лист | |||||||||||
Лист | |||||||||||||||
632-2011 ПКБ ЦВ | 14 | ||||||||||||||
Изм. | Лист | N докум. | Подп. | Дата | |||||||||||

46 | Дата последнего периодического ремонта или осмотра | На кузове - | 2 | 59 | ||||||||
REV | ||||||||||||
00 00 00 | +3М | |||||||||||
45 | Надпись | На кузове - СРОЧНЫЙ ВОЗВРАТ | 2 | 45 | ||||||||
44 | Надпись | На кузове - СОБСТВЕННИК | 2 | 53 | ||||||||
43 | Технический осмотр | На кузове - ТО 37 02.11.2018 | 2 | 53 | ||||||||
42 | Знак приватного вагона | На кузове, на раме - | 4 | 54 | ||||||||
41 | Тип автоматического тормоза | На раме - М-483 | 2 | 56 | ||||||||
40 | Надпись | На рама - ОТПУСК ТОРМОЗ | 2 | 43 | ||||||||
Знак габарита | На кузове - 1-Т | 4 | 5 | |||||||||
38 | Надпись | На рама - ПОВОДКОВАЯ ЧАСТЬ | 2 | 45 | ||||||||
37 | Надпись | На раме - ПЯТНИКОВАЯ ЧАСТЬ | 2 | 45 | ||||||||
36 | Знак безопасности | На торцевой стене - ОСТЕРЕГАЙСЯ КОНТАКТНОГО ПРОВОДА | 2 | 46 | ||||||||
35 | Знак наличия лестницы | На торцевой стене | 2 | 56 | ||||||||
34 | Знак предупреждающий | На кузове | 2 | 54 | ||||||||
33 | Знак место для домкрата | На раме | 6 | 42 | ||||||||
Надпись | На кузове - 2 (для секции с поводковой частью) | 2 | 6 | |||||||||
Надпись | На кузове - 1 (для секции с пятниковой частью) | 2 | 6 | |||||||||
30 | Место нанесения логотипа | На кузове | 2 | - | ||||||||
29 | Надпись | На кузове - ПРОБЕГ | 2 | 41 | ||||||||
28 | Надпись | На раме - ОТКР. ЗАКР. | 6 | 43 | ||||||||
27 | Надпись | На кузове - РЕВИЗИЯ РАЗГРУЗОЧНЫХ УСТРОЙСТВ 546 02.11.2018 | 2 | 5 | ||||||||
26 | Надпись | На кузове - ПЕРЕД РАЗГРУЗКОЙ ОТКРЫТЬ ДВА ЗАГРУЗОЧНЫХ ЛЮКА | 2 | 5 | ||||||||
25 | Надпись | На раме - ШТУРВАЛЫ ЗАФИКСИРОВАТЬ | 2 | 43 | ||||||||
24 | Надпись | На кузове - ЗАПРЕЩАЕТСЯ ОСТАВЛЯТЬ ЛЮКИ ОТКРЫТЫМИ | 2 | 44 | ||||||||
23 | Надпись | На кузове - ПРИПИСАН | 2 | 51 | ||||||||
Маркировка литых элементов тележки | На надрессорной балке и рамах боковых - | 9 | 6 | |||||||||
при кап. рем. ![]() | при деп. рем. | |||||||||||
21 | Знак проведения текущего ремонта колесной пары | На бирке - ![]() | 6 | 48 | ||||||||
Знак проведения восстановления профиля поверхности катания колес | ||||||||||||
20 | Надпись | На кузове - "ЗЕРНО" или "МИНЕРАЛЬНЫЕ УДОБРЕНИЯ" | 2 | 44 | ||||||||
19 | Надпись | На раме - АВТОРЕЖИМ | 2 | 5 | ||||||||
18 | Средний и капитальный ремонт колесной пары | На бирке - ![]() | 6 | 48 | ||||||||
17 | Место для меловых надписей | Не кузове - прямоугольник черного цвета 500 x 600 мм | 4 | - | ||||||||
16 | Знак маневрового захвата | На раме - | 4 | 49 | ||||||||
15 | Гидравлическое испытание запасного резервуара | Не запасном резервуаре - Испытан 271 02.10.2017 | 1 | 41 | ||||||||
14 | Текущий ремонт | На концевой белке - ТР 1376 02.11.2018 | 2 | 41 | ||||||||
13 | Деповской ремонт | На кузове - ДР 1376 02.11.2025 | 2 | 41 | ||||||||
12 | Капитальный ремонт | На кузове - КР 1376 02.11.2033 | 2 | 41 | ||||||||
11 | Дата постройки вагона | На кузове - Построен 1376 02.11.2017 | 2 | 41 | ||||||||
10 | Цифровой железнодорожный код страны | На раме - [20] | 2 | 52 | ||||||||
9 | Цифровой железнодорожный код страны | На кузове - 20 | 2 | 52 | ||||||||
8 | Табличка завода-изготовителя | На раме - табличка с указанием даты и места постройки | 2 | - | ||||||||
7 | Тара вагона | На раме - ТАРА 35,8 т | 2 | 42 | ||||||||
Объем секции | На кузове - СЕКЦИЯ - 80 м3 | 4 | 5 | |||||||||
5 | Объем вагона | На кузове - 160 м3 | 2 | 5 | ||||||||
4 | Номер вагона | На кузове - XXXXXXXX | 2 | 6 | ||||||||
3 | Номер вагона | На раме - XXXXXXXX | 2 | 6 | ||||||||
2 | Грузоподъемность | На кузове - 113.5 т | 2 | 58 | ||||||||
Буквенный код | На кузове | 2 | 52 | |||||||||
N поз. | Наименование знака или надписи | Место нанесения и содержание | Кол. на вагон | Лист | ||||||||
Лист | ||||||||||||
14а | ||||||||||||
Изм. | Лист | N докум. | Подп. | Дата | ||||||||

22 | Надпись | На раме - Авторежим | 2 | 5 | ||||||||||
21 | Надпись | На кузове - ПРОБЕГ | 2 | 41 | ||||||||||
20 | Знак проведения текущего ремонта колесной пары | На бирке | ТР XII 11 | 4 | 48 | |||||||||
Знак проведения восстановления профиля поверхности катания колес | О1 II 12 | |||||||||||||
(п. 20 в ред. Протокола от 05.11.2015 N 63) | ||||||||||||||
Маркировка литых элементов тележки | На надрессорной балке и рамах боковых | при кап. рем. | при деп. рем. | 6 | 6 | |||||||||
92-122-8-546 | 8-546 | |||||||||||||
(в ред. Протокола от 05.11.2015 N 63) | ||||||||||||||
Надпись | На раме - для перевозки контейнеров | 2 | 5 | |||||||||||
17 | Средний и капитальный ремонт колесной пары | 4 | 48 | |||||||||||
На бирке - | III | 84 | 342 | |||||||||||
0005123482 | ||||||||||||||
20 | ||||||||||||||
16 | Место для меловых надписей | На кузове - | прямоугольник черного цвета 500x600 мм | 2 | - | |||||||||
15 | Знак маневрового захвата | На кузове - ![]() | 4 | 49 | ||||||||||
14 | Гидравлическое испытание запасного резервуара | На запасном резервуаре | Испытан 27 22.10.2003 | 1 | 41 | |||||||||
(в ред. Протокола от 05.11.2015 N 63) | ||||||||||||||
13 | Текущий ремонт | На концевой балке - | ТР 462 12.05.2003 | 2 | 41 | |||||||||
12 | Деповской ремонт | На раме - | ДР 462 10.04.99-2002 | 2 | 41 | |||||||||
11 | Капитальный ремонт | На раме - | КР 92 10.04.98-2006 | 2 | 41 | |||||||||
10 | Дата постройки вагона | На кузове - | Построен 27 26.10.98 | 2 | 41 | |||||||||
9 | Тара вагона | На кузове - ТАРА 21,1 т | 2 | 42 | ||||||||||
8 | Цифровой железнодорожный код страны | На раме - [20] | 2 | 52 | ||||||||||
7 | Цифровой железнодорожный код страны | На кузове - 20 | 2 | 52 | ||||||||||
6 | Табличка завода-изготовителя | На нижней обвязке кузова - табличка с указанием даты и места постройки | 2 | - | ||||||||||
5 | Номер вагона | На раме - ххх ххххх | 2 | 6 | ||||||||||
4 | Номер вагона | На кузове - ххх ххххх | 2 | 6 | ||||||||||
5 | Полезный объем | На кузове - 73 м3 | 2 | 42 | ||||||||||
2 | Грузоподъемность | На кузове - 60 т | 2 | 42 | ||||||||||
Буквенный код | На кузове | 2 | 52 | |||||||||||
N поз. | Наименование знака или надпись | Место нанесения и содержание | Кол. на вагон | Лист | ||||||||||
Лист | ||||||||||||||
632-2011 ПКБ ЦВ | 15 | |||||||||||||
Изм. | Лист | N докум. | Подп. | Дата | ||||||||||

24 | Место нанесения логотипа | На кузове - поле не более (1500*1000) мм. | 2 | - | |||||||||||
23 | Надпись | На кузове - ПРОБЕГ | 2 | 41 | |||||||||||
Маркировка литых элементов тележки | На надрессорной балке и рамах боковых - | при кап. рем. | при деп. рем. | 6 | 6 | ||||||||||
92-122-8-546 | 8-546 | ||||||||||||||
(в ред. Протокола от 05.11.2015 N 63) | |||||||||||||||
21 | Знак проведения текущего ремонта колесной пары | На бирке | ТР XII 11 | 4 | 48 | ||||||||||
Знак проведения восстановления профиля поверхности катания колес | О1 II 12 | ||||||||||||||
(п. 21 в ред. Протокола от 05.11.2015 N 63) | |||||||||||||||
20 | Трафарет замка люка | На кузове - закр. | ![]() | 22 | 47 | ||||||||||
19 | Трафарет замка люка | На кузове - откр. | ![]() | 22 | 47 | ||||||||||
Надпись | На раме - Авторежим | 2 | 5 | ||||||||||||
(в ред. Протокола от 05.11.2015 N 63) | |||||||||||||||
17 | Средний и капитальный ремонт колесной пары | 8 | 48 | ||||||||||||
На бирке - | III | 84 | 342 | ||||||||||||
20 | 0005123482 | ||||||||||||||
16 | Место для меловых надписей | На кузове - | прямоугольник черного цвета 500x600 мм | 2 | - | ||||||||||
15 | Знак маневрового захвата | На раме - | ![]() | 4 | 49 | ||||||||||
(в ред. Протокола от 05.11.2015 N 63) | |||||||||||||||
14 | Гидравлическое испытание запасного резервуара | На запасном резервуаре | Испытан 135 22.10.2003 | 1 | 41 | ||||||||||
(в ред. Протокола от 05.11.2015 N 63) | |||||||||||||||
13 | Дата постройки | На кузове - | Построен 27 10.04.2003 | 2 | 41 | ||||||||||
12 | Текущий ремонт | На концевой балке - | ТР543 10.04.2002 | 2 | 41 | ||||||||||
11 | Капитальный ремонт | На кузове - | КР27 10.04.99-2007 | 2 | 41 | ||||||||||
10 | Деповской ремонт | На кузове - | ДР 462 10.04.2003-2006 | 2 | 41 | ||||||||||
(в ред. Протокола от 05.11.2015 N 63) | |||||||||||||||
9 | Тара вагона | На кузове - ТАРА 19,5 т | 2 | 42 | |||||||||||
8 | Цифровой железнодорожный код страны | На раме - [20] | 2 | 52 | |||||||||||
7 | Цифровой железнодорожный код страны | На кузове - 20 | 2 | 52 | |||||||||||
6 | Табличка завода-изготовителя | На хребтовой балке - | табличка с указанием даты и места постройки | 2 | - | ||||||||||
5 | Номер вагона | На раме - ххх ххххх | 2 | 6 | |||||||||||
4 | Номер вагона | На кузове - ххх ххххх | 2 | 6 | |||||||||||
5 | Полезный объем | На кузове - 137,5 м3 | 2 | 42 | |||||||||||
2 | Грузоподъемность | На кузове - 125 т | 2 | 42 | |||||||||||
Буквенный код | На кузове | 2 | 52 | ||||||||||||
N поз. | Наименование знака или надпись | Место нанесения и содержание | Кол. на вагон | Лист | |||||||||||
Лист | |||||||||||||||
632-2011 ПКБ ЦВ | 16 | ||||||||||||||
Изм. | Лист | N докум. | Подп. | Дата | |||||||||||

Место нанесения логотипа | На кузове - поле не более (1500*900) мм. | 2 | - | ||||||||||||
Технический осмотр | На торцевой стене - | ТО 32 10.04.2010 | 2 | 53 | |||||||||||
(в ред. Протокола от 05.11.2015 N 63) | |||||||||||||||
28 Исключен. - Протокол от 22.11.2021 N 75. | |||||||||||||||
27 | Надпись | На кузове - Приписан ВЧД1 МСК | 2 | 51 | |||||||||||
(в ред. Протокола от 05.11.2015 N 63) | |||||||||||||||
26 | Надпись | На кузове - Собственник | 2 | 53 | |||||||||||
(в ред. Протокола от 05.11.2015 N 63) | |||||||||||||||
Надпись | На кузове - Авторежим | 2 | 5 | ||||||||||||
(в ред. Протокола от 05.11.2015 N 63) | |||||||||||||||
24 | Знак проведения текущего ремонта колесной пары | На бирке | ТР XII 11 | 4 | 48 | ||||||||||
Знак проведения восстановления профиля поверхности катания колес | О1 II 12 | ||||||||||||||
(п. 24 в ред. Протокола от 05.11.2015 N 63) | |||||||||||||||
Надпись | На кузове - ПРОБЕГ | 2 | 41 | ||||||||||||
(в ред. Протокола от 05.11.2015 N 63) | |||||||||||||||
22 | Знак габарита вагона | На кузове - | 2 | 57 | |||||||||||
(в ред. Протокола от 05.11.2015 N 63) | |||||||||||||||
21 | Дата последнего периодического осмотра или ремонта | На кузове - | ![]() | 2 | 59 | ||||||||||
(в ред. Протокола от 05.11.2015 N 63) | |||||||||||||||
Маркировка литых элементов тележки | На надрессорной балке и рамах боковых - | при кап. рем. | при деп. рем. | 6 | 6 | ||||||||||
92-122-8-546 | 8-546 | ||||||||||||||
(в ред. Протокола от 05.11.2015 N 63) | |||||||||||||||
19 | Знак приватного вагона | На кузове, на раме - Р | 2 | 54 | |||||||||||
(в ред. Протокола от 05.11.2015 N 63) | |||||||||||||||
18 | Средний и капитальный ремонт колесной пары | 4 | 48 | ||||||||||||
На бирке - | III | 84 | 342 | ||||||||||||
20 | 0005123482 | ||||||||||||||
(в ред. Протокола от 05.11.2015 N 63) | |||||||||||||||
17 | Место для меловых надписей | На кузове - | прямоугольник черного цвета 500x600 мм | 2 | - | ||||||||||
16 | Знак маневрового захвата | На кузове - | ![]() | 4 | 49 | ||||||||||
(в ред. Протокола от 05.11.2015 N 63) | |||||||||||||||
15 | Гидравлическое испытание запасного резервуара | На запасном резервуаре | Испытан 135 22.10.2003 | 1 | 41 | ||||||||||
(в ред. Протокола от 05.11.2015 N 63) | |||||||||||||||
14 | Тип автоматического тормоза | На раме - М- 483 | 2 | 56 | |||||||||||
(в ред. Протокола от 05.11.2015 N 63) | |||||||||||||||
13 | Дата постройки | На кузове - | Построен 27 10.04.2003 | 2 | 41 | ||||||||||
(в ред. Протокола от 05.11.2015 N 63) | |||||||||||||||
12 | Текущий ремонт | На концевой балке - | ТР543 10.04.2002 | 2 | 41 | ||||||||||
(в ред. Протокола от 05.11.2015 N 63) | |||||||||||||||
11 | Капитальный ремонт | На кузове - | КР27 10.04.99-2007 | 2 | 41 | ||||||||||
(в ред. Протокола от 05.11.2015 N 63) | |||||||||||||||
10 | Деповской ремонт | На кузове - | ДР 462 10.04.2003-2006 | 2 | 41 | ||||||||||
(в ред. Протокола от 05.11.2015 N 63) | |||||||||||||||
9 | Тара вагона | На кузове - ТАРА 19500 кг | 2 | 58 | |||||||||||
(в ред. Протокола от 05.11.2015 N 63) | |||||||||||||||
8 | Цифровой железнодорожный код страны | На раме - [20] | 2 | 52 | |||||||||||
(в ред. Протокола от 05.11.2015 N 63) | |||||||||||||||
7 | Цифровой железнодорожный код страны | На кузове - 20 | 2 | 52 | |||||||||||
(в ред. Протокола от 05.11.2015 N 63) | |||||||||||||||
6 | Табличка завода-изготовителя | На хребтовой балке - | табличка с указанием даты и места постройки | 2 | - | ||||||||||
5 | Номер вагона | На раме - ххх ххххх | 2 | 6 | |||||||||||
(в ред. Протокола от 05.11.2015 N 63) | |||||||||||||||
4 | Номер вагона | На кузове - ххх ххххх | 2 | 6 | |||||||||||
(в ред. Протокола от 05.11.2015 N 63) | |||||||||||||||
5 | Полезный объем | На кузове - 137,5 м3 | 2 | 42 | |||||||||||
(в ред. Протокола от 05.11.2015 N 63) | |||||||||||||||
2 | Грузоподъемность | На кузове - 125.0 т | 2 | 58 | |||||||||||
(в ред. Протокола от 05.11.2015 N 63) | |||||||||||||||
Буквенный код | На кузове | 2 | 52 | ||||||||||||
(в ред. Протокола от 05.11.2015 N 63) | |||||||||||||||
N поз. | Наименование знака или надписи | Место нанесения и содержание | Кол. на вагон | Лист | |||||||||||
Лист | |||||||||||||||
632-2011 ПКБ ЦВ | 17 | ||||||||||||||
Изм. | Лист | N докум. | Подп. | Дата | |||||||||||

25 | Место нанесения трафарета "ВАГОН ОБОРУДОВАН СМСК" | На кузове - поле не более (530 * 250) мм. | 2 | 60 | |||||||||||
(п. 25 введен Протоколом от 20.11.2023 N 79) | |||||||||||||||
24 | Место нанесения логотипа | На кузове - поле не более (1500*900) мм. | 2 | - | |||||||||||
23 | Надпись | На кузове - Срок сл. до 01.2014 | 2 | 41 | |||||||||||
(в ред. Протокола от 05.11.2015 N 63) | |||||||||||||||
22 | Капитальный ремонт с продлением срока службы | На кузове - | КРП 112 01.12.2009 | 2 | 41 | ||||||||||
(в ред. Протокола от 05.11.2015 N 63) | |||||||||||||||
21 | Надпись | На кузове - ПРОБЕГ | 2 | 41 | |||||||||||
(в ред. Протокола от 05.11.2015 N 63) | |||||||||||||||
20 | Знак проведения текущего ремонта колесной пары | На бирке | ТР XII 11 | 4 | 48 | ||||||||||
Знак проведения восстановления профиля поверхности катания колес | О1 II 12 | ||||||||||||||
(п. 20 в ред. Протокола от 05.11.2015 N 63) | |||||||||||||||
Маркировка литых элементов тележки | На надрессорной балке и рамах боковых - | при кап. рем. | при деп. рем. | 6 | 6 | ||||||||||
92-122-8-546 | 8-546 | ||||||||||||||
(в ред. Протокола от 05.11.2015 N 63) | |||||||||||||||
(в ред. Протокола от 05.11.2015 N 63) | |||||||||||||||
Надпись | На раме - Авторежим | 2 | 5 | ||||||||||||
(в ред. Протокола от 05.11.2015 N 63) | |||||||||||||||
17 | Средний и капитальный ремонт колесной пары | 4 | 48 | ||||||||||||
На бирке - | III | 84 | 342 | ||||||||||||
20 | 0005123482 | ||||||||||||||
(в ред. Протокола от 05.11.2015 N 63) | |||||||||||||||
16 | Место для меловых надписей | На кузове - | прямоугольник черного цвета 500x600 мм | 2 | - | ||||||||||
15 | Знак маневрового захвата | На раме - | ![]() | 4 | 49 | ||||||||||
(в ред. Протокола от 05.11.2015 N 63) | |||||||||||||||
14 | Гидравлическое испытание запасного резервуара | На запасном резервуаре - | Испытан 27 22.10.2003 | 1 | 41 | ||||||||||
(в ред. Протокола от 05.11.2015 N 63) | |||||||||||||||
13 | Текущий ремонт | На концевой балке - | ТР462 12.05.2003 | 2 | 41 | ||||||||||
(в ред. Протокола от 05.11.2015 N 63) | |||||||||||||||
12 | Деповской ремонт | На кузове - | ДР462 10.04.99-2002 | 2 | 41 | ||||||||||
(в ред. Протокола от 05.11.2015 N 63) | |||||||||||||||
11 | Капитальный ремонт | На кузове - | КР 92 10.04.98-2006 | 2 | 41 | ||||||||||
(в ред. Протокола от 05.11.2015 N 63) | |||||||||||||||
10 | Дата постройки вагона | На кузове - | Построен 27 26.10.98 | 2 | 41 | ||||||||||
(в ред. Протокола от 05.11.2015 N 63) | |||||||||||||||
9 | Тара вагона | На нижней обвязке кузова - ТАРА 21,1 т | 2 | 42 | |||||||||||
(в ред. Протокола от 05.11.2015 N 63) | |||||||||||||||
8 | Цифровой железнодорожный код страны | На хребтовой балке - [20] | 2 | 52 | |||||||||||
(в ред. Протокола от 05.11.2015 N 63) | |||||||||||||||
7 | Цифровой железнодорожный код страны | На кузове - 20 | 2 | 52 | |||||||||||
(в ред. Протокола от 05.11.2015 N 63) | |||||||||||||||
6 | Табличка завода-изготовителя | На нижней обвязке кузова - | табличка с указанием даты и места постройки | 2 | - | ||||||||||
5 | Номер вагона | На раме - ххх ххххх | 2 | 6 | |||||||||||
(в ред. Протокола от 05.11.2015 N 63) | |||||||||||||||
4 | Номер вагона | На кузове - ххх ххххх | 2 | 6 | |||||||||||
(в ред. Протокола от 05.11.2015 N 63) | |||||||||||||||
3 | Полезный объем | На кузове - 73 м3 | 2 | 42 | |||||||||||
(в ред. Протокола от 05.11.2015 N 63) | |||||||||||||||
2 | Грузоподъемность | На кузове - 60 т | 2 | 42 | |||||||||||
(в ред. Протокола от 05.11.2015 N 63) | |||||||||||||||
Буквенный код | На кузове | 2 | 52 | ||||||||||||
(в ред. Протокола от 05.11.2015 N 63) | |||||||||||||||
N поз. | Наименование знака или надпись | Место нанесения и содержание | Кол. на вагон | Лист | |||||||||||
Лист | |||||||||||||||
632-2011 ПКБ ЦВ | 18 | ||||||||||||||
Изм. | Лист | N докум. | Подп. | Дата | |||||||||||

36 | Надпись | На раме - ПОВОДКОВАЯ ЧАСТЬ | 2 | 45 | ||||||||
35 | Надпись | На раме - ПЯТНИКОВАЯ ЧАСТЬ | 2 | 45 | ||||||||
34 | Знак предупреждающий | На кузове | 2 | 54 | ||||||||
33 | Знак место для домкрата | На кузове | 6 | 42 | ||||||||
Надпись | На кузове - 2 (для секции с поводковой частью) | 2 | 6 | |||||||||
Надпись | На кузове - 1 (для секции с пятниковой частью) | 2 | 6 | |||||||||
30 | Знак безопасности | На торцевой стене - ОСТЕРЕГАЙСЯ КОНТАКТНОГО ПРОВОДА | 2 | 46 | ||||||||
29 | Технический осмотр | На торцевой стене - ТО 37 02.11.2018 | 2 | 53 | ||||||||
28 | Знак наличия лестницы | На торцевой стене | 2 | 56 | ||||||||
27 | Надпись | На кузове - ОТПУСК ТОРМОЗ | 2 | 43 | ||||||||
26 | Надпись | На кузове - СОБСТВЕННИК | 2 | 53 | ||||||||
Надпись | На кузове - АВТОРЕЖИМ | 2 | 5 | |||||||||
24 | Знак проведения текущего ремонта колесной пары | На бирке - ![]() | 6 | 48 | ||||||||
Знак проведения восстановления профиля поверхности катания колес | ||||||||||||
23 | Надпись | На кузове - ПРОБЕГ | 2 | 41 | ||||||||
Знак габарита | На кузове - 1-Т | 4 | 5 | |||||||||
21 | Дата последнего периодического ремонта или осмотра | На кузове - | 2 | 59 | ||||||||
REV | ||||||||||||
00 00 00 | +3М | |||||||||||
Маркировка литых элементов тележки | На надрессорной балке и рамах боковых - | 9 | 6 | |||||||||
при кап. рем. ![]() | при деп. рем. | |||||||||||
19 | Знак приватного вагона | На кузове, на раме - | 4 | 54 | ||||||||
18 | Средний и капитальный ремонт колесной пары | На бирке - ![]() | 6 | 48 | ||||||||
17 | Место для меловых надписей | На кузове - прямоугольник черного цвета 500 x 600 мм | 4 | - | ||||||||
16 | Знак маневрового захвата | На кузове - | 4 | 49 | ||||||||
15 | Гидравлическое испытание запасного резервуара | На запасном резервуаре - Испытан 271 02.10.2017 | 1 | 41 | ||||||||
14 | Тип автоматического тормоза | На раме - М-483 | 2 | 56 | ||||||||
13 | Текущий ремонт | На концевой балке - ТР 1376 02.11.2018 | 2 | 41 | ||||||||
12 | Деповской ремонт | На кузове - ДР 1376 02.11.2025 | 2 | 41 | ||||||||
11 | Капитальный ремонт | На кузове - КР 1376 02.11.2033 | 2 | 41 | ||||||||
10 | Дата постройки вагона | На кузове - Построен 1376 02.11.2017 | 2 | 41 | ||||||||
9 | Тара вагона | На кузове - ![]() | 2 | 58 | ||||||||
8 | Цифровой железнодорожный код страны | На раме - [20[ | 2 | 52 | ||||||||
7 | Цифровой железнодорожный код страны | На кузове - 20 | 2 | 52 | ||||||||
6 | Табличка завода-изготовителя | На хребтовой балке - табличка с указанием даты и места постройки | 2 | - | ||||||||
5 | Номер вагона | На раме - XXXXXXXX | 2 | 6 | ||||||||
4 | Номер вагона | На кузове - XXXXXXXX | 2 | 6 | ||||||||
3 | Полезный объем | На кузове - 142 м3 СЕКЦИЯ-71 м3 | 2 | 42 | ||||||||
2 | Грузоподъемность | На кузове - 114.5 т | 2 | 58 | ||||||||
Буквенный код | На кузове | 2 | 52 | |||||||||
N поз. | Наименование знака или надписи | Место нанесения и содержание | Кол. на вагон | Лист | ||||||||
Лист | ||||||||||||
18а | ||||||||||||
Изм. | Лист | N докум. | Подп. | Дата | ||||||||

24 | Место нанесения логотипа | На кузове - поле не более (1500*900) мм. | 2 | - | |||||||||||
Маркировка литых элементов тележки | На надрессорной балке и рамах боковых - | при кап. рем. | при деп. рем. | 6 | 6 | ||||||||||
92-122-8-345 | 8-345 | ||||||||||||||
(в ред. Протокола от 05.11.2015 N 63) | |||||||||||||||
Надпись | На кузове - | Ревизия разгрузочных устройств | 2 | 5, 6 | |||||||||||
576 15.03.2002 | |||||||||||||||
(в ред. Протокола от 05.11.2015 N 63) | |||||||||||||||
21 | Знак проведения текущего ремонта колесной пары | На бирке | ТР XII 11 | 4 | 48 | ||||||||||
Знак проведения восстановления профиля поверхности катания колес | О1 II 12 | ||||||||||||||
(п. 21 в ред. Протокола от 05.11.2015 N 63) | |||||||||||||||
20 | Надпись | На кузове - Пробег | 2 | 41 | |||||||||||
19 | Средний и капитальный ремонт колесной пары | 4 | 48 | ||||||||||||
На бирке - | III | 84 | 342 | ||||||||||||
20 | 0005123482 | ||||||||||||||
(в ред. Протокола от 05.11.2015 N 63) | |||||||||||||||
18 | Место для меловых надписей | На кузове - | прямоугольник черного цвета 500x600 мм | 2 | - | ||||||||||
17 | Знак маневрового захвата | На раме - | ![]() | 4 | 49 | ||||||||||
16 | Условное обозначение и код дороги приписки | На раме - Приписан ВЧД17 МСК | 2 | 51 | |||||||||||
(в ред. Протокола от 05.11.2015 N 63) | |||||||||||||||
15 | Надпись | На кузове - Окатыши | 2 | 5 | |||||||||||
(в ред. Протокола от 05.11.2015 N 63) | |||||||||||||||
14 | Гидравлическое испытание запасного резервуара | На запасном резервуаре | Испытан 92 22.10.2004 | 1 | 41 | ||||||||||
13 | Текущий ремонт | На концевой балке - | ТР 432 14.05.2004 | 2 | 41 | ||||||||||
12 | Деповской ремонт | На раме - | ДР 127 10.04.2009-2012 | 2 | 41 | ||||||||||
11 | Капитальный ремонт | На раме - | КР 17 10.04.2008-2012 | 2 | 41 | ||||||||||
10 | Дата постройки вагона | На кузове - | Построен 27 22.10.99 | 2 | 41 | ||||||||||
9 | Тара вагона | На раме - ТАРА 21 т | 2 | 42 | |||||||||||
8 | Цифровой железнодорожный код страны | На раме - [20] | 2 | 52 | |||||||||||
7 | Цифровой железнодорожный код страны | На кузове - 20 | 2 | 52 | |||||||||||
6 | Табличка завода-изготовителя | На раме - | табличка с указанием даты и места постройки | 2 | - | ||||||||||
5 | Полезный объем | На кузове - 45 м3 | 2 | 42 | |||||||||||
4 | Номер вагона | На раме - ххх ххххх | 2 | 6 | |||||||||||
Номер вагона | На кузове - ххх ххххх | 2 | - | ||||||||||||
(в ред. Протокола от 05.11.2015 N 63) | |||||||||||||||
2 | Грузоподъемность | На кузове - 70 т | 2 | 42 | |||||||||||
Буквенный код | На кузове | 2 | 52 | ||||||||||||
N поз. | Наименование знака или надпись | Место нанесения и содержание | Кол. на вагон | Лист | |||||||||||
Лист | |||||||||||||||
632-2011 ПКБ ЦВ | 19 | ||||||||||||||
Изм. | Лист | N докум. | Подп. | Дата | |||||||||||

Знак проведения текущего ремонта колесной пары | На бирке | ТР XII 11 | 4 | 48 | ||||||||||||
Знак проведения восстановления профиля поверхности катания колес | О1 II 12 | |||||||||||||||
(п. 27 в ред. Протокола от 05.11.2015 N 63) | ||||||||||||||||
Грузоподъемность бункера | На бункере - 11, 25 т | 2 | 42 | |||||||||||||
Номер бункера | На бункере - 1, 2, 3, 4 | 2 | 6 | |||||||||||||
Паспортная табличка калибровки | На бункере - | Табличка с указанием клейм присвоенных пункту калибровки | 2 | - | ||||||||||||
Маркировка литых элементов тележки | На надрессорной балке и рамах боковых - | при кап. рем. | при деп. рем. | 6 | 6 | |||||||||||
92-122-8-546 | 8-546 | |||||||||||||||
(в ред. Протокола от 05.11.2015 N 63) | ||||||||||||||||
Надпись | На раме - Авторежим | 2 | 5 | |||||||||||||
Калибровочный тип бункера | На бункере - Цифры калибровки | 2 | - | |||||||||||||
Средний и капитальный ремонт колесной пары | 4 | 48 | ||||||||||||||
На бирке - | III | 84 | 342 | |||||||||||||
20 | 0005123482 | |||||||||||||||
Место для меловых надписей | На кузове - | прямоугольник черного цвета 500x600 мм | 2 | - | ||||||||||||
Знак маневрового захвата | На раме - | ![]() | 4 | 49 | ||||||||||||
Надпись | На кузове - БИТУМ | 1 | 5 | |||||||||||||
(в ред. Протокола от 05.11.2015 N 63) | ||||||||||||||||
Гидравлическое испытание запасного резервуара | На запасном резервуаре | Испытан 271 22.10.2010 | 1 | 41 | ||||||||||||
(в ред. Протокола от 05.11.2015 N 63) | ||||||||||||||||
Надпись | На раме - | Крюк со стороны разгрузки не открывать | 2 | 5 | ||||||||||||
13 | Текущий ремонт | На торцевой опоре бункера - | ТР 462 10.04.2009 | 2 | 41 | |||||||||||
12 | Деповской ремонт | На раме - | ДР 462 10.04.2009-202012 | 2 | 41 | |||||||||||
11 | Капитальный ремонт | На раме - | КР 14 10.04.2009-202015 | 2 | 41 | |||||||||||
10 | Табличка завода-изготовителя | На раме - | табличка с указанием даты и места постройки | 2 | - | |||||||||||
9 | Дата постройки вагона | На раме - | Построен 27 22.10.99 | 2 | 41 | |||||||||||
8 | Цифровой железнодорожный код страны | На раме - [20] | 2 | 52 | ||||||||||||
7 | Цифровой железнодорожный код страны | На бункере - 20 | 2 | 52 | ||||||||||||
6 | Тара вагона | На раме - ТАРА 36,5 т | 2 | 42 | ||||||||||||
5 | Уровень налива | На бункере - | 4 | - | ||||||||||||
Номер вагона | На бункере - ххх ххххх | 2 | - | |||||||||||||
(в ред. Протокола от 05.11.2015 N 63) | ||||||||||||||||
3 | Номер вагона | На раме - ххх ххххх | 2 | 6 | ||||||||||||
2 | Грузоподъемность | На кузове - 45 т | 2 | 42 | ||||||||||||
Буквенный код | На кузове | 2 | 52 | |||||||||||||
N поз. | Наименование знака или надпись | Место нанесения и содержание | Кол. на вагон | Лист | ||||||||||||
Лист | ||||||||||||||||
632-2011 ПКБ ЦВ | 20 | |||||||||||||||
Изм. | Лист | N докум. | Подп. | Дата | ||||||||||||

Надпись | На раме - Посадка | 2 | 5 | ||||||||||||
27 | Надпись | На раме - | Откр. | ![]() | Закр. | 2 | 43 | ||||||||
Надпись | На кузове - | в транспортном положении наличие сжатого воздуха в разгрузочной магистрали не допускается | 2 | 5 | |||||||||||
Надпись | На кузове - | Падение глыбы не более 2 т с высоты 2 м на подсыпку не менее 300 мм | 2 | 5, 6 | |||||||||||
(в ред. Протокола от 05.11.2015 N 63) | |||||||||||||||
24 | Знак - место для домкрата | На кузове - | 4 | 42 | |||||||||||
(в ред. Протокола от 05.11.2015 N 63) | |||||||||||||||
23 | Надпись | На раме - Тормоз | 2 | 43 | |||||||||||
22 | Надпись | На раме - Питание | 2 | 43 | |||||||||||
Маркировка литых элементов тележки | На надрессорной балке и рамах боковых - | при кап. рем. | при деп. рем. | 6 | 6 | ||||||||||
92-122-8-546 | 8-546 | ||||||||||||||
(в ред. Протокола от 05.11.2015 N 63) | |||||||||||||||
20 | Знак проведения текущего ремонта колесной пары | На бирке | ТР XII 11 | 4 | 48 | ||||||||||
Знак проведения восстановления профиля поверхности катания колес | О1 II 12 | ||||||||||||||
(п. 20 в ред. Протокола от 05.11.2015 N 63) | |||||||||||||||
Надпись | На раме - Авторежим | 2 | 5 | ||||||||||||
18 | Средний и капитальный ремонт колесной пары | 4 | 48 | ||||||||||||
На бирке - | III | 84 | 342 | ||||||||||||
20 | 0005123482 | ||||||||||||||
17 | Место для меловых надписей | На кузове - | прямоугольник черного цвета 500*600 мм | 2 | - | ||||||||||
16 | Знак маневрового захвата | На раме | ![]() | 4 | 49 | ||||||||||
15 | Гидравлическое испытание запасного резервуара | На запасном резервуаре | Испытан 271 22.12.2003 | 1 | 41 | ||||||||||
Надпись | На раме - | Разгрузка | 2 | 5 | |||||||||||
13 | Текущий ремонт | На кузове - | ТР 462 10.04.2003 | 2 | 41 | ||||||||||
12 | Деповской ремонт | На кузове - | ДР346 10.2001-2002 | 2 | 41 | ||||||||||
11 | Капитальный ремонт | На кузове - | КР 17 10.2001-2009 | 2 | 41 | ||||||||||
10 | Дата постройки вагона | На кузове - | Построен 27 22.10.2001 | 2 | 41 | ||||||||||
9 | Цифровой железнодорожный код страны | На раме - [20] | 2 | 52 | |||||||||||
8 | Цифровой железнодорожный код страны | На кузове - 20 | 2 | 52 | |||||||||||
7 | Табличка завода-изготовителя | На раме - | табличка с указанием даты и места постройки | 2 | - | ||||||||||
6 | Тара вагона | На кузове - ТАРА 27,75 т | 2 | 42 | |||||||||||
(в ред. Протокола от 05.11.2015 N 63) | |||||||||||||||
5 | Полезный объем | На кузове - 32 м3 | 2 | 42 | |||||||||||
4 | Номер вагона | На кузове - ххх ххххх | 2 | 6 | |||||||||||
3 | Номер вагона | На раме - ххх ххххх | 2 | 6 | |||||||||||
2 | Грузоподъемность | На кузове - 60 т | 2 | 42 | |||||||||||
Буквенный код | На кузове | 2 | 52 | ||||||||||||
N поз. | Наименование знака или надпись | Место нанесения и содержание | Кол. на вагон | Лист | |||||||||||
Лист | |||||||||||||||
632-2011 ПКБ ЦВ | 21 | ||||||||||||||
Изм. | Лист | N докум. | Подп. | Дата | |||||||||||

20 | Место нанесения логотипа | На продольных бортах - поле не более (2000*900) мм | 2 | - | |||||||||||
Маркировка литых элементов тележки | На надрессорной балке и рамах боковых - | при кап. рем. | при деп. рем. | 6 | 6 | ||||||||||
92-122-8-546 | 8-564 | ||||||||||||||
(в ред. Протокола от 05.11.2015 N 63) | |||||||||||||||
18 | Надпись | На бортах - Пробег | 2 | 41 | |||||||||||
17 | Средний и капитальный ремонт колесной пары | 4 | 48 | ||||||||||||
На бирке - | III | 84 | 342 | ||||||||||||
20 | 0005123482 20 | ||||||||||||||
16 | Место для меловых надписей | На бортах - | прямоугольник черного цвета 200 x 1100 мм | 2 | - | ||||||||||
(в ред. Протокола от 05.11.2015 N 63) | |||||||||||||||
15 | Знак маневрового захвата | На раме - | ![]() | 4 | 49 | ||||||||||
(в ред. Протокола от 05.11.2015 N 63) | |||||||||||||||
14 | Гидравлическое испытание запасного резервуара | На запасном резервуаре | Испытан 27 22.10.2003 | 1 | 41 | ||||||||||
(в ред. Протокола от 05.11.2015 N 63) | |||||||||||||||
13 | Текущий ремонт | На концевой балке - | ТР 462 12.05.2003 | 2 | 41 | ||||||||||
12 | Деповской ремонт | На раме - | ДР 462 10.04.99-2002 | 2 | 41 | ||||||||||
11 | Капитальный ремонт | На раме - | КР 92 10.04.98-2006 | 2 | 41 | ||||||||||
10 | Дата постройки вагона | На бортах - | Построен 27 26.10.98 | 2 | 41 | ||||||||||
9 | Знак проведения текущего ремонта колесной пары | На бирке | ТР XII 11 | 4 | 48 | ||||||||||
Знак проведения восстановления профиля поверхности катания колес | О1 II 12 | ||||||||||||||
(п. 9 в ред. Протокола от 05.11.2015 N 63) | |||||||||||||||
8 | Цифровой железнодорожный код страны | На раме - [20] | 2 | 52 | |||||||||||
7 | Цифровой железнодорожный код страны | На бортах - 20 | 2 | 52 | |||||||||||
6 | Табличка завода-изготовителя | На раме - | табличка с указанием даты и места постройки | 2 | - | ||||||||||
5 | Номер вагона | На бортах - ххх ххххх | 2 | 6 | |||||||||||
4 | Номер вагона | На раме - ххх ххххх | 2 | 6 | |||||||||||
3 | Тара вагона | На раме - ТАРА 21,9 т | 2 | 42 | |||||||||||
(в ред. Протокола от 05.11.2015 N 63) | |||||||||||||||
2 | Грузоподъемность | На кузове - 71 т | 2 | 42 | |||||||||||
(в ред. Протокола от 05.11.2015 N 63) | |||||||||||||||
Буквенный код | На кузове | 2 | 52 | ||||||||||||
N поз. | Наименование знака или надпись | Место нанесения и содержание | Кол. на вагон | Лист | |||||||||||
Лист | |||||||||||||||
632-2011 ПКБ ЦВ | 22 | ||||||||||||||
Изм. | Лист | N докум. | Подп. | Дата | |||||||||||

35 | Надпись | На раме - ПОВОДКОВАЯ ЧАСТЬ | 2 | 45 | ||||||||||
34 | Надпись | На раме - ПЯТНИКОВАЯ ЧАСТЬ | 2 | 45 | ||||||||||
Надпись | На бортах - 2 (для секции с поводковой частью) | 2 | 6 | |||||||||||
Надпись | На бортах - 1 (для секции с пятниковой частью) | 2 | 6 | |||||||||||
31 | Тип автоматического тормоза | На раме - М-483 | 2 | 56 | ||||||||||
30 | Надпись | На раме - СОБСТВЕННИК | 2 | 53 | ||||||||||
29 | Технический осмотр | На концевой балке - ТО 37 19.10.2010 | 2 | 53 | ||||||||||
28 | Дата последнего периодического ремонта или осмотра | 2 | 59 | |||||||||||
На раме - | 4 | REV | L | 00 00 00 | +3M | |||||||||
27 | Надпись | На раме - ПРИПИСАН ВЧД1 МСК | 2 | 51 | ||||||||||
26 | Знак приватного вагона | На раме, на бортах - | 4 | 54 | ||||||||||
Знак габарита | На бортах - Тпр | 4 | 5 | |||||||||||
24 | Знак предупреждающий | На бортах | 2 | 54 | ||||||||||
23 | Знак место для домкрата | На раме | 6 | 42 | ||||||||||
22 | Надпись | На бортах - ПРОБЕГ | 2 | 41 | ||||||||||
Надпись | На раме - ОТПУСК | 2 | 43 | |||||||||||
Маркировка литых элементов тележки | На надрессорной балке и рамах боковых - | 9 | 6 | |||||||||||
при кап. рем. ![]() | при деп. рем. | |||||||||||||
19 | Знак проведения текущего ремонта колесной пары | На бирке - ![]() | 6 | 48 | ||||||||||
Знак проведения восстановления профиля поверхности катания колес | ||||||||||||||
Надпись | На раме - АВТОРЕЖИМ | 2 | 5 | |||||||||||
17 | Средний и капитальный ремонт колесной пары | На бирке - ![]() | 6 | 48 | ||||||||||
16 | Надпись | На раме - СРОЧНЫЙ ВОЗВРАТ | 2 | 45 | ||||||||||
15 | Место для меловых надписей | На бортах - прямоугольник черного цвета 200 x 1100 мм | 2 | - | ||||||||||
14 | Знак маневрового захвата | На раме | 4 | 49 | ||||||||||
13 | Гидравлическое испытание запасного резервуара | На запасном резервуаре - Испытан 271 02.10 2017 | 1 | 41 | ||||||||||
12 | Текущий ремонт | На концевой балке - ТР 1376 02.11.2018 | 2 | 41 | ||||||||||
11 | Деповской ремонт | На раме - ДР 1376 02.11.2025 | 2 | 41 | ||||||||||
10 | Капитальный ремонт | На раме - КР 1376 02.11.2033 | 2 | 41 | ||||||||||
9 | Дата постройки вагона | На бортах - Построен 1376 02.11.2017 | 2 | 41 | ||||||||||
8 | Цифровой железнодорожный код страны | На раме - [20] | 2 | 52 | ||||||||||
7 | Цифровой железнодорожный код страны | На бортах - 20 | 2 | 52 | ||||||||||
6 | Табличка завода-изготовителя | На раме - табличка с указанием даты и места постройки | 2 | - | ||||||||||
5 | Тара вагона | На раме - ![]() | 2 | 42 | ||||||||||
4 | Номер вагона | На бортах - XXXXXXXX | 2 | 6 | ||||||||||
3 | Номер вагона | На раме - XXXXXXXX | 2 | 6 | ||||||||||
2 | Грузоподъемность | На бортах - 116.0 т | 2 | 42 | ||||||||||
Буквенный код | На бортах | 2 | 52 | |||||||||||
N поз. | Наименование знака или надписи | Место нанесения и содержание | Кол. на вагон | Лист | ||||||||||
Лист | ||||||||||||||
22а | ||||||||||||||
Изм. | Лист | N докум. | Подп. | Дата | ||||||||||

Надпись | На раме - Крупнотоннажные контейнеры | 2 | 5 | ||||||||||||
20 | Надпись | На раме - Пробег | 2 | 41 | |||||||||||
(в ред. Протокола от 05.11.2015 N 63) | |||||||||||||||
Маркировка литых элементов тележки | На надрессорной балке и рамах боковых - | при кап. рем. | при деп. рем. | 6 | 6 | ||||||||||
92-122-8-546 | 8-546 | ||||||||||||||
(в ред. Протокола от 05.11.2015 N 63) | |||||||||||||||
Надпись | На раме - Авторежим | 2 | 5 | ||||||||||||
17 | Средний и капитальный ремонт колесной пары | 4 | 48 | ||||||||||||
На бирке - | III | 84 | 342 | ||||||||||||
20 | 0005123482 | ||||||||||||||
16 | Место для меловых надписей | На раме - | прямоугольник черного цвета 200 x 1100 мм | 2 | - | ||||||||||
(в ред. Протокола от 05.11.2015 N 63) | |||||||||||||||
15 | Знак маневрового захвата | На раме - | ![]() | 4 | 49 | ||||||||||
14 | Гидравлическое испытание запасного резервуара | На запасном резервуаре | Испытан 27 22.10.2003 | 1 | 41 | ||||||||||
(в ред. Протокола от 05.11.2015 N 63) | |||||||||||||||
13 | Текущий ремонт | На концевой балке - | ТР 462 12.05.2003 | 2 | 41 | ||||||||||
12 | Деповской ремонт | На раме - | ДР 462 10.04.99-2002 | 2 | 41 | ||||||||||
11 | Капитальный ремонт | На раме - | КР 92 10.04.98-2006 | 2 | 41 | ||||||||||
10 | Дата постройки вагона | На раме - | Построен 27 26.10.98 | 2 | 41 | ||||||||||
9 | Знак проведения текущего ремонта колесной пары | На бирке | ТР XII 11 | 4 | 48 | ||||||||||
Знак проведения восстановления профиля поверхности катания колес | О1 II 12 | ||||||||||||||
(п. 9 в ред. Протокола от 05.11.2015 N 63) | |||||||||||||||
8 | Цифровой железнодорожный код страны | На раме - 20 | 2 | 52 | |||||||||||
7 | Надпись | На раме - | тормоз отпуск | ![]() | 2 | 43 | |||||||||
6 | Табличка завода-изготовителя | На раме - | табличка с указанием даты и места постройки | 2 | - | ||||||||||
5 | Знак длиннобазности | На раме - (ДБ) | 2 | 49 | |||||||||||
(в ред. Протокола от 05.11.2015 N 63) | |||||||||||||||
4 | Номер вагона | На раме - ххх ххххх | 2 | 6 | |||||||||||
3 | Тара вагона | На раме - ТАРА 21,9 т | 2 | 42 | |||||||||||
(в ред. Протокола от 05.11.2015 N 63) | |||||||||||||||
2 | Грузоподъемность | На раме - 65 т | 2 | 42 | |||||||||||
(в ред. Протокола от 05.11.2015 N 63) | |||||||||||||||
Буквенный код | На раме | 2 | 52 | ||||||||||||
N поз. | Наименование знака или надпись | Место нанесения и содержание | Кол. на вагон | Лист | |||||||||||
Лист | |||||||||||||||
632-2011 ПКБ ЦВ | 23 | ||||||||||||||
Изм. | Лист | N докум. | Подп. | Дата | |||||||||||

33 | Надпись | На раме - ПОВОДКОВАЯ ЧАСТЬ | 2 | 45 | |||||||||
32 | Надпись | На раме - ПЯТНИКОВАЯ ЧАСТЬ | 2 | 45 | |||||||||
Надпись | На раме - 2 (для секции с поводковой частью) | 2 | 6 | ||||||||||
Надпись | На раме - 1 (для секции с пятниковой частью) | 2 | 6 | ||||||||||
29 | Тип автоматического тормоза | На раме - М-483 | 2 | 56 | |||||||||
28 | Надпись | На раме - СОБСТВЕННИК | 2 | 53 | |||||||||
27 | Технический осмотр | На концевой балке - ТО 37 19.10.2010 | 2 | 53 | |||||||||
26 | Дата последнего периодического ремонта или осмотра | 2 | 59 | ||||||||||
На раме - | 4 | REV | L | 00 00 00 | +3M | ||||||||
25 | Надпись | На раме - ПРИПИСАН ВЧД1 МСК | 2 | 51 | |||||||||
24 | Знак приватного вагона | На раме - | 2 | 54 | |||||||||
Знак габарита | На раме - Тпр | 4 | 5 | ||||||||||
22 | Знак предупреждающий | На раме | 2 | 54 | |||||||||
21 | Знак место для домкрата | На раме | 6 | 42 | |||||||||
20 | Надпись | На раме - ПРОБЕГ | 2 | 41 | |||||||||
Надпись | На раме - ОТПУСК | 2 | 43 | ||||||||||
Маркировка литых элементов тележки | На надрессорной балке и рамах боковых - | 9 | 6 | ||||||||||
при кап. рем. ![]() | при деп. рем. | ||||||||||||
17 | Знак проведения текущего ремонта колесной пары | На бирке - ![]() | 6 | 48 | |||||||||
Знак проведения восстановления профиля поверхности катания колес | |||||||||||||
Надпись | На раме - АВТОРЕЖИМ | 2 | 5 | ||||||||||
15 | Средний и капитальный ремонт колесной пары | На бирке - ![]() | 6 | 48 | |||||||||
14 | Надпись | На раме - СРОЧНЫЙ ВОЗВРАТ | 2 | 45 | |||||||||
13 | Место для меловых надписей | На раме - прямоугольник черного цвета 200 x 1100 мм | 2 | - | |||||||||
12 | Знак маневрового захвата | На раме - | 4 | 49 | |||||||||
11 | Гидравлическое испытание запасного резервуара | На запасном резервуаре - Испытан 271 02.10 2017 | 1 | 41 | |||||||||
10 | Текущий ремонт | На концевой балке - ТР 1376 02.11.2018 | 2 | 41 | |||||||||
9 | Деповской ремонт | На раме - ДР 1376 02.11.2025 | 2 | 41 | |||||||||
8 | Капитальный ремонт | На раме - КР 1376 02.11.2033 | 2 | 41 | |||||||||
7 | Дата постройки вагона | На раме - Построен 1376 02.11.2017 | 2 | 41 | |||||||||
6 | Цифровой железнодорожный код страны | На раме - [20[ | 2 | 52 | |||||||||
5 | Табличка завода-изготовителя | На раме - табличка с указанием даты и места постройки | 2 | - | |||||||||
4 | Тара вагона | На раме - ![]() | 2 | 58 | |||||||||
3 | Номер вагона | На раме - XXXXXXXX | 2 | 6 | |||||||||
2 | Грузоподъемность | На раме - 108.0 т | 2 | 42 | |||||||||
Буквенный код | На раме | 2 | 52 | ||||||||||
N поз. | Наименование знака или надписи | Место нанесения и содержание | Кол. на вагон | Лист | |||||||||
Лист | |||||||||||||
23а | |||||||||||||
Изм. | Лист | N докум. | Подп. | Дата | |||||||||

23 | Трафарет о наличии на платформе съемного приспособления | На раме платформы с двух сторон | 2 | 59 | ||||||||||
(в ред. Протокола от 05.11.2015 N 63) | ||||||||||||||
22 | Надпись | На нижней раме - ПРОБЕГ | 2 | 41 | ||||||||||
(в ред. Протокола от 05.11.2015 N 63) | ||||||||||||||
Надпись | На верхней стойке - Движение поезда с откидными переездными площадками ЗАПРЕЩАЕТСЯ! | 4 | 5 | |||||||||||
(в ред. Протокола от 05.11.2015 N 63) | ||||||||||||||
Надпись | На верхней раме - Легковые автомобили | 2 | 5 | |||||||||||
19 | Знак - место для домкрата | На нижней раме - | 4 | 42 | ||||||||||
18 | Знак длиннобазности | На концевой стойке - (ДБ) | 2 | 49 | ||||||||||
(в ред. Протокола от 05.11.2015 N 63) | ||||||||||||||
17 | Знак проведения текущего ремонта колесной пары | На бирке | ТР XII 11 | 4 | 48 | |||||||||
Знак проведения восстановления профиля поверхности катания колес | О1 II 12 | |||||||||||||
(п. 17 в ред. Протокола от 05.11.2015 N 63) | ||||||||||||||
Маркировка литых элементов тележки | На надрессорной балке и рамах боковых | при кап. рем. | при деп. рем. | 6 | 6 | |||||||||
92-122-8-546 | 8-546 | |||||||||||||
(в ред. Протокола от 05.11.2015 N 63) | ||||||||||||||
Надпись | На средней стойке - | Волга 8 шт. Жигули 17 шт. Нива 17 шт. | 4 | 5 6 | ||||||||||
14 | Надпись | На концевой стойке - | Срочный возврат ст. Бойня МСК | 2 | 45 | |||||||||
13 | Средний и капитальный ремонт колесной пары | 4 | 48 | |||||||||||
На бирке - | III | 84 | 342 | |||||||||||
20 | 0005123482 | |||||||||||||
12 | Гидравлическое испытание запасного резервуара | На запасном резервуаре - | Испытан 135 22.12.2010 | 1 | 41 | |||||||||
11 | Место для меловых надписей | На концевой стойке - | прямоугольник черного цвета 500x600 мм | 2 | - | |||||||||
10 | Текущий ремонт | На концевой балке - | ТР 462 10.12.2002 | 2 | - | |||||||||
9 | Деповской ремонт | На нижней раме - | ДР 462 10.04.2004-2007 | 2 | 41 | |||||||||
8 | Капитальный ремонт | На нижней раме - | КР 14 14.05.2005 | 2 | 41 | |||||||||
7 | Табличка завода-изготовителя | На нижней раме - | табличка с указанием даты и места постройки | 2 | 41 | |||||||||
6 | Дата постройки вагона | На нижней раме - | Построен 27 22.10.98 | 2 | 41 | |||||||||
5 | Цифровой железнодорожный код страны | На верхней раме - 20 | 2 | 52 | ||||||||||
На нижней раме - [20] | 2 | 52 | ||||||||||||
4 | Номер вагона | На верхней раме - ххх ххххх | 2 | 6 | ||||||||||
На нижней раме - ххх ххххх | 2 | 6 | ||||||||||||
3 | Тара платформы | На нижней раме - ТАРА 26 т | 2 | 42 | ||||||||||
(в ред. Протокола от 05.11.2015 N 63) | ||||||||||||||
2 | Грузоподъемность | На средней стойке - 20 т | 2 | 42 | ||||||||||
(в ред. Протокола от 05.11.2015 N 63) | ||||||||||||||
Буквенный код | На концевой стойке | 2 | 52 | |||||||||||
N поз. | Наименование знака или надписи | Место нанесения и содержание | Кол. на вагон | Лист | ||||||||||
Лист | ||||||||||||||
632-2011 ПКБ ЦВ | 24 | |||||||||||||
Изм. | Лист | N докум. | Подп. | Дата | ||||||||||

27 | Знак транзитности и габаритности | На раме - | 2 | 57 | |||||||||||
26 | Технический осмотр | На концевой балке - | ТО37 19.10.2010 | 2 | 53 | ||||||||||
25 | Дата последнего периодического ремонта или осмотра | 2 | 59 | ||||||||||||
На раме - | 4 | REV | L | 00 00 00 | + 3M | ||||||||||
24 | Надпись | На раме - Приписан ВЧД-12 Сев. | 2 | 51 | |||||||||||
(в ред. Протокола от 05.11.2015 N 63) | |||||||||||||||
23 | Знак приватного вагона | 2 | 54 | ||||||||||||
На раме - | P | ||||||||||||||
(в ред. Протокола от 05.11.2015 N 63) | |||||||||||||||
22 | Надпись | На раме - "Собственник" | 2 | 53 | |||||||||||
Надпись | На раме - Авторежим | 2 | 5 | ||||||||||||
Трафарет о наличии на платформе съемного приспособления | На раме платформы с двух сторон | 2 | 59 | ||||||||||||
19 | Маркировка литых элементов тележки | На надрессорной балке и рамах боковых | при кап. рем. | при деп. рем. | 6 | 6 | |||||||||
92-122-8-546 | 8-546 | ||||||||||||||
(в ред. Протокола от 05.11.2015 N 63) | |||||||||||||||
18 | Тип автоматического тормоза | На раме - М-483 | 2 | 56 | |||||||||||
17 | Средний и капитальный ремонт колесной пары | 4 | 48 | ||||||||||||
На бирке - | III | 84 | 342 | ||||||||||||
20 | 0005123482 | ||||||||||||||
(в ред. Протокола от 05.11.2015 N 63) | |||||||||||||||
16 | Место для меловых надписей | На бортах - | прямоугольник черного цвета 200 x 1100 мм | 2 | - | ||||||||||
(в ред. Протокола от 05.11.2015 N 63) | |||||||||||||||
15 | Знак маневрового захвата | На раме - | ![]() | 4 | 49 | ||||||||||
14 | Гидравлическое испытание запасного резервуара | На запасном резервуаре | Испытан 27 22.10.2003 | 2 | 41 | ||||||||||
13 | Текущий ремонт | На кольцевой балке - | ТР 462 12.05.2003 | 2 | 41 | ||||||||||
12 | Деповской ремонт | На раме - | ДР 462 10.04.99-2002 | 2 | 41 | ||||||||||
11 | Капитальный ремонт | На раме - | КР 92 10.04.98-2006 | 2 | 41 | ||||||||||
10 | Дата постройки вагона | На бортах - | Построен 27 26.10.98 | 2 | 41 | ||||||||||
9 | Знак проведения текущего ремонта колесной пары | На бирке | ТР XII 11 | 4 | 48 | ||||||||||
Знак проведения восстановления профиля поверхности катания колес | О1 II 12 | ||||||||||||||
(п. 9 в ред. Протокола от 05.11.2015 N 63) | |||||||||||||||
8 | Цифровой железнодорожный код страны | На раме - 20 | 2 | 52 | |||||||||||
7 | Знак длиннобазности | На раме - (ДБ) | 2 | 49 | |||||||||||
6 | Табличка завода-изготовителя | На раме - | табличка с указанием даты и места постройки | 2 | - | ||||||||||
5 | Надпись | На раме - ПРОБЕГ | 2 | 41 | |||||||||||
4 | Номер вагона | На раме - ххх ххххх | 2 | 6 | |||||||||||
3 | Тара платформы | На раме - 27,8 т | 2 | 58 | |||||||||||
(в ред. Протокола от 05.11.2015 N 63) | |||||||||||||||
2 | Грузоподъемность | На раме - 65 т | 2 | 42 | |||||||||||
(в ред. Протокола от 05.11.2015 N 63) | |||||||||||||||
Буквенный код | На раме | 2 | 52 | ||||||||||||
N поз. | Наименование знака или надпись | Место нанесения и содержание | Кол. на вагон | Лист | |||||||||||
Лист | |||||||||||||||
632-2011 ПКБ ЦВ | 25 | ||||||||||||||
Изм. | Лист | N докум. | Подп. | Дата | |||||||||||

27 | Знак транзитности и габаритности | На раме - | 2 | 57 | |||||||||||
(в ред. Протокола от 05.11.2015 N 63) | |||||||||||||||
26 | Технический осмотр | На концевой балке - | ТО37 19.10.2010 | 2 | 53 | ||||||||||
(в ред. Протокола от 05.11.2015 N 63) | |||||||||||||||
25 | Дата последнего периодического ремонта или осмотра | 2 | 59 | ||||||||||||
На раме - | 4 | REV | L | 00 00 00 | + 3M | ||||||||||
(в ред. Протокола от 05.11.2015 N 63) | |||||||||||||||
24 | Надпись | На торцевой стене - Приписан ВЧД-12 Сев. | 2 | 51 | |||||||||||
(в ред. Протокола от 05.11.2015 N 63) | |||||||||||||||
23 | Знак приватного вагона | 2 | 54 | ||||||||||||
На раме - | P | ||||||||||||||
(в ред. Протокола от 05.11.2015 N 63) | |||||||||||||||
22 | Надпись | На раме - "Собственник" | 2 | 53 | |||||||||||
(в ред. Протокола от 05.11.2015 N 63) | |||||||||||||||
Надпись | На раме - Авторежим | 2 | 5 | ||||||||||||
(в ред. Протокола от 05.11.2015 N 63) | |||||||||||||||
20 | Трафарет о наличии на платформе съемного приспособления | На раме платформы с двух сторон | 2 | 59 | |||||||||||
(в ред. Протокола от 05.11.2015 N 63) | |||||||||||||||
Маркировка литых элементов тележки | На надрессорной балке и рамах боковых - | при кап. рем. | при деп. рем. | 6 | 6 | ||||||||||
92-122-8-546 | 8-546 | ||||||||||||||
(в ред. Протокола от 05.11.2015 N 63) | |||||||||||||||
18 | Тип автоматического тормоза | На раме - М-483 | 2 | 56 | |||||||||||
(в ред. Протокола от 05.11.2015 N 63) | |||||||||||||||
17 | Средний и капитальный ремонт колесной пары | 4 | 48 | ||||||||||||
На бирке - | III | 84 | 342 | ||||||||||||
20 | 0005123482 | ||||||||||||||
(в ред. Протокола от 05.11.2015 N 63) | |||||||||||||||
16 | Место для меловых надписей | На бортах - | прямоугольник черного цвета 200 x 1100 мм | 2 | - | ||||||||||
(в ред. Протокола от 05.11.2015 N 63) | |||||||||||||||
15 | Знак маневрового захвата | На раме - | ![]() | 4 | 49 | ||||||||||
(в ред. Протокола от 05.11.2015 N 63) | |||||||||||||||
14 | Гидравлическое испытание запасного резервуара | На запасном резервуаре | Испытан 27 22.10.2003 | 2 | 41 | ||||||||||
(в ред. Протокола от 05.11.2015 N 63) | |||||||||||||||
13 | Текущий ремонт | На концевой балке - | ТР 462 12.05.2003 | 2 | 41 | ||||||||||
(в ред. Протокола от 05.11.2015 N 63) | |||||||||||||||
12 | Деповской ремонт | На раме - | ДР 462 10.04.99-2002 | 2 | 41 | ||||||||||
(в ред. Протокола от 05.11.2015 N 63) | |||||||||||||||
11 | Капитальный ремонт | На раме - | КР 92 10.04.98-2006 | 2 | 41 | ||||||||||
(в ред. Протокола от 05.11.2015 N 63) | |||||||||||||||
10 | Дата постройки вагона | На торцевой стене - | Построен 27 26.10.98 | 2 | 41 | ||||||||||
(в ред. Протокола от 05.11.2015 N 63) | |||||||||||||||
9 | Знак проведения текущего ремонта колесной пары | На бирке | ТР XII 11 | 4 | 48 | ||||||||||
Знак проведения восстановления профиля поверхности катания колес | О1 II 12 | ||||||||||||||
(п. 9 в ред. Протокола от 05.11.2015 N 63) | |||||||||||||||
8 | Цифровой железнодорожный код страны | На раме - 20 | 2 | 52 | |||||||||||
(в ред. Протокола от 05.11.2015 N 63) | |||||||||||||||
7 | Знак длиннобазности | На раме - (ДБ) | 2 | 49 | |||||||||||
(в ред. Протокола от 05.11.2015 N 63) | |||||||||||||||
6 | Табличка завода-изготовителя | На раме - | табличка с указанием даты и места постройки | 2 | - | ||||||||||
5 | Надпись | На раме - ПРОБЕГ | 2 | 41 | |||||||||||
(в ред. Протокола от 05.11.2015 N 63) | |||||||||||||||
4 | Номер вагона | На раме - ххх ххххх | 2 | 6 | |||||||||||
(в ред. Протокола от 05.11.2015 N 63) | |||||||||||||||
3 | Тара платформы | На раме - 27,8 т | 2 | 58 | |||||||||||
(в ред. Протокола от 05.11.2015 N 63) | |||||||||||||||
2 | Грузоподъемность | На раме - 65 т | 2 | 42 | |||||||||||
(в ред. Протокола от 05.11.2015 N 63) | |||||||||||||||
Буквенный код | На раме | 2 | 52 | ||||||||||||
(в ред. Протокола от 05.11.2015 N 63) | |||||||||||||||
N поз. | Наименование знака или надпись | Место нанесения и содержание | Кол. на вагон | Лист | |||||||||||
Лист | |||||||||||||||
632-2011 ПКБ ЦВ | 26 | ||||||||||||||
Изм. | Лист | N докум. | Подп. | Дата | |||||||||||

31 | Место нанесения логотипа | На котле - поле не более (3500*1500)мм | 2 | - | |||||||||||
30 | Трафарет о наличии на вагоне сливного прибора с тремя степенями защиты | 2 | 42 | ||||||||||||
На котле - | C 3 1167 | ||||||||||||||
29 | Надпись | На котле - С горки не спускать | 2 | 45 | |||||||||||
Надпись | На раме - Авторежим | 2 | 5 | ||||||||||||
27 | Надпись | На днище котла - Пробег | 2 | 41 | |||||||||||
26 | Знак безопасности | 2 | 46 | ||||||||||||
На котле - | Остерегайся контактного провода | ||||||||||||||
25 | Знак маневрового захвата | На опоре котла - | ![]() | 4 | 49 | ||||||||||
(в ред. Протокола от 05.11.2015 N 63) | |||||||||||||||
24 | Надпись | На котле - БЕНЗИН "С" | 2 | 44 | |||||||||||
Надпись | На котле - | закрой крышку сливного прибора ОГНЕОПАСНО | 2 | 5 | |||||||||||
22 | Место для меловых надписей | На котле - | прямоугольник черного цвета 500x600 мм | 2 | - | ||||||||||
Калибровочный тип котла | На котле - цифра калибровки | 2 | - | ||||||||||||
(в ред. Протокола от 05.11.2015 N 63) | |||||||||||||||
20 | Надпись | На котле - код цистерны | 2 | - | |||||||||||
Маркировка литых элементов тележки | На надрессорной балке и рамах боковых - | при кап. рем. | при деп. рем. | 12 | 6 | ||||||||||
92-122-8-546 | 8-546 | ||||||||||||||
(в ред. Протокола от 05.11.2015 N 63) | |||||||||||||||
18 | Знак проведения текущего ремонта колесной пары | На бирке | ТР XII 11 | 4 | 48 | ||||||||||
Знак проведения восстановления профиля поверхности катания колес | О1 II 12 | ||||||||||||||
(п. 18 в ред. Протокола от 05.11.2015 N 63) | |||||||||||||||
17 | Табличка СМГС | На котле | 1 | 61 | |||||||||||
(в ред. Протокола от 05.11.2015 N 63) | |||||||||||||||
16 | Средний и капитальный ремонт колесной пары | 8 | 48 | ||||||||||||
На бирке - | III | 84 | 342 | ||||||||||||
20 | 0005123482 | ||||||||||||||
(в ред. Протокола от 05.11.2015 N 63) | |||||||||||||||
15 | Дата постройки | На днище котла - | Построен 27 22.10.2009 | 2 | 41 | ||||||||||
14 | Надпись | На котле - | дата следующих испытаний (гидравлических, на герметичность) | 2 | 57 | ||||||||||
13 | Текущий ремонт | На днище котла - | ТР462 10.04.2003 | 2 | 41 | ||||||||||
12 | Деповской ремонт | На днище котла - | ДР 432 10.04.2004 | 2 | 41 | ||||||||||
11 | Капитальный ремонт | На днище котла - | КР 27 10.04.2006-2010 | 2 | 45 | ||||||||||
10 | Тара цистерны | На котле - ТАРА 48,8 т | 2 | 42 | |||||||||||
(в ред. Протокола от 05.11.2015 N 63) | |||||||||||||||
9 | Гидравлическое испытание запасного резервуара | На запасном резервуаре | Испытан 17 22.09.2010 | 1 | 41 | ||||||||||
8 | Цифровой железнодорожный код страны | На шкворневой балке - [20] | 2 | 52 | |||||||||||
Цифровой железнодорожный код страны | На котле - 20 | 2 | 52 | ||||||||||||
6 | Табличка завода-изготовителя | На шкворневой балке - | табличка с указанием даты и места постройки | 2 | - | ||||||||||
5 | Номер вагона | На шкворневой балке - ххх хххх | 2 | 6 | |||||||||||
Номер вагона | На котле - ххх ххххх | 2 | - | ||||||||||||
(в ред. Протокола от 05.11.2015 N 63) | |||||||||||||||
3 | Полезный объем | На котле - 140 м3 | 2 | 42 | |||||||||||
2 | Грузоподъемность | На котле - 120 т | 2 | 42 | |||||||||||
Буквенный код | На котле | 2 | 52 | ||||||||||||
N поз. | Наименование знака или надпись | Место нанесения и содержание | Кол. на вагон | Лист | |||||||||||
Лист | |||||||||||||||
632-2011 ПКБ ЦВ | 27 | ||||||||||||||
Изм. | Лист | N докум. | Подп. | Дата | |||||||||||

Калибровочный тип котла | На котле - цифра калибровки | 2 | - | |||||||||||
(поз. 38 введена Протоколом от 05.11.2015 N 63) | ||||||||||||||
Трафарет о сроке следующего освидетельствования котла цистерны | На котле - | ![]() | (месяц, год) | 2 | 56 | |||||||||
(в ред. Протокола от 05.11.2015 N 63) | ||||||||||||||
Трафарет периодического ремонта или осмотра грузового вагона | На раме - | ![]() | 2 | 59 | ||||||||||
35 Исключен. - Протокол от 22.11.2021 N 75. | ||||||||||||||
34 | Знак транзитности и габаритности | На котле - | 2 | 57 | ||||||||||
33 | Логотип собственника | На котле - SFAT | 2 | - | ||||||||||
32 | Технический осмотр | На днище котла - | ТО 32 19.07.2010 | 2 | 53 | |||||||||
31 | Надпись | На котле - "Собственник"..... | 2 | 53 | ||||||||||
30 | Надпись | На котле - БЕНЗИН "С" | - | 44 | ||||||||||
29 | Место для меловых надписей | На котле - | прямоугольник черного цвета 500x600 мм | 2 | - | |||||||||
28 | Надпись | На котле - код цистерны | 2 | 57 | ||||||||||
Маркировка литых элементов тележки | На надрессорной балке и рамах боковых - | при кап. рем. | при деп. рем. | 6 | 6 | |||||||||
92-122-8-546 | 8-546 | |||||||||||||
(в ред. Протокола от 05.11.2015 N 63) | ||||||||||||||
26 | Надпись | На котле - | дата следующих испытаний (гидравлических, на герметичность) | 2 | 57 | |||||||||
25 | Таблички СМГС | На котле - табличка | 2 | 61 | ||||||||||
(в ред. Протокола от 05.11.2015 N 63) | ||||||||||||||
24 | Трафарет о наличии на вагоне эластомерного поглощающего аппарата | На концевой балке - | ![]() | 1 | 42 | |||||||||
(в ред. Протокола от 05.11.2015 N 63) | ||||||||||||||
23 | Надпись (Срок службы после КРП) | На днище котла - Срок сл. до 12. 2010 | 2 | 41 | ||||||||||
(в ред. Протокола от 05.11.2015 N 63) | ||||||||||||||
22 | Капитальный ремонт с продлением срока полезного использования | На днище котла - | КРП 112 17.03.2003 | 2 | 41 | |||||||||
(в ред. Протокола от 05.11.2015 N 63) | ||||||||||||||
21 | Надпись | На днище котла - Пробег | 2 | 41 | ||||||||||
(в ред. Протокола от 05.11.2015 N 63) | ||||||||||||||
20 | Знак безопасности | 2 | 46 | |||||||||||
На котле - | Остерегайся контактного провода | |||||||||||||
Надпись | На котле - | Закрой крышку сливного прибора ОГНЕОПАСНО | 2 | 5 | ||||||||||
18 | Знак проведения текущего ремонта колесной пары | На бирке | ТР XII 11 | 4 | 48 | |||||||||
Знак проведения восстановления профиля поверхности катания колес | О1 II 12 | |||||||||||||
(п. 18 в ред. Протокола от 05.11.2015 N 63) | ||||||||||||||
17 | Тип автоматического тормоза | На раме - М-483 | 2 | 56 | ||||||||||
16 | Средний и капитальный ремонт колесной пары | 4 | 48 | |||||||||||
На бирке - | III | 84 | 342 | |||||||||||
20 | 0005123482 | |||||||||||||
(в ред. Протокола от 05.11.2015 N 63) | ||||||||||||||
15 | Дата постройки | На днище котла - | Построен 27 22.10.89 | 2 | 41 | |||||||||
14 | Знак маневрового захвата | На раме - | ![]() | 4 | 49 | |||||||||
(в ред. Протокола от 05.11.2015 N 63) | ||||||||||||||
13 | Текущий ремонт | На днище котла - | TP462 10.04.2009 | 2 | 41 | |||||||||
12 | Деповской ремонт | На днище котла - | ДР 432 10.04.2008 | 2 | 41 | |||||||||
11 | Капитальный ремонт | На днище котла - | КР 27 10.04.98-2010 | 2 | 41 | |||||||||
10 | Тара цистерны | На раме - ТАРА 48800 кг | 2 | 58 | ||||||||||
9 | Гидравлическое испытание запасного резервуара | На запасном резервуаре - | Испытан 17 22.09.2010 | 1 | 41 | |||||||||
8 | Цифровой железнодорожный код страны | На раме - [20] | 2 | 52 | ||||||||||
7 | Цифровой железнодорожный код страны | На котле - 20 | 2 | 52 | ||||||||||
6 | Табличка завода-изготовителя | На раме - | табличка с указанием даты и места постройки | - | - | |||||||||
5 | Номер вагона | На раме - ххх хххх | 2 | 6 | ||||||||||
Номер вагона | На котле - ххх ххххх | 2 | - | |||||||||||
(в ред. Протокола от 05.11.2015 N 63) | ||||||||||||||
3 | Объем котла цистерны | На котле - | ![]() | 2 | 58 | |||||||||
2 | Грузоподъемность | На котле - 60,0 т | 2 | 58 | ||||||||||
Буквенный код | На котле | 2 | 52 | |||||||||||
N поз. | Наименование знака или надпись | Место нанесения и содержание | Кол. на вагон | Лист | ||||||||||
Лист | ||||||||||||||
632-2011 ПКБ ЦВ | 28 | |||||||||||||
Изм. | Лист | N докум. | Подп. | Дата | ||||||||||

32 | Место нанесения логотипа | На котле - поле не более (3500*1500) мм | 2 | - | |||||||||||
31 | Надпись | На котле - | дата следующих испытаний (гидравлических, на герметичность) | 2 | 57 | ||||||||||
(в ред. Протокола от 05.11.2015 N 63) | |||||||||||||||
30 | Табличка СМГС | На котле | 1 | 61 | |||||||||||
(в ред. Протокола от 05.11.2015 N 63) | |||||||||||||||
29 | Срок службы после КРП | На днище котла - Срок сл. до 12.2010 | 2 | 41 | |||||||||||
28 | Капитальный ремонт с продлением срока полезного использования | На днище котла - | КРП 112 17.03.2003 | 2 | 41 | ||||||||||
27 | Надпись | На днище котла - Пробег | 2 | 41 | |||||||||||
26 | Знак безопасности | 2 | 46 | ||||||||||||
На котле - | Остерегайся контактного провода | ||||||||||||||
25 | Знак маневрового захвата | На раме - | ![]() | 2 | 49 | ||||||||||
24 | Надпись | На котле - БЕНЗИН "С" | 2 | 44 | |||||||||||
Надпись | На котле - | закрой крышку сливного прибора ОГНЕОПАСНО | 2 | 5 | |||||||||||
22 | Место для меловых надписей | На котле - | прямоугольник черного цвета 500x600 мм | 2 | - | ||||||||||
Калибровочный тип котла | На котле - цифра калибровки | 2 | - | ||||||||||||
(в ред. Протокола от 05.11.2015 N 63) | |||||||||||||||
20 | Надпись | На котле - код цистерны | 2 | 57 | |||||||||||
Маркировка литых элементов тележки | На надрессорной балке и рамах боковых | при кап. рем. | при деп. рем. | 6 | 6 | ||||||||||
92-122-8-546 | 8-546 | ||||||||||||||
(в ред. Протокола от 05.11.2015 N 63) | |||||||||||||||
18 | Знак проведения текущего ремонта колесной пары | На бирке | ТР XII 11 | 4 | 48 | ||||||||||
Знак проведения восстановления профиля поверхности катания колес | О1 II 12 | ||||||||||||||
(п. 18 в ред. Протокола от 05.11.2015 N 63) | |||||||||||||||
Надпись | На раме - Авторежим | 2 | 5 | ||||||||||||
16 | Средний и капитальный ремонт колесной пары | 4 | 48 | ||||||||||||
На бирке - | III | 84 | 342 | ||||||||||||
20 | 0005123482 | ||||||||||||||
(в ред. Протокола от 05.11.2015 N 63) | |||||||||||||||
15 | Трафарет о наличии на вагоне сливного прибора с тремя степенями защиты | 2 | 42 | ||||||||||||
На раме - | Сп 3 1167 | ||||||||||||||
14 | Дата постройки | На днище котла - | Построен 27 22.10.89 | 2 | 41 | ||||||||||
13 | Текущий ремонт | На днище котла - | ТР462 10.04.2003 | 2 | 41 | ||||||||||
12 | Деповской ремонт | На днище котла - | ДР 432 10.04.2004 | 2 | 41 | ||||||||||
11 | Капитальный ремонт | На днище котла - | КР 27 10.04.98-2010 | 2 | 41 | ||||||||||
10 | Тара цистерны | На раме - ТАРА 48,8 т | 2 | 42 | |||||||||||
(в ред. Протокола от 05.11.2015 N 63) | |||||||||||||||
9 | Гидравлическое испытание запасного резервуара | На запасном резервуаре | Испытан 17 22.09.2005 | 1 | 41 | ||||||||||
8 | Цифровой железнодорожный код страны | На раме - [20] | 2 | 52 | |||||||||||
7 | Цифровой железнодорожный код страны | На котле - 20 | 2 | 52 | |||||||||||
6 | Табличка завода-изготовителя | На раме - | табличка с указанием даты и места постройки | 2 | - | ||||||||||
5 | Номер вагона | На раме - ххх хххх | 2 | 6 | |||||||||||
Номер вагона | На котле - ххх ххххх | 2 | - | ||||||||||||
(в ред. Протокола от 05.11.2015 N 63) | |||||||||||||||
3 | Объем груза | На котле - 75 мм3 | 2 | 42 | |||||||||||
2 | Грузоподъемность | На котле - 62 т | 2 | 42 | |||||||||||
Буквенный код | На котле | 2 | 52 | ||||||||||||
N поз. | Наименование знака или надпись | Место нанесения и содержание | Кол. на вагон | Лист | |||||||||||
Лист | |||||||||||||||
632-2011 ПКБ ЦВ | 29 | ||||||||||||||
Изм. | Лист | N докум. | Подп. | Дата | |||||||||||

ИС МЕГАНОРМ: примечание. Нумерация пунктов дана в соответствии с источником опубликования. |
29 | Место нанесения логотипа | На котле - поле не более (3500*1500) мм | 2 | - | ||||||||||
28 | Надпись (срок службы после КРП) | На котле - Срок сл. до 01.2014 | 2 | 41 | ||||||||||
(в ред. Протокола от 05.11.2015 N 63) | ||||||||||||||
27 | Капитальный ремонт с продлением срока службы | На котле КРП 112 01.12.2009 | 2 | 41 | ||||||||||
26 | Знак безопасности | 2 | 46 | |||||||||||
На котле - | Остерегайся контактного провода | |||||||||||||
25 | Знак маневрового захвата | На раме - | ![]() | 4 | 49 | |||||||||
(в ред. Протокола от 05.11.2015 N 63) | ||||||||||||||
24 | Надпись | На котле - ЦЕМЕНТ | 2 | 5 | ||||||||||
Надпись | На днище котла - | Срочный возврат ст. Новороссийск С-КАВ. | 2 | 45 | ||||||||||
22 | Место для меловых надписей | На котле - | прямоугольник черного цвета 500x600 мм | 2 | - | |||||||||
21 | Надпись | На днище котла - ПРОБЕГ | 2 | 41 | ||||||||||
Надпись | На котле - | Ревизия разгрузочных устройств 309 | 2 | 5, 6 | ||||||||||
25.02.2010 | ||||||||||||||
(в ред. Протокола от 05.11.2015 N 63) | ||||||||||||||
Маркировка литых элементов тележки | На надрессорной балке и рамах боковых - | при кап. рем. | при деп. рем. | 6 | 5 6 | |||||||||
92-122-8-546 | 8-546 | |||||||||||||
(в ред. Протокола от 05.11.2015 N 63) | ||||||||||||||
18 | Знак проведения текущего ремонта колесной пары | На бирке | ТР XII 11 | 4 | 48 | |||||||||
Знак проведения восстановления профиля поверхности катания колес | О1 II 12 | |||||||||||||
(п. 18 в ред. Протокола от 05.11.2015 N 63) | ||||||||||||||
Надпись | На раме - Авторежим | 2 | 5 | |||||||||||
16 | Средний и капитальный ремонт колесной пары | 4 | 48 | |||||||||||
На бирке - | III | 84 | 342 | |||||||||||
20 | 0005123482 | |||||||||||||
(в ред. Протокола от 05.11.2015 N 63) | ||||||||||||||
15 | Дата постройки | На днище котла - | Построен 27 22.10.89 | 2 | 41 | |||||||||
14 Исключен. - Протокол от 05.11.2015 N 63. | ||||||||||||||
13 | Текущий ремонт | На днище котла - | ТР462 10.04.2009 | 2 | 41 | |||||||||
12 | Деповской ремонт | На днище котла - | ДР 432 10.04.2008 | 2 | 44 | |||||||||
11 | Капитальный ремонт | На днище котла - | КР 27 10.04.98-2010 | 2 | 41 | |||||||||
10 | Тара цистерны | На раме - ТАРА 23,2 т | 42 | |||||||||||
9 | Гидравлическое испытание запасного резервуара | На запасном резервуаре - | Испытан 17 22.09.2009 | 1 | 41 | |||||||||
8 | Цифровой железнодорожный код страны | На раме - [20] | 2 | 52 | ||||||||||
Цифровой железнодорожный код страны | На котле - 20 | 2 | 52 | |||||||||||
6 | Табличка завода-изготовителя | На раме - табличка с указанием даты и места постройки | 2 | - | ||||||||||
5 | Номер вагона | На раме - ххх хххх | 2 | 6 | ||||||||||
Номер вагона | На котле - ххх ххххх | 2 | - | |||||||||||
(в ред. Протокола от 05.11.2015 N 63) | ||||||||||||||
3 | Полезный объем | На котле - 53,7 м3 | 2 | 42 | ||||||||||
2 | Грузоподъемность | На котле - 61 т | 2 | 42 | ||||||||||
Буквенный код | На котле | 2 | 52 | |||||||||||
N поз. | Наименование знака или надпись | Место нанесения и содержание | Кол. на вагон | Лист | ||||||||||
Лист | ||||||||||||||
632-2011 ПКБ ЦВ | 30 | |||||||||||||
Изм. | Лист | N докум. | Подп. | Дата | ||||||||||

32 | Знак проведения текущего ремонта колесной пары | На бирке | ТР XII 11 | 4 | 48 | |||||||||
Знак проведения восстановления профиля поверхности катания колес | О1 II 12 | |||||||||||||
(п. 32 в ред. Протокола от 05.11.2015 N 63) | ||||||||||||||
31 | Надпись | На котле - С горки не спускать | 2 | 45 | ||||||||||
(в ред. Протокола от 05.11.2015 N 63) | ||||||||||||||
30 | Надпись | На котле - ПРОБЕГ | 2 | 41 | ||||||||||
29 | Надпись | На котле - | дата следующих испытаний (гидравлических, на герметичность) | 2 | 57 | |||||||||
Надпись | На котле - | буквенно-цифровой код специальных положений | 2 | 57 | ||||||||||
27 | Надпись | На котле - Код цистерны | 2 | 57 | ||||||||||
(в ред. Протокола от 05.11.2015 N 63) | ||||||||||||||
26 | Табличка СМГСМ | На торцевой балке*, на котле, по диагонали | 1 | 61 | ||||||||||
(в ред. Протокола от 05.11.2015 N 63) | ||||||||||||||
25 | Трафарет о наличии на вагоне эластомерного поглощающего аппарата | На концевой балке - | ![]() | 2 | 42 | |||||||||
(в ред. Протокола от 05.11.2015 N 63) | ||||||||||||||
Надпись | На котле - АММИАК | 2 | 5 | |||||||||||
(в ред. Протокола от 05.11.2015 N 63) | ||||||||||||||
23 | Трафарет о сроке следующей периодической или промежуточной проверки (освидетельствования) котла цистерны. | На котле - | месяц, год | ![]() | 2 | 56 | ||||||||
Маркировка литых элементов тележки | На надрессорной балке и рамах боковых - | при кап. рем. | при деп. рем. | 6 | 6 | |||||||||
92-122-8-546 | 8-546 | |||||||||||||
(в ред. Протокола от 05.11.2015 N 63) | ||||||||||||||
21 | Надпись | На днище котла - | Срочный возврат ст. Воскресенск МСК. | 2 | 45 | |||||||||
(в ред. Протокола от 05.11.2015 N 63) | ||||||||||||||
20 | Место для меловых надписей | На котле - | прямоугольник черного цвета 500x600 мм | 2 | - | |||||||||
19 | Знак безопасности | 2 | 46 | |||||||||||
На котле - | Остерегайся контактного провода | |||||||||||||
Надпись | На раме - Авторежим | 2 | 5 | |||||||||||
17 | Знак маневрового захвата | На раме - | ![]() | 4 | 49 | |||||||||
(в ред. Протокола от 05.11.2015 N 63) | ||||||||||||||
16 | Средний и капитальный ремонт колесной пары | 4 | 48 | |||||||||||
На бирке - | III | 84 | 342 | |||||||||||
20 | 0005123482 | |||||||||||||
(в ред. Протокола от 05.11.2015 N 63) | ||||||||||||||
15 | Дата постройки | На днище котла - | Построен 27 22.10.89 | 2 | 41 | |||||||||
14 | Полоса желтого цвета | Вдоль цилиндрической части котла - полоса шириной 300 мм | 2 | - | ||||||||||
13 | Текущий ремонт | На днище котла - | ТР462 10.04.2003 | 2 | 41 | |||||||||
12 | Деповской ремонт | На раме - | ДР 432 10.04.2004 | 2 | 41 | |||||||||
11 | Капитальный ремонт | На раме - | КР 27 10.04.98-2010 | 2 | 41 | |||||||||
10 | Тара цистерны | На раме - ТАРА 33,5 т | 2 | 42 | ||||||||||
9 | Гидравлическое испытание запасного резервуара | На запасном резервуаре - | Испытан 17 22.09.2005 | 1 | 41 | |||||||||
8 | Цифровой железнодорожный код страны | На раме - [20] | 2 | 52 | ||||||||||
7 | Цифровой железнодорожный код страны | На котле - 20 | 2 | 52 | ||||||||||
6 | Табличка завода-изготовителя | На раме - табличка с указанием даты и места постройки | 2 | - | ||||||||||
5 | Номер вагона | На раме - ххх хххх | 2 | 6 | ||||||||||
4 | Номер вагона | На котле - ххх ххххх | 2 | 6 | ||||||||||
3 | Полезный объем | На котле - 54 м3 | 2 | 42 | ||||||||||
2 | Грузоподъемность | На котле - 30,7 т | 2 | 42 | ||||||||||
Буквенный код | На котле | 2 | 52 | |||||||||||
N поз. | Наименование знака или надпись | Место нанесения и содержание | Кол. на вагон | Лист | ||||||||||
Лист | ||||||||||||||
632-2011 ПКБ ЦВ | 31 | |||||||||||||
Изм. | Лист | N докум. | Подп. | Дата | ||||||||||

Надпись | На раме - Авторежим | 2 | 5 | |||||||||||||
32 | Табличка СМГС | На котле | 1 | 61 | ||||||||||||
(в ред. Протокола от 05.11.2015 N 63) | ||||||||||||||||
31 | Трафарет о наличии на вагоне эластомерного поглощающего аппарата | На концевой балке - | ![]() | 2 | 42 | |||||||||||
(в ред. Протокола от 05.11.2015 N 63) | ||||||||||||||||
30 | Надпись | На котле и на днище котла - | С горки не спускать | 2 | 45 | |||||||||||
29 | Квадрат желтого цвета | На днище котла - | квадрат размером 1000x1000 мм | - | - | |||||||||||
28 | Надпись | На днище котла - | Срочный возврат ст. Воскресенск МСК. | 2 | 45 | |||||||||||
(в ред. Протокола от 05.11.2015 N 63) | ||||||||||||||||
27 | Надпись | На котле - | буквенно-цифровой код специальных положений, код цистерны | 2 | 57 | |||||||||||
26 | Знак безопасности | 2 | 46 | |||||||||||||
На котле - | Остерегайся контактного провода | |||||||||||||||
(в ред. Протокола от 05.11.2015 N 63) | ||||||||||||||||
25 | Знак маневрового захвата | На раме - | ![]() | 4 | 49 | |||||||||||
(в ред. Протокола от 05.11.2015 N 63) | ||||||||||||||||
Надпись | На котле - ПРОБЕГ | 2 | 41 | |||||||||||||
(в ред. Протокола от 05.11.2015 N 63) | ||||||||||||||||
Надпись | На днище котла и котле - "Серная кислота" "X" | 2 | 5 | |||||||||||||
22 | Место для меловых надписей | На котле - | прямоугольник черного цвета 500x600 мм | 2 | - | |||||||||||
Калибровочный тип котла | На котле - цифра калибровки | 2 | - | |||||||||||||
20 | Паспортная табличка калибровки | На котле - | обозначение типа калибровки включая буквенные обозначения | 2 | 57 | |||||||||||
Маркировка литых элементов тележки | На надрессорной балке и рамах боковых - | при кап. рем. | при деп. рем. | 6 | 6 | |||||||||||
92-122-8-546 | 8-546 | |||||||||||||||
(в ред. Протокола от 05.11.2015 N 63) | ||||||||||||||||
18 | Знак проведения текущего ремонта колесной пары | На бирке | ТР XII 11 | 4 | 48 | |||||||||||
Знак проведения восстановления профиля поверхности катания колес | О1 II 12 | |||||||||||||||
(п. 18 в ред. Протокола от 05.11.2015 N 63) | ||||||||||||||||
17 | Надпись | На котле - дата следующих испытаний гидравлических, на герметичность | 2 | 57 | ||||||||||||
(в ред. Протокола от 05.11.2015 N 63) | ||||||||||||||||
16 | Средний и капитальный ремонт колесной пары | 4 | 48 | |||||||||||||
На бирке - | III | 84 | 342 | |||||||||||||
20 | 0005123482 | |||||||||||||||
(в ред. Протокола от 05.11.2015 N 63) | ||||||||||||||||
15 | Дата постройки | На днище котла - | Построен 27 22.10.89 | 2 | 41 | |||||||||||
14 | Полоса желтого цвета | Вдоль цилиндрической части котла - полоса шириной 500 мм | 2 | - | ||||||||||||
13 | Текущий ремонт | На днище котла - | ТР462 10.04.2003 | 2 | 41 | |||||||||||
12 | Деповской ремонт | На днище котла - | ДР 432 10.04.2004 | 2 | 41 | |||||||||||
11 | Капитальный ремонт | На днище котла - | КР 27 10.04.98-2010 | 2 | 41 | |||||||||||
(в ред. Протокола от 05.11.2015 N 63) | ||||||||||||||||
10 | Тара цистерны | На раме - ТАРА 20,3 т | 2 | 42 | ||||||||||||
9 | Гидравлическое испытание запасного резервуара | На запасном резервуаре | Испытан 17 22.09.2005 | 1 | 41 | |||||||||||
8 | Цифровой железнодорожный код страны | На раме - [20] | 2 | 52 | ||||||||||||
Цифровой железнодорожный код страны | На котле - 20 | 2 | 52 | |||||||||||||
6 | Табличка завода-изготовителя | На раме - | табличка с указанием даты и места постройки | 2 | - | |||||||||||
5 | Номер вагона | На раме - ххх хххх | 2 | 6 | ||||||||||||
Номер вагона | На котле - ххх ххххх | 2 | - | |||||||||||||
(в ред. Протокола от 05.11.2015 N 63) | ||||||||||||||||
3 | Полезный объем | На котле - 36,98 м3 | 2 | 42 | ||||||||||||
2 | Грузоподъемность | На котле - 67 т | 2 | 42 | ||||||||||||
Буквенный код | На котле | 2 | 52 | |||||||||||||
N поз. | Наименование знака или надпись | Место нанесения и содержание | Кол. на вагон | Лист | ||||||||||||
Лист | ||||||||||||||||
632-2011 ПКБ ЦВ | 32 | |||||||||||||||
Изм. | Лист | N докум. | Подп. | Дата | ||||||||||||

Надпись | На раме - Авторежим | 2 | 5 | ||||||||||||||
32 | Табличка СМГС | На котле | 1 | 61 | |||||||||||||
(в ред. Протокола от 05.11.2015 N 63) | |||||||||||||||||
31 | Трафарет о наличии на вагоне эластомерного поглощающего аппарата | На концевой балке - | ![]() | 2 | 42 | ||||||||||||
(в ред. Протокола от 05.11.2015 N 63) | |||||||||||||||||
30 | Надпись | На котле и днище котла - | С горки не спускать | 2 | 45 | ||||||||||||
29 | Квадрат желтого цвета | На днище котла - | квадрат размером 1000x1000 мм | - | - | ||||||||||||
28 | Надпись | На днище котла - | Срочный возврат ст. Воскресенск МСК. | 2 | 45 | ||||||||||||
(в ред. Протокола от 05.11.2015 N 63) | |||||||||||||||||
27 | Надпись | На котле - | буквенно-цифровой код специальных положений, код цистерны | 2 | 57 | ||||||||||||
26 | Знак безопасности | 2 | 46 | ||||||||||||||
На котле - | Остерегайся контактного провода | ||||||||||||||||
(в ред. Протокола от 05.11.2015 N 63) | |||||||||||||||||
25 | Знак маневрового захвата | На раме - | ![]() | 4 | 49 | ||||||||||||
(в ред. Протокола от 05.11.2015 N 63) | |||||||||||||||||
Надпись | На днище котла - ПРОБЕГ | 2 | 41 | ||||||||||||||
(в ред. Протокола от 05.11.2015 N 63) | |||||||||||||||||
Надпись | На днище котла и котле - "Олеум" "X" | 2 | 5 | ||||||||||||||
22 | Место для меловых надписей | На котле - | прямоугольник черного цвета 500x600 мм | 2 | - | ||||||||||||
Калибровочный тип котла | На котле - цифра калибровки | 2 | 6 | ||||||||||||||
(в ред. Протокола от 05.11.2015 N 63) | |||||||||||||||||
20 | Паспортная табличка калибровки | На котле - | обозначение типа калибровки включая буквенные обозначения | 2 | 57 | ||||||||||||
Маркировка литых элементов тележки | На надрессорной балке и рамах боковых - | при кап. рем. | при деп. рем. | 6 | 6 | ||||||||||||
92-122-8-546 | 8-546 | ||||||||||||||||
(в ред. Протокола от 05.11.2015 N 63) | |||||||||||||||||
18 | Знак проведения текущего ремонта колесной пары | На бирке | ТР XII 11 | 4 | 48 | ||||||||||||
Знак проведения восстановления профиля поверхности катания колес | О1 II 12 | ||||||||||||||||
(п. 18 в ред. Протокола от 05.11.2015 N 63) | |||||||||||||||||
17 | Надпись | На котле - дата следующих испытаний гидравлических, на герметичность | 2 | 57 | |||||||||||||
(в ред. Протокола от 05.11.2015 N 63) | |||||||||||||||||
16 | Средний и капитальный ремонт колесной пары | 4 | 48 | ||||||||||||||
На бирке - | III | 84 | 342 | ||||||||||||||
20 | 0005123482 | ||||||||||||||||
(в ред. Протокола от 05.11.2015 N 63) | |||||||||||||||||
15 | Дата постройки | На днище котла - | Построен 27 22.10.89 | 2 | 41 | ||||||||||||
14 | Полоса желтого цвета | Вдоль цилиндрической части котла - полоса шириной 500 мм | 2 | - | |||||||||||||
13 | Текущий ремонт | На концевой балке - | ТР462 10.04.2003 | 2 | 41 | ||||||||||||
12 | Деповской ремонт | На днище котла - | ДР 432 10.04.2004 | 2 | 41 | ||||||||||||
11 | Капитальный ремонт | На днище котла - | КР 27 10.04.98-2010 | 2 | 41 | ||||||||||||
(в ред. Протокола от 05.11.2015 N 63) | |||||||||||||||||
10 | Тара цистерны | На раме - ТАРА 20,3 т | 2 | 42 | |||||||||||||
9 | Гидравлическое испытание запасного резервуара | На запасном резервуаре - | Испытан 17 22.09.2005 | 1 | 41 | ||||||||||||
8 | Цифровой железнодорожный код страны | На раме - [20] | 2 | 52 | |||||||||||||
Цифровой железнодорожный код страны | На котле - 20 | 2 | 52 | ||||||||||||||
6 | Табличка завода-изготовителя | На раме - | табличка с указанием даты и места постройки | 2 | - | ||||||||||||
5 | Номер вагона | На раме - ххх хххх | 2 | 6 | |||||||||||||
Номер вагона | На котле - ххх ххххх | 2 | - | ||||||||||||||
(в ред. Протокола от 05.11.2015 N 63) | |||||||||||||||||
3 | Полезный объем | На котле - 36,98 м3 | 2 | 42 | |||||||||||||
2 | Грузоподъемность | На котле - 67 т | 2 | 42 | |||||||||||||
1 | Буквенный код | На котле | 2 | 52 | |||||||||||||
N поз. | Наименование знака или надпись | Место нанесения и содержание | Кол. на вагон | Лист | |||||||||||||
Лист | |||||||||||||||||
632-2011 ПКБ ЦВ | 33 | ||||||||||||||||
Изм. | Лист | N докум. | Подп. | Дата | |||||||||||||

25 | Знак безопасности | 2 | 46 | |||||||||||||
На котле - | Остерегайся контактного провода | |||||||||||||||
(в ред. Протокола от 05.11.2015 N 63) | ||||||||||||||||
24 | Надпись | На котле - МОЛОКО "П" | 2 | 44 | ||||||||||||
(в ред. Протокола от 05.11.2015 N 63) | ||||||||||||||||
23 | Надпись | На днище котла - При маневрах не толкать | 2 | 45 | ||||||||||||
(в ред. Протокола от 05.11.2015 N 63) | ||||||||||||||||
22 | Место для меловых надписей | На котла - | прямоугольник черного цвета 500x600 мм | 2 | - | |||||||||||
21 | Надпись | На днище котле - ПРОБЕГ | 2 | 41 | ||||||||||||
20 | Надпись | На котле - | С горки не спускать | 4 | 45 | |||||||||||
(в ред. Протокола от 05.11.2015 N 63) | ||||||||||||||||
Маркировка литых элементов тележки | На надрессорной балке и рамах боковых | при кап. рем. | при деп. рем. | 6 | 6 | |||||||||||
92-122-8-546 | 8-546 | |||||||||||||||
(в ред. Протокола от 05.11.2015 N 63) | ||||||||||||||||
18 | Знак проведения текущего ремонта колесной пары | На бирке | ТР XII 11 | 4 | 48 | |||||||||||
Знак проведения восстановления профиля поверхности катания колес | О1 II 12 | |||||||||||||||
(п. 18 в ред. Протокола от 05.11.2015 N 63) | ||||||||||||||||
17 | Знак маневрового захвата | На раме - | ![]() | 4 | 49 | |||||||||||
(в ред. Протокола от 05.11.2015 N 63) | ||||||||||||||||
16 | Средний и капитальный ремонт колесной пары | 4 | 48 | |||||||||||||
На бирке - | III | 84 | 342 | |||||||||||||
20 | 0005123482 | |||||||||||||||
15 | Дата постройки | На днище котла - | Построен 27 22.10.89 | 2 | 41 | |||||||||||
14 | Надпись | На раме - Авторежим | 2 | 41 | ||||||||||||
13 | Текущий ремонт | На днище котла - | ТР 462 10.04.2003 | 2 | 41 | |||||||||||
12 | Деповской ремонт | На днище котла - | ДР 432 10.04.2004 | 2 | 41 | |||||||||||
11 | Капитальный ремонт | На днище котла - | КР 27 10.04.98-2010 | 2 | 41 | |||||||||||
10 | Тара цистерны | На раме - ТАРА 23,2 т | 2 | 42 | ||||||||||||
9 | Гидравлическое испытание запасного резервуара | На запасном резервуаре - | Испытан 17 22.09.2005 | 1 | 41 | |||||||||||
(в ред. Протокола от 05.11.2015 N 63) | ||||||||||||||||
8 | Цифровой железнодорожный код страны | На раме - [20] | 2 | 52 | ||||||||||||
7 | Цифровой железнодорожный код страны | На котле - 20 | 2 | 52 | ||||||||||||
6 | Табличка завода-изготовителя | На раме - | табличка с указанием даты и места постройки | 2 | - | |||||||||||
5 | Номер вагона | На раме - ххх хххх | 2 | 6 | ||||||||||||
4 | Номер вагона | На котле - ххх ххххх | 2 | 6 | ||||||||||||
3 | Полезный объем | На котле - 30,28 м3 | 2 | 42 | ||||||||||||
2 | Грузоподъемность | На котле - 31,2 т | 2 | 42 | ||||||||||||
Буквенный код | На котле | 2 | 52 | |||||||||||||
N поз. | Наименование знака или надпись | Место нанесения и содержание | Кол. на вагон | Лист | ||||||||||||
Лист | ||||||||||||||||
632-2011 ПКБ ЦВ | 34 | |||||||||||||||
Изм. | Лист | N докум. | Подп. | Дата | ||||||||||||

Калибровочный тип котла | На котле - Цифра калибровки | 2 | 6 | ||||||||||||||
26 | Знак безопасности | 2 | 46 | ||||||||||||||
На котле - | Остерегайся контактного провода | ||||||||||||||||
(в ред. Протокола от 05.11.2015 N 63) | |||||||||||||||||
25 | Знак маневрового захвата | На раме - | ![]() | 4 | 49 | ||||||||||||
(в ред. Протокола от 05.11.2015 N 63) | |||||||||||||||||
24 | Надпись | На котла - СПИРТ "П | 2 | 44 | |||||||||||||
(в ред. Протокола от 05.11.2015 N 63) | |||||||||||||||||
23 | Надпись | На днище котла - | Срочный возврат ст. Новороссийск С-КАВ. | 2 | 45 | ||||||||||||
22 | Место для меловых надписей | На котле - | прямоугольник черного цвета 500x600 мм | 2 | - | ||||||||||||
21 | Надпись | На днище котле - ПРОБЕГ | 2 | 41 | |||||||||||||
20 | Паспортная табличка калибровки | На котле - | обозначение типа калибровки, включая буквенные обозначения | 2 | - | ||||||||||||
Маркировка литых элементов тележки | На надрессорной балке и рамах боковых - | при кап. рем. | при деп. рем. | 6 | 6 | ||||||||||||
92-122-8-546 | 8-546 | ||||||||||||||||
(в ред. Протокола от 05.11.2015 N 63) | |||||||||||||||||
18 | Знак проведения текущего ремонта колесной пары | На бирке | ТР XII 11 | 4 | 48 | ||||||||||||
Знак проведения восстановления профиля поверхности катания колес | О1 II 12 | ||||||||||||||||
(п. 18 в ред. Протокола от 05.11.2015 N 63) | |||||||||||||||||
Надпись | На раме - Авторежим | 2 | 5 | ||||||||||||||
16 | Средний и капитальный ремонт колесной пары | 4 | 48 | ||||||||||||||
На бирке - | III | 84 | 342 | ||||||||||||||
20 | 0005123482 | ||||||||||||||||
(в ред. Протокола от 05.11.2015 N 63) | |||||||||||||||||
15 | Дата постройки | На днище котла - | Построен 27 22.10.89 | 2 | 41 | ||||||||||||
14 | Полоса красного цвета | Вдоль цилиндрической части котла - две полосы шириной 100 мм каждая | 2 | - | |||||||||||||
13 | Текущий ремонт | На днище котла - | ТР 462 10.04.2003 | 2 | 41 | ||||||||||||
12 | Деповской ремонт | На днище котла - | ДР 432 10.04.2004 | 2 | 41 | ||||||||||||
11 | Капитальный ремонт | На днище котла - | КР 27 10.04.98-2010 | 2 | 41 | ||||||||||||
10 | Тара цистерны | На раме - ТАРА 23,2 т | 2 | 42 | |||||||||||||
(в ред. Протокола от 05.11.2015 N 63) | |||||||||||||||||
9 | Гидравлическое испытание запасного резервуара | На запасном резервуаре - | Испытан 17 22.09.2010 | 1 | 41 | ||||||||||||
8 | Цифровой железнодорожный код страны | На раме - [20] | 2 | 52 | |||||||||||||
7 | Цифровой железнодорожный код страны | На котле - 20 | 2 | 52 | |||||||||||||
6 | Табличка завода -изготовителя | На раме - | табличка с указанием даты и места постройки | 2 | - | ||||||||||||
5 | Номер вагона | На раме - ххх хххх | 2 | 6 | |||||||||||||
4 | Номер вагона | На котле - ххх ххххх | 2 | 6 | |||||||||||||
3 | Полезный объем | На котле - 71,7 м3 | 2 | 42 | |||||||||||||
2 | Грузоподъемность | На котле - 59 т | 2 | 42 | |||||||||||||
Буквенный код | На котле | 2 | 52 | ||||||||||||||
N поз. | Наименование знака или надпись | Место нанесения и содержание | Кол. на вагон | Лист | |||||||||||||
Лист | |||||||||||||||||
632-2011 ПКБ ЦВ | 35 | ||||||||||||||||
Изм. | Лист | N докум. | Подп. | Дата | |||||||||||||

32 | Надпись | На днище котла Собственник... | 2 | 53 | ||||||||||||||
31 | Надпись | На котле - | буквенно-цифровой код специальных положений | 2 | 57 | |||||||||||||
30 | Надпись | На котле - код цистерны | 2 | 57 | ||||||||||||||
29 | Табличка СМГС | На котле - табличка | 1 | 61 | ||||||||||||||
(в ред. Протокола от 05.11.2015 N 63) | ||||||||||||||||||
28 | Надпись | На котле - С горки не спускать | 2 | 45 | ||||||||||||||
27 | Трафарет о наличии на вагоне эластомерного поглощающего аппарата | На концевой балке - | ![]() | 2 | 42 | |||||||||||||
(в ред. Протокола от 05.11.2015 N 63) | ||||||||||||||||||
26 | Знак безопасности | 2 | 46 | |||||||||||||||
На котле - | Остерегайся контактного провода | |||||||||||||||||
(в ред. Протокола от 05.11.2015 N 63) | ||||||||||||||||||
25 | Знак маневрового захвата | На раме - | ![]() | 4 | 49 | |||||||||||||
(в ред. Протокола от 05.11.2015 N 63) | ||||||||||||||||||
24 | Полоса черного цвета | Вдоль цилиндрической части котла шириной 500 мм * | 2 | - | ||||||||||||||
23 | Надпись | На днище котла - | Срочный возврат ст. Новороссийск С-КАВ. | 2 | 45 | |||||||||||||
22 | Место для меловых надписей | На котле - | прямоугольник черного цвета 500x600 мм | 2 | - | |||||||||||||
21 | Надпись | На днище котла - ПРОБЕГ | 2 | 41 | ||||||||||||||
20 | Надпись | На котле и на днище котла - МЕТАНОЛ "X" | 2 | 44 | ||||||||||||||
Маркировка литых элементов тележки | На надрессорной балке и рамах боковых - | при кап. рем. | при деп. рем. | 6 | 6 | |||||||||||||
92-122-8-546 | 8-546 | |||||||||||||||||
(в ред. Протокола от 05.11.2015 N 63) | ||||||||||||||||||
18 | Знак проведения текущего ремонта колесной пары | На бирке | ТР XII 11 | 4 | 48 | |||||||||||||
Знак проведения восстановления профиля поверхности катания колес | О1 II 12 | |||||||||||||||||
(п. 18 в ред. Протокола от 05.11.2015 N 63) | ||||||||||||||||||
17 | Средний и капитальный ремонт колесной пары | 4 | 48 | |||||||||||||||
На бирке - | III | 84 | 342 | |||||||||||||||
20 | 0005123482 | |||||||||||||||||
(в ред. Протокола от 05.11.2015 N 63) | ||||||||||||||||||
16 | Надпись | На котле - Приписан ст. Новомосковск МСК | 2 | 51 | ||||||||||||||
(в ред. Протокола от 05.11.2015 N 63) | ||||||||||||||||||
15 | Дата постройки | На днище котла - | Построен 27 22.10.89 | 2 | 41 | |||||||||||||
14 | Надпись | На котле - | дата следующих испытаний (гидравлических, на герметичность) | 2 | 57 | |||||||||||||
13 | Текущий ремонт | На днище котла - | ТР 462 10.04.2008 | 2 | 41 | |||||||||||||
12 | Деповской ремонт | На днище котла - | ДР 432 10.04.2009 | 2 | 41 | |||||||||||||
11 | Капитальный ремонт | На днище котла - | КР 27 10.04.98-2010 | 2 | 41 | |||||||||||||
10 | Тара цистерны | На раме - ТАРА 23,5 т | 2 | 42 | ||||||||||||||
9 | Гидравлическое испытание запасного резервуара | На запасном резервуаре - | Испытан 17 22.09.2005 | 1 | 41 | |||||||||||||
8 | Кодовый номер ж.д. администрации | На раме - [20] | 2 | 52 | ||||||||||||||
7 | Кодовый номер ж.д. администрации | На котле - 20 | 2 | 52 | ||||||||||||||
6 | Табличка завода -изготовителя | На раме - | табличка с указанием даты и места постройки | 2 | - | |||||||||||||
5 | Номер вагона | На раме - ххх хххх | 2 | 6 | ||||||||||||||
4 | Номер вагона | На котле - ххх ххххх | 2 | 6 | ||||||||||||||
3 | Полезный объем | На котле - 71,7 м3 | 2 | 42 | ||||||||||||||
2 | Грузоподъемность | На котле - 57 т | 2 | 42 | ||||||||||||||
Буквенный код | На котле | 2 | 52 | |||||||||||||||
N поз. | Наименование знака или надпись | Место нанесения и содержание | Кол. на вагон | Лист | ||||||||||||||
Лист | ||||||||||||||||||
632-2011 ПКБ ЦВ | 36 | |||||||||||||||||
Изм. | Лист | N докум. | Подп. | Дата | ||||||||||||||

49 | Тип автоматического тормоза | На кронштейнах тормозных цилиндров - М-483 | 3 | 56 | ||||||||||
48 | Технический осмотр | На крайнем днище вагона - | ТО 37 02.11.2018 | 2 | 53 | |||||||||
47 | Надпись | На крайнем днище вагона - СОБСТВЕННИК | 2 | 53 | ||||||||||
46 | Дата последнего периодического ремонта или осмотра | На котле - | REV | 4 | 59 | |||||||||
00 00 00 | +3М | |||||||||||||
45 | Надпись | На котле - 2 (для секции с поводковой частью) | 2 | 5 | ||||||||||
44 | Надпись | На котле - 1 (для секции с пятниковой частью) | 2 | 5 | ||||||||||
43 | Знак габарита | На котле - 1-Т | 4 | - | ||||||||||
42 | Надпись | На полураме с двух сторон - ПОВОДКОВАЯ ЧАСТЬ | 2 | 5 | ||||||||||
41 | Надпись | На полураме с двух сторон - ПЯТНИКОВАЯ ЧАСТЬ | 2 | 5 | ||||||||||
40 | Знак наличия лестницы | На котле | 4 | 56 | ||||||||||
39 | Знак предупреждающий | На котле | 4 | 54 | ||||||||||
38 | Знак место для домкрата | На полурамах с двух сторон (кроме полурамы, оборудованной поводковой частью узла сочленения) | 6 | 42 | ||||||||||
37 | Знак приватного вагона | На котле, на раме - Р | 4 | 54 | ||||||||||
36 | Знак проведения текущего ремонта колесной пары | ![]() | 6 | 48 | ||||||||||
Знак проведения восстановления профиля поверхности катания колес | ||||||||||||||
35 | Надпись | На котле - С горки не спускать | 4 | 45 | ||||||||||
34 | Надпись | На котле - ПРОБЕГ | 2 | 41 | ||||||||||
33 | Надпись | На котле - ОТПУСК ТОРМОЗ | 2 | 43 | ||||||||||
32 | Надпись | На котле - дата следующих испытаний (гидравлических, на герметичность) | 4 | 57 | ||||||||||
31 | Надпись | На котле - буквенно-цифровой код специальных положений | 4 | 57 | ||||||||||
30 | Надпись | На котле - Код цистерны (код СМГС) | 4 | 57 | ||||||||||
29 | Табличка СМГС | На котле | 2 | 61 | ||||||||||
28 | Трафарет о наличии на вагоне эластомерного поглощающего аппарата | На концевой балке - ![]() | 2 | 42 | ||||||||||
27 | Трафарет наименования груза | На обечайках и крайних днищах вагона | 6 | 5 | ||||||||||
26 | Трафарет о сроке следующей периодической или промежуточной проверки (освидетельствования) котла цистерны. | На котле - месяц, год ![]() | 4 | 56 | ||||||||||
(в ред. Протокола от 22.11.2021 N 75) | ||||||||||||||
25 | Маркировка литых элементов тележки | На надрессорной балке и рамах боковых - | 9 | 6 | ||||||||||
при кап. рем. ![]() | при деп. рем. | |||||||||||||
24 | Надпись | На крайнем днище вагона - | Срочный возврат ст. Воскресенск МСК | 2 | 45 | |||||||||
23 | Место для меловых надписей | На котле - прямоугольник черного цвета 500x600 мм | 4 | - | ||||||||||
22 | Знак безопасности | На котле - ОСТЕРЕГАЙСЯ КОНТАКТНОГО ПРОВОДА | 4 | 46 | ||||||||||
21 | Надпись | На котле секции, оборудованной авторежимом, с двух сторон - АВТОРЕЖИМ | 2 | 5 | ||||||||||
20 | Знак маневрового захвата | На полураме с двух сторон - ![]() | 4 | 49 | ||||||||||
19 | Средний и капитальный ремонт колесной пары | На бирке - | ![]() | 6 | 48 | |||||||||
18 | Дата постройки вагона | На крайнем днище вагона - | Построен 1546 02.11.2017 | 2 | 41 | |||||||||
17 | Полоса красного цвета | Вдоль цилиндрической части котла - полоса шириной 300 мм | 4 | - | ||||||||||
16 | Текущий ремонт | На крайнем днище вагона - | ТР 1546 02.11.2018 | 2 | 41 | |||||||||
15 | Деповской ремонт | На котле - | ДР 1546 02.11.2025 | 2 | 41 | |||||||||
14 | Капитальный ремонт | На котле - | КР 1546 02.11.2033 | 2 | 41 | |||||||||
13 | Тара вагона | На полураме - 58 500 кг | 2 | 58 | ||||||||||
12 | Гидравлическое испытание запасного резервуара | На запасном резервуаре - | Испытан 17 02.10.2017 | 1 | 41 | |||||||||
11 | Цифровой железнодорожный код страны | На полураме - [20] | 2 | 52 | ||||||||||
10 | Цифровой железнодорожный код страны | На котле - 20 | 2 | 52 | ||||||||||
9 | Табличка завода-изготовителя | На полураме - табличка с указанием даты и места постройки | 2 | - | ||||||||||
8 | Номер вагона | На полураме XXX XXXXX | 2 | 6 | ||||||||||
7 | Номер вагона | На котле XXX XXXXX | 2 | 6 | ||||||||||
6 | Надпись | На котле - Емк. общ. 163.1 м3 | 2 | - | ||||||||||
5 | Объем котла цистерны | На котле - 81.550 I | 4 | 58 | ||||||||||
4 | Надпись | На котле - Наполн. общ. 138,64 м3 | 2 | - | ||||||||||
3 | Полезный объем | На котле - 69,32 м3 | 4 | 42 | ||||||||||
2 | Грузоподъемность | На котле - 90,0 т | 2 | 58 | ||||||||||
1 | Буквенный код | На котле | 2 | 52 | ||||||||||
N поз. | Наименование знака или надписи | Место нанесения и содержание | Кол. на вагон | Лист | ||||||||||
632-2011 ПКБ ЦВ | Лист | |||||||||||||
36а | ||||||||||||||
Изм. | Лист | N докум. | Подп. | Дата | ||||||||||

47 | Тип автоматического тормоза | На кронштейнах тормозных цилиндров - М-483 | 3 | 56 | |||||||
46 | Технический осмотр | На крайнем днище вагона - ТО 37 02.11.2018 | 2 | 53 | |||||||
45 | Надпись | На котла - СОБСТВЕННИК | 2 | 53 | |||||||
44 | Дата последнего периодического ремонта или осмотра | На котле - | 4 | 59 | |||||||
REV | |||||||||||
00 00 00 | +3М | ||||||||||
Надпись | На котле - 2 (для секции с паводковой частью) | 2 | 5 | ||||||||
Надпись | На котла - 1 (для секции с пятниковой частью) | 2 | 5 | ||||||||
Знак габарита | На котле - 1-Т | 4 | 5 | ||||||||
Надпись | На полураме с двух сторон - ПОВОДКОВАЯ ЧАСТЬ | 2 | 5 | ||||||||
Надпись | На полураме с двух сторон - ПЯТНИКОВАЯ ЧАСТЬ | 2 | 5 | ||||||||
38 | Знак наличия лестницы | На котле | 4 | 56 | |||||||
37 | Знак предупреждающий | На котле | 4 | 54 | |||||||
36 | Знак место для домкрата | На полурамах с двух сторон (кроме полурамы, оборудованной поводковой частью узла сочленения) | 6 | 42 | |||||||
35 | Знак приватного вагона | На котле, на раме - Р | 4 | 54 | |||||||
34 | Знак проведения текущего ремонта колесной пары | На бирке - ![]() | 6 | 48 | |||||||
Знак проведения восстановления профиля поверхности катания колес | |||||||||||
33 | Надпись | На крайнем днище вагона - ПРОБЕГ | 2 | 41 | |||||||
32 | Надпись | На котле - ОТПУСК ТОРМОЗ | 2 | 43 | |||||||
31 | Надпись | На котле - дата следующих испытаний (гидравлических, на герметичность) | 4 | 57 | |||||||
30 | Надпись | На котле - Код цистерны (код СМГС) | 4 | 57 | |||||||
29 | Табличка СМГС | На котле | 2 | 61 | |||||||
28 | Трафарет о наличии на вагоне эластомерного поглощающего аппарата | На концевой балке - ![]() | 2 | 42 | |||||||
27 | Надпись | На котле - БЕНЗИН "С" | 4 | 44 | |||||||
26 | Трафарет о сроке следующей периодической или промежуточной проверки (освидетельствования) котла цистерны. | На котле - месяц, год ![]() | 4 | 56 | |||||||
(в ред. Протокола от 22.11.2021 N 75) | |||||||||||
25 | Маркировка литых элементов тележки | На надрессорной балке и рамах боковых - | 9 | 6 | |||||||
при кап. рем. ![]() | при деп. рем. | ||||||||||
24 | Надпись | На крайнем днище вагона - Срочный возврат ст Воскресенск МСК | 2 | 45 | |||||||
23 | Место для меловых надписей | На котле - прямоугольник черного цвета 500 x 600 мм | 4 | - | |||||||
22 | Знак безопасности | На котле - ОСТЕРЕГАЙСЯ КОНТАКТНОГО ПРОВОДА | 4 | 46 | |||||||
21 | Надпись | На раме секции, оборудованной авторежимом, с двух сторон - АВТОРЕЖИМ | 2 | 5 | |||||||
20 | Знак маневрового захвата | На полураме с двух сторон - | 4 | 49 | |||||||
19 | Средний и капитальный ремонт колесной пары | На бирке - ![]() | 6 | 48 | |||||||
18 | Дата постройки вагона | На крайнем днище вагона - Построен 1546 02.11.2017 | 2 | 41 | |||||||
17 | Место нанесения логотипа | На котле - на поле, свободном от основных надписей не более (3500 * 1500) мм | 4 | - | |||||||
16 | Текущий ремонт | На крайнем днище вагона - ТР 1546 02.11.2018 | 2 | 41 | |||||||
15 | Деповской ремонт | На крайнем днище вагона - ДР 1546 02.11.2025 | 2 | 41 | |||||||
14 | Капитальный ремонт | На крайнем днище вагона - КР 1546 02.11.2033 | 2 | 41 | |||||||
13 | Тара вагона | На полураме - 41 500 кг | 2 | 58 | |||||||
12 | Гидравлическое испытание запасного резервуара | На запасном резервуаре - Испытан 17 02.10.2017 | 1 | 41 | |||||||
11 | Цифровой железнодорожный код страны | На полураме - [20] | 2 | 52 | |||||||
Цифровой железнодорожный код страны | На котле - 20 | 2 | 52 | ||||||||
9 | Табличка завода-изготовителя | На полураме - табличка с указанием даты и места постройки | 2 | - | |||||||
8 | Номер вагона | На полураме XXX XXXXX | 2 | 6 | |||||||
Номер вагона | На котле XXX XXXXX | 2 | 6 | ||||||||
Надпись | На котле - Емк. общ. 160 м3 | 2 | 5 | ||||||||
5 | Объем котла цистерны | На котле - 80000 I | 4 | 58 | |||||||
Надпись | На котле - Закрой крышку сливного прибора ОГНЕОПАСНО | 2 | 5 | ||||||||
Калибровочный тип котла | На котле - цифра калибровки | 2 | 5 | ||||||||
2 | Грузоподъемность | На котле - 108,0 т | 2 | 58 | |||||||
Буквенный код | На котле | 2 | 52 | ||||||||
N поз. | Наименование знака или надписи | Место нанесения и содержание | Кол на вагон | Лист | |||||||
Лист | |||||||||||
36б | |||||||||||
Изм. | Лист | N докум. | Подп | ||||||||

22 | Надпись | На кузове - Питьевая вода | 2 | 5 | ||||||||||||
Надпись | На раме вагона - Авторежим | 2 | 5 | |||||||||||||
20 | Надпись | На кузове - При маневрах не толкать | 2 | 45 | ||||||||||||
(в ред. Протокола от 05.11.2015 N 63) | ||||||||||||||||
19 | Место для меловых надписей | На кузове - | прямоугольник черного цвета 500x600 мм | 2 | - | |||||||||||
Знак безопасности | 2 | 46 | ||||||||||||||
На торцевой стене - | Остерегайся контактного провода | |||||||||||||||
17 | Знак электрического напряжения | На торцевой стене - | ![]() | 2 | 46 | |||||||||||
16 | Знак проведения текущего ремонта колесной пары | На бирке | ТР XII 11 | 4 | 48 | |||||||||||
Знак проведения восстановления профиля поверхности катания колес | О1 II 12 | |||||||||||||||
(п. 16 в ред. Протокола от 05.11.2015 N 63) | ||||||||||||||||
15 | Условное обозначение и код дороги приписки | На кузове - | Приписан ВЧД "Подмосковная" МСК | 4 | 51 | |||||||||||
(в ред. Протокола от 05.11.2015 N 63) | ||||||||||||||||
14 | Средний и капитальный ремонт колесной пары | 4 | 48 | |||||||||||||
На бирке - | III | 84 | 342 | |||||||||||||
20 | 0005123482 | |||||||||||||||
13 | Номер вагона, тип и номер секции | На кузове - в круге ![]() | 2 | - | ||||||||||||
![]() | ||||||||||||||||
12 | Деповской ремонт | На кузове - | ДР 432 10.04.99-2001 | 2 | 50 | |||||||||||
11 | Капитальный ремонт | На кузове - | КР 17 10.04.2004 | 2 | 50 | |||||||||||
10 | Гидравлическое испытание запасного резервуара | На запасном резервуаре - | ИСПЫТАН 135 22.12.2003 | 1 | 41 | |||||||||||
Тара вагона | На кузове - | Масса с экипировкой 65 т. Масса без экипировки 53,75 т | 2 | 5 6 | ||||||||||||
8 | Дата постройки | На кузове - | Построен ВСЗ з-д Дессау 01.07.87 | 2 | 41 | |||||||||||
7 | Табличка завода -изготовителя | На раме - | табличка с указанием даты и места постройки | 2 | - | |||||||||||
6 | Цифровой железнодорожный код страны | На раме - [20] | 2 | 52 | ||||||||||||
5 | Цифровой железнодорожный код страны | На кузове - 20 | 2 | 52 | ||||||||||||
4 | База вагона | На кузове - 120 м | 2 | 51 | ||||||||||||
3 | Номер вагона | На раме - ххх ххххх | 2 | 6 | ||||||||||||
2 | Номер вагона | На кузове - ххх ххххх | 2 | 6 | ||||||||||||
Буквенный код | На кузове - | 2 | 52 | |||||||||||||
N поз. | Наименование знака или надписи | Место нанесения и содержание | Кол. на вагон | Лист | ||||||||||||
Лист | ||||||||||||||||
632-2011 ПКБ ЦВ | 37 | |||||||||||||||
Изм. | Лист | N докум. | Подп. | Дата | ||||||||||||

26 | Надпись | На кузове - ПРОБЕГ | 2 | 41 | ||||||||||||
Знак крюка для перевозки охлажденного мяса | На кузове - | ![]() | 2 | 49 | ||||||||||||
24 | Знак длиннобазности | На кузове - (ДБ) | 2 | 49 | ||||||||||||
Полезный объем и площадь вагона | На кузове - полезный объем 100 м3 площадь погрузочного помещения 45,5 м2 | 2 | 5 6 | |||||||||||||
22 | Тара вагона | На кузове - ТАРА 39,2 т | 2 | 41 | ||||||||||||
21 | Надпись | На кузове - При маневрах не толкать | 2 | 45 | ||||||||||||
(в ред. Протокола от 05.11.2015 N 63) | ||||||||||||||||
20 | Условное обозначение и код дороги приписки | На кузове - | Приписан ВЧД "Подмосковная" МСК | 2 | 51 | |||||||||||
(в ред. Протокола от 05.11.2015 N 63) | ||||||||||||||||
19 | Место для меловых надписей | На кузове - | прямоугольник черного цвета 500x600 мм | 2 | - | |||||||||||
Знак безопасности | 2 | 46 | ||||||||||||||
На торцевой - | Остерегайся контактного провода | |||||||||||||||
17 | Знак электрического напряжения | На торцевой стене - | ![]() | 2 | 46 | |||||||||||
16 | Знак проведения текущего ремонта колесной пары | На бирке | ТР XII 11 | 4 | 48 | |||||||||||
Знак проведения восстановления профиля поверхности катания колес | О1 II 12 | |||||||||||||||
(п. 16 в ред. Протокола от 05.11.2015 N 63) | ||||||||||||||||
Надпись | На раме кузова - Авторежим | 2 | 5 | |||||||||||||
14 | Средний и капитальный ремонт колесной пары | 8 | 48 | |||||||||||||
На бирке - | III | 84 | 342 | |||||||||||||
20 | 0005123482 | |||||||||||||||
(в ред. Протокола от 05.11.2015 N 63) | ||||||||||||||||
13 | Номер вагона, тип и номер секции | На кузове - в круге 400 мм | ![]() | 2 | 44 | |||||||||||
12 | Деповской ремонт | На кузове - | ДР 432 10.04.99-2001 | 2 | 50 | |||||||||||
11 | Капитальный ремонт | На кузове - | КР 17 10.04.2004 | 2 | 50 | |||||||||||
(в ред. Протокола от 05.11.2015 N 63) | ||||||||||||||||
10 | Гидравлическое испытание запасного резервуара | На запасном резервуаре - | ИСПЫТАН 135 22.12.2003 | 1 | 41 | |||||||||||
Надпись | На кузове - | Балки для подвески туш - 32 шт Крючья - 230 шт | 2 | 51 | ||||||||||||
(в ред. Протокола от 05.11.2015 N 63) | ||||||||||||||||
8 | Дата постройки | На кузове - | Построен ВСЗ з-д Дессау 01.07.87 | 2 | 41 | |||||||||||
7 | Табличка завода -изготовителя | На раме - | табличка с указанием даты и места постройки | 2 | - | |||||||||||
6 | Цифровой железнодорожный код страны | На раме - [20] | 2 | 52 | ||||||||||||
5 | Цифровой железнодорожный код страны | На кузове - 20 | 2 | 52 | ||||||||||||
(в ред. Протокола от 05.11.2015 N 63) | ||||||||||||||||
4 | Грузоподъемность | На кузове - 46 т | 2 | 42 | ||||||||||||
3 | Номер вагона | На раме - ххх ххххх | 2 | 6 | ||||||||||||
2 | Номер вагона | На кузове - ххх ххххх | 2 | 6 | ||||||||||||
Буквенный код | На кузове | 2 | 52 | |||||||||||||
N поз. | Наименование знака или надписи | Место нанесения и содержание | Кол. на вагон | Лист | ||||||||||||
Лист | ||||||||||||||||
632-2011 ПКБ ЦВ | 38 | |||||||||||||||
Изм. | Лист | N докум. | Подп. | Дата | ||||||||||||

22 | Знак длиннобазности | На кузове - (ДБ) | 2 | 49 | ||||||||||||
Полезный объем и площадь вагона | На кузове - | полезный объем 100 м3 площадь погрузочного помещения 45,5 м2 | 2 | 5 6 | ||||||||||||
20 | Надпись | На кузове - При маневрах не толкать | 2 | 45 | ||||||||||||
(в ред. Протокола от 05.11.2015 N 63) | ||||||||||||||||
19 | Место для меловых надписей | На кузове - | прямоугольник черного цвета 500x600 мм | - | - | |||||||||||
Тара вагона | На кузове - | Масса с экипировкой 46,0 т. Масса без экипировки 42,68 т | 2 | 5 6 | ||||||||||||
17 | Знак электрического напряжения | На торцевой стене - | ![]() | 2 | 46 | |||||||||||
16 | Знак проведения текущего ремонта колесной пары | На бирке | ТР XII 11 | 4 | 48 | |||||||||||
Знак проведения восстановления профиля поверхности катания колес | О1 II 12 | |||||||||||||||
(п. 16 в ред. Протокола от 05.11.2015 N 63) | ||||||||||||||||
15 | Надпись | На кузове - ПРОБЕГ | 2 | 41 | ||||||||||||
14 | Средний и капитальный ремонт колесной пары | 4 | 48 | |||||||||||||
На бирке - | III | 84 | 342 | |||||||||||||
20 | 0005123482 | |||||||||||||||
Знак крюка для перевозки охлажденного мяса | На кузове - | ![]() | 2 | 49 | ||||||||||||
12 | Деповской ремонт | На кузове - | ДР 432 10.04.99-2001 | 2 | 50 | |||||||||||
11 | Капитальный ремонт | На кузове - | КР 17 10.04.2004 | 2 | 50 | |||||||||||
10 | Гидравлическое испытание запасного резервуара | На запасном резервуаре - | ИСПЫТАН 135 22.12.2003 | 1 | 41 | |||||||||||
Надпись | На кузове - | Балки для подвески туш - 32 шт. Крючья - 230 шт | 2 | 51 | ||||||||||||
(в ред. Протокола от 05.11.2015 N 63) | ||||||||||||||||
8 | Дата постройки | На кузове - | Построен ВСЗ з-д Дессау 01.07.87 | 2 | 41 | |||||||||||
7 | Табличка завода -изготовителя | На раме - | табличка с указанием даты и места постройки | 2 | - | |||||||||||
6 | Цифровой железнодорожный код страны | На раме - [20] | 2 | 52 | ||||||||||||
5 | Цифровой железнодорожный код страны | На кузове - 20 | 2 | 52 | ||||||||||||
4 | Грузоподъемность | На кузове - 40 т | 2 | 42 | ||||||||||||
3 | Номер вагона | На раме - ххх ххххх | 2 | 6 | ||||||||||||
2 | Номер вагона | На кузове - ххх ххххх | 6 | |||||||||||||
Буквенный код | На кузове | 2 | 52 | |||||||||||||
N поз. | Наименование знака или надписи | Место нанесения и содержание | Кол. на вагон | Лист | ||||||||||||
Лист | ||||||||||||||||
632-2011 ПКБ ЦВ | 39 | |||||||||||||||
Изм. | Лист | N докум. | Подп. | Дата | ||||||||||||
Лист | ||||||
632-2011 ПКБ ЦВ | 40 | |||||
Изм. | Лист | N докум. | Подп. | Дата |

10 | Плановый ремонт ТР-3 с датой проведения | 4 | Образец | |||||
9 | Плановый ремонт в объеме ТР-3 | 4 | Образец | |||||
8 | Пробег | 4 | Образец | |||||
7 | Срок службы до .... | 4 | Образец | |||||
6 | Капитальный ремонт с продлением срока службы | 4 | Образец | |||||
5 | Гидравлическое испытание запасного резервуара | 7 | Образец | |||||
4 | Дата постройки вагона | 4 | Образец | |||||
3 | Текущий ремонт | 6 | Образец | |||||
2 | Деповской ремонт | 4 | Образец | |||||
1 | Капитальный ремонт | 4 | Образец | |||||
N поз. | НАИМЕНОВАНИЕ | Шрифт N | Примечания | |||||
Лист | ||||||||
41 | ||||||||
Изм | Лист | N докум. | Подп. | Дата | ||||
(лист 41 в ред. Протокола от 08.06.2021 N 74) | ||||||||


8 | Трафарет о наличии на вагоне сливного прибора с 3-мя степенями защиты | Образец | |||||
7 | Трафарет о наличии на вагоне эластомерного поглощающего аппарата ![]() | Образец | |||||
(в ред. Протокола от 05.11.2015 N 63) | |||||||
6 | Надпись об опасности груза | Образец | |||||
5 | Наименование перевозимого груза | Образец | |||||
4 | Знак - место для домкрата | Образец | |||||
3 | Тара вагона | Образец | |||||
2 | Полезный объем | Образец | |||||
1 | Грузоподъемность | Образец | |||||
N поз. | НАИМЕНОВАНИЕ | Примечания | |||||
Лист | |||||||
632-2011 ПКБ ЦВ | 42 | ||||||
Изм. | Лист | N докум. | Подп. | Дата | |||

Лист | ||||||
632-2011 ПКБ ЦВ | 43 | |||||
Изм. | Лист | N докум. | Подп. | Дата |

6 | Надпись о величине расчетного нажатия колодки и давления в тормозном цилиндре вагона с массой тары менее 19 т | Образец | |||||
5 | Надпись о величине расчетного нажатия колодки и давлении в тормозном цилиндре порожнего вагона (для вагонов с тарой от 27 до 45 т) | Образец | |||||
4 | Трафарет об исключении вагона из инвентаря | Образец | |||||
3 | Надпись о закрытии люков полувагона | Образец | |||||
2 | Наименование перевозимого груза | Образец | |||||
1 | Номер вагона в составе секции, тип секции, порядковый номер рефрижераторной секции | Образец | |||||
N поз. | НАИМЕНОВАНИЕ | Примечания | |||||
Лист | |||||||
44 | |||||||
Изм. | Лист | N докум. | Подп. | Дата | |||
(лист 44 в ред. Протокола от 22.11.2021 N 75) | |||||||

Лист | ||||||
632-2011 ПКБ ЦВ | 45 | |||||
Изм. | Лист | N докум. | Подп. | Дата |

Лист | ||||||
632-2011 ПКБ ЦВ | 46 | |||||
Изм. | Лист | N докум. | Подп. | Дата |

Лист | ||||||
632-2011 ПКБ ЦВ | 47 | |||||
Изм. | Лист | N докум. | Подп. | Дата |

При текущем ремонте колесных пар | Образец | ||||||
1 | При среднем ремонте колесных пар | Образец | |||||
N поз. | НАИМЕНОВАНИЕ | Примечания | |||||
Лист | |||||||
632-2011 ПКБ ЦВ | 48 | ||||||
Изм. | Лист | N докум. | Подп. | Дата | |||
(лист 48 в ред. Протокола от 23.06.2023 N 78) | |||||||


3 | Знак - крючья для перевозки охлажденного мяса | Образец | |||||
2 | Знак маневрового захвата | Образец | |||||
1 | Знак длиннобазности вагона | Образец | |||||
N поз. | НАИМЕНОВАНИЕ | Примечания | |||||
Лист | |||||||
632-2011 ПКБ ЦВ | 49 | ||||||
Изм. | Лист | N докум. | Подп. | Дата | |||


2 | Надпись о производстве ремонта | Образец | |||||
1 | Надпись о производстве ремонта | Образец | |||||
N поз. | НАИМЕНОВАНИЕ | Примечания | |||||
Лист | |||||||
632-2011 ПКБ ЦВ | 50 | ||||||
Изм. | Лист | N докум. | Подп. | Дата | |||

Лист | ||||||
632-2011 ПКБ ЦВ | 51 | |||||
Изм. | Лист | N докум. | Подп. | Дата |


3 | Знаки и надписи, определяющие дорогу собственницу вагона | Образец | |||||
2 | Цифровой железнодорожный код страны - собственницы на раме вагона | Образец | |||||
1 | Цифровой железнодорожный код страны - собственницы на кузове вагона | Образец | |||||
N поз. | НАИМЕНОВАНИЕ | Примечания | |||||
Лист | |||||||
632-2011 ПКБ ЦВ | 52 | ||||||
Изм. | Лист | N докум. | Подп. | Дата | |||


3 | Технический осмотр собственных грузовых вагонов | Образец | |||||
2 | Надпись на арендованном грузовом вагоне | Образец | |||||
1 | Надпись на собственном грузовом вагоне | Образец | |||||
N поз. | НАИМЕНОВАНИЕ | Примечания | |||||
Лист | |||||||
632-2011 ПКБ ЦВ | 53 | ||||||
Изм. | Лист | N докум. | Подп. | Дата | |||



4 | Знак предупреждающий | Образец | |||||||||
(п. 4 введен Протоколом от 08.06.2021 N 74) | |||||||||||
| |||||||||||
4 | Знак предупреждающий | Образец | |||||||||
(п. 4 введен Извещением от 20.11.2013 N 32 ЦВ 27-2013) | |||||||||||
2 | Знак приватного вагона на раме | Образец | |||||||||
1 | Знак приватного вагона на кузове | Образец | |||||||||
N поз. | НАИМЕНОВАНИЕ | Примечания | |||||||||
Лист | |||||||||||
632-2011 ПКБ ЦВ | 54 | ||||||||||
Изм. | Лист | N докум. | Подп. | Дата | |||||||
Лист | ||||||
632-2011 ПКБ ЦВ | 55 | |||||
Изм. | Лист | N докум. | Подп. | Дата |

6 | Роспуск с сортировочных горок с меньшим от указанного под знаком радиуса кривой, соответственно закругления, запрещен | Образец | |||||
5 | Дата следующей промежуточной проверки (освидетельствования) котла цистерны | Образец | |||||
4 | Дата следующей периодической проверки (освидетельствования котла цистерны | Образец | |||||
3 | Знак на вагонах на тележках с расстоянием между осями внутренних колесных пар больше чем 1400 мм, которые могут проезжать через сортировочные горки | Образец | |||||
2 | Знак наличия на вагоне колеи 1520 мм автоматических раздвижных колесных пар | Образец | |||||
1 | Тип автоматического тормоза | Образец | |||||
N поз. | НАИМЕНОВАНИЕ | Примечания | |||||
632-2011 ПКБ ЦВ | Лист | ||||||
56 | |||||||
Изм. | Лист | N докум. | Подп. | Дата | |||
(лист 56 в ред. Протокола от 22.11.2021 N 75) | |||||||

4 | Буквенно-цифровой код специальных положений (дополнительная маркировка в соответствии с Приложением 2 к СМГС) | Образец | |||||
3 | Дата следующих испытаний гидравлических, на герметичность (дополнительная маркировка в соответствии с Приложением 2 к СМГС) | Образец | |||||
2 | Код цистерны (дополнительная маркировка в соответствии с Приложением 2 к СМГС) | Образец | |||||
1 | Знак - транзит вагона с дополнительным знаком габарита | Образец | |||||
N поз. | НАИМЕНОВАНИЕ | Примечания | |||||
Лист | |||||||
632-2011 ПКБ ЦВ | 57 | ||||||
Изм. | Лист | N докум. | Подп. | Дата | |||

5 | Объем котла цистерны в литрах | Образец | |||||
4 <*> | Полезная длина пола вагона-платформы | Образец | |||||
3 | Грузоподъемность вагона | Образец | |||||
2 | Объем котла цистерны в метрах кубических | Образец | |||||
1 | Тара вагона | Образец | |||||
N поз. | НАИМЕНОВАНИЕ | Примечание | |||||
632-2011 ПКБ ЦВ | Лист | ||||||
58 | |||||||
Изм. | Лист | N докум. | Подп. | Дата | |||
(лист 58 в ред. Протокола от 22.11.2021 N 75) | |||||||


Наличие на вагоне съемных приспособлений | Надпись | ||||||
Дата последнего периодического ремонта или осмотра - на продольной балке рамы | Трафарет | ||||||
Дата последнего периодического ремонта или осмотра - на боковой стене кузова | Трафарет | ||||||
N поз. | НАИМЕНОВАНИЕ | Примечания | |||||
Лист | |||||||
632-2011 ПКБ ЦВ | 59 | ||||||
Изм. | Лист | N докум. | Подп. | Дата | |||


2 | Трафарет "ВАГОН ОБОРУДОВАН СМСК" | Образец | |||||
1 | Знак принадлежности вагона к Единому парку | Образец | |||||
N поз. | НАИМЕНОВАНИЕ | Примечания | |||||
Лист | |||||||
632-2011 ПКБ ЦВ | 60 | ||||||
Изм. | Лист | N докум. | Подп. | Дата | |||
(лист 60 в ред. Протокола от 20.11.2023 N 79) | |||||||
Список изменяющих документов |
Наименование железных дорог | Коды железнодорожных администраций | |
Буквенное обозначение | Цифровое обозначение | |
Азербайджанские железные дороги | А3 | 57 |
Белорусская железная дорога | БЧ | 21 |
Грузинская железная дорога | ГР | 28 |
Железная дорога Молдовы | ЧФМ | 23 |
Казахская железная дорога | КЗХ | 27 |
Кыргызская железная дорога | КРГ | 59 |
Латвийская железная дорога | ЛДЗ | 25 |
Литовские железные дороги | LTG | 24 |
(в ред. Протокола от 20.11.2023 N 79) | ||
Российские железные дороги | РЖД | 20 |
Таджикская железная дорога | ТДЖ | 66 |
Туркменская железная дорога | ТРК | 67 |
Узбекская железная дорога | УТИ | 29 |
Украинские железные дороги | УЗ | 22 |
Эстонская железная дорога | ЭВР | 26 |
Южно-Кавказская железная дорога | АРМ | 58 |
Список изменяющих документов |
Наименование дороги | Сокращенное наименование железной дороги или трафарет |
Белорусская железная дорога | БЧ/ВС |
Болгарские железные дороги | БДЖ/BDZ |
Венгерские железные дороги | МАВ/MAV |
Железные дороги Исламской Республики ИРАН | РАИ/RAI |
Железные дороги Казахстана | КЗХ/KZH |
Корейские железные дороги | ЗЧ/ZC |
Кыргызская железная дорога | КРГ/KRG |
Китайские железные дороги | КЖД/KZD |
Латвийская железная дорога | ДЗ/LDZ |
Литовские железные дороги | LTG |
(в ред. Протокола от 20.11.2023 N 79) | |
Железная дорога Молдовы | ЧФМ/CFM |
Монгольские железные дороги | MTЗ/MTZ |
Польские железные дороги | ПКП/РКР |
Румынские железные дороги | ЧФР/CFR |
Российские железные дороги | РЖД/RZD |
Словацкие железные дороги | CK-3CCKЦ/SK-ZSSK |
Таджикская железная дорога | ТДЖ/TDZ |
Узбекская железная дорога | И/UTI |
Украинские железные дороги | УЗ/UZ |
Эстонская железная дорога | ЭВР/EVR |
Лист | ||||||
632-2011 ПКБ ЦВ | ||||||
Изм. | Лист | N докум. | Подп. | Дата |
Список изменяющих документов |

Лист | ||||||
632-2011 ПКБ ЦВ | ||||||
Изм. | Лист | N докум. | Подп. | Дата |
Изм. | Номера Листов | Всего листов в докум | N докум | Входящий N сопроводи-тельного документа и дата | Подпись | Дата | |||||||
изме-нен-ных | заме-нен-ных | новых | анну-лиро-ван-ных | ||||||||||
Лист | |||||||||||||
632-2011 ПКБ ЦВ | |||||||||||||
Изм. | Лист | N докум. | Подп. | Дата | |||||||||