Скачать СП 31-101-97 Проектирование и строительство кровель. Свод правил к ТСН КР-97 МОДата актуализации: 01.01.2021
|
| Обозначение: | СП 31-101-97 |
| Обозначение англ: | SP 31-101-97 |
| Статус: | не действует |
| Название рус.: | Проектирование и строительство кровель. Свод правил к ТСН КР-97 МО |
| Название англ.: | Roofing Design and Construction - TSN KR-97 (Ministry of Defense) Handbook |
| Дата добавления в базу: | 01.09.2013 |
| Дата актуализации: | 01.01.2021 |
| Дата введения: | 30.03.1998 |
| Дата окончания срока действия: | 04.08.2008 |
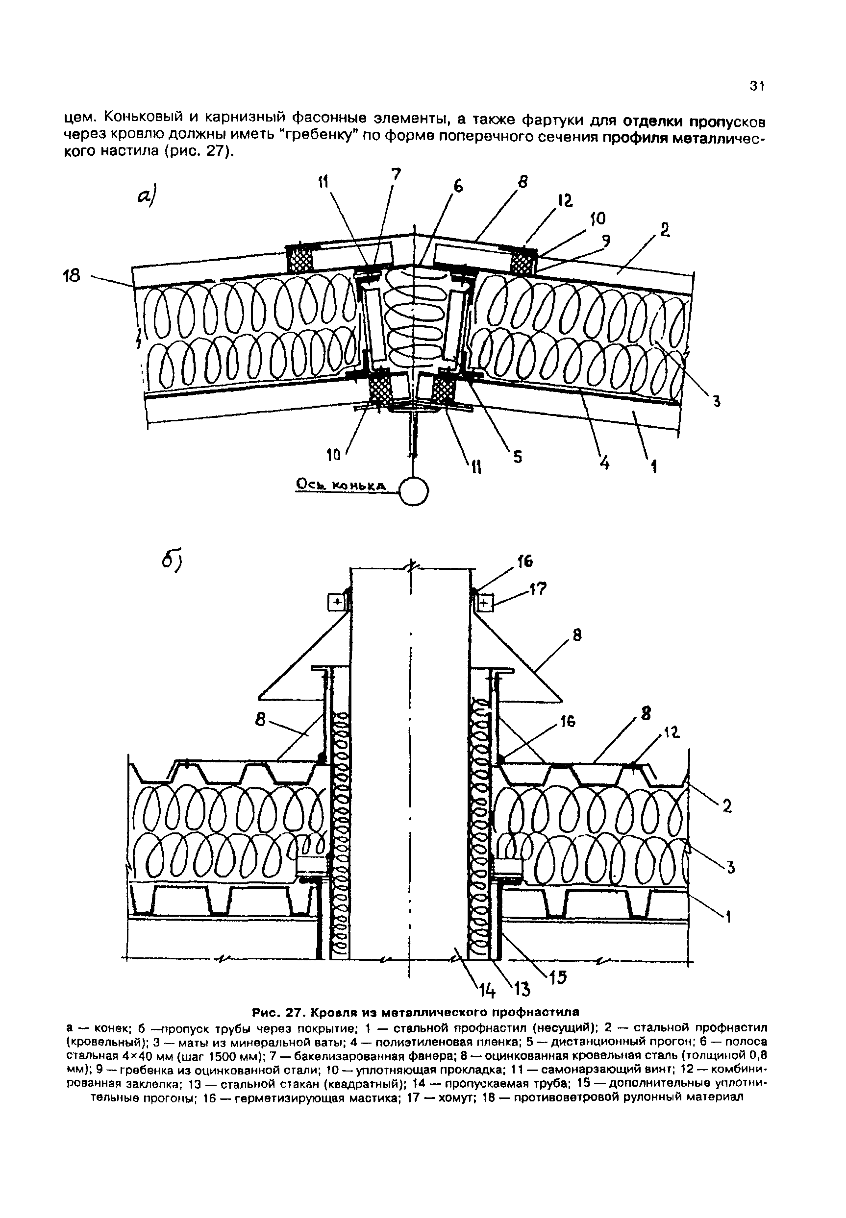
| Оглавление: | Введение 1. Общие положения 2. Материалы, применяемые для устройства кровель 3. Кровли рулонные и мастичные 3.1. Общая часть 3.2. Конструкции водоизоляционного ковра 3.3. Устройство основания под водоизоляционный ковер 3.4. Устройство водоизоляционного ковра а) Устройство водоизоляционного ковра из битумных и битумно-полимерных материалов, наклеиваемых на мастиках б) Устройство водоизоляционного ковра из битумно-полимерных наплавляемых рулонных материалов в) Устройство водоизоляционного ковра из эластомерных рулонных материалов г) Устройство водоизоляционного ковра из мастичных материалов с армирующими прокладками 3.5. Устройство защитного слоя 4. Кровли из асбестоцементных волнистых листов 4.1. Общая часть 4.2. Устройство основания 4.3. Устройство водоизоляционного слоя 5. Кровли из мелкоштучных материалов 5.1. Общая часть 5.2. Устройство основания 5.3. Устройство водоизоляционного слоя а) из кровельных асбестоцементных плиток б) из битумно-полимерных плиток (типа "шинглс") в) из черепицы 6. Кровли из листовой стали, меди, металлического профнастила и металлочерепицы 6.1. Общая часть 6.2. Устройство основания 6.3. Устройство водоизоляционного слоя а) из листовой стали и меди б) из металлического профнастила в) из металлочерепицы 7. Кровли из железобетонных панелей локового сечения (безрулонные крыши) 8. Основные правила техники безопасности 9. Приложения Приложение 1 Приложение 2 |
| Разработан: | АО ЦНИИпромзданий ООО ТехноНИКОЛЬКровля Лицензионно-экспертное управление Администрации Московской области |
| Утверждён: | 30.03.1998 Правительство Московской области (Government of the Moscow Region 28/9) |
| Издан: | Минмособлстрой (1998 г. ) |
| Нормативные ссылки: |




















































