Скачать Пособие к СНиП II-23-81* Пособие по проектированию стальных конструкцийДата актуализации: 01.01.2021
|
| Обозначение: | Пособие к СНиП II-23-81* |
| Обозначение англ: | SNIP Handbook II-23-81* |
| Статус: | действует |
| Название рус.: | Пособие по проектированию стальных конструкций |
| Название англ.: | Design Manual for Steel Structures |
| Дата добавления в базу: | 01.09.2013 |
| Дата актуализации: | 01.01.2021 |
| Дата введения: | 15.08.1985 |
| Область применения: | Для инженерно-технических работников проектных организаций, а также для инженеров, научных работников, специализирующихся в области строительных металлических конструкций, и студентов строительных факультетов. |
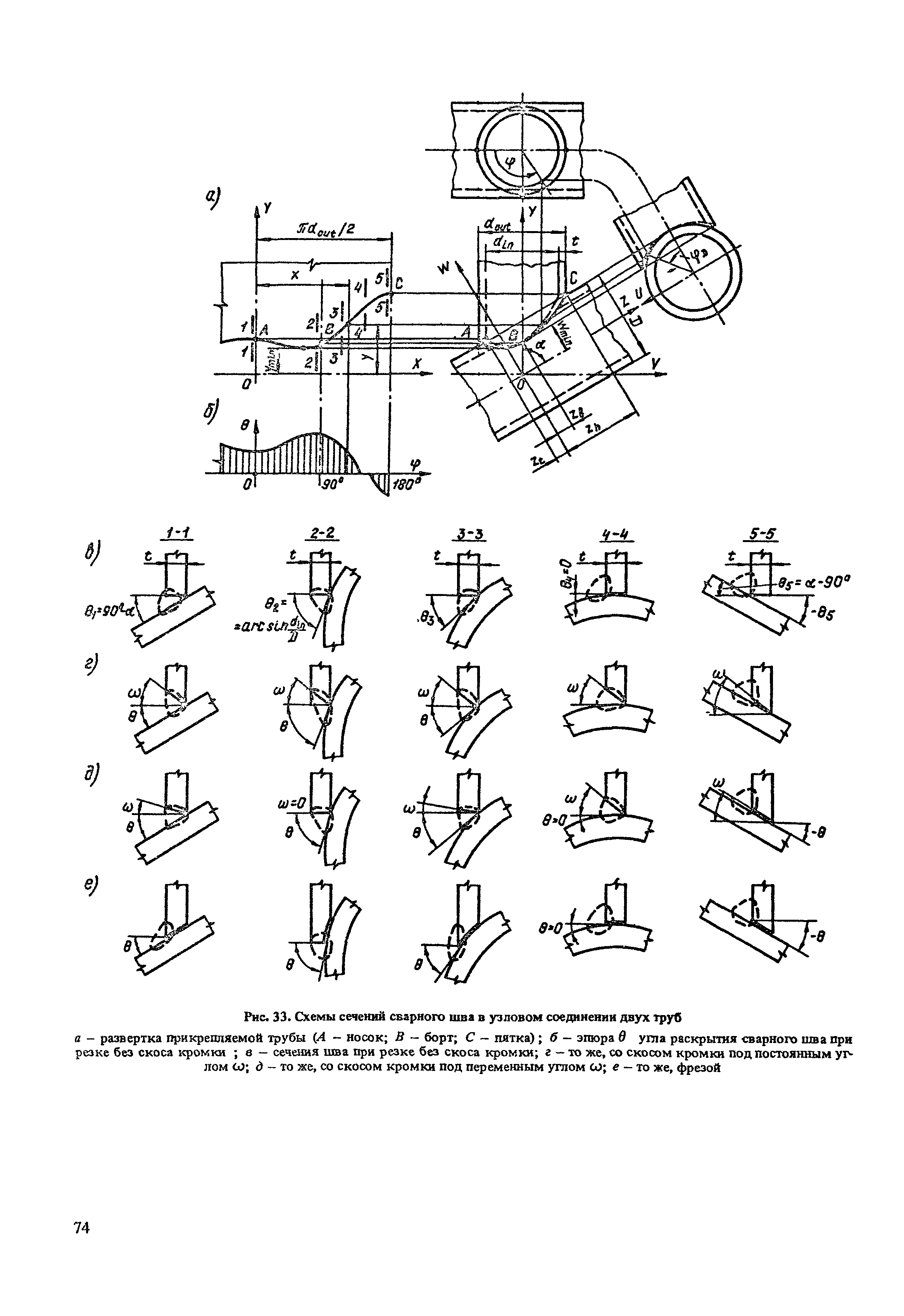
| Оглавление: | Предисловие 1. Основные положения расчета Общие положения Предельные состояния стальных конструкций 2. Материалы для конструкций и соединений Основные требования к прокату Болты и гайки для соединений Фундаментные болты 3. Расчетные характеристики материалов и соединений Общие положения Расчетные сопротивления стального проката Расчетные сопротивления сварных соединений Расчетные сопротивления одноболтовых соединений Характеристики стальных канатов 4. Учет условий работы и назначения конструкций Коэффициенты надежности и условий работы Особенности расчета стальных конструкций с учетом неупругих деформаций 5. Расчет элементов на осевые силы и изгиб Центрально-растянутые и центрально-сжатые элементы Изгибаемые элементы Элементы, подверженные действию осевой силы с изгибом 6. Расчетные длины и предельные гибкости Общие положения Определение расчетных длин элементов Примеры определения расчетных длин стоек рам 7. Проверка устойчивости стенок и поясных листов изгибаемых и сжатых элементов Общие положения Стенки и поясные листы центрально-, внецентренно-сжатых, сжато-изгибаемых и изгибаемых элементов 8. Расчет листовых конструкций Расчет на устойчивость 9. Расчет элементов стальных конструкций на выносливость Расчет на малоцикловую прочность 10. Расчет элементов стальных конструкций на прочность с учетом хрупкого разрушения 11. Расчет соединений Сварные соединения Болтовые соединения Болтовые соединения без контролируемого натяжения Болтовые соединения с контролируемым натяжением Фрикционные соединения на высокопрочных болтах Фрикционно-срезные соединения на высокопрочных болтах Расчет на выносливость Учет ослаблений 12. Проектирование сварных соединений 13. Проектирование болтовых соединений Виды болтовых соединений 14. Фермы из одиночных уголков Общие положения Расчет Конструирование 15. Фермы и связи из гнутосварных профилей Материалы Расчет элементов конструкций Местная устойчивость стенок при сосредоточенных нагрузках Бесфасоночные узлы ферм Узлы связей Проектирование 16. Фермы с поясами из широкополочных двутавров Общие положения Расчет узлов Конструирование 17. Фермы с поясами из широкополочных двутавров и перекрестной решеткой из одиночных уголков Общие положения Расчет элементов решетки 18. Конструкции из круглых труб Общие положения Расчет Конструирование 19. Покрытия из перекрестных элементов Общие положения Конструкции покрытий Расчет Конструирование 20. Структурные конструкции покрытий из прокатных профилей Общие положения Расчет элементов Конструирование 21. Балки Расчет балок с гибкой стенкой и ребрами Расчет балок с гибкой неподкрепленной стенкой (18.9*) Расчет бистальных балок 22. Подкрановые балки 23. Висячие покрытия Общие положения Расчет 24. Мембранные конструкции Общие положения Материалы для конструкций покрытий Конструирование Пролетная конструкция Опорный контур Расчет 25. Профилированный настил Общие положения Характеристики настилов Расчет Крепление настилов 26. Колонны с ветвями из сварных двутавров с предварительно напряженной стенкой 27. Фланцевые соединения на высокопрочных болтах, работающие на растяжение 28. Подбор сечений центрально-сжатых, сжато-изгибаемых и изгибаемых элементов Общие положения Центрально-сжатые элементы Сжато-изгибаемые и внецентренно-сжатые элементы Изгибаемые элементы Предварительный расчет Примеры 29. Технико-экономические показатели Общие положения Нормативная база расчета Методы расчета Калькуляционный метод расчета на ЭВМ технико-экономических показателей металлических конструкций каркаса промышленного здания Приложение 1. Расчет стальных конструкций вероятностно-экономическим методом Приложение 2. Расчет стальных рам как единых Приложение 3. Дюбельные соединения Список литературы |
| Разработан: | ЦНИИСК им. В.А. Кучеренко |
| Утверждён: | 15.08.1985 ЦНИИСК им.Кучеренко (Kucherenko TsNIISK 243/л) |
| Издан: | ЦИТП Госстроя СССР (CITP, Gosstroy (USSR) 1989 г. ) |
| Нормативные ссылки: |
|






















































































































































