Скачать СП 101-34-96 Выбор труб для сооружения магистральных трубопроводов

Дата актуализации: 01.01.2021

СП 101-34-96

Выбор труб для сооружения магистральных трубопроводов

Обозначение: СП 101-34-96
Обозначение англ: SP 101-34-96
Статус:действует
Название рус.:Выбор труб для сооружения магистральных трубопроводов
Название англ.:Selection of Pipes for Trunk Pipeline Construction
Дата добавления в базу:01.09.2013
Дата актуализации:01.01.2021
Дата введения:01.10.1996
Оглавление:Введение
1. Общие положения
2. Технические требования
Приложение 1Требования к ультразвуковому контролю
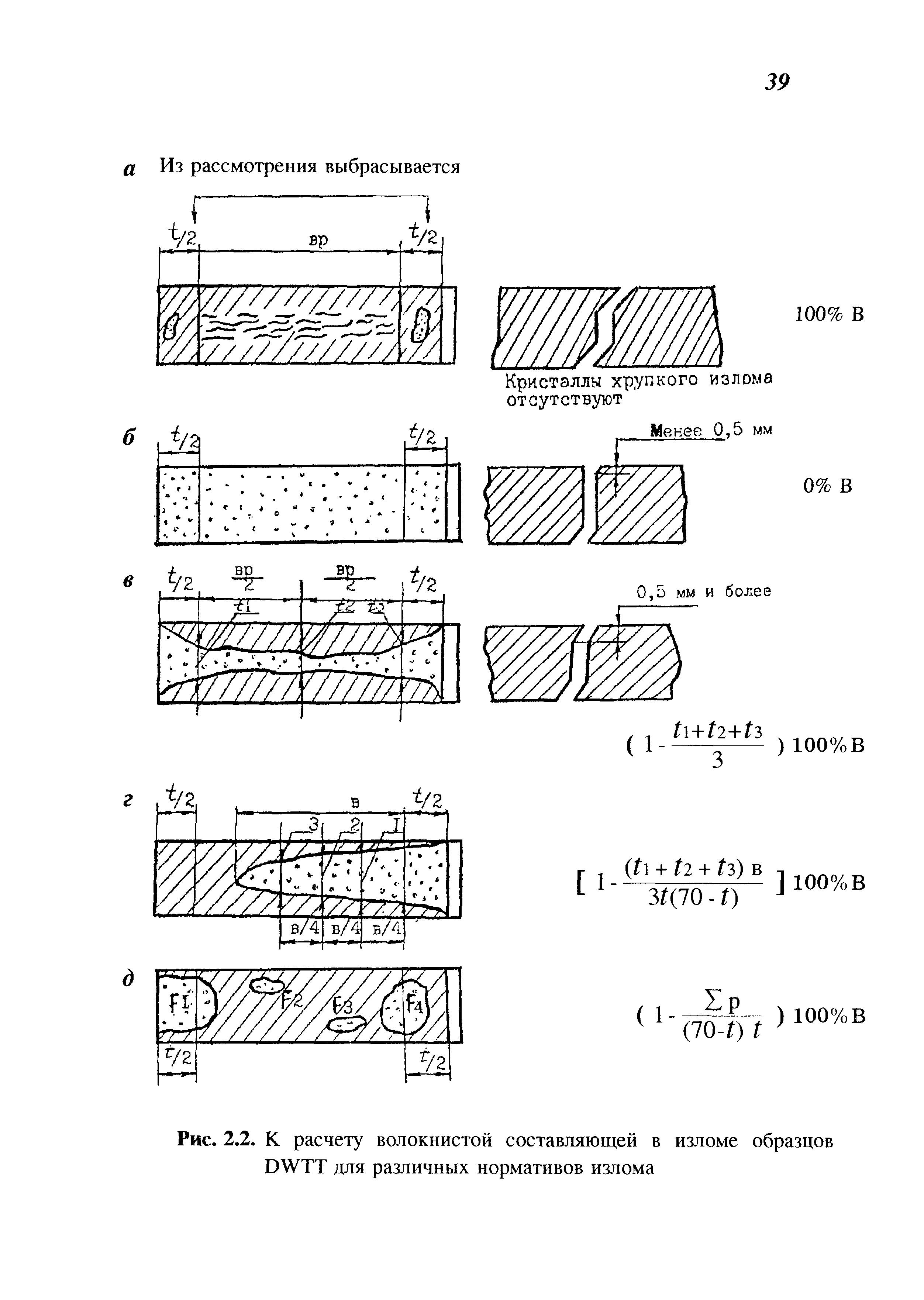
Приложение 2 Испытание образцов типа DWTT
Приложение 3 Методы испытаний на изгиб
Приложение 4 Требования к рентгеновскому контролю
Разработан: ВНИИГаз Мингазпрома (VNIIgaz, Mingazprom )
Ассоциация Высоконадежный трубопроводный транспорт (High-Reliability Pipeline Transportation Association )
ИЭС им. Е.О. Патона (Y.O.Paton Institute of Electric Welding )
РАО Газпром (Gazprom RAO )
АО Роснефтегазстрой (Rosneftegazstroy AO )
ТОО Трубопром (Truboprom TOO )
Утверждён:11.09.1996 РАО Газпром (Gazprom RAO 44)
Принят:24.08.1995 Минстрой России (Russian Federation Minstroy ВБ-396/13)
Издан: ИРЦ Газпром (IRC Gazprom 1996 г. )
Нормативные ссылки:
СП 101-34-96СП 101-34-96СП 101-34-96СП 101-34-96СП 101-34-96СП 101-34-96СП 101-34-96СП 101-34-96СП 101-34-96СП 101-34-96СП 101-34-96СП 101-34-96СП 101-34-96СП 101-34-96СП 101-34-96СП 101-34-96СП 101-34-96СП 101-34-96СП 101-34-96СП 101-34-96СП 101-34-96СП 101-34-96СП 101-34-96СП 101-34-96СП 101-34-96СП 101-34-96СП 101-34-96СП 101-34-96СП 101-34-96СП 101-34-96СП 101-34-96СП 101-34-96СП 101-34-96СП 101-34-96СП 101-34-96СП 101-34-96СП 101-34-96СП 101-34-96СП 101-34-96СП 101-34-96СП 101-34-96СП 101-34-96СП 101-34-96СП 101-34-96СП 101-34-96СП 101-34-96СП 101-34-96СП 101-34-96СП 101-34-96СП 101-34-96СП 101-34-96СП 101-34-96