Скачать ГОСТ 13163-67 Зажимы реечные с конусным замком для станочных приспособлений. Конструкция

Дата актуализации: 01.01.2021

ГОСТ 13163-67

Зажимы реечные с конусным замком для станочных приспособлений. Конструкция

Обозначение: ГОСТ 13163-67
Обозначение англ: GOST 13163-67
Статус:действует
Название рус.:Зажимы реечные с конусным замком для станочных приспособлений. Конструкция
Название англ.:Rack type clips with tapered lock for machine retainig devices. Design
Дата добавления в базу:01.09.2013
Дата актуализации:01.01.2021
Дата введения:01.07.1968
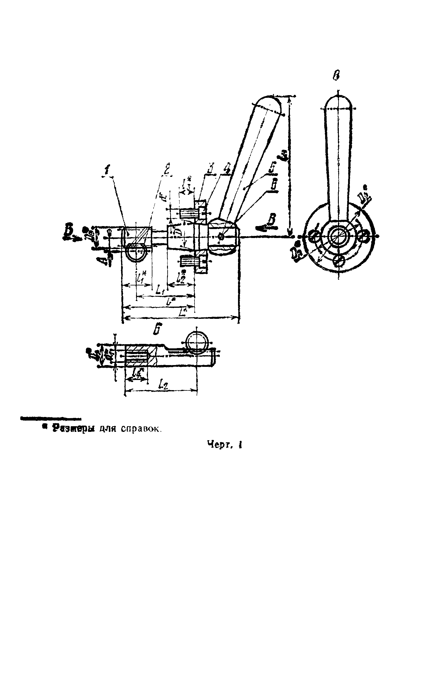
Область применения:Стандарт распространяется на реечные зажимы с конусным замком.
Оглавление:1. Конструкция и размеры реечных зажимов с конусным замком
2. Конструкция и размеры валика-шестерни (дет. 1)
3. Конструкция и размеры рейки (дет. 2)
4. Конструкция и размеры фланца (дет. 3)
Приложение (справочное) Пример применения реечных зажимов с конусным замком
Разработан: Министерство станкостроительной и инструментальной промышленности СССР
Министерство тяжелого энергетического и транспортного машиностроения СССР
Утверждён:18.08.1967 Комитет стандартов, мер и измерительных приборов при Совете Министров СССР (Committee on Standards, Measures, and Measuring Instruments at the USSR Cabinet of Ministers 1381)
Список изменений:
Заменяет собой:
  • МН 356-60 (Сведения из перечня "Указатель государственных стандартов СССР 1970 г.", Издательство комитета стандартов 1970)
Нормативные ссылки:
ГОСТ 13163-67ГОСТ 13163-67ГОСТ 13163-67ГОСТ 13163-67ГОСТ 13163-67ГОСТ 13163-67ГОСТ 13163-67ГОСТ 13163-67ГОСТ 13163-67ГОСТ 13163-67ГОСТ 13163-67ГОСТ 13163-67

Текстовое изменение № 2 от 01.01.1989

№ 2№ 2