Скачать ГОСТ 16438-70 Формы песчаная и металлическая для получения проб жидкотекучести металлов

Дата актуализации: 01.01.2021

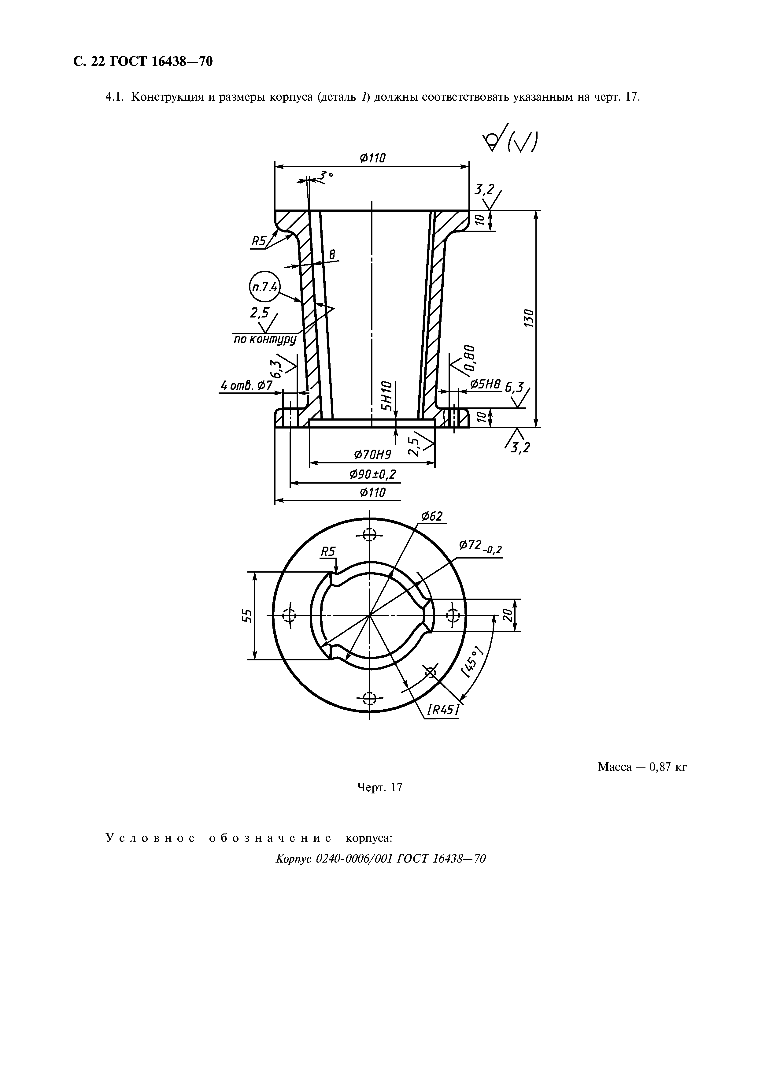
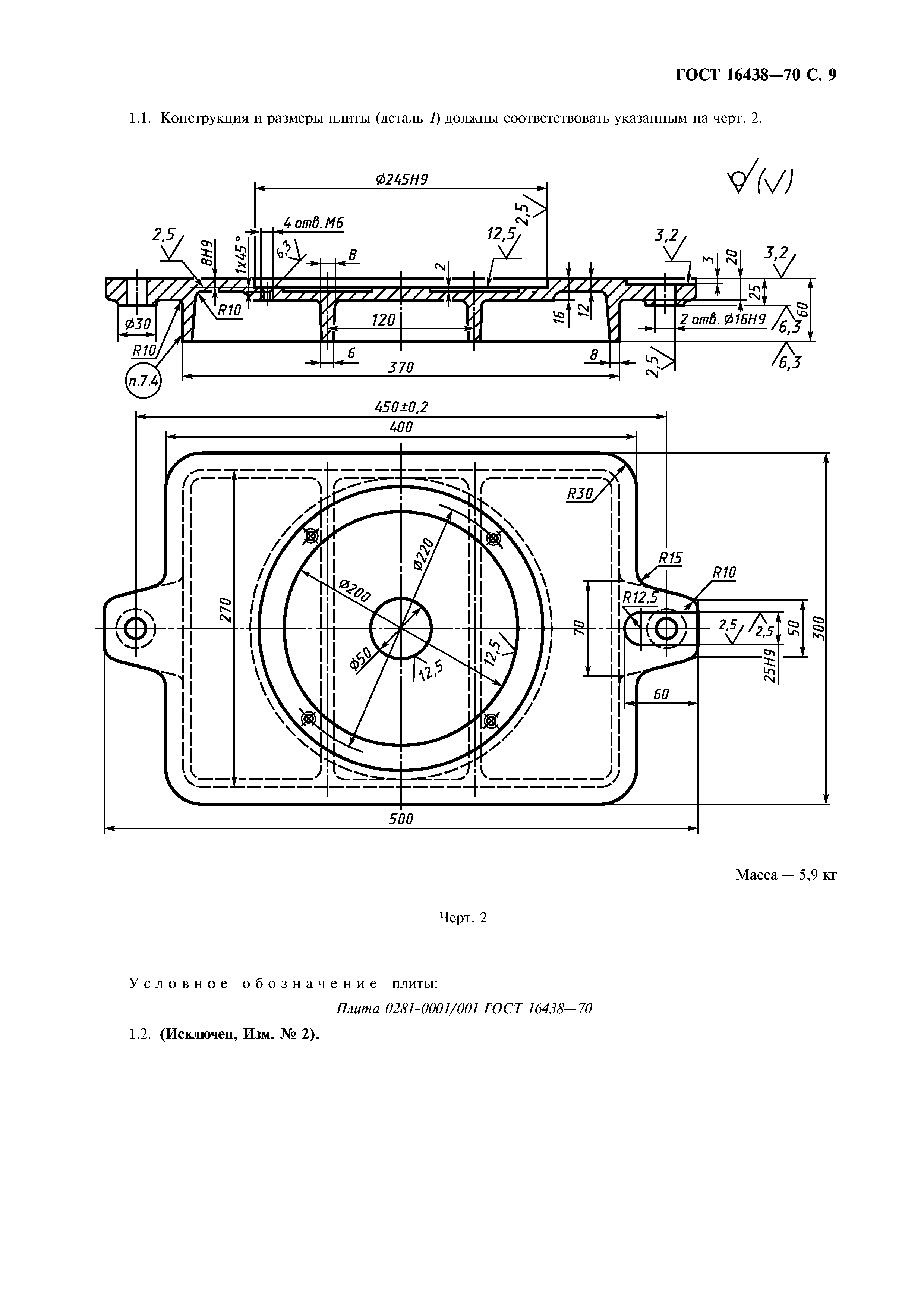
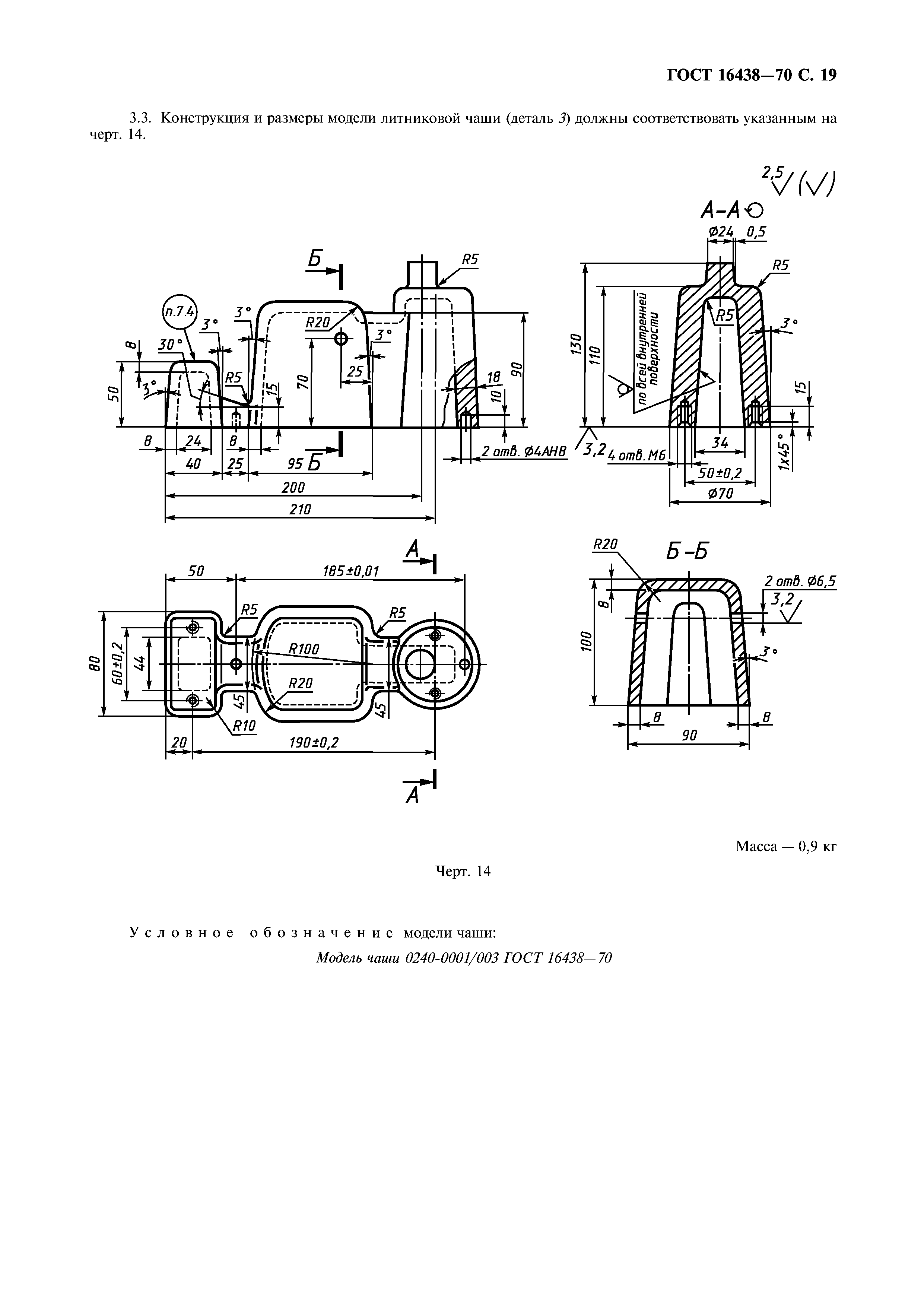
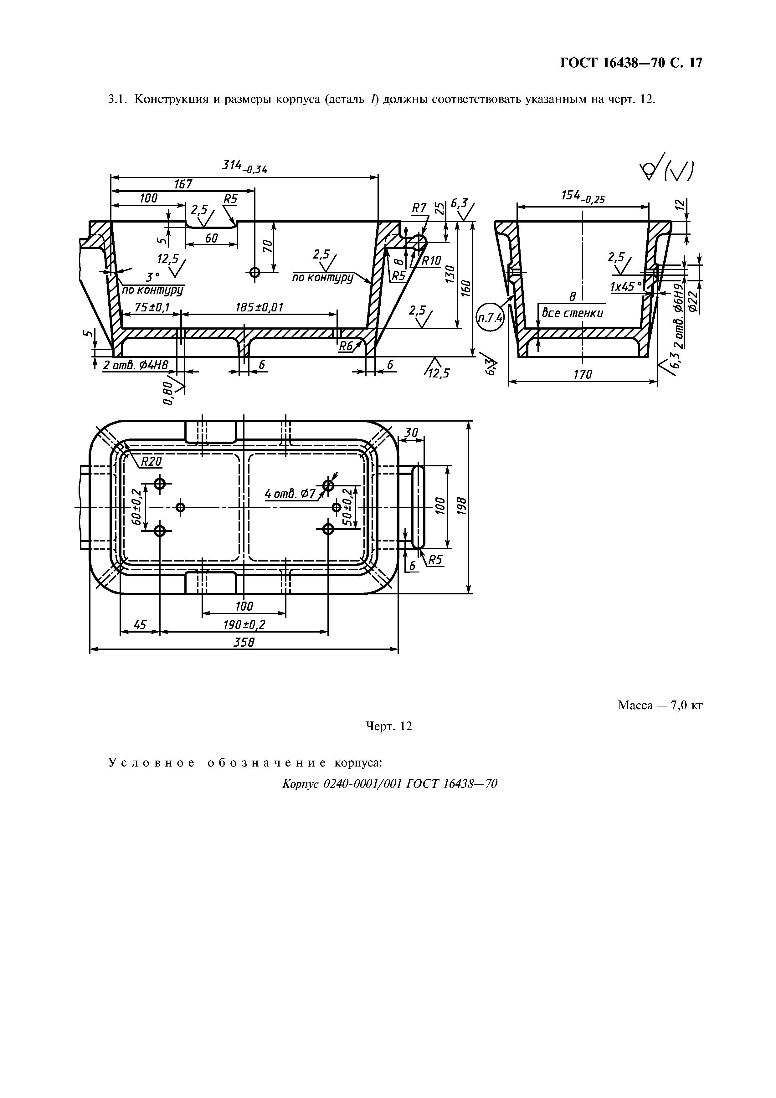
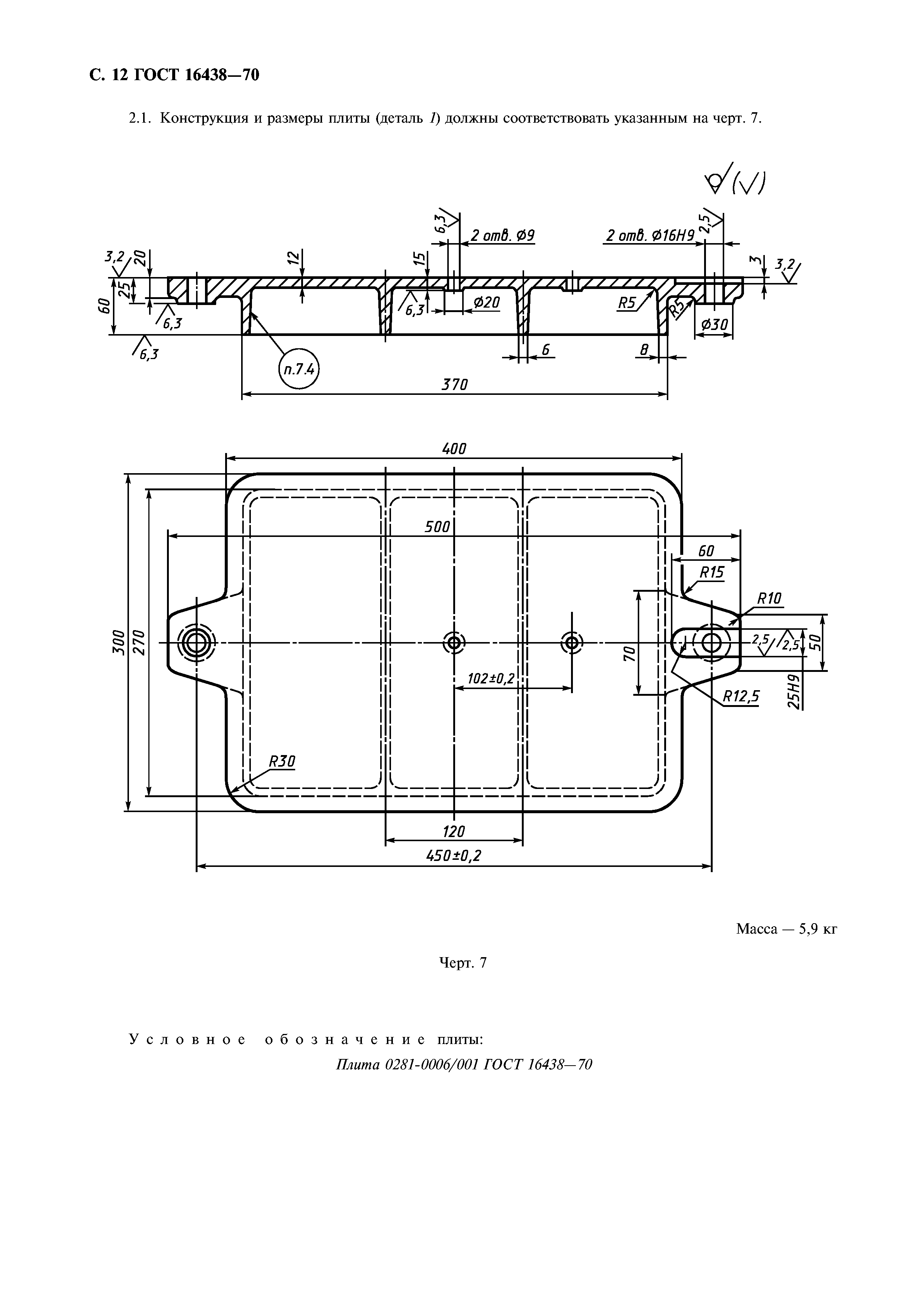
ГОСТ 16438-70

Формы песчаная и металлическая для получения проб жидкотекучести металлов

Обозначение: ГОСТ 16438-70
Обозначение англ: GOST 16438-70
Статус:введен впервые
Название рус.:Формы песчаная и металлическая для получения проб жидкотекучести металлов
Название англ.:Sand and metal moulds for making of fluidity of metals tects
Дата добавления в базу:01.09.2013
Дата актуализации:01.01.2021
Дата введения:01.01.1972
Область применения:Стандарт распространяется на песчаные (сухие и сырые) и металлические формы для получения проб жидкотекучести металлов.
Оглавление:1 Песчаная форма
2 Металлическая форма
Приложение 1 (обязательное) Методика заливки измерительного канала металлом
Приложение 2 (рекомендуемое) Технологическая оснастка для получения песчаной формы спирального измерительного канала (модельные плиты для формовки полуформ, стержневые ящики для формовки литниковой чаши и стопора)
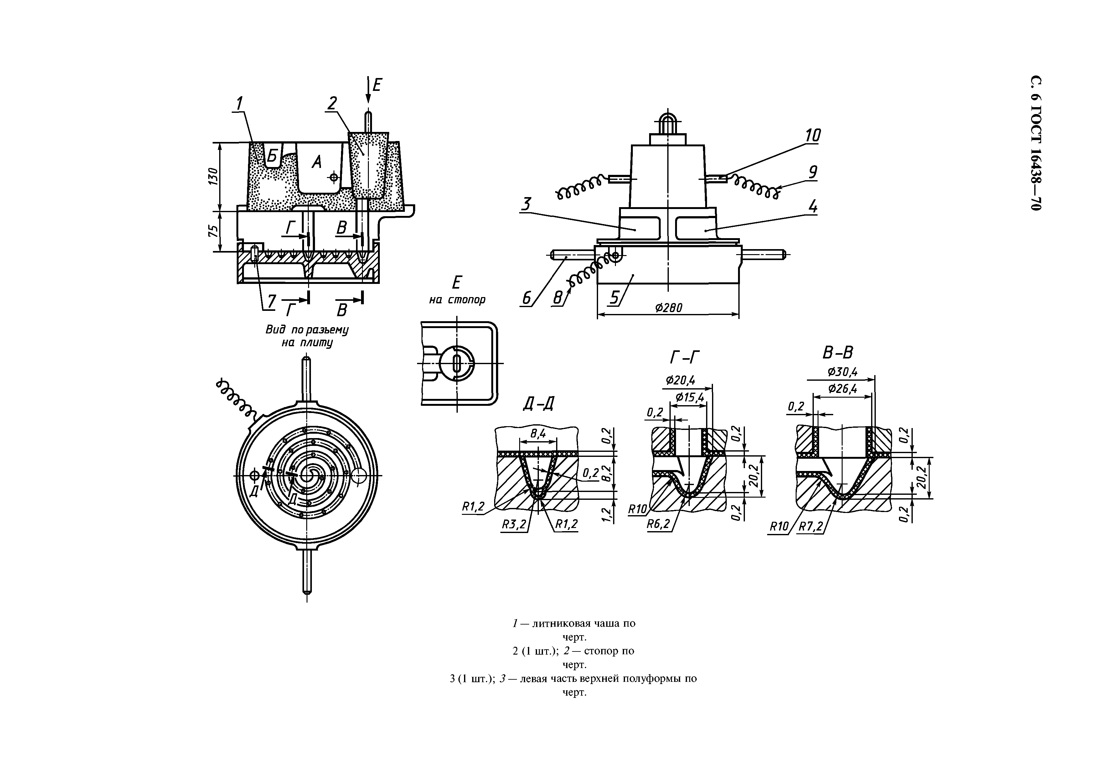
Приложение 3 Металлическая форма спирального измерительного канала (левая и правая части верхней полуформы, нижняя полуформа, ручка)
Разработан: Министерство станкостроительной и инструментальной промышленности
Утверждён:06.11.1970 Комитет стандартов, мер и измерительных приборов при Совете Министров Союза ССР (1615)
Издан: ИПК Издательство стандартов (1999 г. )
Список изменений:
Нормативные ссылки:
ГОСТ 16438-70ГОСТ 16438-70ГОСТ 16438-70ГОСТ 16438-70ГОСТ 16438-70ГОСТ 16438-70ГОСТ 16438-70ГОСТ 16438-70ГОСТ 16438-70ГОСТ 16438-70ГОСТ 16438-70ГОСТ 16438-70ГОСТ 16438-70ГОСТ 16438-70ГОСТ 16438-70ГОСТ 16438-70ГОСТ 16438-70ГОСТ 16438-70ГОСТ 16438-70ГОСТ 16438-70ГОСТ 16438-70ГОСТ 16438-70ГОСТ 16438-70ГОСТ 16438-70ГОСТ 16438-70ГОСТ 16438-70ГОСТ 16438-70ГОСТ 16438-70ГОСТ 16438-70ГОСТ 16438-70

Текстовое изменение № 2 от 01.11.1987

№ 2№ 2№ 2№ 2№ 2№ 2