Скачать ГОСТ 22965-78 Штыри для литейных опок. Конструкция и размеры

Дата актуализации: 01.01.2021

ГОСТ 22965-78

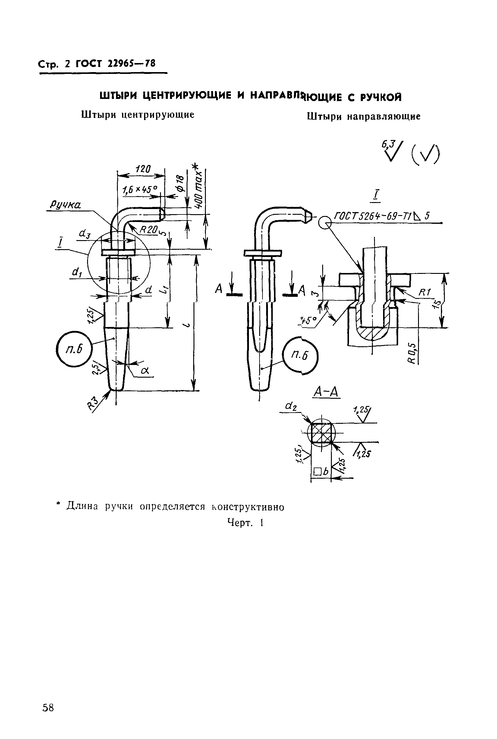
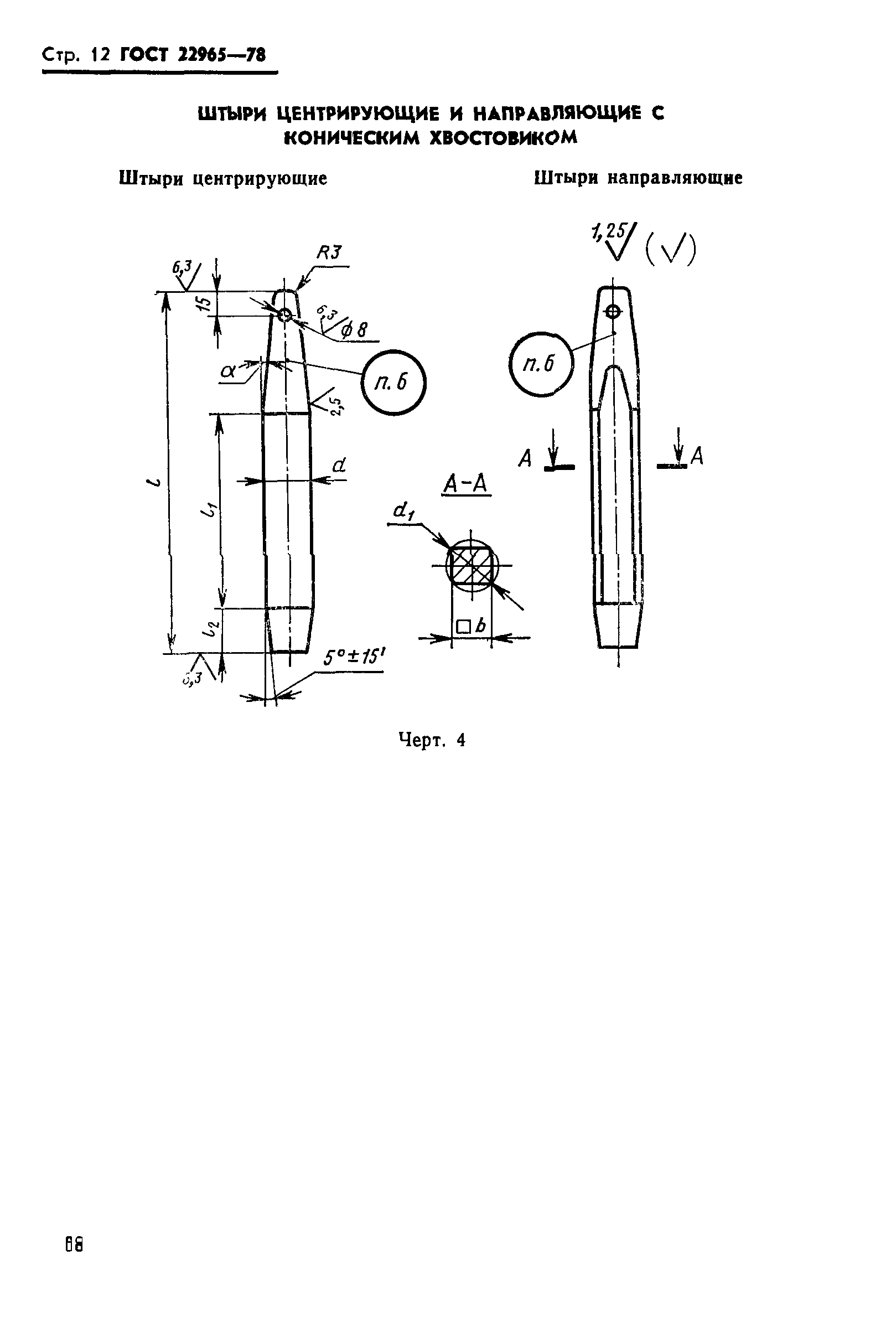
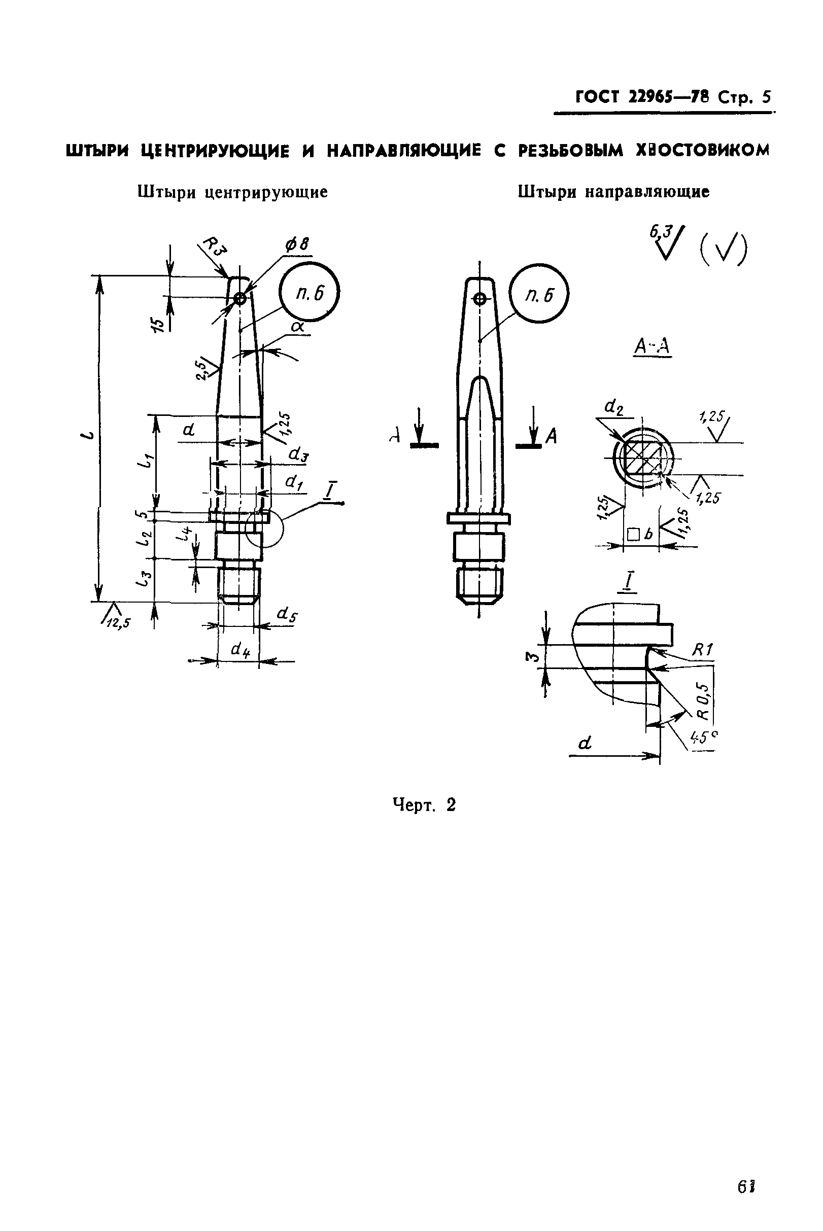
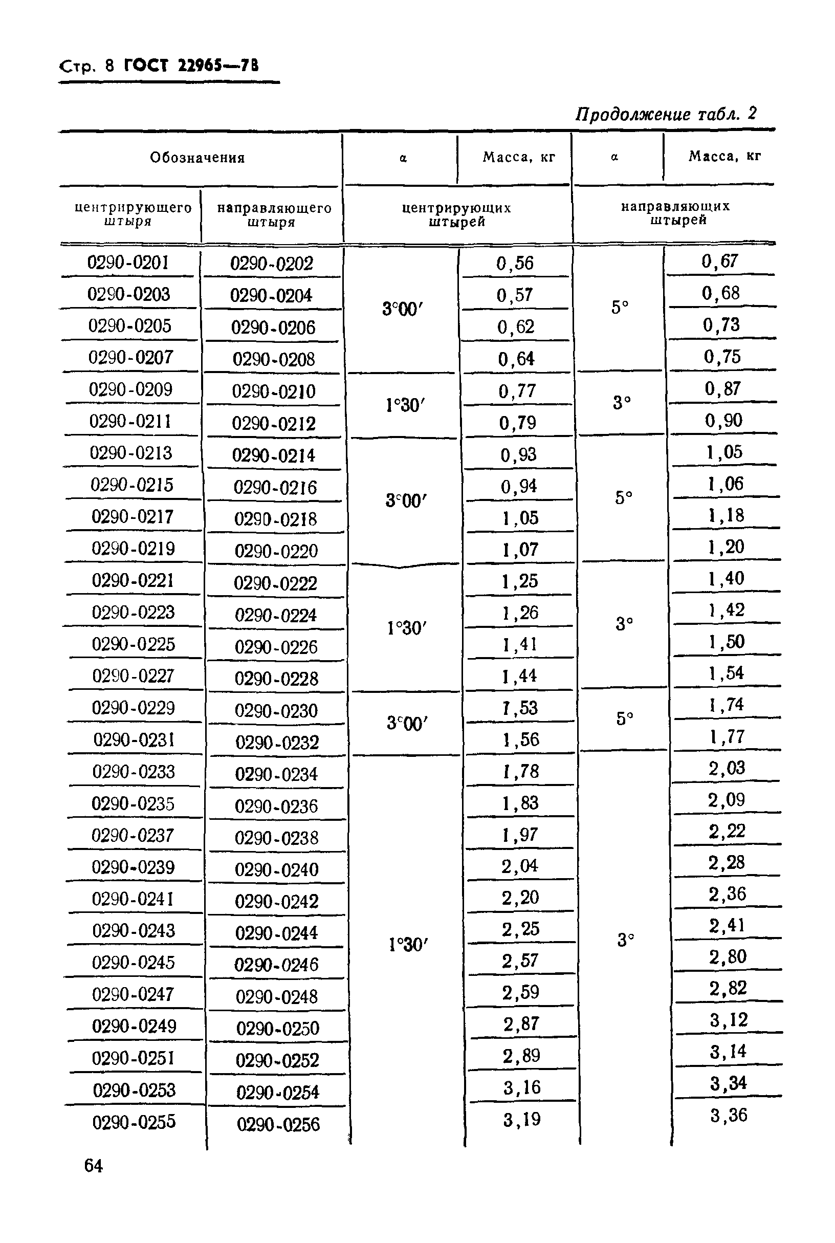
Штыри для литейных опок. Конструкция и размеры

Обозначение: ГОСТ 22965-78
Обозначение англ: GOST 22965-78
Статус:действует
Название рус.:Штыри для литейных опок. Конструкция и размеры
Название англ.:Pins for moulding boxes. Construction and dimensions
Дата добавления в базу:01.09.2013
Дата актуализации:01.01.2021
Дата введения:01.01.1979
Оглавление:Приложение Примеры применения штырей
Утверждён:08.02.1978 Госстандарт СССР (USSR Gosstandart 400)
Заменяет собой:
  • МН 154-59 (Сведения из перечня "Указатель государственных стандартов СССР 1980 г.", Издательство стандартов 1980)
  • МН 159-59 (Сведения из перечня "Указатель государственных стандартов СССР 1980 г.", Издательство стандартов 1980)
ГОСТ 22965-78ГОСТ 22965-78ГОСТ 22965-78ГОСТ 22965-78ГОСТ 22965-78ГОСТ 22965-78ГОСТ 22965-78ГОСТ 22965-78ГОСТ 22965-78ГОСТ 22965-78ГОСТ 22965-78ГОСТ 22965-78ГОСТ 22965-78ГОСТ 22965-78ГОСТ 22965-78ГОСТ 22965-78ГОСТ 22965-78ГОСТ 22965-78ГОСТ 22965-78