Скачать ГОСТ 18981-73 Ключи трубные рычажные. Технические условия

Дата актуализации: 01.01.2021

ГОСТ 18981-73

Ключи трубные рычажные. Технические условия

Обозначение: ГОСТ 18981-73
Обозначение англ: GOST 18981-73
Статус:действует
Название рус.:Ключи трубные рычажные. Технические условия
Название англ.:Pipe toggle wrenches. Specifications
Дата добавления в базу:01.09.2013
Дата актуализации:01.01.2021
Дата введения:01.01.1975
Область применения:Стандарт распространяется на трубные рычажные ключи, предназначенные для захватывания и вращения труб и соединительных частей трубопроводов, изготовляемых для нужд народного хозяйства и экспорта. Стандарт не распространяется на ключи, изготовляемые из материалов, применяемых для работы во взрывоопасных условиях.
Оглавление:1 Основные размеры
2 Технические требования
3 Приемка
4 Методы испытаний
5 Транспортирование и хранение
6 Техника безопасности
7 Гарантии изготовителя
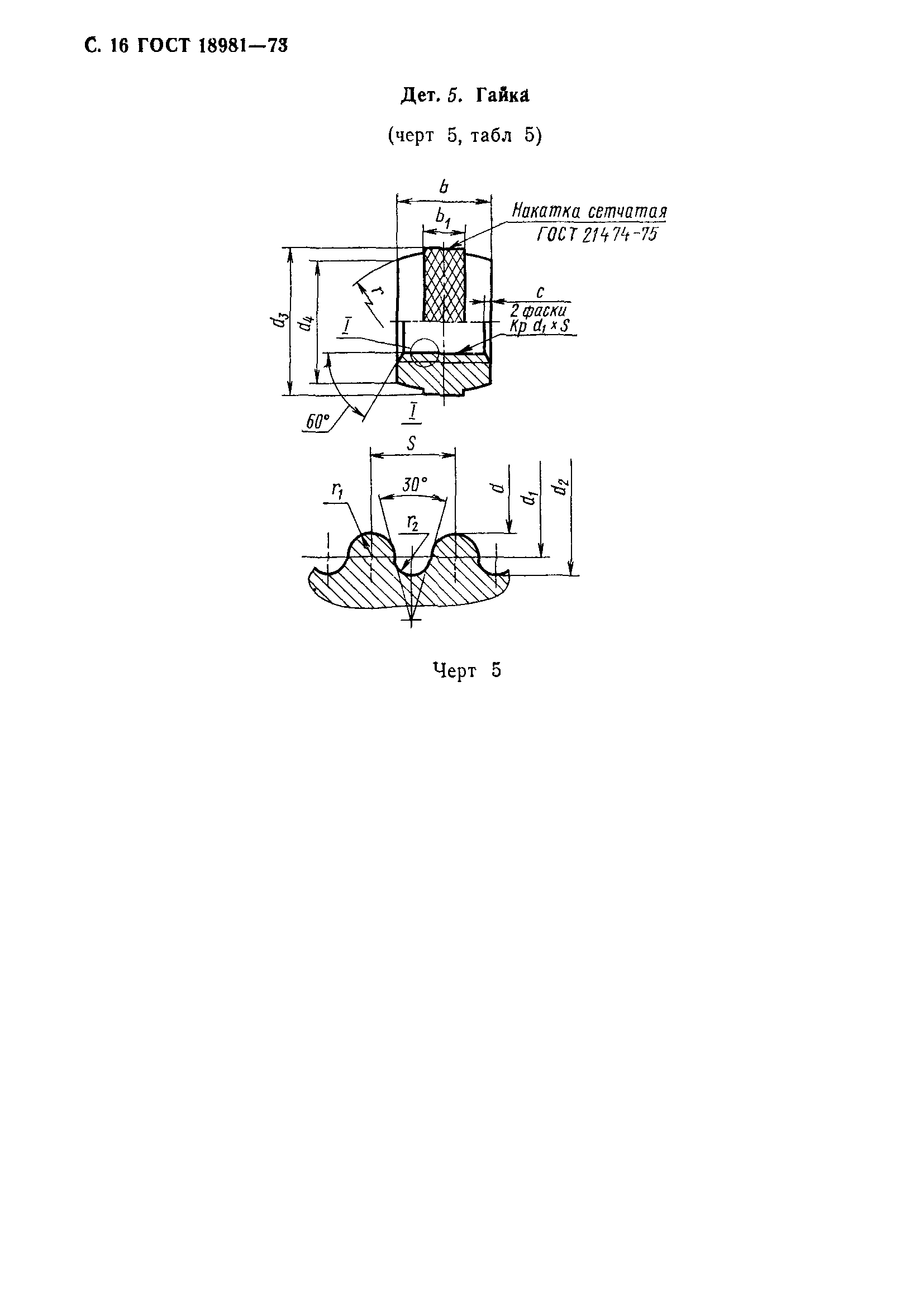
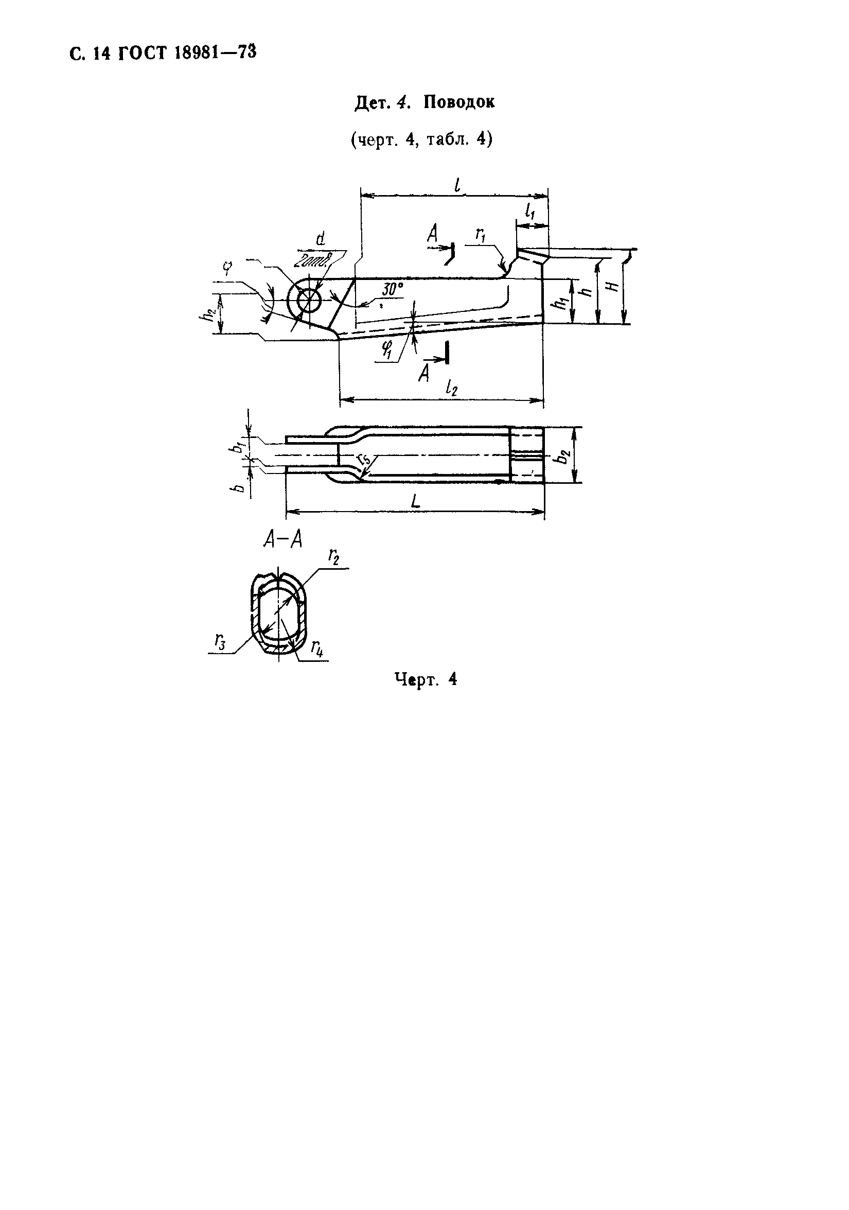
Приложение Конструкция и размеры деталей рычажных ключей
Утверждён:09.07.1973 Госстандарт СССР (USSR Gosstandart 1675)
Издан: Издательство стандартов (1994 г. )
Заменяет собой:
  • ОСТ НКТМ 6813-39
Нормативные ссылки:
ГОСТ 18981-73ГОСТ 18981-73ГОСТ 18981-73ГОСТ 18981-73ГОСТ 18981-73ГОСТ 18981-73ГОСТ 18981-73ГОСТ 18981-73ГОСТ 18981-73ГОСТ 18981-73ГОСТ 18981-73ГОСТ 18981-73ГОСТ 18981-73ГОСТ 18981-73ГОСТ 18981-73ГОСТ 18981-73ГОСТ 18981-73ГОСТ 18981-73ГОСТ 18981-73