Скачать ГОСТ 2013-75 Угли каменные. Ускоренный метод определения спекаемостиДата актуализации: 01.01.2021
|
| Обозначение: | ГОСТ 2013-75 |
| Обозначение англ: | GOST 2013-75 |
| Статус: | взамен |
| Название рус.: | Угли каменные. Ускоренный метод определения спекаемости |
| Название англ.: | Hard coals. Accelerated method for the determination of clinkering |
| Дата добавления в базу: | 01.09.2013 |
| Дата актуализации: | 01.01.2021 |
| Дата введения: | 01.01.1976 |
| Область применения: | Стандарт распространяется на каменные угли и устанавливает ускоренный метод определения спекаемости. |
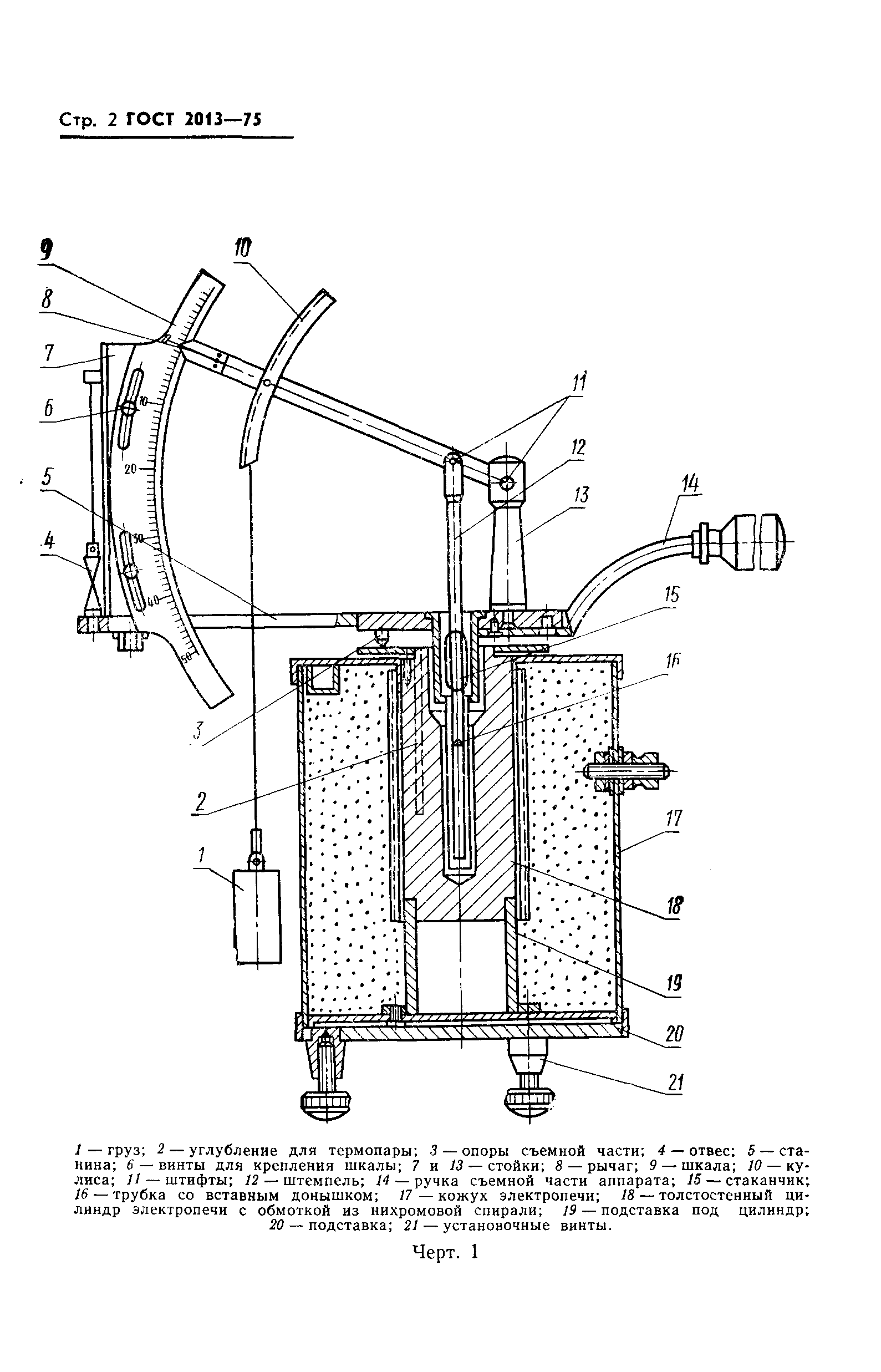
| Оглавление: | 1 Отбор проб 2 Аппаратура и материалы 3 Подготовка к испытанию 4 Проведение испытания 5 Обработка результатов |
| Разработан: | Институт горючих ископаемых (ИГИ) |
| Утверждён: | 27.01.1975 Госстандарт СССР (USSR Gosstandart 197) |
| Издан: | Издательство стандартов (1975 г. ) |
| Заменяет собой: |
|
| Нормативные ссылки: |
|









