Скачать ГОСТ 24819-81 Протяжки для шестишлицевых отверстий с прямобочным профилем с центрированием по наружному диаметру комбинированные переменного резания. Двухпроходные. Конструкция и размеры

Дата актуализации: 01.01.2021

ГОСТ 24819-81

Протяжки для шестишлицевых отверстий с прямобочным профилем с центрированием по наружному диаметру комбинированные переменного резания. Двухпроходные. Конструкция и размеры

Обозначение: ГОСТ 24819-81
Обозначение англ: GOST 24819-81
Статус:взамен
Название рус.:Протяжки для шестишлицевых отверстий с прямобочным профилем с центрированием по наружному диаметру комбинированные переменного резания. Двухпроходные. Конструкция и размеры
Название англ.:Broaches combined for 6-slitting holes with straightside profile and centring at outside diameter, alternatives. Double driven. Design and dimensions
Дата добавления в базу:01.09.2013
Дата актуализации:01.01.2021
Дата введения:01.01.1983
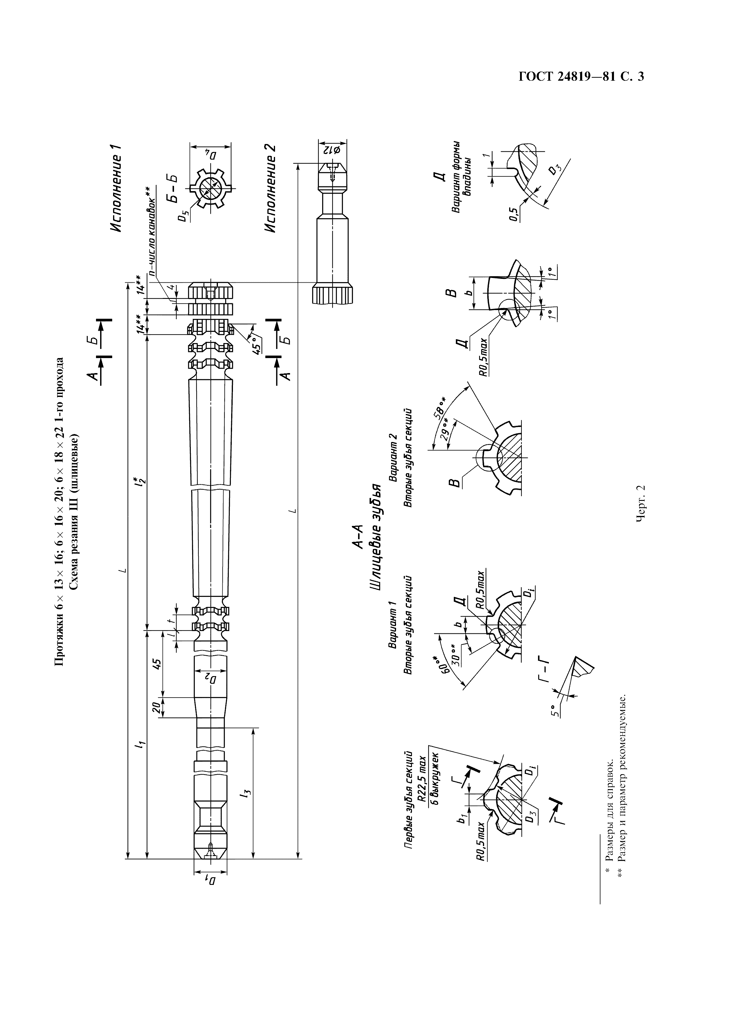
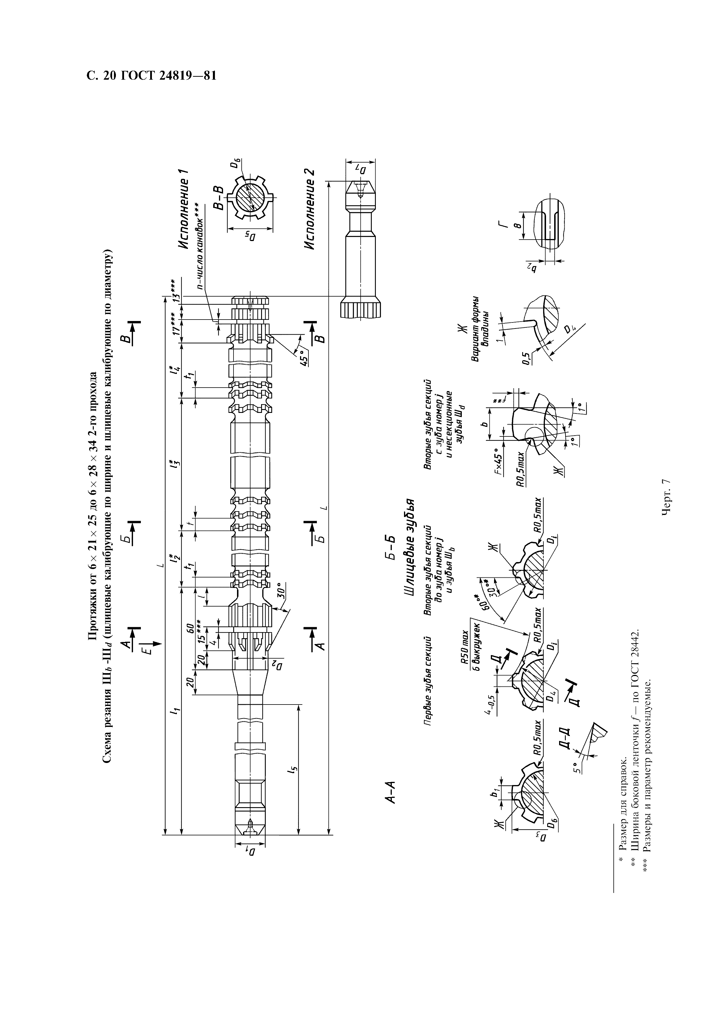
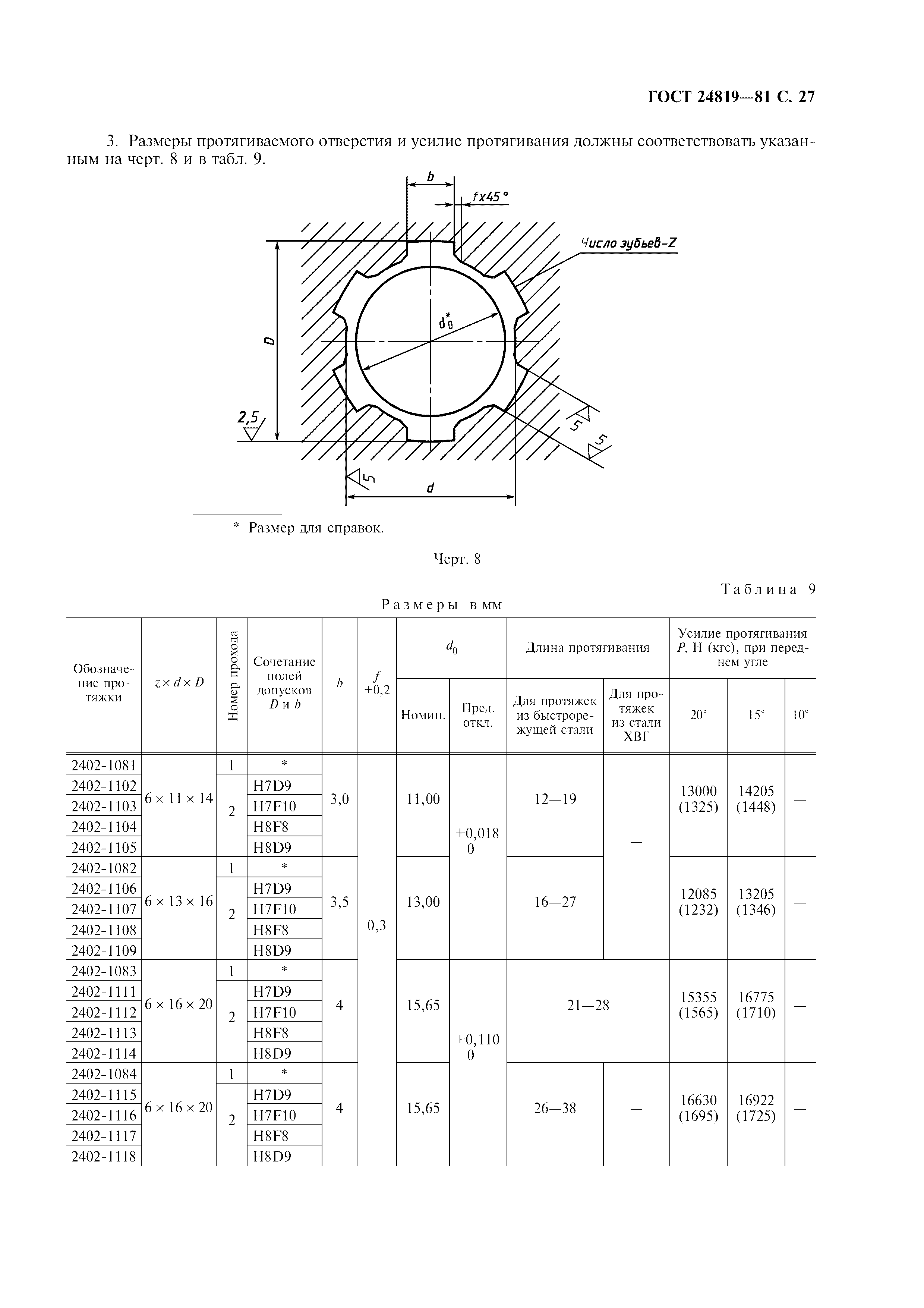
Область применения:Стандарт распространяется на двухпроходные протяжки переменного резания универсального назначения, предназначенные для обработки шестишлицевых втулок с прямобочным профилем по ГОСТ 1139 с центрированием по наружному диаметру.
Разработан: Министерство станкостроительной и инструментальной промышленности СССР
Утверждён:05.06.1981 Государственный комитет СССР по стандартам (USSR National Committee on Standards 2855)
Издан: Издательство стандартов (1981 г. )
ИПК Издательство стандартов (2004 г. )
Список изменений:
Заменяет собой:
  • МН 4250-63 (ИУС 8-81)
Нормативные ссылки:
ГОСТ 24819-81ГОСТ 24819-81ГОСТ 24819-81ГОСТ 24819-81ГОСТ 24819-81ГОСТ 24819-81ГОСТ 24819-81ГОСТ 24819-81ГОСТ 24819-81ГОСТ 24819-81ГОСТ 24819-81ГОСТ 24819-81ГОСТ 24819-81ГОСТ 24819-81ГОСТ 24819-81ГОСТ 24819-81ГОСТ 24819-81ГОСТ 24819-81ГОСТ 24819-81ГОСТ 24819-81ГОСТ 24819-81ГОСТ 24819-81ГОСТ 24819-81ГОСТ 24819-81ГОСТ 24819-81ГОСТ 24819-81ГОСТ 24819-81ГОСТ 24819-81ГОСТ 24819-81ГОСТ 24819-81ГОСТ 24819-81ГОСТ 24819-81

Текстовое изменение № 2 от 01.02.1988

№ 2№ 2

Текстовое изменение № 1 от 01.09.1986

№ 1№ 1№ 1№ 1