Скачать ГОСТ 26222-86 Детекторы ионизирующих излучений полупроводниковые. Методы измерения параметровДата актуализации: 01.01.2021
|
| Обозначение: | ГОСТ 26222-86 |
| Обозначение англ: | GOST 26222-86 |
| Статус: | взамен |
| Название рус.: | Детекторы ионизирующих излучений полупроводниковые. Методы измерения параметров |
| Название англ.: | Ionizing-radiation semiconductor detectors. Methods of parameters measurement |
| Дата добавления в базу: | 01.09.2013 |
| Дата актуализации: | 01.01.2021 |
| Дата введения: | 01.07.1987 |
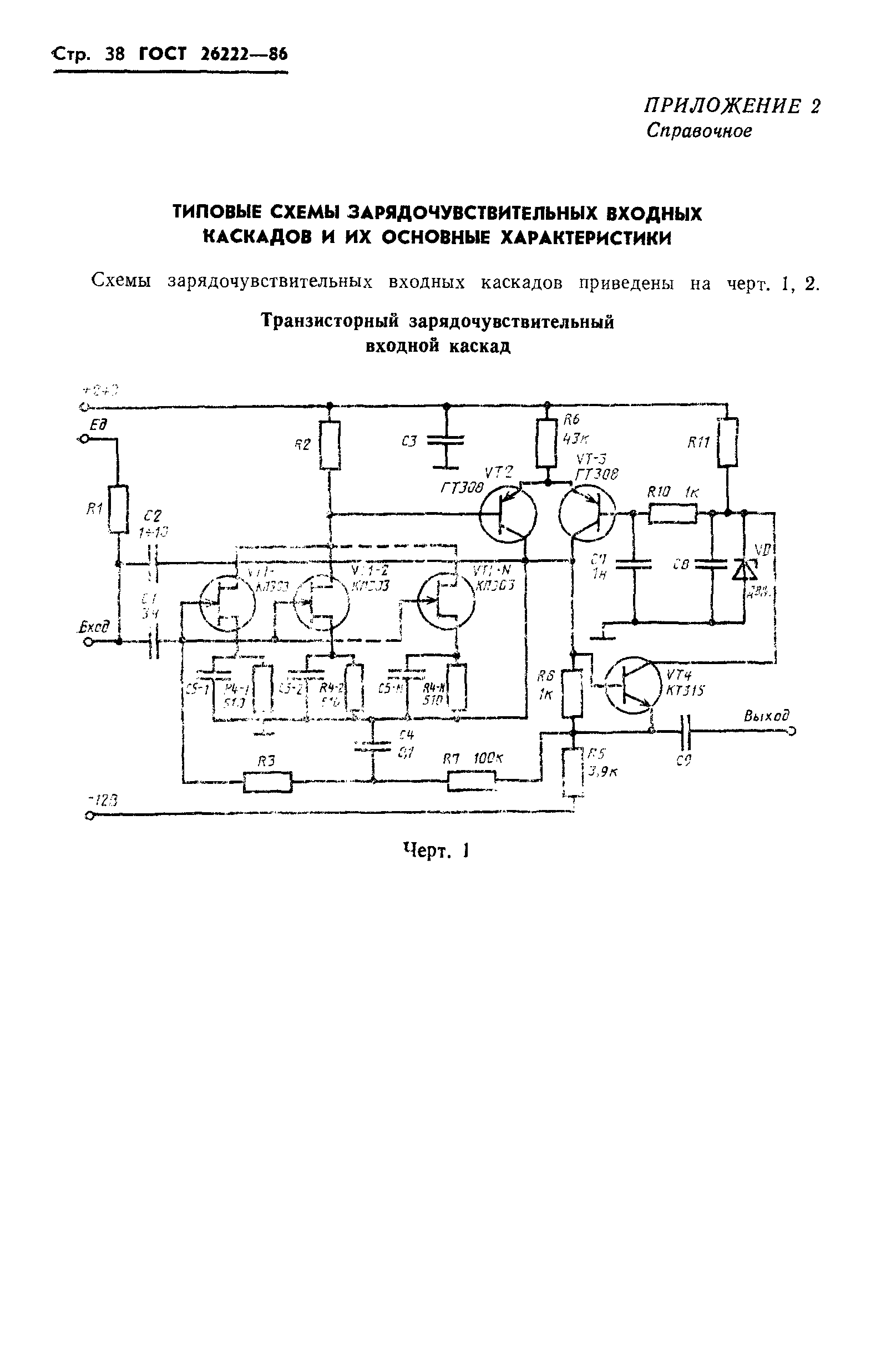
| Оглавление: | 1 Общие положения 2 Метод измерения темнового тока ППД 3 Методы измерения емкости ППД 4 Метод измерения энергетического разрешения 5 Методы измерения энергетического эквивалента шума 6 Метод измерения энергетического эквивалента толщины мертвого слоя 7 Метод измерения дискретной чувствительности регистрации 8 Метод измерения дискретной эффективности регистрации 9 Метод измерения средней частоты следования фоновых импульсов 10 Метод измерения радиационной помехоустойчивости 11 Методы измерения аналоговой чувствительности 12 Метод измерения времени и длительности фронта нарастания сигнала 13 Требования безопасности Приложение 1 (справочное) Метод оценки времени установленного рабочего режима Приложение 2 (справочное) Типовые схемы зарядочувтвительных входных каскадов и их основные характеристики Приложение 3 (справочное) Характеристика основных радионуклидных источников излучений Приложение 4 (обязательное) Методы определения ширины канала (калибровки) |
| Утверждён: | 18.03.1986 Госстандарт СССР (USSR Gosstandart 558) |
| Издан: | Издательство стандартов (1986 г. ) |
| Заменяет собой: |
|
| Нормативные ссылки: |
|













































