Скачать ГОСТ 26250-84 Трубы бурильные для снарядов со съемными керноприемниками. Технические условия

Дата актуализации: 01.01.2021

ГОСТ 26250-84

Трубы бурильные для снарядов со съемными керноприемниками. Технические условия

Обозначение: ГОСТ 26250-84
Обозначение англ: GOST 26250-84
Статус:отменен
Название рус.:Трубы бурильные для снарядов со съемными керноприемниками. Технические условия
Название англ.:Drill pipes for borehole tools with removable core lifts. Specifications
Дата добавления в базу:01.09.2013
Дата актуализации:01.01.2021
Дата введения:01.07.1986
Дата окончания срока действия:01.06.2017
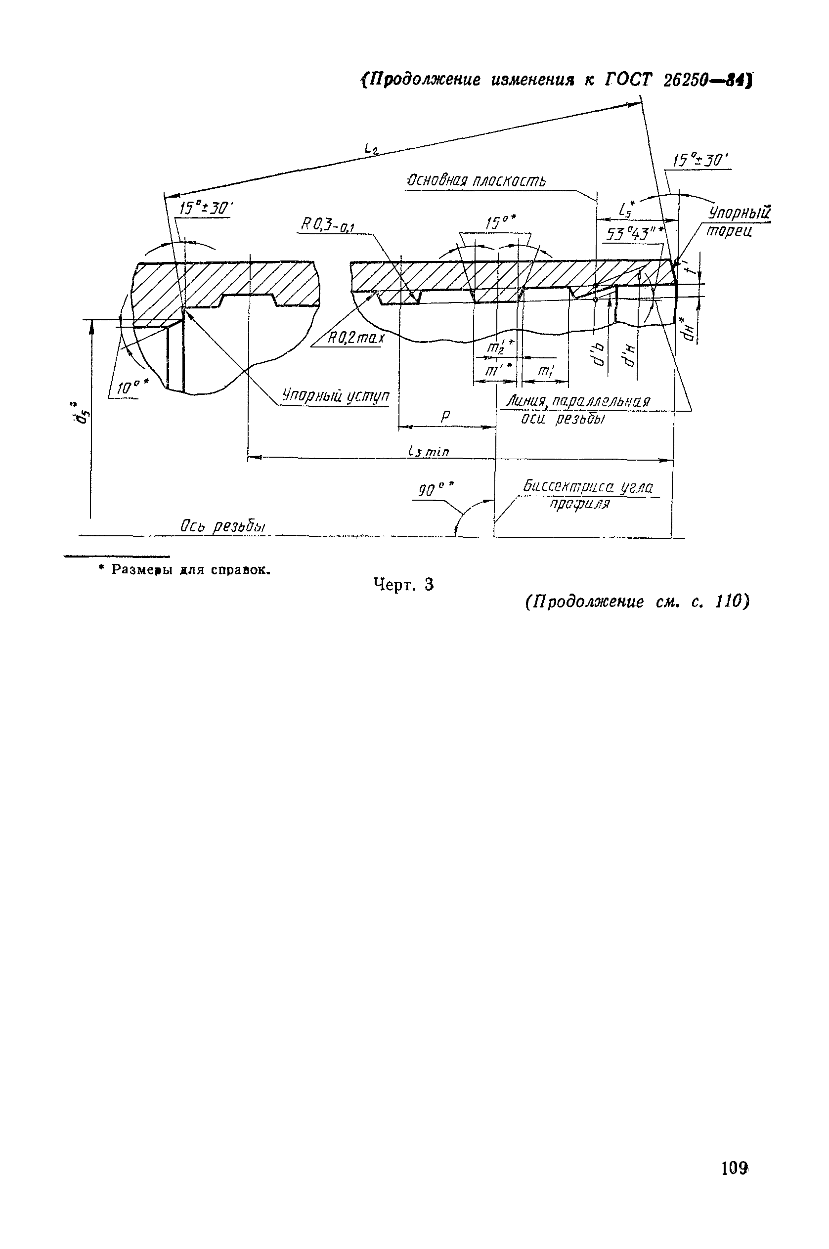
Область применения:Стандарт распространяется на гладкие стальные бесшовные бурильные трубы, предназначенные для бурения геологоразведочных скважин на твердые полезные ископаемые снарядами со съемными керноприемниками и на резьбу этих труб.
Оглавление:1 Основные параметры и размеры
2 Технические требования
3 Правила приемки
4 Методы испытаний
5 Маркировка, упаковка, транспортирование и хранение
Разработан: Министерство черной металлургии СССР
Министерство геологии СССР
Утверждён:03.08.1984 Государственный комитет СССР по стандартам (USSR National Committee on Standards 2748)
Издан: Издательство стандартов (1984 г. )
Стандартинформ (2010 г. )
Список изменений:
Нормативные ссылки:
ГОСТ 26250-84ГОСТ 26250-84ГОСТ 26250-84ГОСТ 26250-84ГОСТ 26250-84ГОСТ 26250-84ГОСТ 26250-84ГОСТ 26250-84ГОСТ 26250-84ГОСТ 26250-84

Текстовое изменение № 1 от 01.01.1989

№ 1№ 1№ 1№ 1