Скачать ГОСТ 26258-87 Цековки цилиндрические для обработки опорных поверхностей под крепежные детали. Технические условия

Дата актуализации: 01.01.2021

ГОСТ 26258-87

Цековки цилиндрические для обработки опорных поверхностей под крепежные детали. Технические условия

Обозначение: ГОСТ 26258-87
Обозначение англ: GOST 26258-87
Статус:взамен
Название рус.:Цековки цилиндрические для обработки опорных поверхностей под крепежные детали. Технические условия
Название англ.:Counterbores desighed for working bearing surfaces under fastenings. Specifications
Дата добавления в базу:01.09.2013
Дата актуализации:01.01.2021
Дата введения:01.01.1989
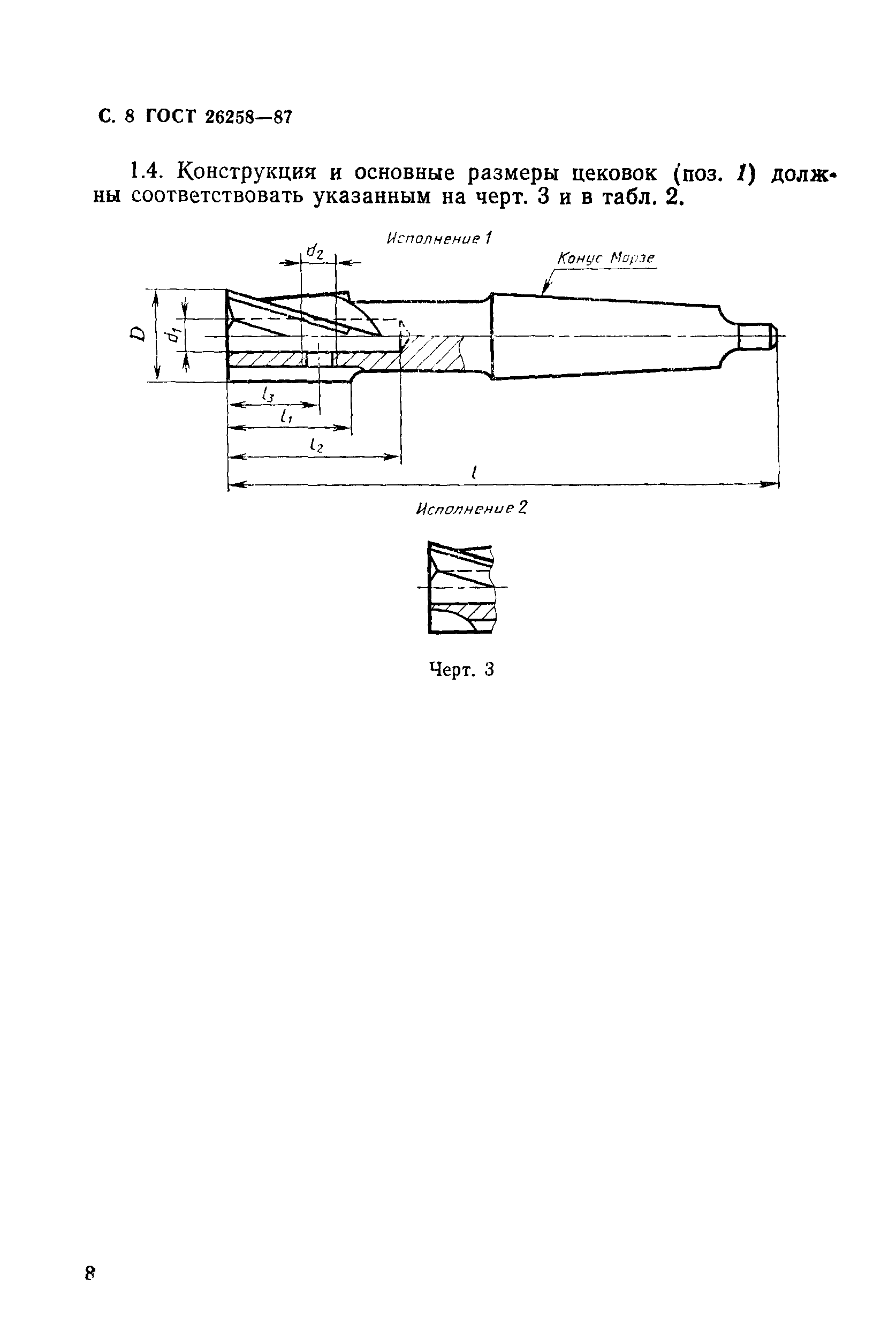
Область применения:Стандарт распространяется на цилиндрические цековки, предназначенные для обработки опорных поверхностей под крепежные детали, кроме цековок под увеличенные шайбы для обработки опорных поверхностей диаметром свыше 61 мм и выступающие опорные поверхности диаметром до 15 мм.
Оглавление:1 Типы и основные размеры
2 Технические требования
3 Приемка
4 Методы контроля
5 Транспортирование и хранение
Приложение Элементы конструкции и геометрические параметры цековок
Разработан: Министерство станкостроительной и инструментальной промышленности СССР
Утверждён:24.11.1987 Государственный комитет СССР по стандартам (USSR National Committee on Standards 4242)
Издан: Издательство стандартов (1988 г. )
Заменяет собой:
  • ГОСТ 26258-84 «Цековки цилиндрические для обработки опорных поверхностей под крепежные детали. Технические условия» (ИУС 2-88)
Нормативные ссылки:
ГОСТ 26258-87ГОСТ 26258-87ГОСТ 26258-87ГОСТ 26258-87ГОСТ 26258-87ГОСТ 26258-87ГОСТ 26258-87ГОСТ 26258-87ГОСТ 26258-87ГОСТ 26258-87ГОСТ 26258-87ГОСТ 26258-87ГОСТ 26258-87ГОСТ 26258-87ГОСТ 26258-87ГОСТ 26258-87ГОСТ 26258-87ГОСТ 26258-87ГОСТ 26258-87ГОСТ 26258-87ГОСТ 26258-87ГОСТ 26258-87ГОСТ 26258-87ГОСТ 26258-87ГОСТ 26258-87ГОСТ 26258-87ГОСТ 26258-87ГОСТ 26258-87ГОСТ 26258-87ГОСТ 26258-87ГОСТ 26258-87ГОСТ 26258-87ГОСТ 26258-87ГОСТ 26258-87ГОСТ 26258-87ГОСТ 26258-87ГОСТ 26258-87ГОСТ 26258-87ГОСТ 26258-87ГОСТ 26258-87ГОСТ 26258-87ГОСТ 26258-87ГОСТ 26258-87ГОСТ 26258-87ГОСТ 26258-87ГОСТ 26258-87