Скачать ГОСТ 28034-89 Лакоткани электроизоляционные. Общие технические требования

Дата актуализации: 01.01.2021

ГОСТ 28034-89

Лакоткани электроизоляционные. Общие технические требования

Обозначение: ГОСТ 28034-89
Обозначение англ: GOST 28034-89
Статус:введен впервые
Название рус.:Лакоткани электроизоляционные. Общие технические требования
Название англ.:Electroinsulating varnished cloths. General technical requirements
Дата добавления в базу:01.09.2013
Дата актуализации:01.01.2021
Дата введения:01.01.1991
Область применения:Стандарт распространяется на электроизоляционные лакоткани, применяемые в качестве электроизоляционного материала для длительной работы при температуре до 180°С.
Оглавление:1. Типы, основные параметры и размеры
2. Технические требования
3. Приемка
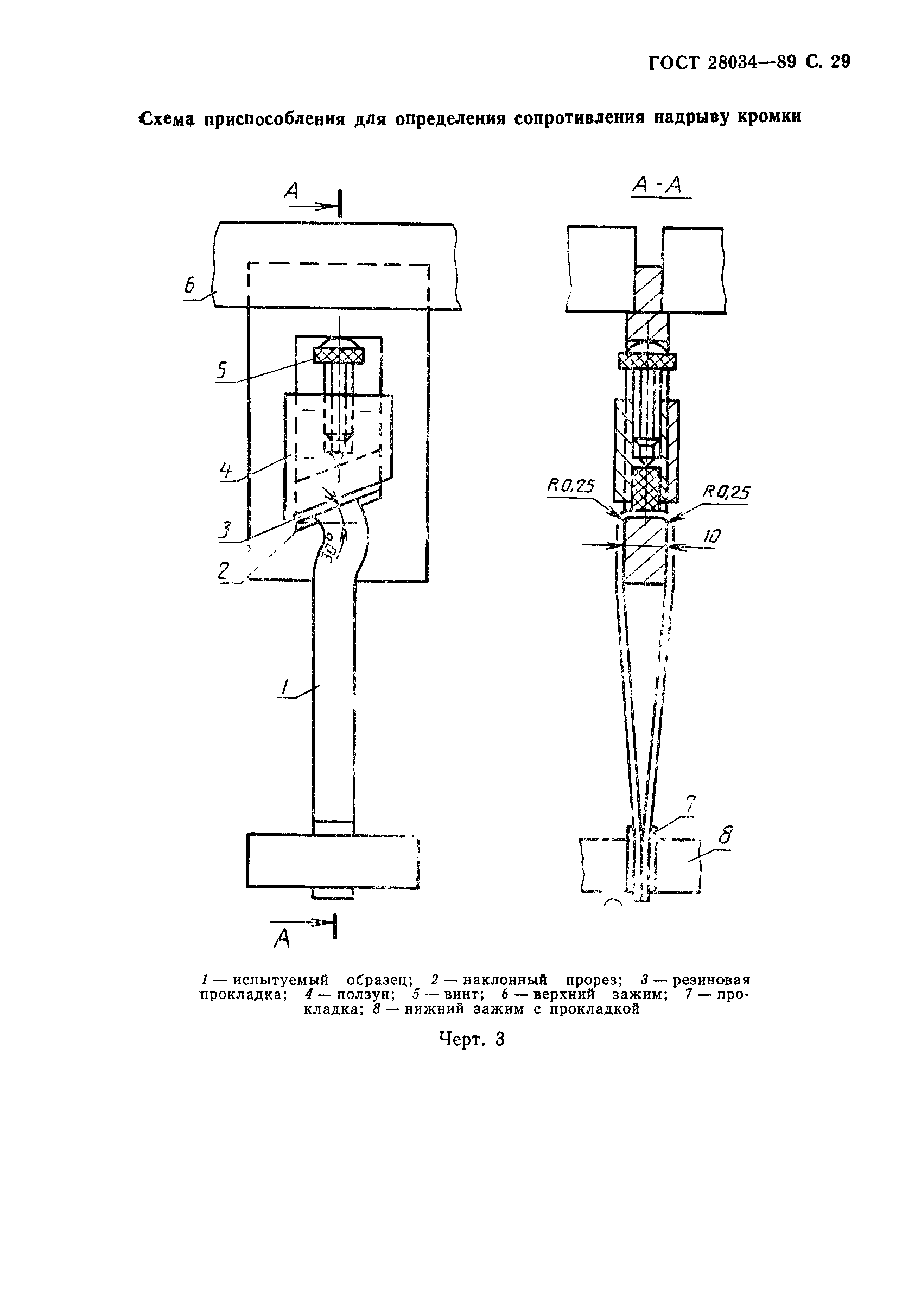
4. Методы испытаний
5. Транспортирование и хранение
6. Гарантии изготовления
Приложение 1 (справочное) Соответствие типов лакотканей по настоящему стандарту маркам по действующей нормативно-технической документации
Приложение 2 (справочное) Определение терминов, встречающихся в стандарте
Разработан: Министерство электротехнической промышленности СССР
Утверждён:21.02.1989 Государственный комитет СССР по стандартам (USSR National Committee on Standards 290)
Издан: Издательство стандартов (1989 г. )
Список изменений:
Нормативные ссылки:
ГОСТ 28034-89ГОСТ 28034-89ГОСТ 28034-89ГОСТ 28034-89ГОСТ 28034-89ГОСТ 28034-89ГОСТ 28034-89ГОСТ 28034-89ГОСТ 28034-89ГОСТ 28034-89ГОСТ 28034-89ГОСТ 28034-89ГОСТ 28034-89ГОСТ 28034-89ГОСТ 28034-89ГОСТ 28034-89ГОСТ 28034-89ГОСТ 28034-89ГОСТ 28034-89ГОСТ 28034-89ГОСТ 28034-89ГОСТ 28034-89ГОСТ 28034-89ГОСТ 28034-89ГОСТ 28034-89ГОСТ 28034-89ГОСТ 28034-89ГОСТ 28034-89ГОСТ 28034-89ГОСТ 28034-89ГОСТ 28034-89ГОСТ 28034-89ГОСТ 28034-89ГОСТ 28034-89ГОСТ 28034-89ГОСТ 28034-89ГОСТ 28034-89ГОСТ 28034-89ГОСТ 28034-89ГОСТ 28034-89ГОСТ 28034-89ГОСТ 28034-89

Текстовое изменение № 1 от 01.01.1991

№ 1

Текстовое изменение № 2 от 01.01.1991

№ 2№ 2