Скачать ГОСТ 28474-90 Брюки форменные навыпуск для военнослужащих. Технические условия

Дата актуализации: 01.01.2021

ГОСТ 28474-90

Брюки форменные навыпуск для военнослужащих. Технические условия

Обозначение: ГОСТ 28474-90
Обозначение англ: GOST 28474-90
Статус:введен впервые
Название рус.:Брюки форменные навыпуск для военнослужащих. Технические условия
Название англ.:Uniform straight trousers for military men. Specifications
Дата добавления в базу:01.09.2013
Дата актуализации:01.01.2021
Дата введения:01.07.1991
Область применения:Стандарт распространяется на форменные брюки навыпуск из шерстяной и хлопчатобумажной ткани для военнослужащих Советской Армии,оеено-Морского Флота, Комитета государственной безопасности СССР и Министерства внутренних дел СССР.
Оглавление:1 Технические требования
2 Приемка
3 Методы контроля
4 Транспортирование и хранение
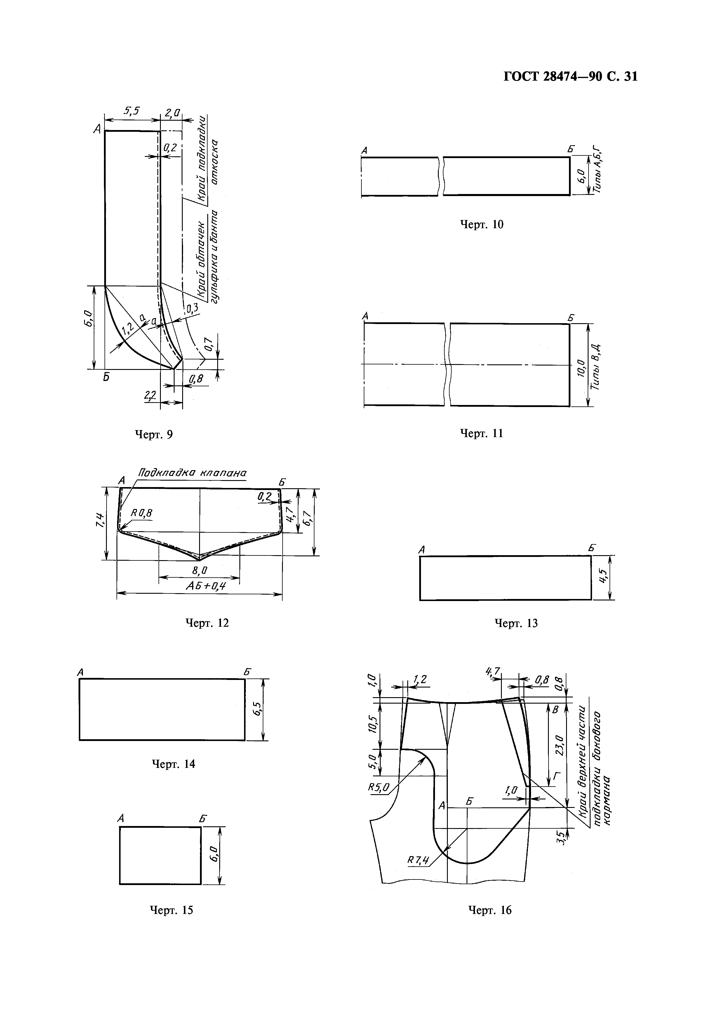
Приложение 1 Спецификация деталей брюк
Приложение 2 Пособие для построения чертежей лекал брюк
Приложение 3 Особенности обработки
Приложение 4 Коды ОКП на брюки
Разработан: Государственный комитет легкой промышленности при Госплане СССР
Утверждён:22.03.1990 Государственный комитет СССР по управлению качеством продукции и стандартам (USSR National Committee on Standards and Product Quality Management 532)
Издан: Издательство стандартов (1990 г. )
Стандартинформ (2006 г. )
Нормативные ссылки:
ГОСТ 28474-90ГОСТ 28474-90ГОСТ 28474-90ГОСТ 28474-90ГОСТ 28474-90ГОСТ 28474-90ГОСТ 28474-90ГОСТ 28474-90ГОСТ 28474-90ГОСТ 28474-90ГОСТ 28474-90ГОСТ 28474-90ГОСТ 28474-90ГОСТ 28474-90ГОСТ 28474-90ГОСТ 28474-90ГОСТ 28474-90ГОСТ 28474-90ГОСТ 28474-90ГОСТ 28474-90ГОСТ 28474-90ГОСТ 28474-90ГОСТ 28474-90ГОСТ 28474-90ГОСТ 28474-90ГОСТ 28474-90ГОСТ 28474-90ГОСТ 28474-90ГОСТ 28474-90ГОСТ 28474-90ГОСТ 28474-90ГОСТ 28474-90ГОСТ 28474-90ГОСТ 28474-90ГОСТ 28474-90ГОСТ 28474-90ГОСТ 28474-90ГОСТ 28474-90ГОСТ 28474-90ГОСТ 28474-90ГОСТ 28474-90