Скачать ГОСТ 29038-91 Кители и брюки для морской пехоты. Технические условияДата актуализации: 01.01.2021
|
| Обозначение: | ГОСТ 29038-91 |
| Обозначение англ: | GOST 29038-91 |
| Статус: | взамен |
| Название рус.: | Кители и брюки для морской пехоты. Технические условия |
| Название англ.: | Tunics and trousers for mariners. Specifications |
| Дата добавления в базу: | 01.09.2013 |
| Дата актуализации: | 01.01.2021 |
| Дата введения: | 01.07.1992 |
| Область применения: | Стандарт распространяется на шерстяные кители и брюки для военнослужащих. |
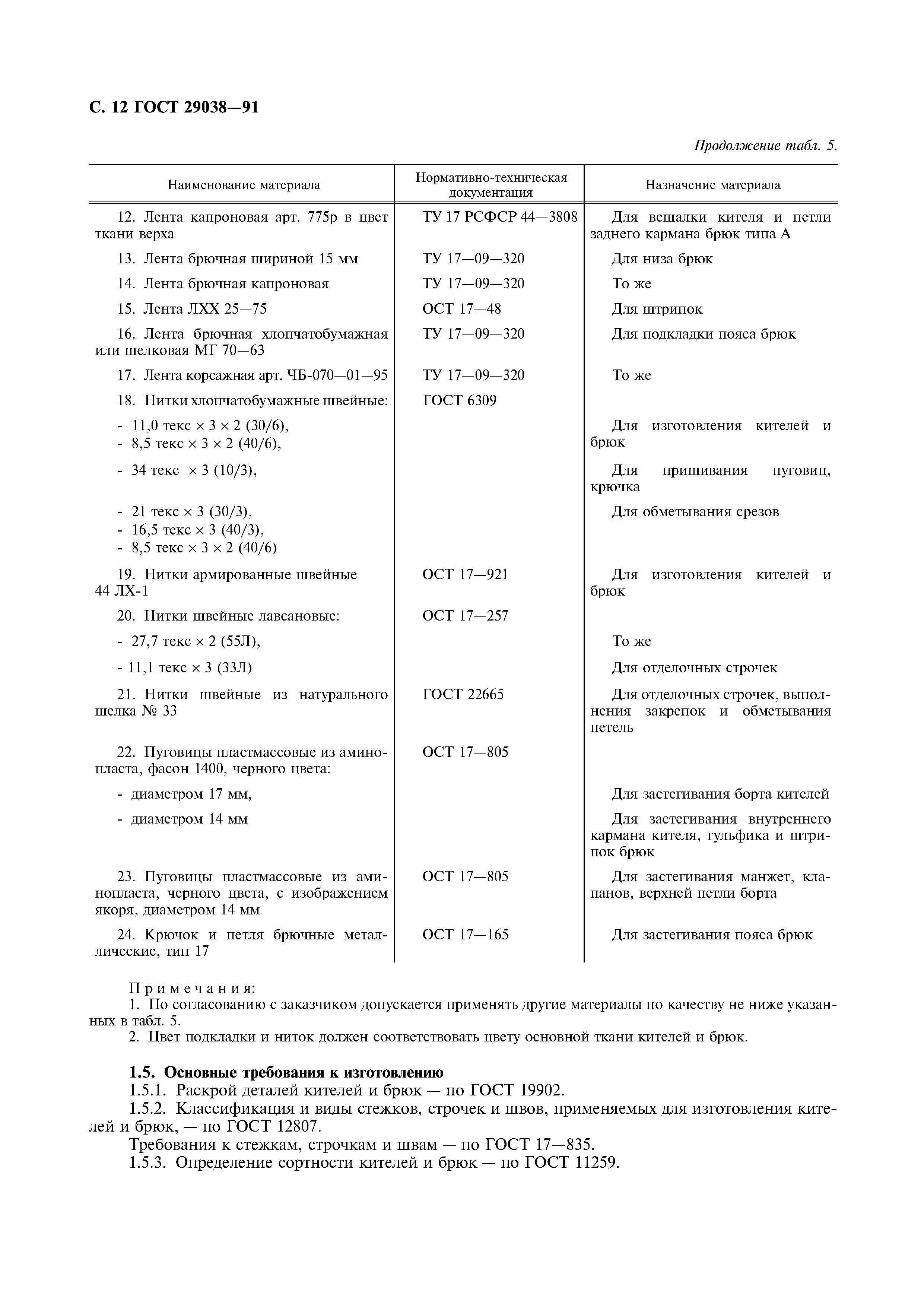
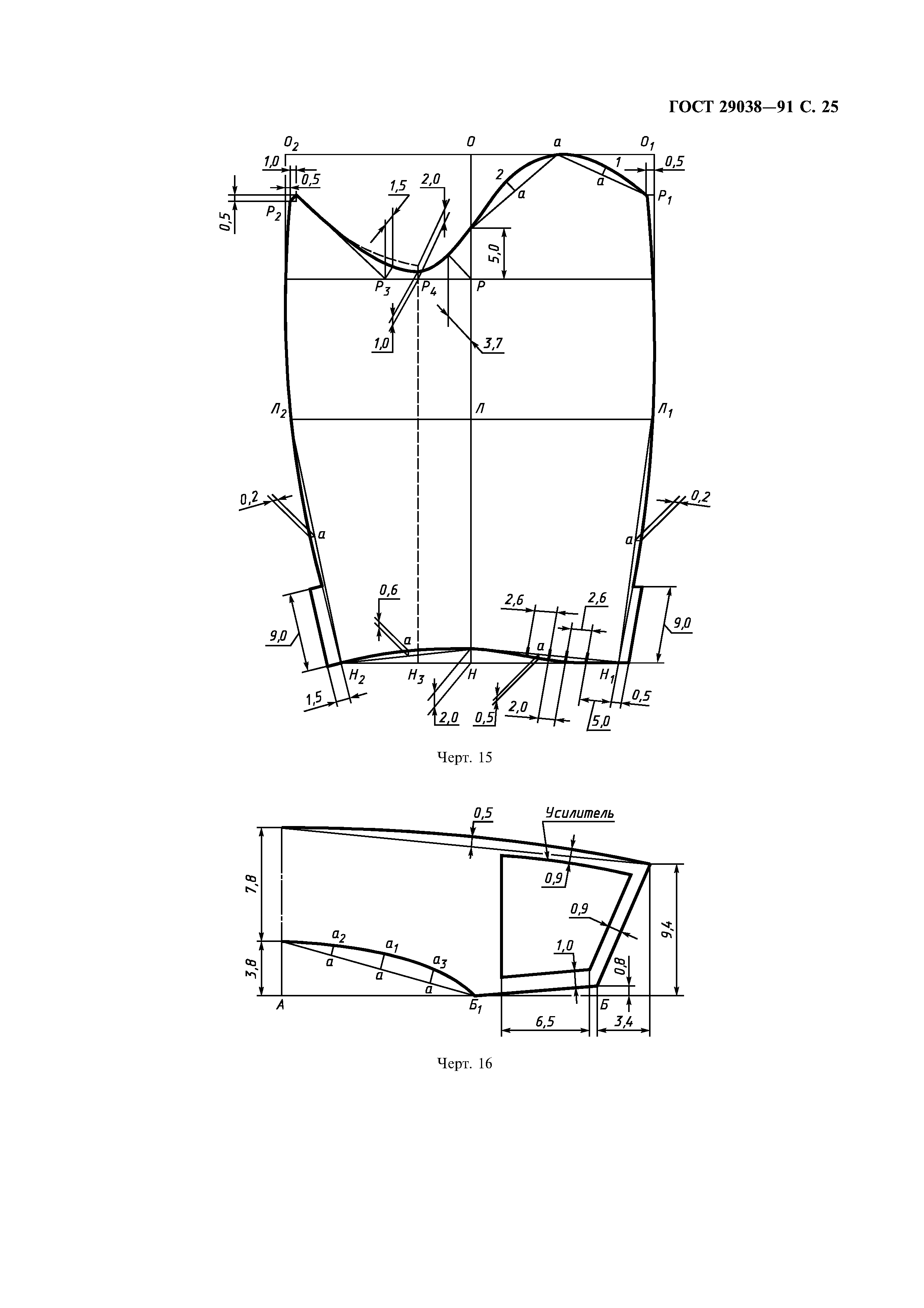
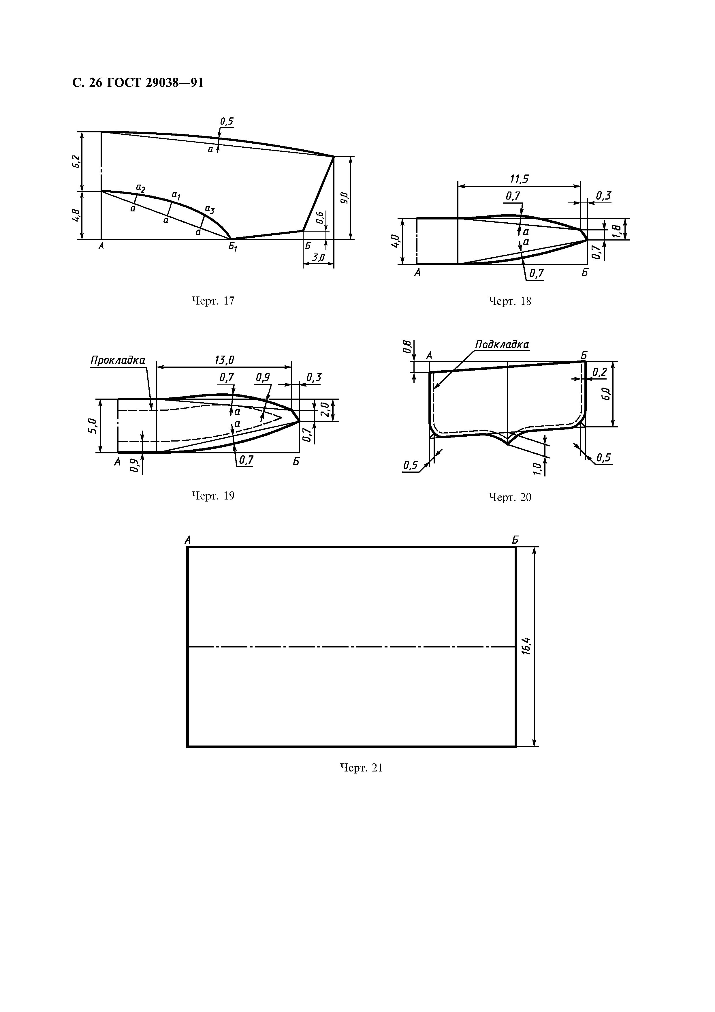
| Оглавление: | 1. Технические требования 2. Приемка 3. Методы контроля 4. Транспортирование и хранение Приложение 1. Особенности обработки кителей и брюк Приложение 2. Пособие для построения чертежей лекал кителя и брюк Приложение 3. Спецификация деталей кителей и брюк Приложение 4. Коды ОКП на китель и брюки |
| Разработан: | Государственный комитет по легкой промышленности при Госплане СССР |
| Утверждён: | 24.06.1991 Государственный комитет СССР по управлению качеством продукции и стандартам (USSR National Committee on Standards and Product Quality Management 972) |
| Издан: | Издательство стандартов (1992 г. ) ИПК Издательство стандартов (2004 г. ) |
| Заменяет собой: |
|
| Нормативные ссылки: |
|


































