Скачать ГОСТ 4750-89 Шины пневматические для велосипедов. Технические условияДата актуализации: 01.01.2021
|
| Обозначение: | ГОСТ 4750-89 |
| Обозначение англ: | GOST 4750-89 |
| Статус: | взамен |
| Название рус.: | Шины пневматические для велосипедов. Технические условия |
| Название англ.: | Pneumatic tyres for bicycles. Specifications |
| Дата добавления в базу: | 01.09.2013 |
| Дата актуализации: | 01.01.2021 |
| Дата введения: | 01.01.1999 |
| Область применения: | Стандарт распространяется на пневматические шины ( покрышки, камеры и ободные ленты) черные и цветные для дорожных, спортивно-туристических, детских велосипедов и легких мопедов, предназначенные для эксплуатации на дорогах различных категорий в районах с умеренным климатом при температуре от минус 10 до плюс 45 град. С. |
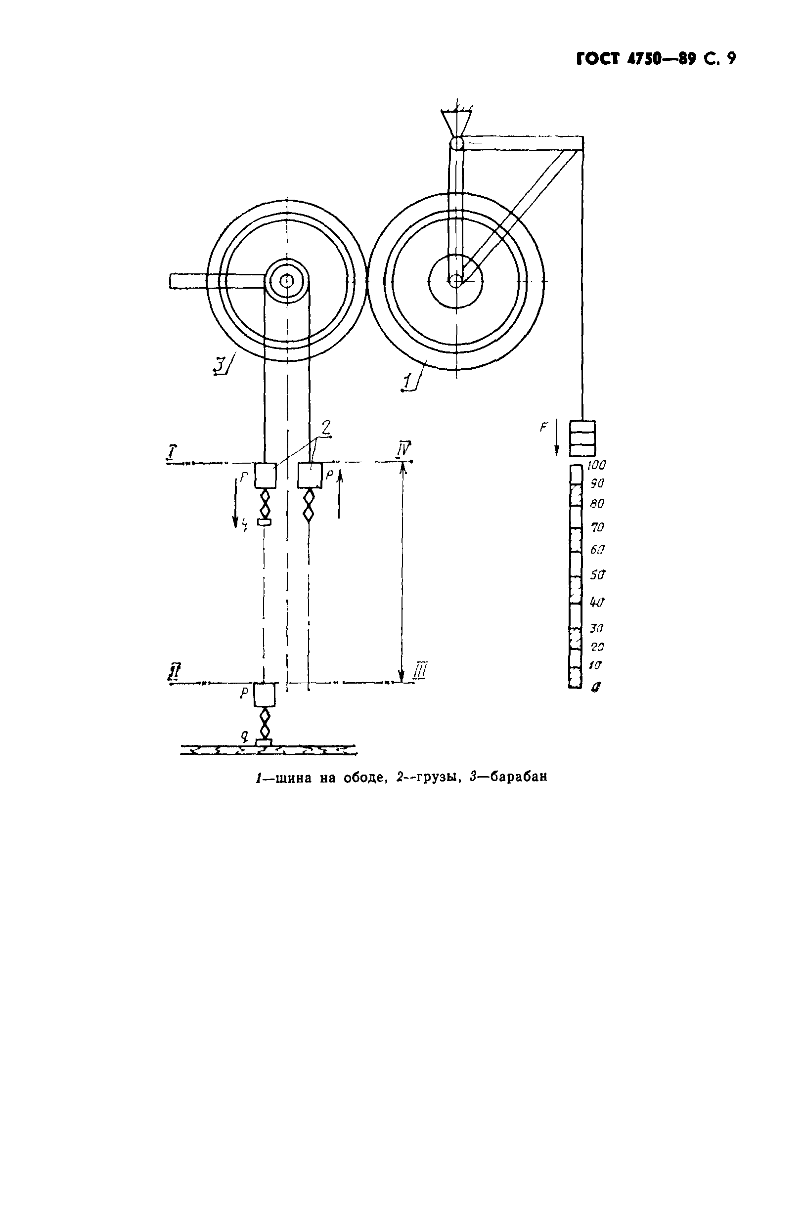
| Оглавление: | 1. Технические требования 2. Приемка 3. Методы испытаний 4. Транспортирование и хранение 5. Гарантии изготовителя Приложение 1 (обязательное) Коды ОКП для шин Приложение 2 (справочное) Метод определения коэффициента легкости хода |
| Разработан: | Министерство нефтеперерабатывающей и нефтехимической промышленности СССР |
| Утверждён: | 29.03.1989 Государственный комитет СССР по стандартам (USSR National Committee on Standards 902) |
| Издан: | Издательство стандартов (1989 г. ) |
| Заменяет собой: | |
| Нормативные ссылки: |
|













